|
|
(21), (22) Заявка: 2003136838/12, 19.12.2003
(24) Дата начала отсчета срока действия патента:
19.12.2003
(45) Опубликовано: 10.08.2005
(56) Список документов, цитированных в отчете о поиске:
SU 1463356 A1, 07.03.1989. SU 945373 A1, 19.02.1982. RU 2212660 C1, 20.09.2003. RU 909405 A, 02.03.1982.
Адрес для переписки:
603064, г.Нижний Новгород, пр-кт Ленина, 78, кв.56, О.В. Матяевой
|
(72) Автор(ы):
Багрянов Б.В. (RU), Матяева О.В. (RU)
(73) Патентообладатель(и):
Багрянов Борис Васильевич (RU)
|
(54) УСТРОЙСТВО ОЧИСТКИ ВНУТРЕННЕЙ ПОВЕРХНОСТИ ТРУБЫ ОТ ТВЕРДЫХ НАПОЛНЕНИЙ
(57) Реферат:
Изобретение относится к устройствам очистки внутренних поверхностей труб от твердых наполнений, в частности труб, расположенных в массивах строительных материалов (бетон, железобетон и пр.), например труб системы преднапряжений защитной оболочки (СПЗО) реакторов энергоблоков атомных электростанций (АЭС). Устройство обеспечивает повышение эффективности очистки. Оно содержит блок доставки, в основании которого шарнирно установлены центрирующие элементы, имеющие закругленную внутрь конфигурацию, а также источники видеосъемки и инфракрасного излучения, установленные на основании, центрирующие элементы которого подпружинены, и располагаемые над твердым наполнением кумулятивные заряды. 1 ил. 
Изобретение относится к устройствам очистки внутренних поверхностей труб от твердых наполнений, в частности бетон, железобетон и пр., например труб системы преднапряжений защитной оболочки (СПЗО) реакторов энергоблоков атомных электростанций (АЭС).
Наиболее близким по технической сущности и достигаемому экономическому эффекту является устройство контроля состояния проходного сечения магистрального трубопровода (см. а.с. СССР №909405, кл. F 17 D 5/00, опуб. 28.02.82, бюл. 8), которое включает блок доставки, в основании которого шарнирно установлении центрирующие элементы, имеющие закругленную вовнутрь конфигурацию, и блок очистки.
Недостаток устройства заключается в том что, оно предназначено для контроля проходного сечения трубопровода, заполненного перемещаемым по нему жидким или газообразным агентом, перемещающим устройство в трубопроводе, и не может быть использовано для очистки длинных тонких и изогнутых труб (каналообразователей) системы преднапряжений защитной оболочки реакторов энергоблоков, внутренность которых частично в виде наплывов или пробок забита бетоном, попадающим в трубы через неплотности в стыках соединения труб при заливке жидким бетоном в процессе монтажа системы.
Задачей настоящего изобретения является расширение функциональных возможностей.
Поставленная задача решается тем что, в устройство очистки внутренней поверхности трубы от твердых наполнений, включающее блок доставки, в основании которого шарнирно установленны центрирующие элементы, имеющие закругленную внутрь конфигурацию, и блок очистки, введены источники видеосъемки и инфракрасного излучения, установленные на основании в области, образованной центрирующими элементами, подпружинеными относительно основания, при этом блок очистки выполнен в виде кумулятивных зарядов, установленных над твердым наполнением.
Такое выполнение устройства очистки внутренней поверхности трубы от твердых наполнений, при котором введены источники видеосъемки и инфракрасного излучения, установленные на основании в области, образованной центрирующими элементами, подпружинеными относительно основания, при этом блок очистки выполнен в виде кумулятивных зарядов, установленных над твердым наполнением, позволяет расширить его функциональные возможности и производить внутреннюю очистку длинных тонких и изогнутых труб (каналообразователей) системы преднапряжений защитной оболочки реакторов энергоблоков, забитых бетонными наплывами и пробками.
И кроме того, такое выполнение устройства позволяет защитить источники видеосъемки и инфракрасного излучения от соударений с твердым наполнением.
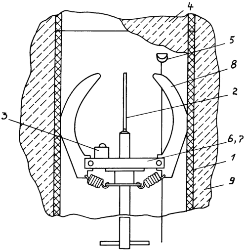
На чертеже представлено устройство очистки внутренней поверхности трубы от твердых наполнений.
Устройство содержит установленные внутри трубы 1 источники 2, 3 видеосъемки и инфракрасного излучения в виде видеокамеры 2 и лампы 3 и расположенные над твердым наполнением 4 кумулятивные заряды 5. Видеокамера 2 и лампа 3 установлены на основании 6 блока 7 доставки в области, образованной центрирующими элементами 8, имеющими закругленную вовнутрь конфигурацию и подпружиненными относительно основания 6.
Устройство работает следующим образом. При монтаже системы преднапряжений защитной оболочки реакторов атомных электростанций пространство между трубами 1 (каналообразователями) заполняют жидким бетоном, который, застывая, образует монолитную оболочку 9. При заливке бетон через неплотности в стыках соединения труб 1 частично попадает в трубы 1, в которых образует бетонные наплывы и пробки (твердые наполнения). Для определения их местонахождения в трубу 1 вводят блок 7 доставки с установленными на его основании 6 видеокамерой 2 и лампой 3. В инфракрасном излучении посредством видеокамеры 2 по отклонению как минимум одного центрирующего элемента от своего нормального положения определяют наличие твердого наполнения 4, а при повороте вокруг своей оси блока 7 доставки определяют степень заполнения внутренней поверхности трубы 1. По степени заполнения судят о месте установки и количестве кумулятивных зарядов 5, посредством кумулятивных струй которых производят дробление твердого наполнения. Под контролем видеокамеры 2 при инфракрасном излучении вводят в трубу 1 кумулятивные заряды 5 и устанавливают над твердым наполнением. После чего выводят из трубы 1 блок 7 доставки и производят взрыв кумулятивных зарядов 5. Продукты взрыва высыпаются из трубы 1. Снова вводят в трубу 1 блок 7 доставки. Процесс повторяют до полной очистки трубы 1.
Формула изобретения
Устройство очистки внутренней поверхности трубы от твердых наполнений, включающее блок доставки, в основании которого шарнирно установлены центрирующие элементы, имеющие закругленную вовнутрь конфигурацию, отличающееся тем, что введены источники видеосъемки и инфракрасного излучения, установленные на основании, центрирующие элементы которого подпружинены, и располагаемые над твердым наполнением кумулятивные заряды.
РИСУНКИ
|
|