|
| На основании пункта 3 статьи 13 Патентного закона Российской Федерации от 23 сентября 1992 г. № 3517-I патентообладатель обязуется передать исключительное право на изобретение (уступить патент) на условиях, соответствующих установившейся практике, лицу, первому изъявившему такое желание и уведомившему об этом патентообладателя и федеральный орган исполнительной власти по интеллектуальной собственности, – гражданину РФ или российскому юридическому лицу. |
|
(21), (22) Заявка: 2004117812/15, 15.06.2004
(24) Дата начала отсчета срока действия патента:
15.06.2004
(45) Опубликовано: 10.08.2005
(56) Список документов, цитированных в отчете о поиске:
Справочник по пыле- и золоулавливанию под ред. А.А.Русанова, Москва, Энергоатомиздат, 1983, с.63. SU 497051 А, 16.03.1976. SU 631217 A, 20.11.1978. RU 2133647 C1, 27.07.1999. FR 2670402 A1, 19.06.1992.
Адрес для переписки:
123458, Москва, ул. Твардовского, 11, кв.92, О.С. Кочетову
|
(72) Автор(ы):
Кочетов О.С. (RU), Кочетова М.О. (RU), Ходакова Т.Д. (RU)
(73) Патентообладатель(и):
Кочетов Олег Савельевич (RU), Кочетова Мария Олеговна (RU), Ходакова Татьяна Дмитриевна (RU)
|
(54) ЦИКЛОН
(57) Реферат:
Изобретение относится к технике пылеулавливания и может применяться в химической, текстильной, пищевой, легкой и других отраслях промышленности для очистки запыленных газов. Циклон содержит корпус, состоящий из цилиндрической и конической частей, периферийный ввод газового потока, выполненный в виде входного патрубка, и выхлопное устройство, содержащее выхлопную трубу для выхода очищенного газа, верхний и нижний корпус с размещенным в них внутренним стаканом с водосборником и сливной трубкой, причем в выхлопной трубе размещен рассекатель и фильтрующий элемент, состоящий из частей, которые образованы выхлопной трубой и рассекателем. Технический результат: повышение эффективности и надежности процесса пылеулавливания, а также снижение металлоемкости и виброакустической активности аппарата в целом. 8 з.п. ф-лы, 3 ил. 
Изобретение относится к технике пылеулавливания и может применяться в химической, текстильной, пищевой, легкой и других отраслях промышленности для очистки запыленных газов.
Наиболее близким техническим решением к заявляемому объекту является циклон, известный из книги: “Справочник по пыле- и золоулавливанию” под ред. А.А.Русанова, М.: Энергоатомиздат, 1983 г., с.63, содержащий корпус, состоящий из цилиндрической и конической частей, периферийный ввод газового потока, выполненный в виде входного патрубка, и выхлопное устройство, содержащее выхлопную трубу для выхода очищенного газа, верхний и нижний корпус с размещенным в них внутренним стаканом с водосборником и сливной трубкой, причем в выхлопной трубе размещен рассекатель.
Недостатком прототипа является сравнительно невысокая эффективность процесса пылеулавливания за счет отсутствия в выходном патрубке фильтрующего элемента, а также повышенная металлоемкость и виброакустическая активность аппарата в целом.
Технический результат предлагаемого изобретения – повышение эффективности и надежности процесса пылеулавливания, а также снижение металлоемкости и виброакустической активности аппарата в целом.
Это достигается тем, что в циклоне, содержащем корпус, состоящий из цилиндрической и конической частей, периферийный ввод газового потока, выполненный в виде входного патрубка, и выхлопное устройство, содержащее выхлопную трубу для выхода очищенного газа, верхний и нижний корпус с размещенным в них внутренним стаканом с водосборником и сливной трубкой, причем в выхлопной трубе размещен рассекатель, в выхлопной трубе размещен фильтрующий элемент, состоящий из частей, которые образованы выхлопной трубой и рассекателем.
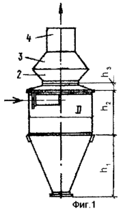
На фиг.1 изображен общий вид циклона, на фиг.2 – его вид сверху, на фиг.3 – вид сбоку в разрезе.
Циклон содержит корпус, состоящий из цилиндрической 7 и конической 8 частей, периферийный ввод газового потока, выполненный в виде входного патрубка, и выхлопное устройство, содержащее выхлопную трубу 4 для выхода очищенного газа, верхний 3 и нижний 2 корпус с размещенным в них внутренним стаканом 9 с водосборником 5 и сливной трубкой 6, причем в выхлопной трубе размещен рассекатель 1 и фильтрующий элемент 10, состоящий из частей, которые образованы выхлопной трубой и рассекателем.
Циклон работает следующим образом.
Запыленный газовый поток поступает в циклон через входной патрубок, закручивается за счет тангенциального периферийного ввода и движется далее по нисходящей винтовой линии вдоль стенок корпуса 7 и 8 аппарата. В результате чего частицы пыли под действием центробежной силы движутся от центра аппарата к периферии и, достигая стенок аппарата, транспортируются вниз в коническую часть корпуса 8, а затем в бункер для сбора уловленной пыли. Очищенный воздух выводится из циклона через внутренний стакан 9 и выхлопную трубу 4. Водосборник 5 служит для сбора конденсата, который выводится через сливную трубку 6. При этом легкие, мелкодисперсные частицы пыли, не уловленные в бункере, задерживаются на фильтрующем элементе 10, при этом происходит снижение виброакустической энергии, так как фильтрующий элемент 10 одновременно является аэродинамическим глушителем шума активного (сорбционного) типа. Процесс пылеулавливания протекает в оптимальном гидродинамическом режиме при следующих соотношениях основных конструктивных параметров предлагаемого устройства:
– отношение диаметра цилиндрической части корпуса к диаметру внутреннего стакана находится в оптимальном интервале величин: D/D2=1,6…1,9.
– отношение диаметра цилиндрической части корпуса к меньшему диаметру усеченного конуса конической части корпуса находится в оптимальном интервале величин: D/D1=4,9…7,2.
– отношение высоты конической части корпуса циклона к высоте его цилиндрической части находится в оптимальном интервале величин: h1/h2=1,6…1,8.
– отношение высоты цилиндрической части корпуса циклона к расстоянию между корпусом циклона и корпусом выхлопного устройства, находится в оптимальном интервале величин: h2/h3=3,8…6,4.
Фильтрующий элемент 10 имеет поверхность, конгруэнтную соответствующим частям выхлопного устройства. Гидравлическое сопротивление фильтрующего элемента составляет 15…25% от гидравлического сопротивления всего аппарата, а материал фильтрующего элемента обладает повышенными звукопоглощающими свойствами.
Для снижения виброакустической активности аппарата и его металлоемкости, а также повышения его надежности в предлагаемом устройстве предусмотрены следующие мероприятия:
– детали циклона выполнены из конструкционных композиционных или полимерных материалов, например полиэтилена, капрона, полиуретана с помощью литья, штамповки, формования;
– винтообразные элементы деталей циклона изготовлены способами пластической деформации, например выдавливания или накатки на оборудовании, имеющем винтообразное формообразующее движение;
– на винтообразные элементы деталей циклона и поверхности, контактирующие с запыленным газовым потоком, нанесен износостойкий слой, например способами напыления или с применением гальванического оборудования;
– на поверхности деталей нанесен слой мягкого вибродемпфирующего материала, например мастики ВД-17, причем соотношение между толщиной металла и вибродемпфирующего покрытия находится в оптимальном интервале величин: 1/(2,5…4);
– детали циклона выполнены армированными или слоистыми, причем поверхности слоев, соприкасаемые с движущимся газовым потоком, выполнены из материалов, обладающих повышенной износостойкостью и антифрикционными свойствами, а свойства материала арматуры подобраны из условия снижения виброакустической активности аппаратов;
– детали винтообразных поверхностей циклона выполнены армированными путем формования или заливки винтообразных износостойких элементов в корпусные детали или крышки.
Формула изобретения
1. Циклон, содержащий корпус, состоящий из цилиндрической и конической частей, периферийный ввод газового потока, выполненный в виде входного патрубка, и выхлопное устройство, содержащее выхлопную трубу для выхода очищенного газа, верхний и нижний корпуса с размещенным в них внутренним стаканом с водосборником и сливной трубкой, причем в выхлопной трубе размещен рассекатель, отличающийся тем, что в выхлопной трубе размещен фильтрующий элемент, состоящий из частей, которые образованы выхлопной трубой и рассекателем, причем фильтрующий элемент имеет поверхность, конгруэнтную соответствующим частям выхлопного устройства, гидравлическое сопротивление фильтрующего элемента составляет 15÷25% от гидравлического сопротивления всего аппарата, а материал фильтрующего элемента обладает повышенными звукопоглощающими свойствами.
2. Циклон по п.1, отличающийся тем, что отношение диаметра цилиндрической части корпуса к диаметру внутреннего стакана находится в оптимальном интервале величин: D/D2=1,6÷1,9.
3. Циклон по п.1, отличающийся тем, что отношение диаметра цилиндрической части корпуса к меньшему диаметру усеченного конуса конической части корпуса находится в оптимальном интервале величин: D/D1=4,9÷7,2.
4. Циклон по п.1, отличающийся тем, что отношение высоты конической части корпуса циклона к высоте его цилиндрической части находится в оптимальном интервале величин: h1/h2=1,6÷1,8.
5. Циклон по п.1, отличающийся тем, что отношение высоты цилиндрической части корпуса циклона к расстоянию между корпусом циклона и корпусом выхлопного устройства находится в оптимальном интервале величин: h2/h3=3,8÷6,4.
6. Циклон по п.1, отличающийся тем, что детали циклона выполнены из конструкционных композиционных или полимерных материалов, например полиэтилена, капрона, полиуретана, с помощью литья, штамповки, формования.
7. Циклон по п.1, отличающийся тем, что на поверхности, контактирующие с запыленным газовым потоком, нанесен износостойкий слой, например, способами напыления или с применением гальванического оборудования.
8. Циклон по п.1, отличающийся тем, что на поверхности деталей нанесен слой мягкого вибродемпфирующего материала, например мастики ВД-17, причем соотношение между толщинами металла и вибродемпфирующего покрытия находится в оптимальном интервале величин: 1/(2,5÷4).
9. Циклон по п.1, отличающийся тем, что детали циклона выполнены армированными или слоистыми, причем поверхности слоев, соприкасаемые с движущимся газовым потоком, выполнены из материалов, обладающих повышенной износостойкостью и антифрикционными свойствами, а свойства материала арматуры подобраны из условия снижения виброакустической активности аппаратов.
РИСУНКИ
|
|