|
|
(21), (22) Заявка: 2004104132/15, 06.02.2004
(24) Дата начала отсчета срока действия патента:
06.02.2004
(45) Опубликовано: 10.08.2005
(56) Список документов, цитированных в отчете о поиске:
JP 04-074505 А, 09.03.1992. SU 952297 A, 23.08.1982. SU 1437079 A1, 15.11.1988. RU 2031694 C1, 27.03.1995. DE 4010732 A1, 10.10.1991. FR 2261797 A1, 19.09.1975.
Адрес для переписки:
420036, г.Казань, ул. Дементьева, 1, ОАО КПП “Авиамотор”, В.Н. Понькину
|
(72) Автор(ы):
Понькин В.Н. (RU), Кесель Б.А. (RU), Паерелий Д.А. (RU), Мовчан Г.В. (RU)
(73) Патентообладатель(и):
Открытое акционерное общество Конструкторско-производственное предприятие “Авиамотор” (RU), Понькин Владимир Николаевич (RU), Кесель Борис Александрович (RU)
|
(54) СКЛАДЧАТЫЙ ФИЛЬТР
(57) Реферат:
Изобретение относится к области фильтрации газовых потоков, содержащих абразивные частицы и другие твердые примеси, и может быть использовано для воздухоочистительных устройств газотурбинных установок. Складчатый фильтр содержит зигзагообразно сложенную фильтрующую поверхность из электретного листового материала и выполнен таким образом, что фильтрующая поверхность образована в виде регулярной складчатой структуры, состоящей из плоских граней в виде параллелограммов, соединенных между собой прямыми ребрами в виде секторов цилиндрической поверхности по всем сопрягаемым сторонам параллелограммов. Конструкция фильтра позволяет в достаточно малых габаритах разместить значительную поверхность при малом гидравлическом сопротивлении. 4 ил. 
Изобретение относится к области фильтрации газовых потоков, содержащих абразивные частицы и другие твердые примеси и может быть использовано для воздухоочистительных устройств газотурбинных установок, а также в других технических устройствах для очистки воздуха от твердых примесей.
Известен фильтрующий элемент, выполненный в виде складчатого пакета (см. патент Германии DE 19512678 С1, МПК6 В 01 D 27/06 от 07.04.95 г.) из нетканого материала, пригодного для термосварки. Продольные и торцевые стороны складчатого пакета оборудованы уплотнением, плотно прижатым к корпусу фильтра.
Недостатком данного устройства является низкая очищающая способность, обусловленная тем, что нетканый материал способен улавливать только те частицы, которые входят с ним в непосредственный контакт. Кроме того, нетканый материал обладает очень ограниченной пылеемкостью и трудно утилизируется после выработки ресурса.
Известен фильтрующий элемент (см. патент Японии JP 90185492, МПК6 В 01 D 53/34 от 14.07.90 г.), содержащий сложенные вместе электретный листовой материал на основе полипропилена и наполнитель типа активированного углерода. Данный фильтр имеет регулярную зигзагообразную структуру «типа шифер».
Недостатком данного фильтрующего элемента является относительно низкая пылеемкость, обусловленная тем, что у фильтрующего элемента достаточно малая поверхность фильтрации по отношению к его площади пропускания воздушного потока.
Задачей предлагаемого изобретения является создание фильтроэлемента высокой эффективности – большой пылеемкости за счет увеличения фильтрующей поверхности в ограниченном значении площади пропускания воздушного потока.
Задача решается за счет того, что фильтрующая поверхность фильтроэлемента выполнена в виде регулярной складчатой структуры, образованной из плоских граней в виде параллелограммов, соединенных между собой прямыми ребрами в виде секторов цилиндрической поверхности, по всем сопрягаемым сторонам параллелограммов.
Кроме того, для обеспечения герметичности соединения элементов фильтрующей поверхности с каркасом складчатого фильтра, в местах прилегания складчатой поверхности фильтра к его каркасу, в плоскости, перпендикулярной торцам боковых стенок каркаса, посредством сопряжения через прямые ребра, выполненные в виде секторов цилиндрической поверхности из листового материала фильтра, выполнены первые плоские прямоугольные треугольники, гипотенузы которых равны сторонам параллелограммов, образующих плоские грани складчатого фильтра. На больших катетах первых прямоугольных треугольников, в перпендикулярной им плоскости, выполнены другие прямоугольные треугольники, малые катеты которых равны большим катетам первых прямоугольных треугольников, выполненных в плоскости, перпендикулярной торцам боковых стенок каркаса. На больших катетах последних (других) прямоугольных треугольников, выполненных в плоскостях, перпендикулярных плоскости расположения первых прямоугольных треугольников, выполнены, с возможностью отгиба, в виде прямоугольных трапеций, отгибные элементы, длина высоты которых равна длине малого катета первых треугольников, а длина большего основания трапеций равна длине большого катета других треугольников, выполненных в плоскостях перпендикулярных первым прямоугольным треугольникам. На малых катетах первых прямоугольных треугольников выполнены отгибные элементы в виде прямоугольных треугольников с равными катетами, одни из которых равны высотам трапеций и смежны с ними. По смежной линии высоты трапеций с катетами равнобедренных прямоугольных треугольников на материале фильтра выполнены разрезы длиной, равной высоте трапеций.
Кроме того, для выполнения фиксации сформированной фильтрующей поверхности в каркасе фильтра в конструкции используются закладные пилообразные элементы, пилообразные выступы которых выполнены с возможностью размещения во впадинах регулярной складчатой структуры в местах ее прилегания к боковым (вертикальным) стенкам каркаса фильтра. Указанные закладные элементы жестко и герметично закреплены к вертикальным стенкам каркаса через материал складчатого фильтра.
Кроме того, для повышения эффективности фильтра в качестве электретного листового материала использован полимерный материал волоконной основы, волокна которого соединены мостиками сварки в точках взаимного касания.
Технический результат от выполнения фильтрующей поверхности фильтроэлемента, выполненной в виде регулярной складчатой структуры, образованной из плоских граней в виде параллелограммов, соединенных между собой прямыми ребрами в виде секторов цилиндрической поверхности, по всем сопрягаемым сторонам параллелограммов, заключается в том, что это позволяет наиболее эффективным образом уложить максимально возможную фильтрующую поверхность в ограниченные по площади пропускания воздушного потока габариты фильтроэлемента, при условии минимизации гидравлических потерь.
Технический результат по обеспечению герметичности соединения элементов фильтрующей поверхности с каркасом складчатого фильтра достигается тем, что в местах прилегания складчатой поверхности фильтра к его каркасу, в плоскости, перпендикулярной торцам боковых стенок каркаса, посредством сопряжения через прямые ребра, выполненные в виде секторов цилиндрической поверхности из листового материала фильтра, выполнены первые плоские прямоугольные треугольники, гипотенузы которых равны сторонам параллелограммов, образующих плоские грани складчатого фильтра. На больших катетах первых прямоугольных треугольников, в перпендикулярной им плоскости, выполнены другие прямоугольные треугольники, малые катеты которых равны большим катетам первых прямоугольных треугольников, выполненных в плоскости перпендикулярной торцам боковых стенок каркаса. На больших катетах последних (других) прямоугольных треугольников, выполненных в плоскостях, перпендикулярных плоскости расположения первых прямоугольных треугольников, выполнены, с возможностью отгиба, в виде прямоугольных трапеций, отгибные элементы, длина высоты которых равна длине малого катета первых треугольников, а длина большего основания трапеций равна длине большего катета других треугольников, выполненных в плоскостях, перпендикулярных первым прямоугольным треугольникам. На малых катетах первых прямоугольных треугольников выполнены отгибные элементы в виде прямоугольных треугольников с равными катетами, одни из которых равны высотам трапеций и смежны с ними. По смежной линии высоты трапеций с катетами равнобедренных прямоугольных треугольников на материале фильтра выполнены разрезы длиной равной высоте трапеций. Выполнение указанных геометрических элементов обуславливает возможность без нарушения регулярности складывания элементов фильтрующей поверхности обеспечить плоское прилегание материала фильтрующей поверхности к боковым поверхностям стенок каркаса. Выполнение отгибных элементов в виде указанных выше трапеций и равнобедренных прямоугольных треугольников посредством указанных разрезов позволяет осуществить герметичную стыковку отгибных элементов с последующим герметичным, термическим или клеевым соединением.
Технический результат от выполнения фиксации сформированной фильтрующей поверхности в каркасе фильтра обеспечивается тем, что в конструкции используются закладные пилообразные элементы, пилообразные выступы которых выполнены с возможностью размещения во впадинах регулярной складчатой структуры в местах ее прилегания к боковым (вертикальным) стенкам каркаса фильтра. Указанные закладные элементы жестко и герметично закреплены к вертикальным стенкам каркаса через материал складчатого фильтра. Данное решение позволяет надежно закрепить фильтрующую поверхность в каркасе.
Технический результат от постановки в качестве электретного листового, полимерного материала волоконной основы, волокна которого соединены мостиками сварки в точках взаимного касания, заключается в том, что при прохождении через такой материал загрязненного воздуха волокна электризуются, и электростатическое поле способствует дополнительному удерживанию частиц загрязнения.
Предлагаемое изобретение поясняется следующими чертежами.
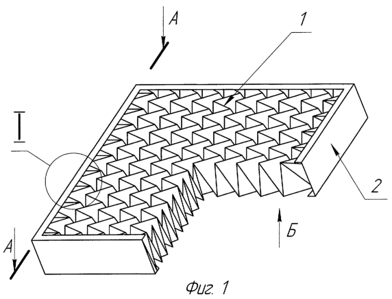
На фиг.1 представлен общий вид складчатого фильтра в каркасе.
На фиг.2 представлен элемент I фигуры 1.
На фиг.3 представлено сечение А-А фигуры 1.
На фиг.4 представлен вид Б фигуры 1.
Складчатый фильтр, представленный на (фиг.1), содержит зигзагообразную сложенную фильтрующую поверхность 1, выполненную из электретного листового материала, установленную герметично в каркасе 2. Фильтрующая поверхность 1 выполнена в виде регулярной складчатой структуры, образованной из плоских граней 3 в виде параллелограммов (см. фиг.2), соединенных между собой прямыми ребрами 4 (см. фиг.2) в виде секторов цилиндрической поверхности, по всем сопрягаемым сторонам параллелограммов.
В местах прилегания поверхности 1 складчатого фильтра к каркасу 2 выполнены первые плоские прямоугольные треугольники 5 (см. фиг.3), гипотенузы которых равны сторонам параллелограммов 3. На больших катетах треугольников 5 выполнены другие прямоугольные треугольники 6 (условно показанные в разогнутом состоянии на фиг.3). На больших катетах других прямоугольных треугольников 6 выполнены в виде отгибных элементов прямоугольные трапеции 7 (см. фиг.3). На малых катетах первых прямоугольных треугольников 5 выполнены прямоугольные треугольники 8 (см. фиг.3) с равными катетами и с разрезами 9 (см. фиг.3) на материале фильтра по смежной линии высоты трапеций 7 и катетов треугольников 8.
На фиг.4 показаны условно поднятые закладные пилообразные элементы 10 с характерными пилообразными выступами 11 и 12, размещающимися во впадинах регулярной складчатой структуры поверхности фильтра.
Складчатый фильтр работает следующим образом.
Загрязненный воздух под действием всасывающего эффекта устройства, потребляющего очищенный воздух (например, компрессора газотурбинной установки), поступает на фильтрующую поверхность 1, выполненную из полимерного электретного материала и герметично установленную в каркасе 2 посредством закладных пилообразных элементов 10 с пилообразными выступами 11 и 12, удерживающими посредством взаимодействия с геометрическими элементами 5, 6, 7, 8 фильтрующую поверхность 1 в каркасе 2. При прохождении загрязненного воздуха сквозь электретный материал складчатого фильтра этот материал электризуется, и наряду с обычным процессом фильтрации осаждение частиц загрязнений происходит и под действием электростатического поля.
Фильтроэлементы из электретного материала имеют низкое гидравлическое сопротивление по сравнению с тканевыми и иглопробивными материалами. Складчатая поверхность предлагаемого фильтра позволяет уложить в стандартный габаритный размер значительную фильтрующую площадь, что суммарно позволяет значительно увеличить пылеемкость фильтра.
Суммарный технический эффект от реализации всех конструктивных особенностей предлагаемого фильтра дает возможность получить надежную и высокоэффективную конструкцию. В свою очередь применение подобного фильтра позволит существенно уменьшить эрозию элементов газовоздушного тракта газотурбинных установок.
Формула изобретения
Складчатый фильтр, содержащий зигзагообразно сложенную фильтрующую поверхность из электретного листового материала, установленную герметично в каркасе, образованном из вертикальных стенок, отличающийся тем, что фильтрующая поверхность фильтроэлемента выполнена в виде регулярной складчатой структуры, образованной из плоских граней в виде параллелограммов, соединенных между собой прямыми ребрами в виде секторов цилиндрической поверхности по всем сопрягаемым сторонам параллелограммов, причем в плоскости, перпендикулярной торцам боковых стенок каркаса, посредством сопряжения через прямые ребра, выполненные в виде секторов цилиндрической поверхности из листового материала фильтра, выполнены первые плоские прямоугольные треугольники, гипотенузы которых равны сторонам параллелограммов, образующих плоские грани складчатого фильтра, а на больших катетах первых прямоугольных треугольников в перпендикулярной им плоскости выполнены другие прямоугольные треугольники, малые катеты которых равны большим катетам первых прямоугольных треугольников, выполненных в плоскости, перпендикулярной торцам боковых стенок каркаса, причем на больших катетах последних (других) прямоугольных треугольников, выполненных в плоскостях, перпендикулярных плоскости расположения первых прямоугольных треугольников, выполнены с возможностью отгиба в виде прямоугольных трапеций отгибные элементы, высота которых равна длине малого катета первых треугольников, а длина большего основания трапеций равна длине большого катета других треугольников, выполненных в плоскостях, перпендикулярных первым прямоугольным треугольникам, и на малых катетах первых прямоугольных треугольников выполнены отгибные элементы в виде прямоугольных треугольников с равными катетами, одни из которых равны высотам трапеций и смежны с ними, а по смежной линии высоты трапеций с катетами равнобедренных прямоугольных треугольников на материале фильтра выполнены разрезы длиной, равной высоте трапеций, и для фиксации сформированной фильтрующей поверхности в каркасе фильтра в конструкции используются закладные пилообразные элементы, пилообразные выступы которых выполнены с возможностью размещения во впадинах регулярной складчатой структуры в местах ее прилегания к боковым (вертикальным) стенкам каркаса фильтра, а закладные элементы жестко и герметично закреплены к вертикальным стенкам каркаса через материал складчатого фильтра, при этом в качестве электретного листового материала фильтра использован полимерный материал волоконной основы, волокна которого соединены мостиками сварки в точках взаимного касания.
РИСУНКИ
QB4A Регистрация лицензионного договора на использование изобретения
Лицензиар(ы): Открытое акционерное общество Конструкторско-производственное предприятие “Авиамотор”, Понькин Владимир Николаевич, Кесель Борис Александрович
НИЛ
Лицензиат(ы): ООО “Аэропоток”
Договор № РД0007440 зарегистрирован 22.03.2006
Извещение опубликовано: 10.05.2006 БИ: 13/2006
* ИЛ – исключительная лицензия НИЛ – неисключительная лицензия
|
|