|
|
(21), (22) Заявка: 2002114341/12, 28.11.2000
(24) Дата начала отсчета срока действия патента:
28.11.2000
(30) Конвенционный приоритет:
01.12.1999 (пп.1-8) IT BO99A000659
(43) Дата публикации заявки: 27.11.2003
(45) Опубликовано: 27.07.2005
(56) Список документов, цитированных в отчете о поиске:
US 5924559 А, 20.07.1999. DE 9300738 U, 17.06.1993. EP 0084832 A1, 03.08.1983. US 1609186 А, 30.11.1926. US 1667376 A, 24.04.1928.
(85) Дата перевода заявки PCT на национальную фазу:
31.05.2002
(86) Заявка PCT:
IB 00/01766 (28.11.2000)
(87) Публикация PCT:
WO 01/40062 (07.06.2001)
Адрес для переписки:
129010, Москва, ул. Б.Спасская, 25, стр.3, ООО “Юридическая фирма Городисский и Партнеры”, пат.пов. Г.Б. Егоровой
|
(72) Автор(ы):
БОРИАНИ Сильвано (IT), ДРАГЕТТИ Фьоренцо (IT)
(73) Патентообладатель(и):
Г.Д С.П.А. (IT)
|
(54) ПЛОСКАЯ ЗАГОТОВКА ДЛЯ ОБРАЗОВАНИЯ ЖЕСТКОЙ КОРОБКИ ДЛЯ СИГАРЕТНЫХ ПАЧЕК
(57) Реферат:
Плоская заготовка для сигаретных пачек, имеющая, по существу, параллелепипедную форму и содержащая переднюю стенку, заднюю стенку, две боковые стенки, крышку и основание, имеющее продольную ось и содержащее центральную часть, ограниченную двумя продольными линиями сгиба, параллельными продольной оси, две боковые части, расположенные на противоположных сторонах центральной части, несколько поперечных линий сгиба, разделяющих центральную часть на первую стенку, образующую основание, вторую стенку, образующую переднюю стенку, третью стенку, образующую крышку и четвертую стенку, образующую заднюю стенку, предварительно ослабленную линию отрыва, разделяющую вторую стенку на первый, по существу, трапециевидный участок и второй участок. Причем третья стенка разделена двумя линиями сгиба на первый участок, смежный второй стенке, и второй участок, смежный четвертой стенке, а боковые части содержат две пятые стенки, расположенные на противоположных сторонах первой стенки, образующих боковые стенки. Причем вторая стенка имеет две первые вершины, расположенные на продольных линиях сгиба в контакте с третьей стенкой. При этом предварительно ослабленная линия имеет центральный участок, параллельный поперечным линиям сгиба, и два боковых участка, соединяющих центральный участок с двумя первыми вершинами. Предложенное решение обеспечивает создание жесткой коробки для пачек сигарет, имеющей параллелепипедную форму, позволяющей легко извлекать сигареты без повреждения коробки или самих пачек. 7 з.п. ф-лы, 7 ил.

Настоящее изобретение касается плоской заготовки для образования жесткой коробки для сигаретных пачек.
Более конкретно, настоящее изобретение касается плоской заготовки для образования жесткой витринной коробки, предназначенной для вмещения группы из десяти сигаретных пачек.
Известно выполнение жестких витринных коробок с участками, открываемыми при первом открывании коробки для обеспечения возможности обзора пачек, размещенных рядами внутри коробки.
Такой тип коробки известен из патента США №5924559, в котором описана плоская заготовка для образования жесткой коробки для сигаретных пачек, имеющей, по существу, параллелепипедную форму и содержащей переднюю стенку, заднюю стенку, две боковые стенки, крышку и основание. Заготовка имеет продольную ось и содержит центральную часть, ограниченную двумя продольными линиями сгиба, параллельными продольной оси, две боковые части, расположенные на противоположных сторонах центральной части, несколько поперечных линий сгиба, разделяющих центральную часть на первую стенку, образующую основание, вторую стенку, образующую переднюю стенку, третью стенку, образующую крышку, и четвертую стенку, образующую заднюю стенку, предварительно ослабленную линию отрыва, разделяющую вторую стенку на первый, по существу, трапециевидный участок и второй участок. Третья стенка разделена двумя линиями сгиба на первый участок, смежный второй стенке, и второй участок, смежный четвертой стенке. Боковые части содержат две пятые стенки, расположенные на противоположных сторонах первой стенки, образующих боковые стенки. Вторая стенка имеет две первые вершины, расположенные на продольных линиях сгиба в контакте с третьей стенкой.
Однако в известной заготовке в связи с тем, что предварительно ослабленные линии образуют часть треугольной формы, когда крышка перемещается для обеспечения возможности обзора пачки внутри, части треугольной формы остаются в первоначальном положении и создают трудность в вытягивании пачки, причем наибольшие трудности создаются для жесткой пачки. Треугольная часть прекращает вертикальное движение пачки.
Кроме того, вышеупомянутый известный тип жестких витринных коробок обычно выполняют из заготовок, форма которых затрудняет их машинную обработку, и поэтому производство витринных коробок требует существенного изменения конструкции существующих машин для упаковки в коробки.
Техническим результатом настоящего изобретения является создание плоской заготовки для образования жесткой коробки для сигаретных пачек, имеющей параллелепипедную форму, которая при использовании в качестве витринной коробки позволяет легко вынимать сигаретные пачки, размещенные внутри коробки, и обеспечивает жесткую и долговечную переднюю стенку, которая легко подвергается машинной обработке и обеспечивает изготовление жесткой витринной коробки посредством простых модификаций существующих машин для упаковки в коробки.
Указанный технический результат достигается тем, что плоская заготовка для образования жесткой коробки для сигаретных пачек имеет, по существу, параллелепипедную форму и содержит переднюю стенку, заднюю стенку, две боковые стенки, крышку и основание, имеет продольную ось и содержит центральную часть, ограниченную двумя продольными линиями сгиба, параллельными продольной оси, две боковые части, расположенные на противоположных сторонах центральной части, несколько поперечных линий сгиба, разделяющих центральную часть на первую стенку, образующую основание, вторую стенку, образующую переднюю стенку, третью стенку, образующую крышку и четвертую стенку, образующую заднюю стенку, предварительно ослабленную линию отрыва, разделяющую вторую стенку на первый, по существу, трапециевидный участок и второй участок, причем третья стенка разделена двумя линиями сгиба на первый участок, смежный второй стенке, и второй участок, смежный четвертой стенке, а боковые части содержат две пятые стенки, расположенные на противоположных сторонах первой стенки, образующих боковые стенки, причем вторая стенка имеет две первые вершины, расположенные на продольных линиях сгиба в контакте с третьей стенкой. Согласно изобретению предварительно ослабленная линия имеет центральный участок, параллельный поперечным линиям сгиба, и два боковых участка, соединяющих центральный участок с двумя первыми вершинами.
Первый участок третьей стенки может нести, по меньшей мере, один графический символ.
Боковые части могут содержать два первых язычка, расположенных на противоположных сторонах второй стенки, и выполненных так, что при сгибании они прикрепляют вторую стенку к пятым стенкам.
Боковые части могут содержать два вторых язычка, расположенных на противоположных сторонах четвертой стенки и выполненных так, что при сгибании они прикрепляют четвертую стенку к пятым стенкам.
Боковые части могут содержать два третьих язычка, расположенных на противоположных сторонах третьей стенки и выполненных так, что при сгибании они прикрепляют третью стенку к четвертым стенкам, причем третьи язычки прикреплены к третьей стенке вдоль соответствующих предварительно надрезанных участков отрыва продольных линий сгиба.
Центральная часть может содержать четвертый язычок, прикрепленный к четвертой стенке и выполненный так, что при сгибании он прикрепляет четвертую стенку к пятой стенке.
Линия сгиба третьей стенки может иметь отделяемый центральный участок, который является предварительно надрезанным или отделенным.
Линия сгиба третьей стенки может иметь два боковых сгибающих участка, параллельных поперечным линиям сгиба и соединенных посредством отделяемого центрального участка, имеющего U-образную форму.
Настоящее изобретение далее описано со ссылкой на сопровождающие чертежи, показывающие предпочтительные варианты его выполнения, не ограничивая объем заявки, и на которых изображено следующее:
фиг.1 изображает вид сверху предпочтительного варианта выполнения заготовки, выполненной согласно изобретению;
фиг.2 – вид сверху другого варианта выполнения заготовки согласно изобретению;
фиг.3 – вид в перспективе закрытой жесткой коробки для сигаретных пачек, выполненной при использовании заготовки, показанной на фиг.1;
фиг.4 – вид в перспективе закрытой жесткой коробки для сигаретных пачек, выполненной при использовании заготовки, показанной на фиг.2;
фиг.5 – вид в перспективе открытой жесткой коробки, показанной на фиг.3;
фиг.6 – вид в перспективе открытой жесткой коробки, показанной на фиг.4;
фиг.7 – вид детали, показанной на фиг.6.
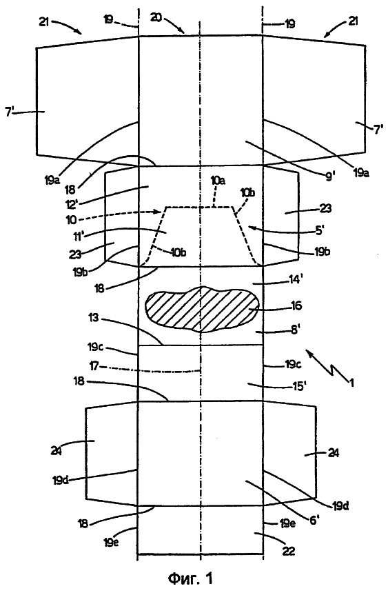
На фиг.1 показана плоская заготовка 1, выполненная из картона или подобного материала, который может сгибаться известным образом для выполнения коробки 2 (фиг.3, фиг.5), которая является, по существу, жесткой и удерживает группу 3 из десяти сигаретных пачек 4.
Как показано на фиг.3, коробка 2 имеет форму параллелепипеда и ограничена передней стенкой 5, задней стенкой 6, параллельной передней стенке 5, двумя боковыми стенками 7, параллельными друг другу и расположенными под прямыми углами к передней стенке 5 и задней стенке 6, крышкой 8, расположенной под прямым углом к передней стенке 5, задней стенке 6 и боковым стенкам 7, и основанием 9, параллельным крышке 8. Предварительно надрезанная линия 10 отрыва разделяет переднюю стенку 5 на верхний участок 11, который имеет, по существу, трапециевидную форму, и нижний участок 12. Предварительно ослабленная линия 13 сгиба разделяет крышку 8 на два прямоугольных участка 14 и 15, причем участок 14 является смежным передней стенке 5.
Участок 14 несет символы 16 или надписи, или, в общем, графические символы, которые позволяют осуществить, например, непосредственное определение марки сигаретной пачки 4, содержащейся в коробке 2.
Для большей ясности, где возможно, части заготовки 1 обозначены с использованием тех же ссылочных позиций, которые обозначают соответствующие части коробки 2, но с добавлением штриха.
Заготовка 1 (фиг.1) проходит, по существу, продольно вдоль продольной оси 17 симметрии. Заготовка 1 содержит несколько поперечных предварительно ослабленных линий 18 сгиба, перпендикулярных продольной оси 17, и две продольные предварительно ослабленные линии 19 сгиба, параллельные продольной оси 17 и расположенные на противоположных от продольной оси 17 сторонах. Заготовку 1 сгибают по этим линиям для формирования коробки 2. В частности, в процессе формирования коробки 2 после сгибания заготовки 1 линии 18, 19 сгиба образуют края соответствующих прямых двугранных углов.
Продольные линии 19 сгиба разделяют заготовку 1 на центральную часть 20 и две боковые части 21, которые расположены на противоположных от центральной части 20 сторонах.
Если смотреть сверху вниз на фиг.1, поперечные линии 18 сгиба разделяют центральную часть 20 на стенку 91, ограниченную по сторонам двумя сгибающими участками 19а, стенку 5′, ограниченную по сторонам двумя сгибающими участками 19b, стенку 8′, ограниченную по сторонам двумя участками 19с, выровненными с продольными линиями 19 сгиба, стенку 6′, ограниченную по сторонам двумя сгибающими участками 19d, и язычок 22, ограниченный по сторонам двумя участками 19е, выровненными с продольными линиями 19 сгиба, и выполненный так, что при формировании коробки 2 его прикрепляют к внутренней поверхности стенки 9′.
Стенка 5′ образует переднюю стенку 5 и имеет предварительно надрезанную линию 10 отрыва, которая разделяет стенку 5′ на первый участок 11′, который является, по существу, трапециевидным, низ которого прикреплен к стенке 8′, и второй участок 12′, верх которого прикреплен к стенке 9′.
Стенка 5′ имеет две противоположные вершины в точках пересечения участков 19b с поперечной линией 18 сгиба, между стенкой 5′ и стенкой 8′, а линия 10 отрыва проходит вдоль траектории, соединяющей два угла, и содержит центральный участок 10а, являющийся параллельным поперечным линиям 18 сгиба, и два боковых участка 10b, проходящих под углом для соединения центрального участка 10а с этими вершинами.
Предварительно ослабленная линия 13 сгиба разделяет стенку 8′ на первый участок 14′, верх которого прикреплен к стенке 5′ и несет графические изображения 16, и второй участок 15′, низ которого прикреплен к стенке 6′.
Заготовка 1 также содержит вдоль сторон 21 стенки 7′, расположенные симметрично на противоположных сторонах стенки 9′ и прикрепленные к стенке 9′ вдоль продольных сгибающих участков 19а.
Заготовка 1 также содержит вдоль сторон 21 два язычка 23, расположенных симметрично на противоположных сторонах стенки 5′ и прикрепленных к стенке 5′ вдоль продольных сгибающих участков 19b, и два язычка 24, расположенных симметрично на противоположных сторонах стенки 6′ и прикрепленных к стенке 6 вдоль продольных сгибающих участков 19d. В процессе формирования коробки 2 язычки 23, 24 прикрепляют к стенке 7′, которая образует боковые стенки 7 коробки 2.
На практике, как показано на фиг.5, верхний участок 11 передней стенки 5 коробки 2 отделен от нижнего участка 12 посредством его отрыва вдоль предварительно надрезанной линии 10 и согнут между одним концом группы 3 пачек 4 и задней стенкой 6, сгибая крышку 8 вдоль линии 13 сгиба так, что графические изображения на участке 14 обращены к передней стенке 5.
В варианте выполнения, показанном на фиг.2, плоская заготовка 25 выполнена из картона или подобного материала, эту заготовку сгибают известным образом с образованием коробки 26 (фиг.4).
Поскольку заготовка 25 очень похожа на заготовку 1, показанную на фиг.1, где можно, части заготовки 25 обозначены теми же ссылочными позициями, которые использованы для эквивалентных частей заготовки 1.
Заготовка 25 отличается от заготовки 1 тем, что ее стенка 8′ разделена на два участка 27′ и 28′ посредством предварительно ослабленной линии 29 сгиба. Линия 29 сгиба образована двумя боковыми участками 30, параллельными поперечным линиям 18 сгиба, и предварительно надрезанным или отрезанным центральным участком 31, имеющим, по существу, U-образную форму.
В отличие от заготовки 1 заготовка 25 также содержит два язычка 32, расположенных симметрично на противоположных сторонах стенки 8′ и прикрепленных к стенке 8′ вдоль продольных сгибающих участков 19с, которые предпочтительно являются предварительно нарезанными.
При работе, как показано на фиг.6 и 7, верхний участок 11 передней стенки 5 коробки 26 отделяют посредством его отрыва от нижнего участка 12, а крышку 8 отделяют посредством ее отрыва вдоль участков 19с, сгибающих язычок 32 (фиг.2), которые прикрепляют к боковым стенкам 7 в процессе формирования коробки 26. Крышку 8 затем сгибают вдоль боковых участков 30 линии 29, отделяя участок 27 от участка 28 посредством отрыва вдоль участка 31, если указанный участок является предварительно надрезанным. Крышку 8 сгибают так, что графические изображения 16 обращены к передней стенке 5 коробки 26. Участок 11 затем сгибают между задним концом группы 3 пачек 4 и задней стенкой 6.
Формула изобретения
1. Плоская заготовка для образования жесткой коробки для сигаретных пачек, имеющей, по существу, параллелепипедную форму и содержащей переднюю стенку, заднюю стенку, две боковые стенки, крышку и основание, имеющая продольную ось и содержащая центральную часть, ограниченную двумя продольными линиями сгиба, параллельными продольной оси, две боковые части, расположенные на противоположных сторонах центральной части, несколько поперечных линий сгиба, разделяющих центральную часть на первую стенку, образующую основание, вторую стенку, образующую переднюю стенку, третью стенку, образующую крышку, и четвертую стенку, образующую заднюю стенку, предварительно ослабленную линию отрыва, разделяющую вторую стенку на первый, по существу, трапециевидный участок и второй участок, причем третья стенка разделена двумя линиями сгиба на первый участок, смежный с второй стенкой, и второй участок, смежный с четвертой стенкой, а боковые части содержат две пятые стенки, расположенные на противоположных сторонах первой стенки, образующих боковые стенки, причем вторая стенка имеет две первые вершины, расположенные на продольных линиях сгиба в контакте с третьей стенкой, отличающаяся тем, что предварительно ослабленная линия имеет центральный участок, параллельный поперечным линиям сгиба, и два боковых участка, соединяющих центральный участок с двумя первыми вершинами.
2. 3аготовка по п.1, отличающаяся тем, что первый участок третьей стенки несет, по меньшей мере, один графический символ.
3. Заготовка по п.1 или 2, отличающаяся тем, что боковые части содержат два первых язычка, расположенных на противоположенных сторонах второй стенки и выполненных так, что при сгибании они прикрепляют вторую стенку к пятым стенкам.
4. 3аготовка по любому из пп.1-3, отличающаяся тем, что боковые части содержат два вторых язычка, расположенных на противоположных сторонах четвертой стенки и выполненных так, что при сгибании они прикрепляют четвертую стенку к пятым стенкам.
5. Заготовка по любому из пп.1-4, отличающаяся тем, что боковые части содержат два третьих язычка, расположенных на противоположных сторонах третьей стенки и выполненных так, что при сгибании они прикрепляют третью стенку к четвертым стенкам, причем третьи язычки прикреплены к третьей стенке вдоль соответствующих предварительно надрезанных участков отрыва продольных линий сгиба.
6. Заготовка по любому из пп.1-5, отличающаяся тем, что центральная часть содержит четвертый язычок, прикрепленный к четвертой стенке и выполненный так, что при сгибании он прикрепляет четвертую стенку к пятой стенке.
7. Заготовка по любому из пп.1-6, отличающаяся тем, что линия сгиба третьей стенки имеет отделяемый центральный участок, который является предварительно надрезанным или отделенным.
8. Заготовка по п.7, отличающаяся тем, что линия сгиба третьей стенки имеет два боковых сгибающих участка, параллельных поперечным линиям сгиба и соединенных посредством отделяемого центрального участка, имеющего U-образную форму.
РИСУНКИ
MM4A – Досрочное прекращение действия патента СССР или патента Российской Федерации на изобретение из-за неуплаты в установленный срок пошлины за поддержание патента в силе
Дата прекращения действия патента: 29.11.2007
Извещение опубликовано: 10.08.2010 БИ: 22/2010
|
|