|
|
(21), (22) Заявка: 2004130005/28, 12.10.2004
(24) Дата начала отсчета срока действия патента:
12.10.2004
(45) Опубликовано: 20.07.2005
(56) Список документов, цитированных в отчете о поиске:
RU 2162230 C1, 20.01.2001. RU 2142643 C1, 10.12.1999. SU 476516 A, 11.11.1975. US 4914598 A, 03.04.1990. US 4303978 А, 01.12.1981.
Адрес для переписки:
125080, Москва, ул. Панфилова, 2, кв.89, пат.пов. Г.М.Максягину
|
(72) Автор(ы):
Мезенцев А.П. (RU), Ачильдиев В.М. (RU), Абрамов В.С. (RU), Терешкин А.И. (RU), Шульгин Г.К. (RU)
(73) Патентообладатель(и):
Мезенцев Александр Павлович (RU), Ачильдиев Владимир Михайлович (RU), Абрамов Виктор Сергеевич (RU), Терешкин Александр Иванович (RU)
|
(54) СПОСОБ КОМПЛЕКСНЫХ ИСПЫТАНИЙ БЕСПЛАТФОРМЕННЫХ ИНЕРЦИАЛЬНЫХ ИЗМЕРИТЕЛЬНЫХ БЛОКОВ НА ОСНОВЕ МИКРОМЕХАНИЧЕСКИХ ГИРОСКОПОВ И АКСЕЛЕРОМЕТРОВ И УСТРОЙСТВО ДЛЯ ЕГО ОСУЩЕСТВЛЕНИЯ
(57) Реферат:
Изобретение относится к измерительной технике, в частности к испытательным стендам для проведения контроля характеристик инерциальных измерителей, в состав которых входят микромеханические вибрационные гироскопы-акселерометры. Способ включает определение характеристик бесплатформенных инерциальных измерительных блоков (БИИБ) в условиях одновременного воздействия динамических и температурных испытательных параметров. При этом предварительно задают направление оси комплексного динамического воздействия на БИИБ и устанавливают БИИБ так, чтобы геометрический центр его измерительной системы координат совпадал с осью комплексного динамического воздействия на БИИБ, а испытания производят при каждом заданном направлении пространственной ориентации измерительной системы координат БИИБ относительно оси комплексного динамического воздействия, полученным поворотом БИИБ вокруг указанного геометрического центра его измерительной системы координат. Устройство включает испытательную платформу для закрепления БИИБ, а в полость термокамеры, через отверстие в ее нижней части, встроена вертикально направленная ось вращения одноосного стенда с поворотной платформой, на которой посредством жесткой станины с системой низкочастотной изоляции и автоматической компенсации нагрузки жестко закреплен вибростенд, ось задания виброускорений которого соосна оси вращения одноосного стенда, при этом на рабочей поверхности вибростенда жестко закреплен двухосевой кардановый подвес, на котором установлена испытательная платформа для закрепления БИИБ, внутренняя ось вращения которой соосна с осью вращения одноосного стенда и осью задания виброускорений вибростенда. Технический результат заключается в возможности калибровки точностных характеристик микромеханических гироскопических чувствительных элементов БИИБ и ускоренных ресурсных испытаниях БИИБ в широком температурном, скоростном диапазоне с наложением вибрационных воздействий и линейных перегрузок, что приводит к значительному (на порядок) снижению времени и стоимости проведения испытаний. 2 с. и 2 з.п. ф-лы, 1 ил.

Предлагаемое изобретение относится к измерительной технике, в частности к испытательным стендам для проведения контроля характеристик инерциальных измерителей, в состав которых входят микромеханические вибрационные гироскопы-акселерометры.
Известен стенд для контроля прецизионных датчиков угловых скоростей, содержащий основание, имеющее возможность вращаться вокруг оси стенда и предназначенное для закрепления на нем контролируемого датчика угловой скорости, имеющего датчик угла, датчик момента, соединенные через усилитель обратной связи, электродвигатель привода стенда, редукцию, коллектор для подвода питания к контролируемому датчику угловой скорости, задатчик эталонного напряжения (см. авторское свидетельство СССР №476516, МКИ G 01 Р 13/00, 1973 г.).
Данный стенд, имеющий в основе конструкции электромеханический поворотный стол с редукцией, не обеспечивает возможности контроля ряда параметров датчиков, например амплитудно-частотную и фазово-частотную характеристики, в условиях, имеющих место при эксплуатации (так как механические колебания основания вокруг оси чувствительности, например, подменяются колебаниями его оси прецессии, возбуждаемыми генератором).
Известен широкодиапазонный стенд для контроля параметров измерителей угловых скоростей, содержащий платформу для крепления контролируемого измерителя и подвода к нему питания через кольцевой коллектор, персональную ЭВМ, в слоты которой встроена схема сопряжения с элементами управления испытательными характеристиками платформы и датчиками контролируемых параметров испытуемых измерителей, шесть кварцевых маятниковых акселерометров, гироскопический датчик угловой скорости, два геркона, магнит, механизм отслеживания, суммирующий двухканальный усилитель (см. патент РФ №2142643, МКИ G 01 Р 21/00, 1996 г.).
Указанный стенд обеспечивает достаточно широкий диапазон динамических испытательных воздействий на контролируемый измеритель и оперативный контроль его характеристик.
Недостатком стенда является отсутствие возможности контроля характеристик измерителей угловых скоростей в условиях комплексного задания в широком диапазоне температурных воздействий и различных испытательных динамических нагрузок.
Такая задача возникает в связи с использованием в системах навигации и управления движением различных объектов микромеханических бесплатформенных инерциальных измерительных блоков (БИИБ), в состав которых входят корпусные и бескорпусные блоки сервисной микроэлектроники и микромеханические вибрационные гироскопы-акселерометры.
Наиболее близким техническим решением к предлагаемому является способ испытаний бесплатформенных инерциальных измерительных блоков на основе микромеханических гироскопов и акселерометров, включающий определение характеристик БИИБ в условиях одновременного воздействия на него динамических и температурных испытательных параметров, реализованный в известном широкодиапазонном стенде, содержащем поворотную платформу для крепления испытуемого измерителя и подвода к нему питания через кольцевой коллектор, персональную ЭВМ, в слоты которой встроена схема сопряжения с элементами управления испытательными характеристиками платформы и датчиками контролируемых параметров испытуемых измерителей, установленные на платформе охладитель воздуха, термоэлектрический модуль с микровибростолом и универсальную термокамеру (см. патент РФ №2162230, кл. G 01 С 21/00, 2000).
Недостатком указанного технического решения являются не достаточные функциональные возможности для обеспечения комплексных испытаний по калибровке точностных характеристик микромеханических гироскопических чувствительных элементов бесплатформенных инерциальных измерительных систем, а также ускоренных ресурсных испытаний этих систем в широком температурном, скоростном диапазоне с наложением вибрационных воздействий и линейных перегрузок в различных направлениях, в том числе ударных, что обусловлено ограниченными возможностями подачи испытательных параметров как по времени, так и по направлению воздействия, а также несовершенством конструктивных элементов стенда и его компоновки.
Техническим результатом предлагаемого изобретения является расширение функциональных возможностей способа и устройства за счет обеспечения возможности проведения ускоренных динамических и температурных (одновременно и отдельно) испытаний микроминиатюрных приборов в широком диапазоне с одновременным обеспечением достоверности воспроизведения условий эксплуатации в процессе проведения испытаний и упрощением обработки измерительной информации о состоянии испытуемого прибора.
Указанный технический результат достигается тем, что в известном способе испытаний бесплатформенных инерциальных измерительных блоков (БИИБ) на основе микромеханических гироскопов и акселерометров, включающем определение характеристик БИИБ в условиях одновременного воздействия на него динамических и температурных испытательных параметров, для обеспечения достижения указанного выше технического результата предварительно задают направление оси комплексного динамического воздействия на БИИБ и устанавливают БИИБ так, чтобы геометрический центр его измерительной системы координат совпадал с осью комплексного динамического воздействия на БИИБ, а испытания производят при каждом заданном направлении пространственной ориентации измерительной системы координат БИИБ относительно оси комплексного динамического воздействия, полученным поворотом БИИБ вокруг указанного геометрического центра его измерительной системы координат, при этом испытательное воздействие на БИИБ производят одновременной или последовательной подачей на него одного или более чем одного испытательных параметров.
Кроме того, могут дополнительно производить испытания при каждом заданном положении смещения центра измерительной системы координат БИИБ в радиальном направлении относительно оси комплексного динамического воздействия.
Указанный технический результат для устройства достигается тем, что в известное устройство для испытаний бесплатформенных инерциальных измерительных блоков (БИИБ) на основе микромеханических гироскопов и акселерометров, содержащее термокамеру, одноосный стенд с поворотной платформой для позиционирования, вращательного движения и подвода питания к БИИБ через кольцевой коллектор, вибростенд, двухкоординатный кардановый подвес, персональную ЭВМ, в слоты которой встроена схема сопряжения с элементами управления испытательными параметрами и датчиками контролируемых характеристик БИИБ, введена испытательная платформа для закрепления БИИБ, а в полость термокамеры, через отверстие в ее нижней части, встроена вертикально направленная ось вращения одноосного стенда с поворотной платформой, на которой посредством жесткой станины с системой низкочастотной изоляции и автоматической компенсации нагрузки жестко закреплен вибростенд, ось задания виброускорений которого соосна оси вращения одноосного стенда, при этом на рабочей поверхности вибростенда жестко закреплен двухосевой кардановый подвес, на котором установлена испытательная платформа для закрепления БИИБ, внутренняя ось вращения которой соосна с осью вращения одноосного стенда и осью задания виброускорений вибростенда.
Кроме того, устройство может быть снабжено источниками питания и кабелями для гальванической связи, соответственно, испытуемого БИИБ с кольцевым коллектором одноосного стенда, вибростенда с кольцевым коллектором одноосного стенда, кольцевого коллектора одноосного стенда с аналого-цифровым преобразователем персонального компьютера, кольцевого коллектора одноосного стенда с цифроаналоговым преобразователем персонального компьютера, кольцевого коллектора одноосного стенда с системой управления вибростендом, источника питания с термокамерой, источника питания с цепью кольцевого коллектора цепи питания испытуемого БИИБ, источника питания с цепью кольцевого коллектора цепи питания вибростенда, источника питания с цепью кольцевого коллектора цепи питания скоростного стенда, контроллера управления одноосным стендом с персональным компьютером.
Для реализации предложенного технического решения могут быть использованы стандартные известные универсальные термокамеры с широким диапазоном задаваемой температуры (от минус 60°С до +130°С), переносные широкодиапазонные одноосные стенды для позиционирования и задания скорости вращения, электромагнитные вибрационные стенды на собственной станине жесткой конструкции с системой низкочастотной изоляции и автоматической компенсацией, специально разработанные для использования совместно с климатическими камерами.
Для управления работой вибростенда и съема информации с испытуемого инерциального измерителя предусмотрены кабели гальванической связи, соединяющие выходные цепи инерциального измерителя через: электрический разъем на поворотной платформе и кольцевой коллектор одноосного стенда с входным разъемом АЦП, установленным в слоте персональной ЭВМ, производящей накопление и обработку экспериментальных данных; электрический разъем на корпусе вибростенда через второй электрический разъем на поворотной платформе и кольцевой коллектор одноосного стенда с входными цепями системы управления вибростендом; электрический разъем на корпусе одноосного стенда с контроллером управления одноосным стендом и от контроллера управления с персональной ЭВМ.
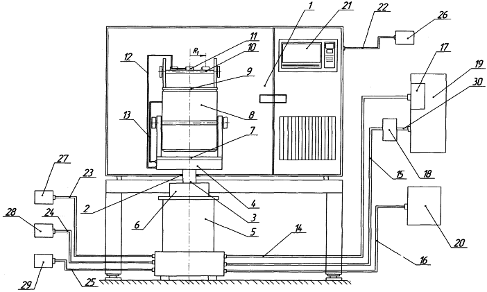
Состав устройства (см. чертеж):
1. Термокамера.
2. Отверстие с термоизоляционной прокладкой.
3. Ось с поворотной платформой.
4. Поворотная платформа.
5. Одноосный стенд для позиционирования и задания вращательного движения.
6. Кольцевой коллектор.
7. Станина вибростенда.
8. Вибрационный стенд.
9. Двухкоординатный кардановый подвес.
10. Испытательная платформа для установки испытуемого измерителя.
11. Испытуемый измеритель.
12. Кабель гальванической связи испытуемого измерителя с кольцевым коллектором одноосного стенда.
13. Кабель гальванической связи вибростенда с кольцевым коллектором одноосного стенда.
14. Кабель гальванической связи кольцевого коллектора одноосного стенда с АЦП (аналого-цифровой преобразователь) ПК (персональный компьютер).
15. Кабель гальванической связи кольцевого коллектора одноосного стенда с ЦАП (цифроаналоговый преобразователь) ПК.
16. Кабель гальванической связи кольцевого коллектора одноосного стенда с системой управления (СУ) вибростендом.
17. АЦП.
18. Контроллер управления одноосным стендом.
19. ПК.
20. СУ вибростенда.
21. СУ термокамерой.
22. Кабель гальванической связи источника питания с термокамерой.
23. Кабель гальванической связи источника питания с цепью кольцевого коллектора цепи питания испытуемого измерителя.
24. Кабель гальванической связи источника питания с цепью кольцевого коллектора цепи питания вибростенда.
25. Кабель гальванической связи источника питания с цепью кольцевого коллектора цепи питания скоростного стенда.
26. Источник питания (ИП) термокамеры.
27. ИП испытуемого измерителя.
28. ИП вибростенда.
29. ИП скоростного стенда.
30. Кабель гальванической связи котроллера управления одноосным стендом с ПК.
Предлагаемое устройство для комплексных ускоренных испытаний бесплатформенных инерциальных измерительных блоков содержит термокамеру 1, в которую через отверстие с термоизоляционной прокладкой 2 вертикально помещена ось 3 с поворотной платформой 4 одноосного стенда для позиционирования и задания вращательного движения 5 с кольцевым коллектором 6. На поворотной платформе 4 жестко закреплена станина 7 электромагнитного вибрационного стенда 8, ось задания виброускорений которого направлена соосно оси вращения одноосного стенда 5. На рабочей поверхности вибростенда 8 жестко закреплен двухкоординатный кардановый подвес 9 с платформой 10, на которой установлен испытуемый инерциальный измеритель 11, электрическая связь которого с персональной ЭВМ 19 и источником питания 27 осуществляется с помощью электрического кабеля 12, присоединенного к электрическому разъему на поворотной платформе 4, кольцевого коллектора 6, электрического разъема на корпусе одноосного стенда 5, электрического кабеля 14 и аналого-цифрового преобразователя 17 (с ЭВМ) и электрического кабеля 23 с источником питания 27. Электрическая связь вибростенда 8 с системой управления 20 и источником питания 28 осуществляется с помощью электрического кабеля 13, кольцевого коллектора 6, электрического кабеля 16 и электрического кабеля 24. Одноосный стенд 5 с помощью электрического кабеля 15 соединен с контроллером управления 18, который с помощью электрического кабеля 30 соединен с персональной ЭВМ 19 и с помощью электрического кабеля 25 – с источником питания 29. Термокамера 1 имеет систему управления 21 и электрический кабель 22, соединенный с источником питания 26.
Устройство работает следующим образом.
Для проведения комплексных ускоренных ресурсных испытаний инерциальный измеритель устанавливается во внутренний объем термокамеры 1 на платформу 10 в ее геометрический центр вращения (или со смещением от геометрического центра на радиусе R1 для создания воздействий на инерциальный измеритель в виде линейных перегрузок) двухкоординатного карданового подвеса 9 и с его помощью производится требуемая пространственная ориентация системы координат инерциального измерителя, образованной осями чувствительности гироскопических датчиков линейного ускорения и угловой скорости испытуемого измерителя.
С помощью теплоизоляционной дверцы (на Фиг.1 не показана) внутренний объем термокамеры 1 закрывается и с помощью системы управления 21 термокамерой производится ее включение от источника питания 26 и настройка и контроль ее температурного режима. После установления заданной температуры в диапазоне от -60°С до + 130°С в соответствии с программой и методикой испытаний производится:
– с помощью источника питания 29, подключенного к скоростному стенду 5 кабелем 25, и системы задания и контроля углового вращения, включающей в себя персональную ЭВМ 19 с программно-математическим обеспечением, контроллер управления стендом 18 и соединительный кабель 15, производится включение скоростного стенда 5, задание скорости вращения поворотной платформы 4 и осуществляется контроль фактического значения скорости вращения с фиксацией на экране монитора и накоплением этих параметров с временными метками на магнитном носителе ЭВМ 19;
– с помощью источника питания 28, подключенного кабелем 24 к электрическому разъему на корпусе скоростного стенда 5, кольцевого коллектора 6 и электрического кабеля 13, подключенному к вибростенду 8 и с помощью системы управления и контроля режимами 20 вибростенда, подключенной кабелем 16 к электрическому разъему на корпусе скоростного стенда 5, кольцевого коллектора 6 производится настройка требуемого режима вибровозмущений и включение вибростенда;
– с помощью источника питания 27, подключенного кабелем 23 к электрическому разъему на корпусе скоростного стенда 5, кольцевого коллектора 6, кабеля 12, соединенного с выходными клеммами инерциального измерителя 11, производится подача питания на инерциальный измеритель, а с помощью ЭВМ 19, подключенной через модуль АЦП, кабелем 14 к разъему на корпусе скоростного стенда 5 и далее через кольцевой коллектор 6 к выходным цепям измерителя 11, и программно-математического обеспечения включается режим измерения и контроля измеряемых параметров инерциального измерителя 11.
Использование предлагаемых способа и устройства позволяет выполнять следующие типы испытаний:
1. Калибровка точностных параметров микромеханических гироскопов и акселерометров в составе БИИБ, в том числе масштабного коэффициента и нулевого сигнала, в температурном диапазоне эксплуатации (от минус 60° до плюс 130°).
2. Функционирование БИИБ, т.е. измерение точностных параметров в диапазоне эксплуатационных температур.
3. Ускоренные ресурсные испытания БИИБ.
Таким образом, предлагаемое изобретение обеспечивает технический результат, заключающийся в обеспечении проведения комплексных испытаний как по калибровке точностных характеристик микромеханических гироскопических чувствительных элементов БИИБ, так и ускоренных ресурсных испытаний БИИБ в широком температурном, скоростном диапазоне с наложением вибрационных воздействий и линейных перегрузок, что приводит к значительному (на порядок) снижению времени и стоимости проведения испытаний.
Кроме этого, предлагаемое устройство для комплексных испытаний инерциальных измерительных блоков на основе микромеханических акселерометров и гироскопов выполнено в единой конструктивной схеме, обладающей одновременно функциями задания, контроля и регистрации позиционирования, вращательного движения, вибрационных воздействий и линейных перегрузок испытуемого инерциального измерителя, что также существенно снижает время проведения ресурсных испытаний и затраты на приобретение и эксплуатацию стендового оборудования.
Формула изобретения
1. Способ комплексных испытаний бесплатформенных инерциальных измерительных блоков (БИИБ) на основе микромеханических гироскопов и акселерометров, включающий определение характеристик БИИБ в условиях одновременного воздействия на него динамических и температурных испытательных параметров, отличающийся тем, что предварительно задают направление оси комплексного динамического воздействия на БИИБ и устанавливают БИИБ так, чтобы геометрический центр его измерительной системы координат совпадал с осью комплексного динамического воздействия на БИИБ, а испытания производят при каждом заданном направлении пространственной ориентации измерительной системы координат БИИБ относительно оси комплексного динамического воздействия, полученным поворотом БИИБ вокруг указанного геометрического центра его измерительной системы координат, при этом испытательное воздействие на БИИБ производят одновременной или последовательной подачей на него одного или более испытательных параметров.
2. Способ по п.1, отличающийся тем, что дополнительно производят испытания при каждом заданном положении смещения центра измерительной системы координат БИИБ в радиальном направлении относительно оси комплексного динамического воздействия.
3. Устройство для комплексных испытаний бесплатформенных инерциальных измерительных блоков (БИИБ) на основе микромеханических гироскопов и акселерометров, содержащее термокамеру, одноосный стенд с поворотной платформой для позиционирования, вращательного движения и подвода питания к БИИБ через кольцевой коллектор, вибростенд, двухкоординатный кардановый подвес, персональную ЭВМ, в слоты которой встроена схема сопряжения с элементами управления испытательными параметрами и датчиками контролируемых характеристик БИИБ, отличающееся тем, что в него введена испытательная платформа для закрепления БИИБ, а в полость термокамеры через отверстие в ее нижней части встроена вертикально направленная ось вращения одноосного стенда с поворотной платформой, на которой посредством жесткой станины с системой низкочастотной изоляции и автоматической компенсации нагрузки жестко закреплен вибростенд, ось задания виброускорений которого соосна с осью вращения одноосного стенда, при этом на рабочей поверхности вибростенда жестко закреплен двухосевой кардановый подвес, на котором установлена испытательная платформа для закрепления БИИБ, внутренняя ось вращения которой соосна с осью вращения одноосного стенда и осью задания виброускорений вибростенда.
4. Устройство по п.3, отличающееся тем, что оно снабжено источниками питания и кабелями для гальванической связи соответственно испытуемого БИИБ с кольцевым коллектором одноосного стенда, вибростенда с кольцевым коллектором одноосного стенда, кольцевого коллектора одноосного стенда с аналого-цифровым преобразователем персонального компьютера, кольцевого коллектора одноосного стенда с цифроаналоговым преобразователем персонального компьютера, кольцевого коллектора одноосного стенда с системой управления вибростендом, источника питания с термокамерой, источника питания с цепью кольцевого коллектора цепи питания испытуемого БИИБ, источника питания с цепью кольцевого коллектора цепи питания вибростенда, источника питания с цепью кольцевого коллектора цепи питания скоростного стенда, контроллера управления одноосным стендом с персональным компьютером.
РИСУНКИ
MM4A – Досрочное прекращение действия патента СССР или патента Российской Федерации на изобретение из-за неуплаты в установленный срок пошлины за поддержание патента в силе
Дата прекращения действия патента: 13.10.2007
Извещение опубликовано: 20.06.2009 БИ: 17/2009
|
|