|
|
(21), (22) Заявка: 2004125691/02, 23.08.2004
(24) Дата начала отсчета срока действия патента:
23.08.2004
(45) Опубликовано: 20.07.2005
(56) Список документов, цитированных в отчете о поиске:
US 4893544 А, 16.01.1990. RU 2064153 C1, 22.03.1994. RU 2104457 C1, 10.02.1998. US 4530417 A, 23.07.1985. US 5679916 A, 21.10.1997. US 3748956 A, 31.07.1973. DE 2448865 A1, 29.04.1976.
Адрес для переписки:
197183, Санкт-Петербург, ул. Савушкина, 20, кв.25, В.В.Набокову
|
(72) Автор(ы):
Набоков В.В. (RU)
(73) Патентообладатель(и):
Набоков Владислав Васильевич (RU)
|
(54) ОРУЖЕЙНЫЙ ГЛУШИТЕЛЬ
(57) Реферат:
Оружейный глушитель относится к вооружению и применяется для глушения звука выстрела. Сущность изобретения заключается в разделении внутренней полости корпуса глушителя на отдельные отсеки поперечными переборками с центральными отверстиями по оси корпуса. Объемы этих отсеков увеличиваются в сторону выходного отверстия, а сами отсеки разбиты на сектора радиальными перегородками, которые расположены в смежных отсеках со смещением относительно друг друга по окружности. Последняя переборка со стороны выхлопа выполнена в виде воронки с конусом, направленным в сторону входного отверстия глушителя. Внутри воронки по оси корпуса установлен патрубок с диаметром отверстия, достаточным для прохождения снаряда. В стенке воронки выполнена перфорация, размеры отверстий ее постепенно увеличиваются к периферии. Изобретение позволяет значительно снизить звук выстрела и силу отдачи оружия. 3 ил.

Изобретение относится к вооружению, а более конкретно к глушителям оружия, используемым для глушения звука выстрела.
Известен оружейный глушитель, содержащий насадку с внутренней полостью, выполненной в виде раструба с входным и выходным отверстиями. Этот оружейный глушитель охарактеризован в патенте US 4893544, НКИ 89/14.2, 16.01/1990.
Сущность изобретения заключается в том, что внутренняя полость корпуса по длине разделена на отдельные отсеки поперечными переборками с центральными отверстиями по оси полости, причем объемы отсеков увеличиваются в сторону выходного отверстия, а отсеки разбиты на сектора радиальными перегородками, которые расположены в смежных отсеках в шахматном порядке, последняя переборка со стороны выхлопа выполнена в виде воронки с конусом, направленным в сторону входного отверстия, внутри воронки по оси полости установлен патрубок с диаметром отверстия, достаточным для прохода снаряда, а в стенке воронки выполнена перфорация, размеры отверстий которой постепенно увеличиваются к периферии.
Такая конструкция глушителя обеспечивает пониженный звук выстрела за счет расширения газа и потерею им кинетической энергии, т.е. пониженное давление и скорость газа при выхлопе, а также уменьшает силу отдачи оружия при выстреле.
Это достигается за счет отсеков с секторами внутренней полости корпуса, формы и конструкции последней переборки, которые понижают давление и снижают скорость газа, разбивают его поток на отдельные части при прохождении газа и снаряда по каналу глушителя.
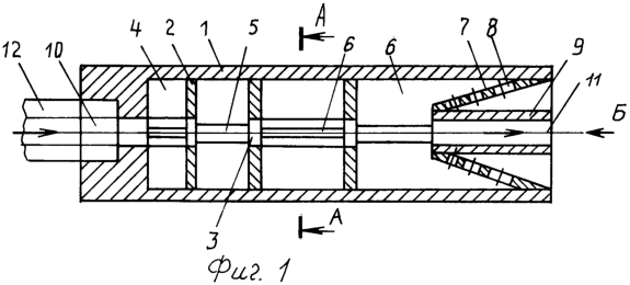
На фиг.1 изображен глушитель в продольном разрезе; на фиг.2 показан разрез по А-А; на фиг.3 показан вид Б.
Глушитель содержит корпус 1, переборки 2 с центральными отверстиями 3, отсеки 4, сектора 5, радиальные перегородки 6, воронку 7 с отверстиями 8 перфорации, патрубок 9, входной канал 10 и выходной канал 11.
Отсеки 4 имеют разные объемы, которые увеличиваются в сторону выходного канала 11, и разбиты на отдельные сектора 5 радиальными перегородками 6, расположенными в смежных отеках в шахматном порядке. Последняя переборка, выполненная в виде воронки 7 с конусом, направленным в сторону входного канала 10, имеет патрубок 9 с диаметром канала, достаточным для прохождения снаряда. В стенке воронки 7 выполнена перфорация, размеры отверстий 8 которой постепенно увеличиваются к периферии.
При выходе из ствола 12 оружия снаряд и газ через входной канал 10 проходят в центральный канал внутренней полости корпуса. По мере их движения газ из-за расширения и понижения давления теряет кинетическую энергию и отстает от снаряда, который продолжает двигаться по инерции, создавая за собой зону пониженного давления, куда входят и сектора 5 отсеков 4. В эти отдельные сектора 5 устремляются струи газа, разделяя поток на части. Наличие аэродинамических сопротивлений во внутренней полости корпуса движению газа обеспечивает уменьшение силы отдачи оружия 12.
В результате по выходу из глушителя газ имеет уменьшенную кинетическую энергию и пониженное давление, соответственно низкий звук выстрела, а оружие – малую отдачу.
Формула изобретения
Оружейный глушитель, содержащий корпус с внутренней полостью с входным и выходным отверстиями для снаряда и газов, отличающийся тем, что внутренняя полость корпуса по длине разделена на отдельные отсеки поперечными переборками с центральными отверстиями по оси корпуса, причем объемы отсеков увеличиваются в сторону выходного отверстия, а сами отсеки разбиты на сектора радиальными перегородками, которые расположены в смежных отсеках со смещением относительно друг друга по окружности, последняя переборка со стороны выхлопа выполнена в виде воронки с конусом, направленным в сторону входного отверстия глушителя, внутри воронки по оси корпуса установлен патрубок с диаметром отверстия, достаточным для прохождения снаряда, а в стенке воронки выполнена перфорация, размеры отверстий ее постепенно увеличиваются к периферии.
РИСУНКИ
|
|