|
|
(21), (22) Заявка: 2004106022/03, 02.03.2004
(24) Дата начала отсчета срока действия патента:
02.03.2004
(45) Опубликовано: 20.07.2005
(56) Список документов, цитированных в отчете о поиске:
RU 2209377 C2, 27.07.2003. SU 1786 A, 30.10.1926. SU 897931 А, 15.01.1982. RU 2158882 C2, 10.11.2000. EP 0313599 B1, 23.10.1991. DE 19740674 A1, 27.08.1998. US 4027691 A, 07.06.1977.
Адрес для переписки:
123317, Москва, Стрельбищенский пер., 5, кв.239, И.И.Смыслову
|
(72) Автор(ы):
Смыслов И.И. (RU)
(73) Патентообладатель(и):
Смыслов Игорь Иванович (RU)
|
(54) ПОДПОТОЛОЧНЫЙ НЕИСПАРЯЮЩИЙ РАСШИРИТЕЛЬНЫЙ БАЧОК СИСТЕМЫ ОТОПЛЕНИЯ И СПОСОБ ОБНАРУЖЕНИЯ МЕДЛЕННОЙ ПОТЕРИ ВОДЫ ИЗ СИСТЕМЫ ОТОПЛЕНИЯ
(57) Реферат:
Изобретение относится к отоплению, точнее к системам жидкостного отопления, к оборотным системам, преимущественно водяным. Техническим результатом является упрощение конструкции бачка и защищенность его перепонки. Подпотолочный неиспаряющий расширительный бачок системы отопления содержит жесткий корпус в виде канистры с уровнемерной трубкой и расширительной полостью, сообщенной с системой отопления, и воздушной полостью, герметично отделенной от расширительной полости мягкой перепонкой и сообщенной с окружающим воздухом. Перепонка выполнена в виде воздушного мешка, горло которого выведено из горловины корпуса и герметично скреплено с ней. В горловину корпуса плотно вставлена пробка с воздушным отверстием и закреплена навинченной крышкой с воздушным отверстием, не соосным с отверстием в пробке. Способ обнаружения медленной потери воды из системы отопления состоит в том, что летом без нагревания строят температурный график системы, для чего откладывают при установившейся температуре значения уровня воды в уровнемерной трубке указанного бачка по оси абсцисс и значения температуры в комнате по оси ординат, и экспраполируют полученную градуировочную кривую. При работе указанной системы принимают этот график за градуировочный график усредненной температуры и наносят над соответствующими значениями уровня установившиеся значения наружной температуры. При последующих измерениях определяют опять усредненную температуру – если значения уровня стали меньше, принимают, что существуют потери воды из-за утечек или испарения воды из-за нарушения герметичности указанного воздушного мешка. 2 н.п. ф-лы, 1 ил.

Изобретение относится к отоплению, точнее к системам жидкостного отопления, к оборотным системам, преимущественно водяным, а именно к расширительным бакам, и предотвращению загрязнения окружающей среды.
Широко известен испаряющий чердачный утепленный расширительный бак системы жидкостного отопления (Шварц А. “Устройство для предотвращения вреда от расширения жидкости в жидкостной отопительной системе”, ЕП № 0313599, F 24 D 3/10, 23.10.1991).
Основной недостаток аналога – непрерывное испарение воды, вызывающее остальные недостатки:
1. необходимость частых залезаний на чердак для проверки уровня жидкости (далее “вода”) и ее добавления, для чего нужен здоровый дисциплинированный человек;
2. увеличение слоя накипи в нагревательном котле после добавления воды;
3. засорение системы частицами, втянутыми в бак из воздуха, ибо бак непрерывно “дышит” из-за изменения температуры и атмосферного давления;
4. нежелательность установки бака под потолком помещения из-за повышения влажности и опасности для здоровья, если система заправлена жидкостью, не разрушающей систему при затвердевании, но вредной для здоровья.
В качестве наиболее близкого аналога принят подпотолочный неиспаряющий расширительный бачок системы отопления, содержащий жесткий корпус с расширительной полостью, сообщенной с системой отопления, и воздушной полостью, герметично отделенной от расширительной полости мягкой перепонкой и сообщенной с окружающим воздухом (Смыслов И.И. “Герметичный перепончатый расширительный бак”, пат. РФ № 2209377, F 24 D 3/10, 17.07.2003). В прототипе герметичная расширительная полость 8 в открытом корпусе 1, содержащем днище и стенку, отделена от воздушной полости 7 мягкой перепонкой 4, соединенной своим краем с краем корпуса 1 с возможностью придавливания перепонки 4 к дну 3 корпуса 1 воздухом при снижении уровня воды в баке. В прототипе устранены недостатки аналога.
Недостатки прототипа:
1. некоторая сложность изготовления, ибо даже в заготовке корпуса в виде канистры надо вырезать в ней окно, из полиэтиленовой пленки выкроить детали перепонки, сварить из них перепонку по размерам бачка, приварить ее протяженный край к краю окна;
2. незащищенность перепонки от случайных порывов.
Задачей изобретения является устранение недостатков прототипа, а именно упрощение изготовления бачка и защищенность перепонки.
Поставленная задача достигается тем, что в подпотолочном неиспаряющем расширительным бачке системы отопления, содержащем жесткий корпус с расширительной полостью, сообщенной с системой отопления, и воздушной полостью, герметично отделенной от расширительной полости мягкой перепонкой и сообщенной с окружающим воздухом, корпус выполнен в виде канистры и снабжен уровнемерной трубкой, перепонка выполнена в виде воздушного мешка, горло которого выведено из горловины корпуса и герметично скреплено с ней, при этом в горловину корпуса плотно вставлена пробка с воздушным отверстием и закреплена навинченной крышкой с воздушным отверстием, не соосным с отверстием в пробке.
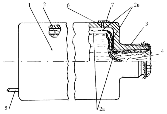
На чертеже – предлагаемый бачок в рабочем состоянии, вид сбоку.
Если после названия позиции нет ее номера, значит она известна из уровня техники для специалиста или понятна из данного описания и чертеже, она даже может отсутствовать на чертеже. Корпусом простейшего бачка для частного загородного дома служит ненужная полиэтиленовая канистра, засорявшая окружающую среду. В корпусе 1 размещена перепонка, выполненная в виде воздушного мешка 2 из обычной полиэтиленовой сумки, образующего воздушную полость с возможностью заполнения всей полости корпуса 1 без натяга мешка 2 и с возникновением складок, сумма объемов мешка 2 и расширительной полости над уровнем воды постоянна. Край мешка 2 в горловине 3 корпуса 1 образует горло 4 мешка 2; выступающий из горловины 3 край горла 4 вывернут на наружную сторону горловины 3 и герметично закреплен на ней. В корпусе 1 закреплен водный патрубок 5 для сообщения с системой и сделано герметично закрытое липкой лентой 7 технологическое отверстие 6 для выхода воздуха из расширительной полости при заполнении системы. Бачок установлен на подпотолочной полке, закрепленной к стене или потолку комнаты, летом заполнен до расчетного наименьшего уровня выше патрубка 5, а при наибольшем нагреве уровень воды поднимает нижнюю часть 2н мешка 2 почти до верхней части 2в у верхней части корпуса 1.
Общеизвестна задача обнаружения медленной потери воды из системы, например, из авторского свидетельства СССР № 1786, G 01 F 1/56, 30.10.1926. Поставленная задача при заявленном неиспаряющем бачке, как и в наиболее близком аналоге, достигается тем, что в способе обнаружения медленной потери воды из системы отопления летом без нагревания строят температурный график системы, для чего откладывают при установившейся температуре значения уровня воды в уровнемерной трубке указанного бачка по первому объекту по оси абсцисс и значения температуры в комнате по оси ординат, экстраполируют полученную градуировочную кривую, при работе указанной системы принимают этот график за градуировочный график усредненной температуры, наносят над соответствующими значениями уровня установившиеся значения наружной температуры, при последующих измерениях определяют опять усредненную температуру, если значения уровня стали меньше, принимают, что существуют потери воды из-за утечек или испарения воды из-за нарушения герметичности указанного воздушного мешка 2.
Здесь названы основные действия, известные из уровня техники и понятные из описания заявки. Поскольку масса воды при заявленном бачке остается постоянной, а ее объем зависит от температуры, летом уровнемерная трубка может быть проградуирована, как термометр. При работе системы температуры ее участков стали различны, однако они дают суммарное изменение объема, следовательно, и уровня воды, он равен уровню, который был при градуировании летом и соответствовал определенной температуре, теперь это усредненная температура системы. Температура воздуха в комнате, т.е. в помещении, где установлен бачок, поддерживается приблизительно постоянной, но при снижении наружной температуры, т.е. на улице, усредненная температура растет, поэтому уровень повышается (и наоборот), поэтому каждой наружной температуре должны соответствовать усредненная температура и свой уровень, если при повторной наружной температуре утром окажется, что уровень понизился, это значит, что масса воды уменьшилась.
Изготовление простейшего бачка. Здесь описаны основные действия, характерные для изготовления этого бачка, отличного от прототипа; остальные действия, известные из уровня техники и понятные из описания и чертежа, не упоминаются, но выполняются. Полиэтиленовую сумку сжимают вдоль в виде стержня, вводят в горловину 3 до упора (край сумки торчит из горловины 3), вставляют в горло 4 надувную трубку, обжимают вокруг нее край сумки, раздувают мешок ртом (воздух из корпуса 1 вытесняется через зазор между горловиной 3 и горлом 4) до отказа, промазывают наружную сторону горловины 3 и горла 4 герметизирующим веществом (солидол и др.), выворачивают горло 4 и обжимают вывороченное горло 4 вокруг горловины 3, например упругим кольцом, отрезают лишний край сумки, мешок 2 изготовлен. Технологическое отверстие 6 для выхода воздуха из корпуса 1 выполнено ранее, заусенцы устранены; в ранее сделанное отверстие закрепляют патрубок 5. Простой бачок готов. Нет прочного скрепления горла 4 с горловиной 3, да оно и не нужно, ибо разность давлений по обе стороны низа горла 4 не превышает высоты уровня воды над низом горла 4.
Некоторые изменения в изготовлении бачка.
Вывернутое горло 4 приварено к торцу горловины 3 с проваркой всех складок позисторным сварником (Николаев Ю.Д. и др. “Способ сварки термопластов, устройство для его осуществления и ручной сварочный инструмент”, патент РФ № 2048985, В 29 С 65/18, 27.11.1995). В горло 4 плотно вставлена пробка с воздушным отверстием и закреплена навинченной крышкой с воздушным отверстием, не соосным с отверстием в пробке. Воздушное отверстие в пробке выполняют в виде 2-х пересекающихся несквозных отверстий, чтобы предотвратить вредительский прокол мешка 2 гибкой спицей, ибо ее конец не войдет во 2-е отверстие, а упрется в дно 1-го отверстия. Мешок 2 выполнен в виде кулька из полимерной пленки или сварен, или склеен из нее по форме полости корпуса 1. Корпус имеет уровнемерное устройство, например уровнемерную трубку. В корпусе 1 выполнено заливное отверстие с герметичной крышкой. В расширительном баке системы центрального отопления можно также разместить мешок 2 и загерметизировать сам бак, сделав его значительно меньше.
Установка бачка и подготовка системы к работе.
Летом заправляют систему до конца стояка. Устанавливают бачок на подпотолочную полку, прикрепленную к стенке или потолку, соединяют патрубок 5 со стояком, удобнее – шлангом, дозаправляют систему через сливной шланг (воздух выдавливается через отверстие 6) или через заливное отверстие до расчетного уровня при известной температуре (все измерения выполняются при приблизительно установившейся температуре, например, если значения постоянны в течение 1 часа). Опять раздувают мешок воздушной трубкой, герметизируют отверстие 6 (и другие) липкой лентой 7, этого достаточно, ибо давление в корпусе 1 равно атмосферному, поэтому нет силы, отрывающей ленту 7. Проверяют бачок, для чего нагревают систему до наибольшей температуры (но не до 100°С в нагревательном баке) и следят за уровнем, уровень может дойти до отверстия 6 и оторвать ленту 7, часть воды выльется, при наибольшей температуре системы нагревание прекращают, герметизируют отверстие 6 (и другие), после охлаждения до температуры в комнате проверяют уровень, если он выше расчетного, система готова. Если уровень ниже расчетного, делают бачок большей вместимости и повторяют все действия. Строят градуировочный график, для чего с лета замечают температуры 25, 20 и 15°С, (например), на просвечивающем корпусе 1 или уровнемерной трубке наносят деления при уровнях при таких температурах и пишут эти температуры у делений, строят градуировочный график по этим данным.
Работа бачка.
В корпусе остался воздух, в нем образовалась паровоздушная смесь с насыщенным паром, ее объем несколько увеличился за счет уменьшения объема мешка 2, вода больше не испаряется, на потолке корпуса 1 и на мешке верхней части 2в мешка могут образоваться капли, все это не отражается на работе бачка. При повышении уровня выше нижней части горловины 3 давление воды стремится выдавить горло 4 из горловины 3 и просочиться между ними, но многочисленные разнонаправленные складки в ней и перед ней предотвращают это вместе с герметиком и обжимным кольцом на горловине 3. При наибольшем уровне нижняя часть 2н мешка 3 перекрывает горловину 3, но упомянутые складки сохраняют сообщение мешка 2 с наружным воздухом.
Устранение неисправностей.
Если обнаружена потеря воды, в том числе по графику усредненной температуры, выключают нагрев, ищут утечки в системе, одновременно проверяют герметичность мешка 2, для чего вставляют в горло 4 плотно гибкую прозрачную трубку, чтобы ее конец опустился до уровня глаз, и следят за появлением в ней капель, если они появились, значит пар проникает в мешок 2, выдавливается новыми порциями пара в трубку, где конденсируется, тогда охлаждают систему, чтобы уровень опустился ниже горловины 3, вводят в горловину новую сумку и делают из нее новый мешок, как описано. Летом заменяют мешок 2 на новый.
Преимущества: данный бачок сохранил все преимущества прототипа, проще в изготовлении, надежнее в работе, кроме того, в процессе его использования выявилось еще одно общее преимущество, а именно возможность обнаружения даже медленной потери воды из системы.
Формула изобретения
1. Подпотолочный неиспаряющий расширительный бачок системы отопления, содержащий жесткий корпус с расширительной полостью, сообщенной с системой отопления, и воздушной полостью, герметично отделенной от расширительной полости мягкой перепонкой и сообщенной с окружающим воздухом, отличающийся тем, корпус выполнен в виде канистры и снабжен уровнемерной трубкой, перепонка выполнена в виде воздушного мешка, горло которого выведено из горловины корпуса и герметично скреплено с ней, при этом в горловину корпуса плотно вставлена пробка с воздушным отверстием и закреплена навинченной крышкой с воздушным отверстием, не соосным с отверстием в пробке.
2. Способ обнаружения медленной потери воды из системы отопления, характеризующийся тем, что летом без нагревания строят температурный график системы, для чего откладывают при установившейся температуре значения уровня воды в уровнемерной трубке указанного бачка по п.1 по оси абсцисс и значения температуры в комнате по оси ординат, экспраполируют полученную градуировочную кривую, при работе указанной системы принимают этот график за градуировочный график усредненной температуры, наносят над соответствующими значениями уровня установившиеся значения наружной температуры, при последующих измерениях определяют опять усредненную температуру, если значения уровня стали меньше, принимают, что существуют потери воды из-за утечек или испарения воды из-за нарушения герметичности указанного воздушного мешка.
РИСУНКИ
|
|