|
|
(21), (22) Заявка: 2003103134/11, 03.02.2003
(24) Дата начала отсчета срока действия патента:
03.02.2003
(43) Дата публикации заявки: 20.08.2004
(45) Опубликовано: 20.07.2005
(56) Список документов, цитированных в отчете о поиске:
RU 2073142 С1, 10.02.1997. US 3432158 А, 11.03.1969. GB 1315846 А, 02.05.1973. DE 2703651 A1, 10.11.1977.
Адрес для переписки:
344027, г.Ростов-на-Дону, Ростовский военный институт ракетных войск, 27, НИО
|
(72) Автор(ы):
Денисов О.В. (RU), Денисов Д.О. (RU), Дорофеев О.Ю. (RU), Атмачиди П.П. (RU), Тихомиров А.Г. (RU), Шевцова Л.А. (RU)
(73) Патентообладатель(и):
Ростовский военный институт ракетных войск (RU)
|
(54) УПРАВЛЯЕМАЯ СИСТЕМА АМОРТИЗАЦИИ АВТОМОБИЛЯ
(57) Реферат:
Изобретение относится к области машиностроения, в частности к системам амортизации. Сущность изобретения заключается в том, что управляемая система амортизации автомобиля содержит двойной полый торсион, выполненный весь или частично из термоупругого демпфирующего сплава с эффектом памяти формы, средняя часть которого соединена с рычагом колеса. Концы торсиона охвачены серьгами, позволяющими торсиону скручиваться при перемещениях рычага, и жестко закреплены на раме автомобиля, на которой расположен датчик вибрации, связанный с блоком управления и источником питания. К торсиону с обеих сторон подведены трубопроводы, заполненные теплоносителем и соединенные с контуром нагрева и контуром охлаждения, с которыми связан блок управления. В качестве теплоносителя используется охлаждающая жидкость двигателя внутреннего сгорания автомобиля. Контур нагрева включает в себя рубашку охлаждения двигателя внутреннего сгорания автомобиля. Контур охлаждения соединен с торсионом обводной магистралью с возможностью частичной или полной подачи теплоносителя к торсиону. Техническим результатом является расширение диапазона рабочих частот системы амортизации при повышении экономичности и простоты конструкции. 2 ил.

Предлагаемое изобретение относится к области машиностроения, в частности к системам амортизации, и может найти применение при создании управляемых подвесок транспортных средств.
Известны системы амортизации, содержащие торсионы, при кручении которых поглощается энергия воздействия, имеющая обычно колебательный характер [1, 2].
Известны управляемые системы амортизации, упругие свойства рабочих элементов которых изменяются при нагревании токами СВЧ, при воздействии давления [2].
Прототипом предлагаемой конструкции является торсионная пружина, содержащая торсионы, соединенные с ними рычаги одинаковой длины с опорными цилиндрическими поверхностями, одни концы торсионов жестко соединены попарно между собой, другие концы тех же пар охвачены серьгами и закреплены в рычагах одинаковой длины, стержень с продольными канавками, взаимодействующими с двумя противоположно лежащими парами опорных цилиндрических поверхностей рычагов, снабжена электроконтактным нагревателем, с положительным полюсом которого попарно соединены одни концы торсионов, а с отрицательным полюсом – другие концы торсионов, охладительным устройством, устанавливаемым на амортизируемом объекте датчиком вибрации, соединенным с ними блоком управления, источником питания, связанным с последним, соединенным с охладительным устройством, торообразным эластичным распылителем с отверстиями, охлаждающим торсионы, в качестве рабочей среды использован сжатый газ, подаваемый к торсионам через отверстия последнего, торсионы выполнены из сплава с эффектом памяти формы и с одинаковым электрическим сопротивлением, а стержень и серьги выполнены из диэлектрического материала [3].
Недостатками конструкции прототипа, применительно к управляемой системе амортизации автомобиля, является невысокая экономичность эксплуатации этой системы амортизации, так как необходимо задействовать дополнительные источники энергии для нагрева и охлаждения рабочих элементов – сплошных (полнотелых) торсионов, выполняемых из термоупругого демпфирующего сплава с эффектом памяти формы, и низкие эксплуатационные характеристики ввиду неэффективного охлаждения снаружи сплошных торсионов сжатым воздухом, имеющим меньшую удельную теплоемкость, по сравнению, например, с водой более чем в 4 раза [4]. При этом автономные ресурсы источников энергии для повышения эффективности управляемых систем амортизации ограничены и непосредственно связаны с расходом топлива автомобиля.
Целью предлагаемого изобретения является расширение диапазона рабочих частот системы амортизации при повышении экономичности и простоты конструкции.
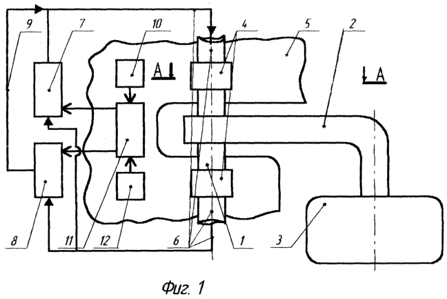
Поставленная цель достигается тем, что управляемая система амортизации автомобиля, показанная схематично на фиг.1 и 2, содержит двойной полый торсион 1, выполненный весь или частично из термоупругого демпфирующего сплава с эффектом памяти формы, средняя часть которого соединена с рычагом 2 колеса 3. Оба конца торсиона 1 обхвачены серьгами 4, позволяющими торсиону 1 скручиваться при перемещениях рычага 2, и жестко закреплены на раме 5 автомобиля. К торсиону 1 с обеих сторон подведены трубопроводы 6 с теплоносителем, в качестве которого применяется охлаждающая жидкость двигателя внутреннего сгорания автомобиля (ТОСОЛ, антифриз, вода). Теплоноситель циркулирует по контуру нагрева 7, соединенному с рубашкой охлаждения двигателя внутреннего сгорания автомобиля и внутренней полостью торсиона 1, или по контуру охлаждения 8, не связанному с двигателем внутреннего сгорания автомобиля и включающим в себя обводную магистраль 9, соединенную также с внутренней полостью торсиона 1.
Контур нагрева 7, контур охлаждения 8, обводная магистраль 9, датчик вибрации 10 установлены на автомобиле и соединены с блоком управления 11 и источником питания 12.
Работа данной системы амортизации происходит следующим образом: при наличии внутри торсиона 1 теплоносителя со стабильной температурой или при ее отсутствии полая торсионная пружина при перемещении рычага 2 работает в полном соответствии с описанием конструкции прототипа (патент Российской Федерации №2073142 [3]).
В режиме управления демпфированием колебаний, при действии знакопеременной нагрузки со стороны дорожного покрытия на подвеску автомобиля уровень вибрации определяется датчиком 10. В зависимости от уровня вибрации блок управления 11 выдает команды на подачу теплоносителя либо из контура нагрева 7, либо из контура охлаждения 8 через обводную магистраль 9 в полость торсиона 1. При изменении температуры торсиона 1, выполненного из термоупругого демпфирующего сплава с эффектом памяти формы, например, на основе системы Ni-Ti, от 20°С до 95°С предел текучести меняется до 90…105% [5]. Изменяя механические свойства сплава в зависимости от температуры, оказывается существенное влияние на форму упругопластического гистерезиса при кручении торсиона 1 и расширяется диапазон рабочих частот системы амортизации автомобиля. При этом в соответствии со скоростью движения, профилем и неровностью дорожного покрытия за счет определенного закона изменения температуры торсиона 1 можно добиться минимального уровня вибраций рамы 5 автомобиля.
При воздействии на подвеску автомобиля значительной ударной нагрузки, например, в случае наезда на камень, т.е. в случае пластического кручения торсиона 1, протекающего с поглощением и рассеянием энергии удара, от датчика вибрации 10 на блок управления 11 подается сигнал, пропорциональный величине неровности на дороге [6]. По команде блока управления 11 теплоноситель по трубопроводу 6 поступает в торсион 1 из контура нагрева 7, связанного с рубашкой охлаждения двигателя внутреннего сгорания автомобиля. Нагрев торсиона 1 осуществляется до температуры, при которой происходит восстановление формы скрученного торсиона. Для термоупругого демпфирующего сплава с эффектом памяти формы на основе Ni-Ti эта температура может составить 80…90°С, т.е. соответствовать номинальной температуре охлаждающей жидкости в двигателе внутреннего сгорания автомобиля. Таким образом, возврат системы амортизации автомобиля обеспечивается силой термоупругости сплава, из которого выполнен торсион 1, при температуре восстановления формы.
После восстановления формы торсион 1 охлаждается до рабочей температуры охлаждающей жидкостью, поступающей из контура охлаждения 8 путем частичного или полного ее перепускания по обводной магистрали 9.
Система амортизации автомобиля с восстановленным торсионом вновь готова к работе, а именно к деформированию колебаний широкого диапазона частот с рабочим ходом рычага 2, при котором деформации в материале торсиона 1 не превышают упругие, а также к защите автомобиля от ударных нагрузок с максимально возможным рабочим ходом, при котором происходит пластическая деформация материала торсиона, после чего вновь следует восстановление формы торсионов.
При работе предлагаемой системы амортизации блок управления может получать команды непосредственно от водителя в ручном режиме управления, что может способствовать повышению эффективности работы.
Положительный эффект предлагаемого изобретения состоит в повышении эффективности демпфирования колебаний, в улучшении эксплуатационных характеристик за счет расширения диапазона рабочих частот, в возможности многократного восстановления формы торсионов после их пластической деформации вследствие ударных нагрузок, а также в упрощении конструкции и в повышении экономичности. Положительный эффект обусловлен применением в качестве рабочего элемента системы амортизации автомобиля двойного полого торсиона, выполненного из термоупругого демпфирующего сплава с эффектом памяти формы, соединенного с рычагом колеса, снабженного контуром нагрева и контуром охлаждения с обводной магистралью, охлаждающей жидкостью, циркулирующей в системе охлаждения ДВС, датчиком вибрации, и соединенными с ними блоком управления и источником питания.
Данная система амортизации отличается от прототипа упрощенной конструкцией, повышением экономичности, обусловленной использованием тепловой энергии двигателя внутреннего сгорания автомобиля, обеспечением более эффективной защиты автомобиля от вибрации и повышением быстродействия многоразового применения при ударных нагрузках.
Повышение эффективности демпфирования колебаний происходит:
1) за счет более быстрого создания требуемого температурного режима в полом торсионе, особенно для отрицательных градиентов температур;
2) за счет повышения пластичности кручения и исключения значительной доли упругой деформации полого торсиона [7].
Таким образом, предлагаемая система амортизации автомобиля обладает значительно лучшими демпфирующими, эксплуатационными свойствами и экономическим эффектом при гашении колебаний различного диапазона частот и при воздействии на подвеску автомобиля ударных нагрузок.
Источники информации
1. Авторское свидетельство СССР №1196560, кл. F 16 F 11/00, 1985.
2. Авторское свидетельство СССР №1562558, кл. F 16 F 6/00, 1990.
3. Патент РФ №2073142, кл. F 16 F 1/14, 1997.
4. Кухлинг X. Справочник по физике: Пер. с нем. – М.: Мир, 1982.
5. Эффект памяти формы в сплавах: Пер. с англ. Л.М.Бернштейна / Под ред. В.А.Займовского – М.: Металлургия, 1979.
6. Авторское свидетельство СССР №1808745, кл. В 60 G 25/00, 1993.
7. Фридман Я.Б. Механические свойства металлов. Ч.1. Деформация и разрушение. – М.: Машиностроение. 1974.
Формула изобретения
Управляемая система амортизации автомобиля, содержащая двойной полый торсион, выполненный весь или частично из термоупругого демпфирующего сплава с эффектом памяти формы, средняя часть которого соединена с рычагом колеса, концы торсиона охвачены серьгами, позволяющими торсиону скручиваться при перемещениях рычага, и жестко закреплены на раме автомобиля, на которой расположен датчик вибрации, связанный с блоком управления и источником питания, отличающаяся тем, что к торсиону с обеих сторон подведены трубопроводы, заполненные теплоносителем и соединенные с контуром нагрева и контуром охлаждения, с которыми связан блок управления, в качестве теплоносителя используется охлаждающая жидкость двигателя внутреннего сгорания автомобиля, контур нагрева включает в себя собственно рубашку охлаждения двигателя внутреннего сгорания автомобиля, контур охлаждения соединен с торсионом обводной магистралью с возможностью частичной или полной подачи теплоносителя к торсиону.
РИСУНКИ
MM4A – Досрочное прекращение действия патента СССР или патента Российской Федерации на изобретение из-за неуплаты в установленный срок пошлины за поддержание патента в силе
Дата прекращения действия патента: 04.02.2006
Извещение опубликовано: 20.03.2007 БИ: 08/2007
|
|