|
|
(21), (22) Заявка: 2001127027/06, 04.10.2001
(24) Дата начала отсчета срока действия патента:
04.10.2001
(43) Дата публикации заявки: 10.06.2003
(45) Опубликовано: 20.07.2005
(56) Список документов, цитированных в отчете о поиске:
RU 2129674 C1, 27.04.1999. RU 2067708 C1, 10.10.1996. SU 1366895 A1, 15.01.1988. DE 2006092 A1, 20.08.1974. GB 2224318 A, 02.05.1990.
Адрес для переписки:
456300, Челябинская обл., г. Миасс, Тургоякское ш., 1, ФГУП ГРЦ “КБ им.акад. В.П. Макеева”
|
(72) Автор(ы):
Зыбалов В.С. (RU), Ежов В.М. (RU), Бадьин Г.М. (RU)
(73) Патентообладатель(и):
Федеральное государственное унитарное предприятие “Государственный ракетный центр “КБ имени академика В.П. Макеева” (RU)
|
(54) СТЕНД ДЛЯ ИСПЫТАНИЙ НА ПРОЧНОСТЬ ТРУБОПРОВОДНОЙ АРМАТУРЫ
(57) Реферат:
Изобретение может быть использовано для испытаний на прочность трубопроводной арматуры в нефтеперерабатывающей и химической промышленностях. Стенд содержит прижимное устройство с уплотнениями для контактирующих поверхностей фланцев и с каналами для сообщения с атмосферой и с источником рабочей жидкости для заполнения внутренней полости арматуры. Прижимное устройство содержит основание, неподвижную и подвижную тарели, нагрузочный гидроцилиндр на поворотной плите, стойку и стяжку между подвижной и неподвижной тарелями. На неподвижной тарели закреплены с продольными пазами ползуны, взаимодействующие со штоками гидроцилиндров зажима фланцев арматуры. Стойка состоит из неподвижной и подвижной частей, соединенных между собой разъемными силовыми полумуфтами. На подвижной тарели закреплена проставка с фланцами, между которыми установлены распорки, одна из которых – центральная, выполнена в виде канала. Технический результат – снижение затрат на изготовление стенда. 1 ил.

Изобретение относится к области машиностроения и может быть использовано в нефтеперерабатывающей и химической промышленностях для испытаний трубопроводной арматуры. К трубопроводной арматуре относятся задвижки, вентили, краны, заслонки, диафрагмы, регулирущие вентили, регулирующие клапаны, регуляторы давления, регуляторы уровня и т.п.
Известен стенд для испытаний на прочность трубопроводной арматуры, имеющей фланцы, содержащий основание, прижимное устройство с уплотнениями для контактирующих поверхностей фданцев и с каналами для сообщения с атмосферой и с источником рабочей жидкости для заполнения внутренней полости арматуры. Прижимное устройство выполнено в виде неподвижной тарели, размещенной на основании, и подвижной тарели, которая шарнирно соединена со штоком нагрузочного гидроцилиндра.
Нагрузочный гидроцилиндр установлен на поворотной плите, перемещающейся относительно стойки, при этом поворотная плита снабжена разъемными силовыми стяжками, установленными с возможностью их соединения с неподвижной тарелью. На неподвижной тарели закреплены имеющие продольные паза ползуны, взаимодействующие со штоками гидроцилиндров зажима фланцев арматуры (см. патент №2067708, кл. 6 F 16 К 1/00).
Данный стенд обеспечивает испытания на прочность арматуры, однако имеет ограниченные возможности испытания арматуры с различными строительными длинами.
Строительная длина – это расстояние между торцами присоединительных фланцев арматуры, имитирующее длину участка трубы, который замещает арматура в трубопроводе.
Известен также стенд для испытаний на прочность трубопроводной арматуры, имеющей фланцы, содержащий прижимное устройство с уплотнениями для контактирующих фланцев и с каналами для сообщения с атмосферой и источником рабочей жидкости для заполнения внутренней полости арматуры, выполненное в виде неподвижной тарели, размещенной на основании, и подвижной тарели, шарнирно соединенной со штоком нагрузочного гидроцилиндра, установленного на поворотной плите с силовой стяжкой, перемещающейся относительно стойки; а на неподвижной тарели закреплены имеющие продольные пазы ползуны, взаимодействующие со штоками гидроцилиндров зажима фланцев.
Стойка выполнена из неподвижной и подвижной частей, соединенных между собой разъемными силовыми полумуфтами (см. патент №2129674, кл. 6 F 15 B 19/00, G 01 М 3/28).
Задачей изобретения является расширение технологических возможностей производства, обеспечивающего испытания на прочность арматуры с различными строительными длинами, с использованием одного прижимного устройства.
Технический результат достигается тем, что в стенде для испытаний на прочность трубопроводной арматуры, имеющей фланцы, содержащем прижимное устройство с уплотнениями для контактирующих поверхностей фланцев и с каналами для сообщения с атмосферой и с источником рабочей жидкости для заполнения внутренней полости арматуры, прижимное устройство выполнено в виде неподвижной тарели, размещенной на основании, и подвижной тарели, которая шарнирно соединена со штоком нагрузочного гидроцидиндра, гидроцилиндр установлен на поворотной плите, перемещающейся относительно стойки, при этом поворотная плита снабжена разъемной силовой стяжкой, установленной с возможностью ее соединения с неподвижной тарелью, на неподвижной тарели закреплены имеющие продольные пазы, взаимодействующие со штоками гидроцилиндров зажима фланцев арматуры, стойка выполнена из неподвижной и подвижной частей, соединенных между собой разъемными силовыми полумуфтами, а на подвижной тарели закреплена проставка с фланцами, между которыми установлены распорки, одна из которых – центральная выполнена в виде канала.
Положительный эффект изобретения проявляется в результате испытания трубопроводной арматуры с различными строительными длинами на одном прижимном устройстве стенда, что расширяет технологические возможности производства, снижает металлоемкость конструкции стенда и затраты на его изготовление.
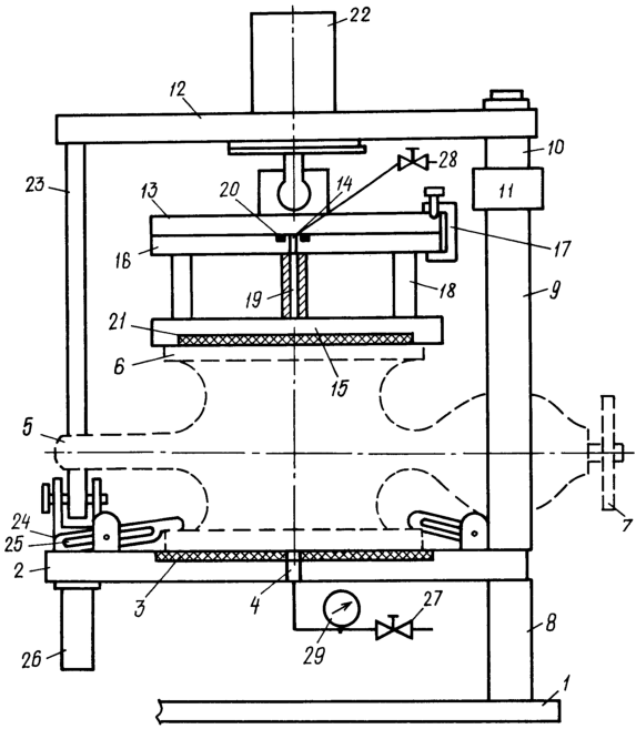
На чертеже представлена схема конструкции стенда для испытаний трубопроводной арматуры на прочность. Стенд содержит основание 1, неподвижную тарель 2 с уплотнением 3 и каналом 4 подачи испытательной жидкости во внутренние полости арматуры 5 с фланцами 6 и приводом 7. Стенд содержит стойку 8, состоящую из неподвижной и подвижной частей 9 и 10 соответственно, соединенные между собой разъемными силовыми полумуфтами 11.
Стенд содержит также поворотную плиту 12, подвижную тарель 13 с каналом 14 для сообщения с атмосферой.
На подвижной тарели 13 закреплена проставка 15 с фланцами 16 с помощью струбцин 17, между которыми (флaнцaми) установлены распорки 18, причем центральная выполнена в виде канала 19 для сообщения с атмосферой.
На верхней поверхности фланца 16 выполнена канавка 20 под резиновое кольцо для герметизации стыка поверхностей подвижной тарели 13 и верхнего фланца 16 проставки 15.
На нижней поверхности фланца 16 проставки 15 закреплено уплотнение 21 для герметизации поверхностей нижнего фланца 16 проставки 15 и фланцем 6 испытуемой арматуры 5.
Кроме того, стенд содержит нагрузочный гидроцилиндр 22, разъемную силовую стяжку 23, ползуны 24 с продольными пазами 25, гидроцидиндры 26 зажима фланцев арматуры, вентили 27 и 28, регистратор 29.
Испытуемая арматура на чертеже показана пунктирной линией. Устройство работает следующим образом.
Рассмотрим работу стенда при испытаниях арматуры с малой строительной длиной (от 130 до 350 мм) с использованием проставки 15. До установки испытуемой арматуры, например регулирующего клапана 5, на неподвижную тарель 2 основания 1 поворачивают плиту 12 на определенный угол, затем устанавливают испытываемый клапан 5 нижним фланцем 6 на тарель 2, где закреплено уплотнение 3. Для удержания клапана 5 в вертикальном положении вручную устанавливают ползуны 24 по продольным пазам 25 на нижний фланец 6 клапана 5 и давлением жидкости (масла) от насосной станции в гидроцилиндрах 26, штоки которых взаимодействуют с ползунами, при выдвижении прижимают фланец клапана 5 на герметизирующем уплотнении 3 неподвижной тарели 2. Прижим ползунов 24 к тарели 2 осуществляется непрерывно в процессе испытания путем подачи жидкости (масла) в соответствующие полости гидроцилиндров 26. Устанавливают поворотную плиту 12 с подвижной тарелью 13 и проставкой 15 на второй фланец 6 клапана 5 и закрепляют его (клапан) разъемной силовой стяжкой 23, обеспечивая замкнутую систему для создания нагрузки нагрузки на нижний фланец 16 через распорки 18 на верхний фланец 16 проставки 15 и на подвижную тарель 13.
Замкнутая система для создания нагрузки на тарель 13 обеспечивается за счет наличия разъемной силовой стяжки 23 и разъемных силовых полумуфт 11 на стойке 8. На разъемных силовых полумуфтах 11 выполнены выступы, входящие в соответствующие пазы на неподвижной и подвижной частях 9 и 10 силовой стойки 8. Разъемные силовые полумуфты 11 обеспечивают поворот поворотной плиты 12 относительно стойки 8 и восприятие нагрузок в замкнутой системе. Стойка 8 данной конструкции выполняет роль второй силовой стяжки для обеспечения замкнутой системы создания нагрузки на тарель 13.
На подвижной тарели 13 выполнено шарнирное соединение со штоком нагрузочного гидроцилиндра 22 с целью создания осевой нагрузки от этого гидроцилиндра в случае установки испытываемого клапана 5 на неподвижной тарели 2 с перекосом из-за момента дебаланса клапана 5 с приводом 7.
Герметизируют клапан 5 по фланцам 6 путем подачи давления жидкости (масла) от насосной станции в соответствующую полость нагрузочного гидроцилиндра 22, обеспечивающего давление на герметизирующие фланцы 6 уплотнения 3 и 21, превышающее испытательное давление внутри клапана 5 на 5÷10%.
Затем сообщают внутренние полости клапана 5 с атмосферой путем открытия вентиля 28 при открытом положении запорного органа клапана 5. Подают испытательную жидкость (воду) во внутреннюю полость клапана 5 через вентиль 27, стравливая воздух из клапана 5 через канал 19 и вентиль 28 в атмосферу. Заполнение жидкостью (водой) производят до момента появления течи жидкости через открытый вентиль 28, после чего его закрывают.
Создают давление испытательной жидкости (воды) во внутренней полости клапан 5 с выдержкой при этом давлении заданный период времени.
Контролируют испытательное давление по регистратору 29, после чего оценивают прочность клапана.
Для проведения испытаний арматуры с большими строительными длинами (от 380 до 730 мм) необходимо демонтировать проставку 15 путем снятия струбцин 17 и закрепить уплотнение на подвижной тарели 13 для герметизации стыка между тарелью и верхним фланцем арматуры, после чего работа по испытаниям испытываемой арматуры аналогична описанной выше.
Введение проставки 15 в конструкцию стенда позволяет исключить применение двух прижимных устройств для испытаний арматуры с различными строительными длинами.
Применение предложенной конструкции стенда позволяет расширить технологические возможности производства при испытаниях арматуры с различными строительными длинами, уменьшить металлоемкость и затраты на изготовление стенда.
Формула изобретения
Стенд для испытаний на прочность трубопроводной арматуры, имеющей фланцы, содержащий прижимное устройство с уплотнениями для контактирующих поверхностей фланцев и с каналами для сообщения с атмосферой и с источником рабочей жидкости для заполнения внутренней полости арматуры, прижимное устройство выполнено в виде неподвижной тарели, размещенной на основании, и подвижной тарели, которая шарнирно соединена со штоком нагрузочного гидроцилиндра, гидроцилиндр установлен на поворотной плите, перемещающейся относительно стойки, при этом поворотная плита снабжена разъемной силовой стяжкой, установленной с возможностью ее соединения с неподвижной тарелью, на неподвижной тарели закреплены имеющие продольные пазы ползуны, взаимодействующие со штоками гидроцилиндров зажима фланцев арматуры, стойка выполнена из неподвижной и подвижной частей, соединенных между собой разъемными силовыми полумуфтами, отличающийся тем, что на подвижной тарели закреплена проставка с фланцами, между которыми установлены распорки, одна из которых, центральная, выполнена в виде канала.
РИСУНКИ
|
|