|
|
(21), (22) Заявка: 2001111425/06, 25.04.2001
(24) Дата начала отсчета срока действия патента:
25.04.2001
(43) Дата публикации заявки: 10.03.2003
(45) Опубликовано: 20.07.2005
(56) Список документов, цитированных в отчете о поиске:
МИХАЙЛОВСКИЙ Е.В. и др. Автомобили, М., Машиностроение, 1968, с.70-74, рис.58. SU 1700275 A, 23.12.1991. SU 1686205 A1, 23.10.1991. SU 794236 A, 07.01.1981. DE 1292937 А, 17.04.1969. DE 2146153 A, 31.10.1973. US 4449492 А, 22.05.1984. FR 2327409 A1, 06.05.1977.
Адрес для переписки:
390028, г.Рязань, ул. Сельских строителей, 3, корп.4, кв.23, В.А.Казанцеву
|
(72) Автор(ы):
Казанцев В.А. (RU)
(73) Патентообладатель(и):
Казанцев Виктор Андреевич (RU)
|
(54) АДИАБАТНЫЙ ДВИГАТЕЛЬ КАЗАНЦЕВА
(57) Реферат:
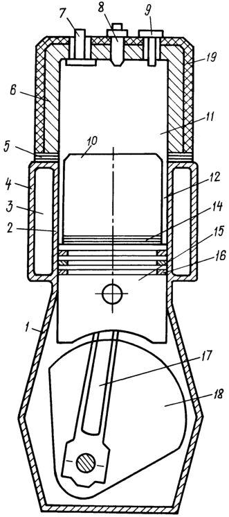
Изобретение относится к машиностроению, в частности к поршневым двигателям внутреннего сгорания. Адиабатный двигатель Казанцева повышает абсолютный КПД на 15-25% за счет увеличения количества тепла, преобразуемого в механическую работу. В адиабатном двигателе на картере 1 смонтирован цилиндр 2, охлаждаемый водой 3, циркулирующей в водяной рубашке 4. Через теплоизоляционную прокладку 5 на цилиндре 2 закреплен фальшцилиндр 6 с впускным 7 и выпускным 9 клапанами и форсункой 8. Фальшцилиндр 6 с фальшпоршнем 10 имеют низкую теплопроводность и совместно образуют горячую камеру переменного объема 11. Между цилиндром 2 и фальшпоршнем 10 имеется компенсационный зазор 12. Теплоизоляционная прокладка 14 изолирует горячий фальшпоршень 10 от холодного поршня 15, несущего компрессионные кольцы 16. Холодный поршень 15 взаимодействует с холодным цилиндром 2 и с помощью компрессионных колец 16 обеспечивает компрессию в камере 11. Поршень 15 передает механическую работу потребителю посредством шатуна 17 и коленчатого вала 18. Низкая теплопередача фальшцилиндра 6 и фальшпоршня 10, а также отсутствие их охлаждения обуславливают термический процесс расширения рабочего тела в камере 11 адиабатным. Изобретение обеспечивает повышение КПД за счет более полного преобразования тепловой энергии в механическую работу. 3 з.п. ф-лы, 1 ил.

Изобретение относится к машиностроению, в частности к поршневым двигателям внутреннего сгорания.
Известен двигатель внутреннего сгорания, который состоит из оребренного снаружи цилиндра, поршня, взаимодействующего с коленчатым валом через шатун, головки цилиндров с клапанами, управляющими впуском и выпуском рабочего тела, вентилятора, отнимающего часть тепла от рабочего тела через обдуваемую им оребренную поверхность цилиндра.
Поршень снабжен компрессионными кольцами и взаимодействует в работе с цилиндром посредством бокового трения на всей длине рабочей (горячей) камеры. Недостаток этого двигателя состоит в том, что вентилятор, обдувая цилиндр в районе рабочей камеры, отнимает у нее около 25-35 процентов тепла, произведенного рабочим телом. Это охлаждение необходимо для предотвращения перегрева и заклинивания поршня внутри цилиндра, в районе рабочей камеры (Е.В.Михайловский и др. Автомобили. М.: Машиностроение, 1968, с.88, 89 “Воздушное охлаждение”).
Известен двигатель внутреннего сгорания (прототип), который состоит из цилиндра, омываемого снаружи охлаждающей водой, поршня, взаимодействующего с коленчатым валом через шатун, головки цилиндра с клапанами, управляющими впуском и выпуском рабочего тела. Этот двигатель позволяет более стабильно удерживать тепловой режим стенок трущихся пар в районе рабочей камеры. Недостаток такого двигателя состоит в том, что вода, омывающая стенки вокруг рабочей камеры, отнимает у нее те же 25-35 процентов тепла, произведенного рабочим телом (то же, с.70-74 “Жидкостная система охлаждения”, рис.58).
Известен двигатель внутреннего сгорания, стенки рабочей камеры которого изнутри выстланы пористыми вставками. Через пористые вставки внутрь рабочей камеры подается вода. Под действием высокой температуры сгорания рабочего тела вода испаряется и образует паровую рубашку внутри рабочей камеры. Такое устройство двигателя позволяет, благодаря паровой рубашке внутри цилиндра, осуществить низкотемпературный тепловой режим работы пар трения без применения водяного или воздушного наружного охлаждения. Термодинамический процесс расширения рабочего тела в этом двигателе является адиабатным.
Недостаток этого двигателя состоит в том, что пар продолжает поступать в рабочую камеру и во время такта наполнения. Это уменьшает объем всасываемого рабочего тела, а следовательно, мощность и КПД двигателя (патент США 4281626, F 02 M 25/02, 1981).
Целью изобретения является повышение КПД за счет более полного преобразования тепловой энергии в механическую работу.
Эта цель достигается благодаря тому, что адиабатный двигатель включает возвратно-поступающий поршень, взаимодействующий с цилиндром, рабочую камеру переменного объема, систему впуска и выпуска рабочего тела, при этом поршень и цилиндр надстроены соответственно фальшпоршнем и фальшцилиндром, при этом фальшпоршень выполнен так, что в работе он не соприкасается ни с фальшцилиндром, ни с цилиндром. Кроме того, фальшцилиндр снаружи имеет тепловую изоляцию, предотвращающую перенос тепла через его стенки охладителю (атмосфере). Фальшцилиндр через теплоизоляционную прокладку смонтирован на цилиндре. Фальшпоршень через теплоизоляционную прокладку смонтирован на поршне.
Такое устройство двигателя позволяет обойтись без охлаждения стенок рабочей камеры, т.к. в ее пределах нет трущихся деталей, которые могли бы заклиниться от перегрева. Это сохраняет и превращает в механическую работу дополнительно около 20 процентов тепла. Подобного решения в известных двигателях не обнаружено. Таким образом предложенное техническое решение соответствует критерию “Новизна”. Анализ известных технических решений в области поршневых двигателей возвратно-поступательного действия позволяет сделать вывод о том, что предлагаемое техническое решение на 15-25 процентов сокращает потери тепла через стенки рабочей камеры и, соответственно, уменьшает мощность системы охлаждения. Это повышает КПД двигателя на 15-25 процентов, в сравнении с прототипом и упрощает систему охлаждения. Это представляет собой определенный шаг в развитии техники, т.е. обуславливает предложенному решению соответствие критерию “Изобретательский уровень”.
На чертеже изображена схема поршневого двигателя внутреннего сгорания возвратно-поступательного действия.
Двигатель содержит картер 1, смонтированный на нем цилиндр 2, омываемый охлаждающей его водой 3, циркулирующей в водяной рубашке 4. На цилиндре 2 смонтирован через теплоизоляционную прокладку 5 фальшцилиндр 6, который имеет низкую теплопроводность и несет на себе впускной клапан 7, форсунку 8 и выпускной клапан 9. Внутри цилиндра 2 размещен фальшпоршень 10, который совместно с фальшцилиндром 6 образует рабочую камеру изменяемого объема 11. Фальшпоршень 10 имеет низкую теплопроводность. При этом в работе он не контактирует ни с цилиндром 2, ни с фальшцилиндром 6, что достигнуто благодаря образованному между ними тепловому зазору 12.
Фальшпоршень 10 через теплоизоляционную прокладку 14 смонтирован на поршне 15,который несет на себе компрессионные кольцы 16 и через шатун 17 взаимодействует с коленчатым валом 18.
Работа двигателя осуществляется следующим образом.
Коленчатый вал 18 вращается по часовой стрелке и приближается к нижней мертвой точке. Выпускной клапан 9 открывается и через него из рабочей камеры 11 выпускаются продукты сгорания. Давление в камере 11 падает. Коленчатый вал продолжает вращаться. Поршень 15 поднимает фальшпоршень в положение, близкое к верхней мертвой точке. Открывается впускной клапан 7. Продолжая вращаться, коленчатый вал 18 опускает поршень 15 совместно с фальшпоршнем 10. В камере 11 создается разряжение. Выпускной клапан 9 закрывается. Свежий воздух заполняет камеру 11 через впускной клапан 7. Пройдя нижнюю мертвую точку, коленчатый вал 18 поднимает вверх поршень 15 с фальшпоршнем 10. Впускной клапан 7 закрывается. Объем воздуха в камере 11 уменьшается, а давление и температура увеличиваются. В конце сжатия давление воздуха поднимается до 5-8 МПа, а температура до 600-800 градусов по Цельсию. Через форсунку 8 в сильно нагретый воздух впрыскивается топливо, которое нагревается, воспламеняется и сгорает. Давление в камере 11 увеличивается до 8-15 МПа, а температура-до 2000 – 2700 градусов и выше. Продукты сгорания давят на фальшпоршень 10, перемещают его к нижней мертвой точке, а он через посредство поршня 15 и шатуна 17 перемещает к нижней мертвой точке коленчатый вал 18. Осуществляется рабочий ход. После чего цикл повторяется. Компрессия в камере 11 достигается благодаря взаимодействию поршня 15 с цилиндром 2 через посредство компрессионных колец 16. В процессе рабочего хода фальшцилиндр 6 и фальшпоршень 10 сильно нагреваются и расширяются.
Фальшпоршень 10 имеет диаметр несколько меньше, чем диаметр поршня 15, что образует между фальшпоршнем 10 и цилиндром 2 и фальшцилиндром 6 тепловой зазор 12, который компенсирует тепловое расширение фальшпоршня 10 и фальшцилиндра 6. Таким образом, предотвращается их заклинивание при высоких температурах в камере 11, т.к. отсутствует трение между ними. Цилиндр 2 отнесен от зоны высоких температур фальшцилиндром 6, как и поршень 15 от горячей камеры 11 – фальшпоршнем 10. Кроме того, фальшпоршень 10 и фальшцилиндр 6 выполнены из материала, имеющего низкую теплопроводность, а соединение их с поршнем и цилиндром соответственно осуществлены через теплоизоляционные прокладки 14 и 5. В районе трения поршня 15 цилиндр 2 снабжен водяной рубашкой 4 и охлаждается водой 3, что позволяет двигателю регулировать тепловой режим в зоне трения поршня 15. Тепловой зазор 12 зависит от диаметра цилиндра, температуры и коэффициента линейного расширения материала фальшпоршня и составляет менее одного процента от объема камеры 11. Следовательно, этим видом нагрева цилиндра 2 можно пренебречь, контактная передача тепла цилиндру 2 через теплоизоляционные прокладки 5 и 14 и от уже охлажденного маслом поршня 15 так же мала. Следовательно, потребная мощность водяного охлаждения составляет не более пятой доли от мощности водяного охлаждения у прототипа. С целью сокращения потери тепла через стенки фальшцилиндра 6 и обеспечения требований техники безопасности он снаружи имеет тепловую изоляцию 19. Таким образом процесс сгорания и расширения рабочего тела в предлагаемом двигателе происходит практически без отвода тепла холодильнику, что переводит работу двигателя с политропного процесса расширения на адиабатный. При этом количество тепла, превращаемого в механическую работу, увеличивается на 15-25 процентов. КПД двигателя увеличивается на эти же 15-25% абсолютных.
Формула изобретения
1. Адиабатный двигатель, включающий возвратно-поступающий поршень, взаимодействующий с цилиндром, рабочую камеру переменного объема, систему впуска и выпуска рабочего тела, отличающийся тем, что поршень и цилиндр надстроены соответственно фальшпоршнем и фальшцилиндром, при этом фальшпоршень выполнен так, что в работе он не соприкасается ни с фальшцилиндром, ни с цилиндром.
2. Двигатель по п.1, отличающийся тем, что фальшцилиндр снаружи имеет тепловую изоляцию.
3. Двигатель по п.1, отличающийся тем, что фальшцилиндр через теплоизоляционную прокладку смонтирован на цилиндре.
4. Двигатель по любому из пп.1-3, отличающийся тем, что фальшпоршень через теплоизоляционную прокладку смонтирован на поршне.
РИСУНКИ
|
|