|
|
(21), (22) Заявка: 2003133636/03, 18.11.2003
(24) Дата начала отсчета срока действия патента:
18.11.2003
(45) Опубликовано: 20.07.2005
(56) Список документов, цитированных в отчете о поиске:
RU 2101466 C1, 10.01.1998. RU 2094592 C1, 27.10.1997. RU 2011086 C1, 15.04.1994. SU 1795086 A1, 15.02.1993. SU 973798 A, 30.06.1989. SU 1490257 A1, 30.06.1989. US 4592380 A, 03.06.1986.
Адрес для переписки:
628616, Тюменская обл., г. Нижневартовск, ОПС 16, а/я 1089, М.З.Шарифову
|
(72) Автор(ы):
Шарифов Махир Зафар Оглы (RU), Леонов В.А. (RU), Кузнецов Н.Н. (RU), Иванов О.А. (RU), Синёва Ю.Н. (RU)
(73) Патентообладатель(и):
Шарифов Махир Зафар Оглы (RU)
|
(54) СЪЕМНЫЙ РЕГУЛЯТОР ДВУХШТУЦЕРНЫЙ ШАРИФОВА
(57) Реферат:
Изобретение относится к технике нефтегазодобывающей промышленности и может быть применено для регулирования и/или измерения параметров потока среды. Обеспечивает повышение эффективности эксплуатации добывающих и/или нагнетательных пластов скважин за счет увеличения пропускного сечения регулятора при ограниченном габаритном его размере и соответственно расширения диапазона регулирования давления и/или расхода потока среды при добыче флюида и/или закачке рабочего агента. Сущность изобретения: устройство содержит корпус с наружной проточкой, боковыми пропускными и осевым проходным каналами, нижний и верхний манжетодержатели с наружными уплотнительными элементами, ловильную головку и хвостовик с фиксатором. Согласно изобретению ловильная головка выполнена с боковыми пропускными каналами и/или со сквозным осевым проходным каналом. Корпус или нижний и верхний манжетодержатели и/или ловильная головка, и/или хвостовик выполнены с внутренними посадочными гнездами под затворы или с расточками, по меньшей мере в двух из которых размещены противоположно с одинаковыми или разными проходными и/или наружными диаметрами съемные сужающие элементы без или с обратными свободными, или подпружиненными затворами с ограниченным ходом. Площадь суммарного проходного сечения съемных сужающих элементов выполнена меньше, чем площадь суммарного сечения боковых пропускных каналов корпуса. 17 з.п. ф-лы, 9 ил.

Изобретение относится к технике нефтегазодобывающей промышленности и может быть применено для регулирования и измерения параметров потока среды, в частности регулирования расхода среды, перепада давления, давления в колонне труб, забойного или затрубного давления, а также для одновременного измерения давления, температуры и расхода, как при добыче флюида, так и при нагнетании рабочей среды в скважину с одним или несколькими добывающими или нагнетательными пластами.
Известен клапан для регулирования потока (патент РФ №2029073, Е 21 В 43/00, Бюл. №5, 20.02.95), содержащий корпус с наружными проточками, одним или несколькими боковыми пропускными и осевым проходным каналами и уплотнительными элементами, внутри которого установлены затворы со штоками, соединенные снизу и сверху с одним или двумя сильфонами.
Известен клапан Шарифова (патент РФ №2101466, Е 21 В 34/06, 43/00, Бюл. №1, 10.01.98), содержащий корпус с одним или несколькими боковыми пропускными и осевым проходным каналами и уплотнительными элементами, внутри которого установлены затворы, соединенные снизу и сверху с подвижным разобщителем в виде телескопической пары “полый цилиндр -полый шток”.
Эти клапаны конструктивно выполнены двухстороннего направления для увеличения пропускного их сечения по рабочему газу при газлифтной эксплуатации скважины, однако, они не приемлемы для нагнетательных, фонтанных и насосных скважин, учитывая, что их тарировка осуществляется сжатым газом при ограниченном давлении (не более 13,5 МПа) и не может регулировать высокое трубное, забойное и пластовое давление скважины.
Цель изобретения – повышение эффективности эксплуатации добывающих или нагнетательных пластов скважин за счет увеличения пропускного сечения регулятора при ограниченном габаритном его размере и соответственно расширения диапазона регулирования давления или расхода потока среды при добыче флюида или закачке рабочего агента.
Цель достигается тем, что ловильная головка выполнена с боковыми пропускными каналами или со сквозным осевым проходным каналом, или же с боковыми пропускными каналами и со сквозным осевым проходным каналом для обеспечения во всех случаях (комбинациях) противоположного направления потока среды с целью увеличения пропускного сечения регулятора. При этом узлы регулятора, а именно корпус или нижний и верхний манжетодержатели и/или ловильная головка, и/или хвостовик (т.е. либо только корпус, либо два из этих указанных узлов регулятора), выполнены с двумя внутренними посадочными (несъемными) гнездами под затворы или расточками, в которых размещены противоположно с одинаковыми или разными проходными и/или наружными диаметрами (конструктивно может быть один или оба из этих диаметров) съемные сужающие элементы без или с обратными свободными или подпружиненными затворами с ограниченным ходом. Здесь площадь суммарного проходного сечения посадочных гнезд или съемных сужающих элементов выполнена меньше, чем площадь суммарного сечения боковых пропускных каналов корпуса, для обеспечения сужения потока среды в них при двух его направлениях. В частном случае, ловильная головка может быть выполнена с верхним глухим концом. В зависимости от условий эксплуатации регулятора с увеличенным пропускным сечением сужающие элементы, размещенные противоположно в регуляторе, конструктивно выполнены в виде съемного штуцера или дросселя, или седла, или насадки. В зависимости от направления потока среды корпус может быть выполнен с одним рядом боковых пропускных каналов, расположенным между сужающими элементами перпендикулярно или под углом к его оси. Также корпус может быть выполнен с развернутыми или неразвернутыми относительно друг друга двумя рядами боковых пропускных каналов, расположенными между сужающими элементами перпендикулярно или под углом к его оси. Наружная проточка на корпусе конструктивно выполнена отдельно над каждым рядом боковых пропускных каналов или по общей длине не меньше, чем расстояние между рядами боковых пропускных каналов. При этом боковые пропускные каналы узла или узлов регулятора (например, корпуса и пр.) могут иметь защитные сетки против песка. Эти каналы выполнены в виде цилиндрических или конических отверстий или фигурных прорезей. Для герметичности регулятора наружные уплотнительные элементы установлены выше и ниже боковых пропускных каналов корпуса и выполнены из резиновых технических изделий или цветных металлов в виде манжет или колец. Фиксатор на хвостовике конструктивно выполнен в виде цанги или пружинного кольца. В частном случае, в корпусе изнутри выполнен бурт для упора пружины или выполнен сверху и снизу ступенчатый диаметр для ограничения хода затворов или упора и фиксации сужающих элементов при двух направлениях потока среды. В корпусе может быть установлена одна свободная пружина между затворами с упором на них для регулирования положения затворов под усилием одной пружины при двух направлениях потока среды. Также в корпусе могут быть установлены две пружины с одинаковыми или разными характеристиками между затворами с упором каждой из них на корпус и соответствующий затвор для регулирования положения затворов от усилий отдельных пружин. В регуляторе затворы конструктивно выполнены в виде шаров или конусов, или сфер, или полусфер, или поршней, без или со штоками, или с направляющими. Сужающие элементы в регуляторе зафиксированы в расточках стопорными кольцами или упорными втулками, или буртами, или упором между резьбами (двух узлов). В корпусе между сужающими элементами установлена пружина без или с возможностью регулирования ее характеристик и параметров, причем сужающие элементы с ограниченным ходом в расточках расположены в виде поршня с внутренними дросселями и возможностью перемещения, изменения и перекрытия сечения боковых пропускных каналов корпуса для регулирования расхода среды (перепада давления) при двухсторонних направлениях потока среды. Регулятор снаружи оснащен посадочной скважинной овальной камерой с боковыми пропускными каналами и карманом, причем последний выполнен с внутренней расточкой длиной больше, чем длина наружной проточки при любом рабочем фиксированном положении регулятора в кармане для обеспечения герметичности регулятора при двухсторонних направлениях потока среды. Регулятор изнутри дополнительно может быть оснащен измерительной системой для регистрации физических параметров – давления, температуры или расхода при течении через него потока среды в двух направлениях.
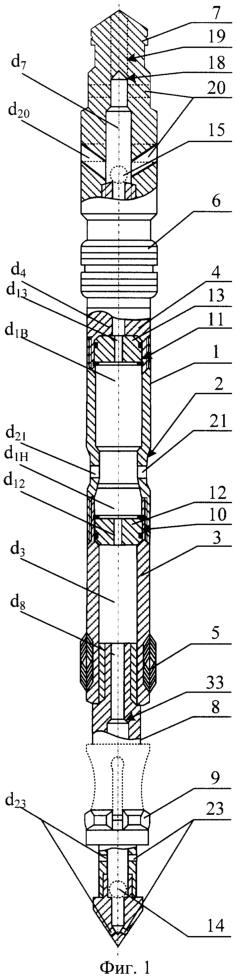
На фигурах 1-9 приводятся варианты регуляторов, в частности на фиг.1 – регулятор с сужающими элементами; на фиг.2 – то же с подпружиненными затворами; на фиг.3, 4 – соответственно, головка и хвостовик регулятора с сужающим элементом; на фиг.5 – полый корпус регулятора с сужающими элементами; на фиг.6 – головка с верхним манжетодержателем, оснащенная затвором; на фиг.7 – хвостовик регулятора с затвором; на фиг.8 – регулятор для поддержания перепада давления; на фиг.9 – скважинная овальная камера с регулятором.
Регулятор содержит (см. фиг.1) соединенные между собой резьбой корпус 1 с наружной проточкой 2, нижний 3 и верхний 4 манжетодержатели с наружными уплотнительными элементами 5 и 6 (например, в виде манжет или колец и пр.), ловильную головку 7 и хвостовик 8 с фиксатором 9 (например, в виде цанги или пружинного кольца и пр.).
В частном случае, корпус 1 или манжетодержатели 3 и 4 могут быть выполнены с двумя посадочными гнездами или внутренними расточками 10 и 11 (см. фиг.1), в которых размещены с одинаковыми или разными проходными или наружными, или же проходными и наружными диаметрами съемные сужающие элементы 12 и 13 (например, в виде штуцеров, дросселей, седел и пр., с одинаковыми или разными диаметрами). При этом (см. фиг.2) над и под сужающими элементами 12 и 13 могут быть установлены обратные свободные или подпружиненные снизу и сверху затворы 14, 15 (например, в виде шара, а также могут быть в виде конуса, сферы, полусферы, поршня и пр.) без или со штоком или с направляющей 16 и 17, для двухстороннего регулирования потока среды, а также исключения обратного притока при опрессовке колонны труб или остановке работы скважины.
Для перепуска среды (см. фиг.1) ловильная головка 7 может быть выполнена с верхним глухим концом 18 или сквозным 19 осевым проходным каналом, или же глухим концом 18 и боковыми пропускными каналами 20 (например, в виде цилиндрических, конических отверстий, фигурных прорезей и пр.).
Корпус 1 (см. фиг.1) может быть выполнен либо с одним рядом боковых пропускных каналов 21, либо с развернутыми или неразвернутыми относительно друг друга двумя (см. фиг.2) рядами боковых пропускных каналов 21, 22 (например, в виде цилиндрических, конических отверстий, фигурных прорезей и пр.), расположенных между сужающими элементами 12 и 13 перпендикулярно или под углом к его оси. На корпусе 1 наружная проточка выполняется длиной (Lп) не больше, чем расстояние (Lp) между его внутренними резьбовыми соединениями, или длиной (Lп) не меньше, чем расстояние (lк) между рядами пропускных каналов 21 и 22, или выполнена отдельно над каждым рядом боковых пропускных каналов 21 и 22.
Хвостовик 8 (см. фиг.1) выполнен или со сквозным осевым каналом, или полым с заглушенным концом с боковыми пропускными каналами 23 для перепуска среды.
Для регулирования давления (см. фиг.2) открытия затворов 14, 15 в корпусе 1 изнутри может быть выполнен бурт 24 для упора пружин 25, 26 или выполнены ступенчатые диаметры 27, 28 для ограничения хода затворов 14, 15 и, соответственно, хода пружин 25, 26, а также для возможности установки (вид на фигурах отсутствует) в них сужающих элементов 12, 13. В корпусе 1 пружины 25 и 26 размещены с одинаковыми или разными характеристиками и параметрами, с упором каждой из них на бурт 24 (снизу и сверху) полого корпуса 1 и соответствующие затворы 14, 15. В полом корпусе 1 один затвор 14 может быть установлен как над, так и под седлом 12, а другой затвор 15 соответственно под или над седлом 13 с ограниченными ходами. В полом корпусе 1, в частном случае, может быть установлена одна свободная пружина 25 или 26 (удлиненного вида) между затворами 14 и 15 с упором на них (здесь бурт 24 для упора пружины 25, 26 отсутствует).
Сужающие элементы 12, 13 также противоположно могут быть размещены в расточках (снизу и сверху) двух из узлов: ловильной головки 7 (см. фиг.3), хвостовика 8 (см. фиг.4), корпуса 1 (см. фиг.5), нижнего 3 или верхнего 4 манжетодержателя (см. фиг.1). Сужающие элементы 12, 13 (см. фиг.2) могут быть оснащены наружными уплотнителями 29 и зафиксированы в расточках стопорными кольцами 30, 31 или упорными втулками (на чертежах отсутствует), упорами между резьбами и буртами полого корпуса.
Для исключения обратного перетока среды затворы 14, 15 с ограниченным ходом могут быть установлены как над и под сужающие элементы 12, 13 (см. фиг.2), так и в посадочном гнезде 32 верхнего манжетодержателя 4 (см. фиг.6), гнезде 33 хвостовика 8 (см. фиг.1, 7) и гнезде 34 ловильной головки 7 (см. фиг.3).
Для обеспечения дросселирования потока среды (см. фиг.1, 2) в сужающих элементах 12, 13 эквивалентный диаметр (d12, 13), а значит и площадь суммарного проходного сечения (S12, 13), выполнены меньше, чем эквивалентный диаметр (d21, 22), а значит и площадь суммарного сечения (S21, 22) боковых пропускных каналов 21, 22 полого корпуса 1. Также диаметр (d21, d22) проходного сечения каждого из них (нижнего 21 и верхнего 22), соответственно меньше, чем диаметр (d1B, d1H, d3, d4, d8, d7) осевого проходного канала корпуса 1, манжетодержателей 3, 4, хвостовика 8 или ловильной головки 7, а последний диаметр, соответственно, не больше, чем эквивалентный диаметр (d23, d20) боковых пропускных каналов 23, 20 хвостовика 8 и ловильной головки 7.
В корпусе 1 (см. фиг.8) над и под или между седлами 12, 13 установлена, в частном случае, пружина 25, причем седла 12 и 13 с ограниченным ходом в расточках выполнены в виде поршней с внутренними дросселями 35, 36 и возможностью перемещения, изменения и перекрытия сечения нижних и верхних рядов пропускных каналов 21, 22 корпуса 1 для регулирования перепада давления.
Регулятор снаружи (см. фиг.9) оснащен посадочной скважинной овальной камерой 37 с боковыми пропускными каналами 38 и карманом 39, причем последний выполнен с внутренней расточкой 40 длиной (L) больше, чем длина наружной проточки 2 (Lп), или расстояния (lк) между рядами пропускных каналов 21, 22 полого корпуса 1 при любом рабочем фиксированном положении регулятора. Эквивалентный диаметр или площадь кольцевого сечения 41, образующегося между наружной проточкой 2 корпуса 1 и внутренней расточкой 40 кармана 39, больше, чем эквивалентный диаметр или площадь суммарного проходного сечения нижнего и верхнего сужающих элементов 12, 13 (см. фиг.1, 2, 5, 8), а последний диаметр или площадь, соответственно, меньше эквивалентного диаметра или площади суммарного сечения боковых пропускных каналов 38 скважинной овальной камеры 37.
Регулятор, в частном случае (см. фиг.5), изнутри дополнительно оснащен измерительной системой 42 для регистрации физических параметров – давления, температуры или расхода при течении потока среды.
Боковые (см. фиг.1, 3) пропускные каналы 21 корпуса 1 или 20, 23 ловильной головки 7 и хвостовика 8 могут снаружи иметь защитные сетки 43 против песка, в частности при закачке рабочей среды (воды) в пласт.
Регулятор работает следующим образом.
В добывающих скважинах (см. фиг.9) пластовый флюид, проходя боковые пропускные каналы 38 скважинной овальной камеры 37 и боковые пропускные каналы 21, 22 корпуса 1, поступает в его полость, где разделяется по направлению вверх и вниз, а затем (см. фиг.1) проходит верхний и нижний сужающие элементы 12, 13 и, соответственно, осевой или боковые, или же осевой и боковые пропускные каналы 19, 20 ловильной головки 7 и пропускные каналы 23 хвостовика 8, поступает в полость трубы. При наличии свободных или подпружиненных затворов 14, 15 (см. фиг.2, 3, 6, 7) обратный переток из полости труб в пласт (в частности, при одновременно-раздельной добыче флюида из нескольких пластов одной скважины, при опрессовке колонны труб и эксплуатационной колонны и пр.) не происходит, так как затворы 14, 15 садятся в седла 12, 13 или гнезда 32, 33, 34 и перекрывают их проходные сечения.
При закачке рабочей среды в один или несколько пластов одной скважины, наоборот, среда (см. фиг.1, 2, 9) проходит сверху через осевой или боковые, или же осевой и боковые пропускные каналы 19, 20 ловильной головки 7, а снизу – через пропускные каналы 23 хвостовика 8, и, соответственно, проходя сужающие элементы 13, 12, поступает с двух сторон в корпус 1, а затем оттуда направляется через боковые пропускные каналы 21, 22 корпуса 1 и каналы 38 скважинной овальной камеры 37 в соответствующий пласт. Также при наличии свободных или подпружиненных затворов 14, 15 (см. фиг.2) обратный переток из пласта в полость труб, а также переток из одного пласта в другой при остановке работы нагнетательной скважины (в частности, при одновременно-раздельной эксплуатации нескольких пластов одной скважины) не происходит, так как затворы 14, 15 садятся в седла 12, 13 и перекрывают их проходные сечения.
При регулировании перепада давления, а значит поддержания расхода воды при закачке в пласт (см. фиг.8), подпружиненные седла 12, 13 с дросселями 35, 36 при изменении давления перемещаются, соответственно, вверх и вниз и таким образом регулируют расход воды, проходящий снизу и сверху через дроссели 35, 36 и поступающий в пласт через каналы 21, 22.
Формула изобретения
1. Съемный регулятор двухштуцерный, содержащий корпус с наружной проточкой, боковыми пропускными и осевым проходным каналами, нижний и верхний манжетодержатели с наружными уплотнительными элементами, ловильную головку и хвостовик с фиксатором, отличающийся тем, что ловильная головка выполнена с боковыми пропускными каналами и/или со сквозным осевым проходным каналом, а корпус, или нижний и верхний манжетодержатели, и/или ловильная головка, и/или хвостовик регулятора выполнены с внутренними посадочными гнездами под затворы, или с расточками, по меньшей мере в двух из которых размещены противоположно с одинаковыми или разными проходными и/или наружными диаметрами съемные сужающие элементы без или с обратными свободными или подпружиненными затворами с ограниченным ходом, причем площадь суммарного проходного сечения съемных сужающих элементов выполнена меньше, чем площадь суммарного сечения боковых пропускных каналов корпуса.
2. Съемный регулятор двухштуцерный по п.1, отличающийся тем, что ловильная головка выполнена с верхним глухим концом.
3. Съемный регулятор двухштуцерный по п.1, отличающийся тем, что сужающие элементы выполнены в виде штуцера, или дросселя, или седла, или насадки.
4. Съемный регулятор двухштуцерный по п.1, отличающийся тем, что корпус выполнен с одним рядом боковых пропускных каналов, расположенным между сужающими элементами перпендикулярно или под углом к его оси.
5. Съемный регулятор двухштуцерный по п.1, отличающийся тем, что корпус выполнен с развернутыми или неразвернутыми относительно друг друга двумя рядами боковых пропускных каналов, расположенными между сужающими элементами перпендикулярно или под углом к его оси.
6. Съемный регулятор двухштуцерный по п.1, отличающийся тем, что наружная проточка на корпусе выполнена отдельно над каждым рядом боковых пропускных каналов или по общей длине не меньше чем расстояние между рядами боковых пропускных каналов.
7. Съемный регулятор двухштуцерный по п.1, отличающийся тем, что боковые пропускные каналы имеют защитные сетки против песка.
8. Съемный регулятор двухштуцерный по п.1, отличающийся тем, что боковые пропускные каналы выполнены в виде цилиндрических или конических отверстий, или фигурных прорезей.
9. Съемный регулятор двухштуцерный по п.1, отличающийся тем, что наружные уплотнительные элементы установлены над и под боковыми пропускными каналами корпуса и выполнены из резиновых технических изделий или цветных металлов в виде манжет или колец.
10. Съемный регулятор двухштуцерный по п.1, отличающийся тем, что фиксатор на хвостовике выполнен в виде цанги или пружинного кольца.
11. Съемный регулятор двухштуцерный по п.1, отличающийся тем, что в корпусе изнутри выполнен бурт для упора пружины или выполнен сверху и снизу ступенчатый диаметр для ограничения хода затворов или упора и фиксации сужающих элементов.
12. Съемный регулятор двухштуцерный по п.1, отличающийся тем, что в корпусе установлена одна свободная пружина между затворами с упором на них.
13. Съемный регулятор двухштуцерный по п.1, отличающийся тем, что в корпусе установлены две пружины с одинаковыми или разными характеристиками между затворами с упором каждой из них на корпус и соответствующий затвор.
14. Съемный регулятор двухштуцерный по п.1, отличающийся тем, что затворы выполнены в виде шаров, или конусов, или сфер, или полусфер, или поршней, без или со штоками или с направляющими.
15. Съемный регулятор двухштуцерный по п.1, отличающийся тем, что сужающие элементы зафиксированы в расточках стопорными кольцами, или упорными втулками, или буртами, или резьбами.
16. Съемный регулятор двухштуцерный по п.1, отличающийся тем, что в корпусе между сужающими элементами установлена пружина без или с возможностью регулирования ее характеристик и параметров, причем сужающие элементы с ограниченным ходом в расточках расположены в виде поршня с внутренними дросселями и возможностью перемещения, изменения и перекрытия сечения боковых пропускных каналов корпуса.
17. Съемный регулятор двухштуцерный по п.1, отличающийся тем, что он снаружи оснащен посадочной скважинной овальной камерой с боковыми пропускными каналами и карманом, причем последний выполнен с внутренней расточкой длиной больше, чем длина наружной проточки при любом рабочем фиксированном положении регулятора в кармане.
18. Съемный регулятор двухштуцерный по п.1, отличающийся тем, что он изнутри дополнительно оснащен измерительной системой для регистрации физических параметров – давления, температуры или расхода при течении через него потока среды.
РИСУНКИ
|
|