|
|
(21), (22) Заявка: 2004108001/03, 18.03.2004
(24) Дата начала отсчета срока действия патента:
18.03.2004
(45) Опубликовано: 20.07.2005
(56) Список документов, цитированных в отчете о поиске:
SU 1839693 A3, 30.12.1993. RU 2190077 C2, 27.09.2002. RU 2166060 C1, 27.04.2001. RU 2162134 C1, 20.01.2001. RU 2131014 C1, 27.05.1999. RU 2108438 C1, 10.04.1998. SU 1839693 A3, 30.12.1993. SU 1620579 A1, 15.01.1991.
Адрес для переписки:
305040, г.Курск, ул. 50 лет Октября, 94, КурскГТУ, ОИС
|
(72) Автор(ы):
Кобелев Н.С. (RU), Брежнев Д.Б. (RU), Щедрина Г.Г. (RU), Моржавин А.В. (RU)
(73) Патентообладатель(и):
Государственное образовательное учреждение Курский государственный технический университет (ГОУКурскГТУ) (RU)
|
(54) УСТРОЙСТВО ДЛЯ ТЕРМОМЕХАНИЧЕСКОГО БУРЕНИЯ СКВАЖИН
(57) Реферат:
Изобретение относится к горной промышленности, в частности к устройствам для бурения и расширения скважин в крепких породах. Технической задачей изобретения является снижение энергоемкости процесса бурения и расширения скважин путем улучшения параметров температурных полей и полей напряжений, действующих в массиве расширяемой скважины, где происходит взаимодействие высокотемпературных процессов сгорания топлива с горными породами сложного состава и строения. Устройство для термомеханического бурения скважин включает буровой орган в виде бурового става, на конце которого установлены породоразрушающие элементы и огнеструйная горелка, магистрали для подачи к огнеструйной горелке топлива, воды и воздуха от нагнетательного патрубка компрессора и компрессор с расположенным на входе его всасывающего патрубка фильтром, состоящим из корпуса с конденсатоотводчиком, суживающимся соплом и отражателем. Огнеструйная горелка выполнена в виде сопел, количество которых должно быть кратно двум, на внутренней поверхности каждого из которых расположены криволинейные канавки, продольно расположенные от входного к выходному отверстиям, причем кривизна образующей канавок одного сопла имеет направление движения по часовой стрелке, а кривизна образующей канавок другого парного сопла имеет направление движения против часовой стрелки. 2 ил.

Изобретение относится к горной промышленности, в частности к устройствам для бурения и расширения скважин в крепких породах.
Известно устройство для совмещенного механического бурения и термического расширения скважин (см. Великий и др. Техника бурения скважин комбинированными способами. М.: Недра, 1977, с.35-41), включающее компрессор с всасывающим фильтром, водяной бак с расположенным в нем радиатором и электронагревателем, бак с топливом, буровой став с породоразрушающими элементами и огнеструйной горелкой, соединенной с магистралью подачи воздуха, топлива и воды.
Недостатком этого устройства является высокая энергоемкость процесса бурения, обусловленная низким качеством сжатого воздуха, поступающего к огнеструйной горелке.
Известно устройство для термомеханического бурения скважин (см. Патент РФ № 1839693, МПК Е 21 В 7/14, Е 21 С 37/16, 1991. Бюл. № 47-48), включающее буровой орган в виде бурового става, на конце которого установлены породоразрушающие элементы и огнеструйная горелка, магистрали для подачи к огнеструйной горелке топлива, воды и воздуха от нагнетательного патрубка компрессора и компрессор с расположенным на входе его всасывающего патрубка фильтром, состоящим из корпуса с конденсатоотводчиком, суживающимся соплом и отражателем.
Недостатком этого устройства является энергоемкрсть процесса бурения, обусловленная снижением удельных тепловых потоков по мере прямоточного истечения продуктов сгорания огневой струи при взаимодействии с горными породами сложного состава и строения.
Технической задачей предлагаемого изобретения является снижение энергоемкости процесса бурения и расширения скважин путем улучшения параметров температурных полей и полей напряжений, действующих в массиве расширяемой скважины, где происходит взаимодействие высокотемпературных процессов сгорания топлива с горными породами сложного состава и строения.
Технический результат по снижению энергоемкости бурения и расширения скважин достигается тем, что устройство для термомеханического бурения скважин, включающее буровой орган в виде бурового става, на конце которого установлены породоразрущающие элементы и огнеструйная горелка, магистрали для подачи к огнеструйной горелке топлива, воды и воздуха от нагнетательного патрубка компрессора и компрессор с расположенным на входе его всасывающего патрубка фильтром, состоящего из корпуса с конденсатоотводчиком, суживающимся соплом и отражателем; при этом огнеструйная горелка выполнена в виде сопел, количество которых должно быть кратно двум, на внутренней поверхности каждого из которых расположены криволинейные канавки, продольно расположенные от входного к выходному отверстиям, причем кривизна образующей канавок одного сопла имеет направление движения по часовой стрелке, а кривизна образующей канавок другого парного сопла имеет направление движения против часовой стрелки.
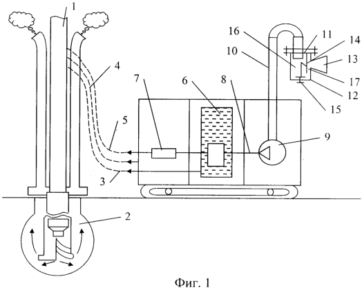
На фиг.1. изображена принципиальная схема устройства для термомеханического бурения скважин, на фиг.2а,б – внутренняя поверхность двух попарно расположенных сопел огнеструйной горелки.
Устройство включает буровой орган в виде бурового става 1, на конце которого установлены породоразрушающие элементы и огнеструйная горелка 2, к которой присоединены магистраль 3 для подачи топлива и магистраль 4 для подачи воды, магистраль 5 для подачи воздуха через теплообменник 6 и адсорбер 7 по магистральному патрубку 8 от компрессора 9, связанного посредством всасывающего патрубка 10 с фильтром 11, выполненным в виде размещенного на компрессоре 9 корпуса с днищем 12 конической формы и суживающимся соплом 13, отражателем 14, конденсатоотводчиком 15, внутренних камер 16 и 17, сообщенных соответственно с всасывающим патрубком 10 и суживающимся соплом 13, установку пылепарогазоподавления. При этом на внутренней поверхности попарно расположенных сопел огнеструйной горелки 2 выполнены криволинейные канавки 18 и 19, продольно расположенные от входного 20 к выходному 21 отверстиям, причем кривизна образующей канавок 18 одного сопла имеет направление по часовой стрелке, а кривизна образующей канавок 19 другого парного сопла имеет направление движения против часовой стрелки.
Устройство работает следующим образом.
Специфика эксплуатации устройств для термомеханического бурения обусловлена наличием в окружающем атмосферном воздухе значительного количества капле- и пароструйной влаги, которая при работе компрессора 9 поступает через суживающееся сопло 13 в корпус с днищем 12 конической формы фильтра 11. На выходе из суживающегося сопла 12 поток всасываемого воздуха с технологической и атмосферной влагой внезапно расширяется в камере 16 и ударяется об отражатель 14. В результате часть влаги падает в днище 12 конической формы для последующего удаления через конденсатоотводчик 15, а движущийся поток огибает отражатель 14 и поступает во внутреннюю камеру 17, далее по всасывающему патрубку 10 очищенный от каплеструйной влаги всасываемый воздух поступает в компрессор 9, откуда после сжатия через бак-теплообменник 6 и адсорбер 7 по нагнетательному патрубку 8 магистрали 5 направляется по буровому ставу 1 к соплам огнеструйной горелки 2, обеспечивая наряду с поступлением туда же топлива по магистрали 3 процесс термического разрушения горных пород.
При движении продуктов сгорания топлива по криволинейным канавкам 18 одного сопла огнеструйной горелки 2 от входного его отверстия 20 к входному отверстию 21 поток закручивается в направлении по часовой стрелке, а при движении продуктов сгорания топлива по криволинейным канавкам 19 второго парно связанного сопла от входного его отверстия 20 к выходному отверстию 21 поток закручивается в направлении против часовой стрелки (см., например, стр.509. Выгодский Н.Я. Справочник по высшей математике. М. 1966 – 872 с., ил). Соприкосновение двух вращающихся в противоположных направлениях потоков приводит к образованию пограничного слоя, в котором наблюдается непрерывное возникновение микровзрывов с резким возрастанием микродавления в точках контакта огненных струй. В результате увеличивается абсолютное значение теплового потока и, соответственно, увеличивается скорость истечения огненной струи при нормированных параметрах величин температурного поля и поля напряжений, а это в конечном итоге приводит к повышению эффективности процесса бурения и расширения взрывных скважин.
Оригинальность конструктивного решения предлагаемого изобретения по снижению энергоемкости процесса бурения и расширения скважин подтверждается достижением возрастания дальнобойности огненной струи, которая пропорциональна ее мощности, а увеличение последней осуществляется в результате создания множества микровзрывов со всплеском микродавлений в точках контакта двух огненных потоков, закрученных в противоположных направлениях за счет движения одного потока по криволинейным канавкам с образующей, перемещающейся по часовой стрелке и при движении второго потока в попарно связанных соплах по криволинейным канавкам с образующей, перемещающейся против часовой стрелки.
Формула изобретения
Устройство для термомеханического бурения скважин, включающее буровой орган в виде бурового става, на конце которого установлены породоразрушающие элементы и огнеструйная горелка, магистрали для подачи к огнеструйной горелке топлива, воды и воздуха от нагнетательного патрубка компрессора, компрессор с расположенным на входе его всасывающего патрубка фильтром, состоящим из корпуса с конденсатоотводчиком, суживающимся соплом и отражателем, отличающееся тем, что огнеструйная горелка включает количество не менее двух попарно расположенных сопел, на внутренней поверхности каждого из которых выполнены криволинейные канавки, продольно расположенные от входного к выходному отверстиям, при этом кривизна канавок одного сопла из пары имеет направление движения по часовой стрелке, а кривизна канавок другого сопла этой же пары имеет направление движения против часовой стрелки.
РИСУНКИ
MM4A – Досрочное прекращение действия патента СССР или патента Российской Федерации на изобретение из-за неуплаты в установленный срок пошлины за поддержание патента в силе
Дата прекращения действия патента: 19.03.2006
Извещение опубликовано: 20.03.2007 БИ: 08/2007
|
|