|
|
(21), (22) Заявка: 2003125495/03, 18.08.2003
(24) Дата начала отсчета срока действия патента:
18.08.2003
(43) Дата публикации заявки: 10.03.2005
(45) Опубликовано: 20.07.2005
(56) Список документов, цитированных в отчете о поиске:
RU 2200810 C2, 20.03.2003. SU 949140 А, 07.08.1982. RU 2196211 C2, 10.01.2003. SU 1514871 А1,15.10.1989. RU 2025563 С1, 30.12.1994.
Адрес для переписки:
367002, г.Махачкала, ул. Оскара, 60, кв.8, Р.А. Юсупову
|
(72) Автор(ы):
Юсупов А.К. (RU), Юсупов Р.А. (RU)
(73) Патентообладатель(и):
Юсупов Абусупян Курашевич (RU), Юсупов Рамзес Абусович (RU)
|
(54) КИНЕМАТИЧЕСКИЕ ОПОРЫ СЕЙСМОСТОЙКИХ ЗДАНИЙ И СООРУЖЕНИЙ
(57) Реферат:
Изобретение относится области строительства и предназначено для зданий и сооружений, строящихся в сейсмически опасных районах, или для объектов, имеющих специальное назначение. Многоэтажное сейсмостойкое здание включает верхние пространственно жесткие этажи, образованные колоннами, ригелями, перекрытиями, стеновыми панелями, и первый или цокольный этаж из кинематических стоек, имеющих закругленные верхние и нижние грани и обладающих свойством устойчиво покачиваться во время землетрясения по бороздам, предусмотренным в элементах верхней обвязки, являющихся частью перекрытия или цокольного этажа, и в элементах нижней обвязки, являющихся фундаментными подушками, причем закругленные грани стоек выполнены с переменной кривизной так, что эта кривизна, играя роль включающихся и выключающихся связей, ограничивает развитие больших горизонтальных перемещений, при сохранении способности стоек значительно снижать сейсмические силы, действующие на здания и сооружения во время землетрясения. Новым является то, что кинематические стойки выполнены монолитными или сборными из частей без открытых закладных деталей, при этом горизонтальные сечения кинематических стоек выполнены в плане в виде 3-х, 4-х, 5-и, 6-и, 7-и, 8-и, 9-и…n–конечной звезды, при неограниченном увеличении числа n ее конечностей, выполняющих роль ребер жесткости. Технический результат изобретения состоит в повышении эффективности, прочности и устойчивости кинематических опор сейсмостойких зданий и сооружений при землетрясениях с широким спектром частот. 9 ил.

Изобретение относится к строительству и предназначено для зданий, строящихся в сейсмически опасных районах, или для сооружений, имеющих специальное назначение.
Известно сейсмостойкое здание, включающее пространственно жесткий каркас, столбчатые фундаменты, в стаканах которых расположены подвижные связи, находящиеся в упругой среде [1]. Через подвижные связи проходят предварительно напряженные стержни.
Недостатком этого здания является то, что при сейсмических воздействиях подвижные связи, находясь в упругой среде, в теле фундамента, ограничивают горизонтальные перемещения и незначительно уменьшают сейсмические силы на здание; происходит потеря предварительного напряжения стержней, что снижает эффективность конструкции.
Известно многоэтажное сейсмостойкое здание, включающее пространственно жесткие верхние этажи, опертые на гибкие в горизонтальном направлении стойки нижнего этажа, которые имеют сферическую форму центральной части торцов и соединены с перекрытием и фундаментом [2].
Недостатком этого технического решения является то, что после разрушения включающихся связей, во время землетрясения необходимо немедленное их восстановление, что не всегда практически осуществимо. Изготовление стоек с сферическими торцами и высокоточными поверхностями качения требует высокой точности, присущей скорее машиностроительному производству, чем строительной индустрии, что ограничивает массовость применения этой конструкции.
Наиболее близким техническим решением к предлагаемому является многоэтажное здание [3], включающее верхние пространственно жесткие этажи, образованные колоннами, ригелями, перекрытиями, стеновыми панелями, и первый или цокольный этаж, выполненный гибким. На первом или цокольном этаже здания расположены подвижные связи, представляющие собой стойки с закругленными верхним и нижним торцами, которые имеют возможность устойчиво покачиваться по бороздам, предусмотренным в элементах верхней и нижней обвязок, являющихся частью перекрытия и фундаментов. Каждая стойка образована парой плоских одинаковых панелей, имеющих вырез на одной из закругленных граней и соединенных между собой посредством заведения паза одной из них в паз другой с образованием крестообразной в сечении стойки. Это решение отличается переменностью кривизны поверхностей качения, которая играя роль включающихся и выключающихся связей, ограничивает перемещение здания без устройства специальных приспособлений, при сохранении способности стоек снижать сейсмические силы, действующие на здание при землетрясениях с широкими спектром частот, включающем как низкие, так и высокие частоты. Эта конструкция эффективна, технологична и надежна.
Недостатком этого технического решения является то, что с увеличением этажности, соответственно и нагрузки, прочность и устойчивость кинематических опор, предложенных в [3], могут оказаться недостаточными, а сами опоры – нерациональными.
Задачей изобретения является существенное повышение прочности и устойчивости кинематических опор при сохранении их высокой эффективности снижать сейсмические силы и ограничивать перемещения здания при землетрясениях с широким спектром частот, без устройства специальных включающихся и выключающихся связей.
Поставленная задача решается за счет того, что в многоэтажном сейсмостойком здании, включающем верхние пространственно жесткие этажи, образованные колоннами, ригелями, перекрытиями, стеновыми панелями, и первый или цокольный этаж из кинематических стоек, имеющих закругленные верхние и нижние грани и обладающих свойством устойчиво покачиваться во время землетрясения по бороздам, предусмотренным в элементах верхней обвязки, являющихся частью перекрытия или цокольного этажа, и в элементах нижней обвязки, являющихся фундаментными подушками, причем закругленные грани стоек выполнены с переменной кривизной так, что эта кривизна, играя роль включающихся и выключающихся связей, ограничивает развитие больших горизонтальных перемещений, при сохранении способности стоек значительно снижать сейсмические силы, действующие на здания и сооружения во время землетрясения, согласно изобретению, кинематические стойки выполнены монолитными или сборными из частей без открытых закладных деталей, при этом горизонтальные сечения кинематических стоек выполнены в плане в виде 3-х, 4-х, 5-и, 6-и, 7-и, 8-и, 9-и…n–конечной звезды, при неограниченном увеличении числа n ее конечностей, выполняющих роль ребер жесткости.
Конечности “звезды”, играя роль ребер жесткости опоры, существенно повышают ее прочность и устойчивость.
Таким образом, здесь сохраняется все положительное, присущее конструкции, предложенной в [3]:
– ограничение перемещений здания, без устройства специальных включающихся и выключающихся связей, при сохранении способности кинематических опор значительно снижать сейсмические силы, действующие. на здания и сооружения, когда землетрясение имеет широкий спектр частот. А для существенного повышения прочности, устойчивости и коррозийной стойкости конструкции кинематические опоры выполняются в сечении в виде многоконечной “звезды”. Конечности “звезды”, играя роль ребер жесткости опоры, обеспечивают ей высокую прочность и устойчивость.
Предлагаемая конструкция может успешно работать в сейсмостойких многоэтажных зданиях. Причем этажность здания здесь неограниченна: все конструктивные параметры кинематических опор, а также их количество подбираются расчетным путем.
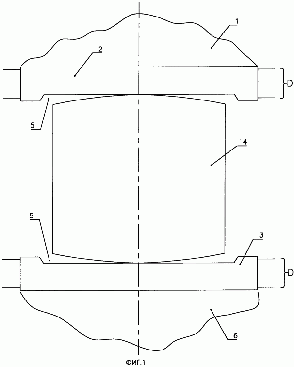
На фиг.1 показана принципиальная схема вертикальной компоновки кинематической опоры 4 и элементов верхней 2 и нижней 3 обвязок. Горизонтальное сечение опоры может быть в виде 3-х, 4-х, 5-и, 6-и, 7-и, 8-и, 9-и… -конечной звезды. Число конечностей “звезды” может меняться последовательно от 3-х до . В [3] рассматривался частный случай, когда n=4, то есть опора в сечении представляла собой крест.
В качестве примера на фиг.2 дается кинематическая опора, которая в горизонтальном сечении имеет вид восьмиконечной “звезды”.
Когда число конечностей звезды (см. фиг.2, 3 и 9) стремится к бесконечности или 2 r = b, то сечение 4 кинематической опоры стремится к кругу. Борозды 5 (фиг.4), в которых находятся поверхности качения опоры, выполняются одинаковыми как в элементах верхней, так и в элементах нижней обвязок, а в вертикальном сечении элементы верхней и нижней обвязок могут быть различными (фиг.5 и 6).
Кривизна поверхностей качения 4 опоры (фиг.2) – переменна по горизонтальному радиусу r и осесимметрична относительно вертикальной центральной оси (фиг.3).
Принципиальная схема построения кривизны осесимметричной (или близкой к ней) поверхности качения приводится на фиг.7. Ниже поясняется правило построения этой кривизны. Половина дуги В А0 A5 (фиг.7) делится, к примеру, на 5 участков:
А0A1, A1A2, A2A3, A3A4, A4A5. Длина каждого участка обозначается соответственно через V1, V2, V3, V4 V5. На центральной вертикальной оси (фиг.7) выбирается точка O1, так чтобы был отрезок .
Радиусом R1=|А0O1| с центром кривизны в точке O1 проводится дуга |А0A1|=V1. На продолжении радиуса O1 A1 назначается точка О2.
Далее радиусом R2=|А1O2|, с центром кривизны в точке O2 проводится дуга |А1A2|=V2.
Затем на продолжении радиуса O2A2 выбирается точка О3. После чего радиус R3=|А2O3|, с центром кривизны в точке O3. Проводится дуга |А2A3|=V3.
Аналогично назначаются центры кривизны O4 и O5 и определяются радиусы R4,R5 и дуги |А3А4|=V4, |A4A5|=V5. Кривая O0 O1 O2 O3 O4 O5 называется эволютой кривой А0 А1 А2 А3 А4 А5.
Кинематическая опора устойчива при качении, если выполняются условия:

В общем случае число участков, на которое разбивается дуга А0А5 (фиг.7), может стремиться к бесконечности (i ). При расположении центров кривизны на эволюте переход от одного участка дуги к другому происходит плавно, и главное, от участка к участку убывает кривизна поверхности качения, то есть растет жесткость кинематической опоры. А это приводит к росту чистоты собственных колебаний здания с увеличением горизонтальных перемещений.
Поскольку система изначально низкочастотна, она слабо реагирует на высокочастотные возмущения землетрясения. В случае наличия в спектре возмущения низких частот, даже при незначительных сейсмических силах в системе начинают развиваться большие перемещения. При этом в работу включаются участки закругленных граней стоек с относительно малой кривизной, что приводит к возрастанию частоты собственных колебаний здания.
Таким образом, система “убегает” от низкочастотного резонанса. Высокочастотный резонанс здесь исключен.
На фиг.8, как пример, приводятся графики изменения силы (реакции) F в зависимости от горизонтальных перемещений у здания.
Меняя величины дуг Vi (i=1, 2, 3, 4, 5) и значения соответствующих радиусов Ri (фиг.7), а также высоту Н, можно получить конструкции кинематической опоры с различными свойствами. При этом число вариантов бесчисленное множество. При i ломаные графики (фиг.7) обретают плавный вид.
Чтобы кинематические опоры эффективно гасили сейсмические силы, при этом одновременно ограничивали большие перемещения, рекомендуется первый и второй участки на закругленных гранях брать с радиусом R1 и R2, близкими к , a V1 и V2 относительно большими, и наоборот, начиная с третьего участка, радиусы R3, R4, R5 назначать значительными при относительно малых V3, V4, V5.
При такой “геометрии” обеспечивается необходимый рост реакции F=F(у) – фиг.8.
Все размеры и “геометрия” кинематических опор и элементов верхней и нижней обвязок определяются расчетным путем. При этом как материал, из которого изготовляются подвижные стойки, так и параметры, характеризующие “геометрию” и размеры предлагаемой конструкции, могут меняться в широких пределах. В частности, как один из возможных вариантов, рекомендуются следующие параметры: каждая половина закругленной грани (по радиусу в плане), начиная с центральной точки Ао (фиг.7), разбивается на 5 участков:
V1=7 см, V2=3 см, V3=2 см, V4=2 см,
в – оставшийся большой участок.
Н=(280-320) см; в=(260-300) см;
; R2=R1+50 см;
R3=R2+200 см; R3=R2+400 см;
R5=R4+800 cм;d=(18-30) см, r=1,4d.
Материал – железобетон.
Нами были проведены численные эксперименты на компьютере по исследованию перемещений и сейсмических сил, действующих на здания при 9-балльных землетрясениях. Рассматривалось большое множество вариантов конструктивных параметров опоры Ri, Vi.
При этом проводился сравнительный анализ для 5, 7, 9-этажных зданий, когда:
– фундаменты представляют собой обычные фундаментные подушки и фундаментные блоки;
– фундаменты представляют собой столбчатые фундаменты;
– фундаменты представляют собой предлагаемые кинематические опоры. Из проведенного нами сравнительного анализа численных экспериментов, выполненных на компьютере, следуют выводы:
– сейсмические силы в зданиях с предлагаемыми опорами уменьшаются примерно
в 5, 10, 15, 20, 25 раз по сравнению с сейсмическими силами, которые возникают в случае обычных и столбчатых фундаментов;
– при этом перемещения составляют 18-30 см.
Верхняя часть здания с кинематическими опорами колеблется как абсолютно-жесткая, одномассовая система: разница в перемещениях для различных узлов здания составляет 2-3%;
– влияние вторых и третьих форм колебаний ничтожно мало.
– На фиг.1 изображена схема расположения по вертикали кинематической опоры и элементов верхней и нижней обвязки;
– на фиг.2 – сечение кинематической опоры;
– на фиг.3 – вертикальный разрез кинематической опоры;
– на фиг.4 – элемент нижней и верхней обвязки;
– на фиг.5 -элемент верхней обвязки;
– на фиг.6 – элемент нижней обвязки;
– на фиг.7 дана принципиальная геометрическая схема построения кинематической опоры с переменной кривизной;
– на фиг.8 – графики, изображающие зависимость реакции F подвижных опор от перемещений y
– на фиг.9 приведены варианты горизонтальных сечений кинематических опор.
Фиг.1: приведен вертикальный разрез, показывающий взаимное расположение кинематической опоры 4, элемента 2 верхней обвязки, элемента 3 нижней обвязки; 1 и 6 – соответственно верхняя часть здания и грунтовое основание; 5-борозда.
Фиг.2: как один из вариантов дано горизонтальное сечение 4 кинематической опоры, которое имеет вид восьмиконечной звезды; размеры r и d определяются по расчету; сечение 1-1 дано на фиг.4.
Фиг.3: приводится сечение 1-1 кинематической опоры и контуры закругленных граней, высота опоры 4 равна Н, ширина – в; сечение 3-3 дано на фиг.3.
Фиг.4: элементы 2 и 3 нижней и верхней обвязки в плане имеют один и тот же вид; 5 – углубления в виде борозды, на которые сажается кинематическая опора своими закругленными поверхностями качения; D – выпуски арматурных стержней, которые сварными швами соединяются со смежными элементами. Сечение 2-2 дано на фигурах 5 и 6.
Фиг.5: элементы верхней обвязки;
5 – расположение борозды; D – выпуски арматурных стержней.
Фиг.6: приводится сечение элемента 3 нижней обвязки;
5- расположение борозды; D – выпуски арматурных стержней.
Фиг.7: даны геометрические размеры;
Н -высота, в – ширина кинематической опоры в ее вертикальном сечении; половина закругленной грани, с переменной кривизной, разбита, для примера, на 5 участков А0 А1, А1 А2, А2 А3, А3 А4, А4 А5; центры кривизны О0, О1, О2, О3, О4, О5 образуют эволюту кривой А0 А5;
R1, R2, R3, R4, R5 – соответствующие радиусы кривизны.
Фиг.8: приводятся, для примера, графики изменения реакции F кинематической опоры в зависимости от горизонтальных перемещений у здания; меняя “геометрию” и кривизну стоек, можно получить многочисленные варианты кинематических опор с различными свойствами.
Фиг.9: даются примеры горизонтальных сечений кинематических опор в виде 3-х, 4-х, 5-и, 6-и, 7-и, 8-и, 9-и, 10-и, 11-и, 12… n – конечной звезды. При n сечение стремится к кругу.
Литература
1. Патент Японии №51-29324, Е 04 В 1/36;
2. Авторское свидетельство СССР №12654504, Е 04 Н 9/02, 1991;
3. Патент RU2200810 C2, 20.03.2003.
Формула изобретения
Многоэтажное сейсмостойкое здание, включающее верхние пространственно жесткие этажи, образованные колоннами, ригелями, перекрытиями, стеновыми панелями, и первый или цокольный этаж из кинематических стоек, имеющих закругленные верхние и нижние грани и обладающих свойством устойчиво покачиваться во время землетрясения по бороздам, предусмотренным в элементах верхней обвязки, являющихся частью перекрытия или цокольного этажа, и в элементах нижней обвязки, являющихся фундаментными подушками, причем закругленные грани стоек выполнены с переменной кривизной так, что эта кривизна, играя роль включающихся и выключающихся связей, ограничивает развитие больших горизонтальных перемещений, при сохранении способности стоек значительно снижать сейсмические силы, действующие на здания и сооружения во время землетрясения, отличающееся тем, что кинематические стойки выполнены монолитными или сборными из частей без открытых закладных деталей, при этом горизонтальные сечения кинематических стоек выполнены в плане в виде 3-х, 4-х, 5-и, 6-и, 7-и, 8-и, 9-и…n–конечной звезды, при неограниченном увеличении числа n ее конечностей, выполняющих роль ребер жесткости.
РИСУНКИ
|
|