|
|
(21), (22) Заявка: 2003118775/03, 23.06.2003
(24) Дата начала отсчета срока действия патента:
23.06.2003
(43) Дата публикации заявки: 20.12.2004
(45) Опубликовано: 20.07.2005
(56) Список документов, цитированных в отчете о поиске:
ТЕТИОР А.Н. и др. Проектирование фундаментов. Справочник. – Киев: Будивельник, 1981, с. 98-99, рис. V.9. RU 2171337 C1, 27.07.2001. SU 1006611 A1, 23.03.1983. SU 931898 A1, 30.05.1982.
Адрес для переписки:
350044, г.Краснодар, ул. Калинина, 13, КГАУ ПИО
|
(72) Автор(ы):
Шадунц К.Ш. (RU), Мариничев М.Б. (RU)
(73) Патентообладатель(и):
Кубанский государственный аграрный университет (RU)
|
(54) СВАЙНЫЙ ФУНДАМЕНТ И СПОСОБ ВОЗВЕДЕНИЯ СВАЙНОГО ФУНДАМЕНТА
(57) Реферат:
Изобретение относится к строительству и может быть использовано при возведении сооружений на слабых грунтах, подстилаемых прочными. Свайный фундамент включает сваи, состоящие из пар элементов с односторонним заострением нижних концов, соединенных шарниром. Шарнир расположен в средней части элементов, которые имеют квадратное сечение в нижней и прямоугольное с вырезом в верхней части, а также выпуски арматуры для объединения с ростверком. Способ возведения свайного фундамента состоит в том, что каждую последующую сваю погружают с учетом обеспечения взаимной перпендикулярности плоскостей раскрытия элементов погруженных свай. 1 з.п. ф-лы, 6 ил.

Изобретение относится к строительству и может быть использовано при возведении сооружений на слабых грунтах, подстилаемых прочными.
Известна свая (SU №1206386 А, Е 02 D 5/30 БИ №3, 1986), содержащая ствол и расположенный в нижней ее части наконечник, причем ствол, с целью повышения устойчивости, выполнен составным из продольных ветвей, каждая из которых шарнирно прикреплена к верхнему торцу наконечника и снабжена наклонными консольными опорными пластинами, обеспечивающими разворот продольных ветвей при погружении. Положительный эффект изобретения – в увеличении точек опирания ростверка. Недостатком является сложность изготовления и затрудненный контроль за степенью разворота продольных ветвей.
Известен свайный фундамент в виде козловых свай, включающий пару свай с односторонним заострением в нижней части и шарнирным соединением в верхней. В процессе погружения эти сваи расходятся (см. Тетиор А.Н., Феклин В.И., Сургучев В.Г. Проектирование фундаментов. Справочник. – Киев: “Будивельник”, 1981, с.98, 99, рис. V,9 – прототип). Недостатком такого фундамента является большое расстояние между точками опирания ростверка и малое сопротивление боковому перемещению грунта при осадках фундамента.
Известно, что значительная доля осадок сооружений связана с выдавливанием, боковым перемещением слабых грунтов в верхней наиболее напряженной части сжимаемой толщи (см. Иванов Ю.К., Коновалов П.А., Мангушев Р.А., Сотников С.Н. Основания и фундаменты резервуаров. – М.: Стройиздат, 1989, с. 32).
Известно техническое решение задачи, где для уменьшения выдавливания грунта предложено, например, под фундаментами резервуаров по кольцу осуществлять расстановку свай (SU №887737, Е 02 D 27/38 – прототип).
При наличии в разрезе на глубине опирания концов свай грунтов с высокой несущей способностью расчетный шаг свай становится больше, что приводит к необходимости увеличения процента армирования ростверков и ухудшает условия создания преграды для боковых перемещений грунта.
Техническим решением задачи является повышение устойчивости сваи, увеличение точек опирания ростверка и создание препятствий для боковых перемещений грунта основания под нагрузками.
Поставленная задача достигается тем, что в свайном фундаменте, включающем сваи, состоящие из пар элементов с односторонним заострением нижних концов, соединенных шарниром, последний расположен в средней части, каждый элемент имеет квадратное сечение в нижней и прямоугольное с вырезом в верхней части, а также выпуски арматуры для объединения с ростверком.
В способе возведения свайного фундамента, включающем расстановку свай, каждую последующую сваю погружают с учетом обеспечения взаимной перпендикулярности плоскостей раскрытия элементов погруженных свай.
Новизна заявляемого предложения обусловлена тем, что расходящиеся нижние и верхние части свай и особенности их расстановки в фундаменте при объединении с ростверком обеспечивают повышение устойчивости свай за счет того, что их элементы при раскрытии приобретают х-образную форму. При этом увеличивается количество точек опирания ростверка. Кроме того, при взаимно перпендикулярной расстановке свай слабые грунты основания оказываются заключенными в ряд огражденных с четырех сторон участков, что препятствует горизонтальному перемещению грунта и снижает осадки основания.
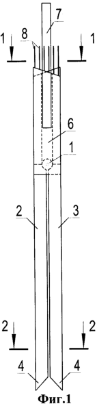
На фиг.1 показан вид сваи сбоку перед погружением, на фиг.2, 3 – сечения сваи перед погружением в верхней и нижней части соответственно, на фиг.4 – свая после погружения, на фиг.5 – схема расстановки свай в фундаменте, на фиг.6 – соответствующее сечение фундамента с показом расстановки свай и раскрытия элементов свай.
Свайный фундамент включает соединенные шарнирами 1 пары элементов 2, 3, имеющие в нижних частях квадратное сечение и одностороннее заострение 4, а в верхних – прямоугольное сечение 5 с вырезом 6 для установки подбабка 7 при их погружении и выпуски арматуры 8 для объединения свай 9 с ростверком.
Свайный фундамент возводят в такой последовательности. Производят разбивку положения точек погружения свай 9, ориентируя их так, чтобы плоскость раскрытия элементов 2, 3 каждой последующей сваи была перпендикулярна предыдущей. При погружении элементы 2, 3 расходятся в стороны, приобретая х-образную форму. Свая обладает преимуществом козловых свай – большой устойчивостью при горизонтальных и моментных нагрузках. Специфика расстановки свай в фундаменте – погружение с раскрытием верхних частей в продольном и поперечном направлениях – приводит к тому, что слабые грунты основания оказываются заключенными в ряд огражденных с четырех сторон участков 10, что препятствует горизонтальному перемещению грунта и уменьшает осадки основания. Сваи 9 устанавливают в копер и вставляют в отверстие 6 подбабок 7. При погружении проектное положение свай контролируют по верхним частям, следят за раскрытием. Выпуски арматуры 8 объединяют с ростверком при армировании, затем устанавливают опалубку и армируют ростверк.
Формула изобретения
1. Свайный фундамент, включающий сваи, состоящие из пар элементов с односторонним заострением нижних концов, соединенных шарниром, отличающийся тем, что шарнир расположен в средней части элементов, которые имеют квадратное сечение в нижней и прямоугольное с вырезом в верхней части, а также выпуски арматуры для объединения с ростверком.
2. Способ возведения свайного фундамента по п. 1, отличающийся тем, что каждую последующую сваю погружают с учетом обеспечения взаимной перпендикулярности плоскостей раскрытия элементов погруженных свай.
РИСУНКИ
MM4A – Досрочное прекращение действия патента СССР или патента Российской Федерации на изобретение из-за неуплаты в установленный срок пошлины за поддержание патента в силе
Дата прекращения действия патента: 24.06.2005
Извещение опубликовано: 20.02.2007 БИ: 05/2007
|
|