|
|
(21), (22) Заявка: 2003137019/03, 24.12.2003
(24) Дата начала отсчета срока действия патента:
24.12.2003
(45) Опубликовано: 20.07.2005
(56) Список документов, цитированных в отчете о поиске:
RU 2071528 C1, 10.01.1997. GB 1192230 A, 20.05.1970. EP 0073365 A1, 09.03.1983. DE 3332671 A1, 28.03.1985. DE 2341177 A, 27.02.1975. US 5173182 A, 22.12.1992.
Адрес для переписки:
129226, Москва, ул. Докукина, 5, корп.1, кв.18, И.А. Майсову
|
(72) Автор(ы):
Майсов И.А. (RU)
(73) Патентообладатель(и):
Майсов Иван Александрович (RU)
|
(54) ПЛАВУЧИЙ МУСОРОПОДБОРЩИК
(57) Реферат:
Изобретение относится к охране окружающей среды и предназначено для сбора плавающих твердых и жидких, преимущественно нефти, загрязнений. Мусороподборщик имеет плавучий корпус, снабженный вынесенными вперед по ходу корпуса боковыми стенками. На входе мусоросборочного резервуара установлен регулируемый по высоте водосливный гребень. Над подвижной шторкой с водосливным гребнем размещен наклонный эскалатор. Он снабжен дополнительными мотор-редукторами для перемещений конца эскалатора в вертикальной плоскости. Для выгрузки твердого мусора из мусоросборочного резервуара на кабине закреплен подъемный кран. Направляющие боновые заграждения снабжены двусторонними гребнями и скреплены с плавучим корпусом шарнирно на вертикальных шкворнях с возможностью их снятия со шкворней. Направляющие боновые заграждения выполнены из шарнирно сочлененных жестких труб с возможностью их крепления вдоль бортов мусороподборщика. Мусороподборщик имеет насосы для откачки воды и нефти, два танка для балластной воды и два танка для собираемой нефти. Изобретение позволяет вмещать значительное количество твердого мусора и сократить время на его сбор. 2 з.п. ф-лы, 8 ил.

Относится к судостроительной технике. Известны плавучие мусороподборщики для сбора твердых и жидких загрязнений, например, по патенту РФ 2014384, Н 02 В 15/04, содержащий накопитель твердого мусора на тележке в которую мусор загружается перфорированной ванной, в которую твердый мусор сталкивается скребком.
Известен мусороподборщик по патенту РФ 2044827, Е 02 В 15/04, имеющий мягкие боновые заграждения с подтягивающим устройством, закрепленным на концах бон, корзину для твердого мусора, извлекаемую из воды с помощью стрелы, а также ряд других отечественных и зарубежных устройств подобного назначения.
Наиболее близким к заявляемому, принятым за прототип, выбрано устройство по патенту РФ 2071528, Е 02 В 15/04. Это устройство имеет плавающий корпус для сбора твердых жидких загрязнений, снабженный вынесенными вперед по ходу корпуса боковыми стенками, регулируемый по высоте водосливный гребень, установленный на входе мусоросборочного резервуара, насосы для откачки воды и нефти, заградительную сетку, отклоняющую твердый мусор к ее краю, откуда он вычерпывается корзиной.
Недостатком этого устройства является то, что оно мало приспособлено для сбора твердого плавучего мусора: трудоемко вычерпывать корзиной, некуда складывать плавучий мусор на корпусе плавучего судна.
Задача – улучшить эксплуатационные качества мусороподборщика, уменьшить трудоемкость сбора твердого плавучего мусора как мелкого, так и крупного, например, крупной щепы, обеспечить возможность накапливания на мусороподборщике больших количеств твердого мусора.
Возможность решения задачи обеспечивается тем, что плавучий мусорподборщик, включающий плавучий корпус, снабженный вынесенными вперед по ходу корпуса боковыми стенками, регулируемый по высоте водосливный гребень, установленный на входе мусоросборочного резервуара, насосы для откачки воды и нефти, кабину, при этом мусороподборщик имеет наклонный эскалатор, размещенный над подвижной шторкой с водосливным гребнем и снабженный дополнительными мотор-редукторами для перемещений конца эскалатора в вертикальной плоскости, закрепленный на кабине кран для выгрузки твердого мусора из мусоросборочного резервуара, направляющие боновые заграждения, снабженные двусторонними гребнями:
– при этом направляющие боновые заграждения скреплены с плавучим корпусом шарнир на вертикальных шкворнях с возможностью их снятия со шкворней;
– при этом направляющие боновые заграждения выполнены из шарнирно сочлененных жестких труб с возможностью их крепления вдоль бортов мусороподборщика.
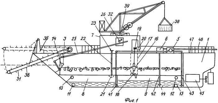
На фиг.1 изображен вид мусороподборщика сбоку; пунктиром показан поднятый эскалатор /Борт и стенка кабины – “сняты”/.
На фиг.2 – вид мусороподборщика сверху; пунктиром обозначены боновые загразнения, закрепленные вдоль бортов.
На фиг.3 – вид мусороподборщика спереди при разгрузке у причальной стенки; пунктиром показан заполненный мусоросборочный резервуар и два боковых танка, заполненные наполовину балластной водой.
На фиг.4 – схема зубчато-рычажного механизма.
На фиг.5 – схема боновых заграждений в рабочее положении; пунктиром показаны боны, закрепленные вдоль бортов.
На фиг.6 – сечение по А-А на фиг.5.
На фиг.7 – сечение по Б-Б на фиг.5.
На фиг.8 – вид мусороподборщика, собирающего поток аварийно разлитой нефти в неширокой протоке или канале.
Плавучий мусороподборщик имеет корпус 1, снабженный вынесенными вперед по ходу корпуса боковыми стенками 2, регулируемый по высоте водосливный гребень 3, установленный на входе мусоросборочного резервуара 4, насос 5 для откачки воды, насос 6 для откачки нефти, кабину 7, два танка 8 для балластной воды, размещенные по бортам в передней части корпуса 1, два танка 9 для собираемой нефти, причем каждая пара танков соединена между собой разнесенными по высоте парой труб 10, 11 и 12, 13, позволяющими выравнивание уровней поверхностей воды и нефти в танках 8, 9, шторку 14 с водосливным гребнем 3, закрепленную на горизонтальной оси 15 с возможностью ее поворотов вокруг оси с помощью связанного с ней зубчато-рычажного механизма, поплавковый нефтесборник 16, плавающий в сеточном ограждении 17 на поверхности жидкости мусоросборочного резервуара 4, причем поплавковый нефтесборник 16 соединен сливным гибким шлангом 18 с одним из танков 9 для нефти и имеет канат 19 для приподнимания нефтесборника 16 над поверхностью жидкости в мусоросборочном резервуаре с помощью мотор-редуктора 20. Один из танков 8 для балластной воды снабжен клапаном 21, выполненным в виде диска с скошенными краями, закрепленного на трубе 22, соединяющей танк с атмосферным воздухом и имеющей штурвал 23, закрепленный на верхнем конце трубы 22. Водосливный гребень 3 и другие края шторки 14 облицованы эластичным материалом 24, например резиной. Зубчато-рычажный механизм выполнен с зубчатой рейкой 25, взаимодействующей с шторкой 14 и шестерней 26, скрепленной с приводной рукоятью 27, снабженной выдвижным штырем 28 для фиксации высотного положения водосливного гребня 3 на шторке 14, которая через ось 15, кривошип 29 и стержень 30 соединена с зубчатой рейкой 25.
Мусороподборщик имеет наклонный эскалатор 31, размещенный над подвижной шторкой 14 с водосливным гребнем 3 и снабженный дополнительными мотор-редукторами 36 для перемещений конца эскалатора 31 в вертикальной плоскости, закрепленный на кабине 7 кран 32 для выгрузки твердого мусора из мусоросборочного резервуара 4, направляющие боновые заграждения 33, скрепленные с плавучим корпусом шарнирно на вертикальных шкворнях 35 с возможностью их снятия со шкворней. При этом направляющие боновые заграждения выполнены из шарнирно сочлененных жестких труб с возможностью их крепления вдоль мусороподборщика.
Мотор-редуктор 37 перемещает рабочее полотно эскалатора, выполненное, например, из сцепленных друг с другом Г-образных плиц или из многослойной прорезиненной кордовой ленты с выступающими захватами 38 для захвата твердого мусора. Подъемный кран 32 снабжен, например, перфорированным одночелюстным грейфером 38 или многочелюстным грейфером, канаты которых перемещаются мотор-редукторами 39, 40. Клапан 21, как и все концы всасывающих труб 41, 42, 43, закрыты мусорозащитными сетками 44. Помимо основного двигателя 45 мусороподборщик имеет вспомогательный двигатель-генератор 46 для снабжения электроэнергией осветительных фар /не показаны/ мотор-редукторов 36, 37, 20, 39, 40 и других вспомогательных устройств. Мусороподборщик имеет палубу 47 с защитным ограждением 48, эластичные разъемные муфты 49, могущие, при надобности, закрывать сочленения бон.
Мусороподборщик работает следующим образом. Подъехав к местам скопления мусора или к местам аварийного разлива нефти, оператор действует соответствующим образом: если нужно подбирать твердый мусор, например скопление крупной щепы, оператор опускает эскалатор и собирает щепу в мусоросборный резервуар 4, при этом подвижная шторка 14 с водосливный гребнем 3 закрыта, что не позволяет проникать воде через гребень и края шторки, защищенные резиной, при этом насос 5 отсасывает лишнюю воду из мусоросборочного резервуара 4, а твердый мусор плавает на поверхности резервуара. Когда приходится собирать нефть с плавающим мелким твердым мусором, эскалатор приподнимают и нефть с мусором собирают через гребень 3, поставив щит 14 рукоятью 27 в соответствующее положение, зависящее от толщины слоя нефти, засоренной мелким мусором. При этом, когда частицы относительно крупного мусора скапливаются перед водосливным гребнем 3, то его сливают в резервуар 4 кратковременным поворотом щита 14.
При аварийном разливе нефти мусороподборщик ставят в наиболее узком месте движущегося потока /фиг.8/, фиксируют его, наапример, цепями /не показаны/ и, закрепив соответствующим образом боновые заграждения, сливают плывущую нефть в резервуар 4, непрерывно отсасывая воду со дна резервуара 4, а избыток собранной нефти сливают в сопровождающее судно. Если штатные боны 33 оказываются короткими, то их удлиняют дополнительными, при этом сочленения бон прикрывают разъемными эластичными муфтами 49. Муссроподборщик разгружают от твердого мусора у оборудованной причальной стенки, захватывая крупную щепу, например, многочелюстным грейфером.
Положительный эффект устройства заключается в следующем:
– мусороподборщик позволяет собирать твердые и жидкие загрязнения с меньшими затратами времени и физического труда; позволяет собирать мусор наездом корпуса, а также собирать поток аварийно разлившейся нефти в неширском канале, протоке или плывущий около одного берега широкой реки;
– наклонный эскалатор позволяет собирать относительно крупногабаритный мусор: плавающую деревянную тару, крупную щепу, плавающие пеньки с корневищами;
– разгрузка твердого мусора может вестись непосредственно в кузова автомобилей;
– в небольших городах мусороподборщик может найти и побочные применения: для перевозки различных грузов по воде; как тихоходным прогулочный катер, когда на промытый резервуар 4 закрывают брезентом, а на боковые части палубы ставят сиденья для праздничных прогулок населения;
– гребни на бонах сдвигают и нефть, и крупный мусор.
Формула изобретения
1. Плавучий мусороподборщик, включающий плавучий корпус, снабженный вынесенными вперед по ходу корпуса боковыми стенками, регулируемый по высоте водосливный гребень, установленный на входе мусоросборочного резервуара, насосы для откачки воды и нефти, кабину, отличающийся тем, что он имеет наклонный эскалатор, размещенный над подвижной шторкой с водосливным гребнем и снабженный дополнительными мотор-редукторами для перемещений конца эскалатора в вертикальной плоскости, закрепленный на кабине кран для выгрузки твердого мусора из мусоросборочного резервуара, направляющие боновые заграждения, снабженные двухсторонними гребнями.
2. Мусороподборщик по п. 1, отличающийся тем, что направляющие боновые заграждения скреплены с плавучим корпусом шарнирно на вертикальных шкворнях с возможностью их снятия со шкворней.
3. Мусороподборщик по п. 1 или 3, отличающийся тем, что направляющие боновые заграждения выполнены из шарнирно сочлененных жестких труб с возможностью их крепления вдоль бортов мусороподборщика.
РИСУНКИ
|
|