|
|
(21), (22) Заявка: 2003102357/11, 29.01.2003
(24) Дата начала отсчета срока действия патента:
29.01.2003
(43) Дата публикации заявки: 20.08.2004
(45) Опубликовано: 20.07.2005
(56) Список документов, цитированных в отчете о поиске:
RU 18280 U1, 10.06.2001. RU 2149237 C1, 20.05.2000. EP 0985769, 15.03.2000.
Адрес для переписки:
214011, г.Смоленск, ул. Губенко, 26, ЗАО “Смоленский автоагрегатный завод АМО ЗИЛ”
|
(72) Автор(ы):
Демьянов С.В. (RU), Масягин А.В. (RU), Новиков В.А. (RU), Филатов Ю.В. (RU)
(73) Патентообладатель(и):
ЗАО “Смоленский автоагрегатный завод АМО ЗИЛ” (RU)
|
(54) МАШИНА ДОРОЖНАЯ С ПЕСКОРАЗБРАСЫВАЮЩИМ ОБОРУДОВАНИЕМ, А ТАКЖЕ ЕЕ ГИДРОСИСТЕМА
(57) Реферат:
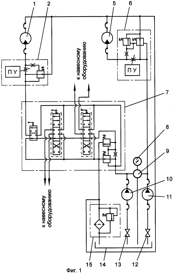
Изобретение относится к дорожным машинам для зимнего содержания дорог. Машина дорожная содержит пескоразбрасывающее оборудование, а также гидросистему, обеспечивающую осуществление техпроцессов. Гидропривод транспортера и разбрасывателя выполнен по двухконтурной схеме с гидронасосами, имеющими раздельно включаемый отбор мощности от двигателя для привода транспортера и разбрасывателя соответственно. В контур транспортера входят гидронасос, гидрораспределитель, регулятор потока, гидромотор транспортера, гидроцилиндры навесного оборудования. В контур разбрасывателя входят гидронасос, регулятор потока, гидромотор разбрасывателя. Технический результат – повышение надежности и снижение себестоимости. 2 ил.

Решение относится к дорожным машинам для зимнего содержания дорог.
Для обеспечения зимнего содержания дорог и улиц как зарубежными, так и российскими предприятиями выпускаются дорожные машины, оснащенные оборудованием для распределения противогололедных материалов, автоматическим управлением и контролем технологического процесса – это дорожные машины “SAB” фирмы “Шмидт”, МКДС-3П АО “Ряжский авторемонтный завод”, ЭД-405С АО “КДМ” г. Смоленск.
В гидросистеме фирмы “Шмидт” гидромоторы разбрасывателя и транспортера соединены последовательно одной напорной магистралью, в связи с чем скорость вращения разбрасывателя, а следовательно, ширина посыпаемой полосы дороги ограничена, особенно при малой скорости транспортера, то есть при малой плотности посыпки. Гидросистема дорожной машины с автоматическим управлением ЭД-405С АО “КДМ” г. Смоленск, полезная модель RU 18280 U1, выполнена по двухконтурной схеме, так же, как и гидросистемы многих отечественных машин, не имеющих автоматического регулирования (гидросистемы дорожных машин АО “Мценский завод”, и других предприятий). Контур разбрасывателя гидросистемы дорожной машины ЭД-405С состоит из гидронасоса, гидрораспределителя, регулятора потока и гидромотора. Наличие гидрораспределителя в контуре разбрасывателя снижает надежность гидросистемы и приводит к ее удорожанию.
Задачей, на решение которой направлено изобретение, является повышение надежности и снижение себестоимости.
Упомянутая задача достигается тем, что в коробке отбора мощности КОМ встроены две кулачковые муфты, обеспечивающие раздельное включение насосов контура разбрасывателя и транспортера. Поскольку функция автономного включения и выключения гидромотора разбрасывателя обеспечивается упомянутой КОМ, из контура гидропривода разбрасывателя может быть исключен гидрораспределитель.
На фиг.1 представлена гидравлическая схема дорожной машины. Она состоит из: гидромотора привода транспортера 1; регуляторов потока 2, 6; гидромотора привода разбрасывателя 5; гидрораспределителя 7; манометра 8; переключателя манометра 9; насоса шестеренного 10; насоса шестеренного 11; кранов 12, 13; гидробака 14; фильтра 15.
На фиг.2 представлена кинематическая схема дорожной машины с раздельным приводом насосов от 2-х кулачковых муфт КОМ.
Кинематическая схема фиг.2 состоит из: карданного вала 3; промежуточной опоры 4; насоса шестеренного 11; гидромотора привода транспортера 1; гидромотора привода разбрасывателя 5; разбрасывающего диска 18; транспортера 19; натяжного устройства 20; коробки передач 21; механизмов включения 22, 16; насоса шестеренного 10; коробки отбора мощности 17.
Гидросистема работает следующим образом: при срабатывании механизма включения 22 (фиг.2) шестеренный насос 10 (фиг.1) обеспечивает подачу масла в контур гидропривода транспортера и навесного оборудования 13, 10, 7, 2, 1, 15 (фиг.1). В этом режиме дорожная машина работает с транспортером и другим навесным оборудованием. При срабатывании механизма включения 16 (фиг.2) шестеренный насос 11 (фиг.1) обеспечивает подачу масла в контур гидропривода разбрасывателя 12, 11, 6, 5, 15 (фиг.1). Для работы в режиме посыпки противогололедными материалами включены оба контура гидросистемы.
Формула изобретения
Машина дорожная с пескоразбрасывающим оборудованием, а также ее гидросистема, отличающаяся тем, что гидропривод транспортера и разбрасывателя выполнен по двухконтурной схеме, содержащей гидронасосы, имеющие раздельно включаемый отбор мощности от двигателя дорожной машины для привода транспортера и разбрасывателя соответственно, регуляторы потока и гидрораспределитель в контуре транспортера.
РИСУНКИ
MM4A Досрочное прекращение действия патента Российской Федерации на изобретение из-за неуплаты в установленный срок пошлины за поддержание патента в силе
Дата прекращения действия патента: 30.01.2005
Извещение опубликовано: 20.09.2006 БИ: 26/2006
|
|