|
|
(21), (22) Заявка: 2003124642/12, 09.11.2002
(24) Дата начала отсчета срока действия патента:
09.11.2002
(30) Конвенционный приоритет:
11.12.2001 (пп.1, 2) KR 2001-78227 17.04.2002 (п.3) KR 2002-20892
(43) Дата публикации заявки: 10.10.2004
(45) Опубликовано: 20.07.2005
(56) Список документов, цитированных в отчете о поиске:
US 5031676 А, 16.07.1991. US 5431205 А, 11.08.1995. GB 2022979 А, 19.12.1979. SU 116557 A2, 01.01.1958. US 4253501 A, 03.03.1981.
(85) Дата перевода заявки PCT на национальную фазу:
08.08.2003
(86) Заявка PCT:
KR 02/02086 (09.11.2002)
(87) Публикация PCT:
WO 03/050032 (19.06.2003)
Адрес для переписки:
103735, Москва, ул. Ильинка, 5/2, ООО “Союзпатент”, пат.пов. Л.С.Кишкиной
|
(72) Автор(ы):
ЛИ Йеон Сеок (KR)
(73) Патентообладатель(и):
БАНПО МАРКЕТИНГ КО., Лтд. (KR)
|
(54) УСТРОЙСТВО ДЛЯ РОЗЛИВА БУТЫЛОЧНОЙ ВОДЫ (ВАРИАНТЫ)
(57) Реферат:
Устройство предназначено для розлива бутылочной воды. Это устройство для розлива включает в себя опору бутылки для воды, герметизирующую крышку и коллектор. Опора бутылки устанавливается на ее горлышке и включает в себя стерилизующее средство, воздухоподсосную трубку, колпачок, имеющий водовыпускное отверстие, закрывающий элемент и упругий элемент. На отверстии дозатора бутылочной воды устанавливается воронкообразная герметизирующая крышка для заключения в этой крышке опоры бутылки, а на краю этой крышки предусмотрен фланец, поддерживаемый отверстием дозатора бутылочной воды. Этот фланец выполнен заодно с герметизирующим элементом. В центр дна герметизирующей крышки плотно вставляется коллектор для соединения с резервуарами горячей и холодной воды. Этот коллектор выступает вверх из дна герметизирующей крышки для подъема закрывающего элемента опоры бутылки и открывания водовыпускного отверстия этой опоры. Устройство позволяет предотвратить бактериальное загрязнение напитка при розливе и имеет компактную конструкцию. 2 н. и 1 з.п. ф-лы, 8 ил.

Настоящее изобретение относится в основном к устройству для розлива бутылочной воды, а более конкретно – к устройству для розлива бутылочной воды, в котором на бутылку для воды установлена опора бутылки для воды с целью предотвращения утечки бутылочной воды, а также предусмотрена герметизирующая крышка для предотвращения контакта бутылочной воды с внешним воздухом, вследствие чего предотвращается бактериологическое загрязнение бутылочной воды.
Как известно, бутылочная вода является очищенной водой, которая содержит неорганические вещества, такие как минералы, и поэтому полезна для организма человека. Вместе с тем бутылочная вода в отличие от кипяченой воды может быть легко загрязнена вредными бактериями в процессе хранения в бутылке для воды и розлива из этой бутылки.
Между тем бутылочную воду поставляют в жилые дома или офисы в закупоренной бутылке для воды, а эту бутылку для воды открывают и вставляют в отверстие дозатора бутылочной воды для обеспечения подачи горячей или холодной воды. Когда бутылку для воды вставляют в дозатор бутылочной воды, бутылочная вода может беспрепятственно выливаться из бутылки для воды. Кроме того, когда бутылку для воды вставляют в дозатор бутылочной воды, возможна беспрепятственная инфильтрация загрязненного воздуха в эту бутылку для воды, вследствие чего бактерии могут беспрепятственно загрязнить бутылочную воду, содержащуюся в бутылке для воды.
Поэтому настоящее изобретение сделано с учетом вышеупомянутых проблем, существующих в известном уровне техники, а задача настоящего изобретения состоит в том, чтобы разработать устройство для розлива бутылочной воды, в котором воздухо-подсосная трубка расположена в плотном контакте с внутренней поверхностью опоры бутылки для воды, не открываясь наружу, герметизирующая крышка, включающая в себя герметизирующий элемент, установлена на отверстии дозатора бутылочной воды и введена в плотный контакт с опорой бутылки для воды, а коллектор, соединяемый с резервуарами горячей и холодной воды, вставлен в центр герметизирующей крышки для подъема закрывающего элемента опоры бутылки для воды верхним концом коллектора с целью избирательного открывания и закрывания водовыпускного отверстия опоры бутылки для воды. Вследствие этого оказывается возможной разработка устройства для розлива бутылочной воды, при наличии которого отверстие дозатора бутылочной воды полностью закупоривается герметизирующей крышкой, предотвращая бактериальное загрязнение, воздухозаборная трубка не открывается наружу, что обеспечивает безукоризненный внешний вид и не создает необходимость изменения имеющегося дозатора бутылочной воды, а коллектор вставлен в герметизирующую крышку, устраняя потребность в отдельном водовыпускном патрубке, выходящем из устройства для розлива бутылочной воды, а значит – и обеспечивая компактную конструкцию для розлива воды.
Чтобы решить вышеупомянутую задачу, предложено устройство для розлива бутылочной воды, включающее в себя опору бутылки для воды, устанавливаемую на горлышке бутылки для воды, при этом опора бутылки для воды включает в себя стерилизующее средство, воздухоподсосную трубку, изогнутую для введения в плотный контакт с внутренней поверхностью опоры бутылки для воды, колпачок, имеющий водовыпускное отверстие, закрывающий элемент, предназначенный для избирательного открывания и закрывания водовыпускного отверстия, и упругий элемент, предназначенный для упругого опирания закрывающего элемента, при этом устройство также содержит воронкообразную герметизирующую крышку, устанавливаемую на отверстии дозатора бутылочной воды для заключения в этой крышке опоры бутылки для воды, устанавливаемой на бутылке для воды, при этом на краю герметизирующей крышки предусмотрен фланец, поддерживаемый отверстием дозатора бутылочной воды, причем этот фланец выполнен за одно целое с герметизирующим элементом, и коллектор, плотно вставляемый в центр дна герметизирующей крышки и соединяемый с резервуарами горячей и холодной воды, при этом коллектор выступает вверх из дна герметизирующей крышки для подъема закрывающего элемента опоры бутылки для воды и открывания водовыпускного отверстия этой опоры бутылки для воды.
Вышеизложенные и другие задачи, признаки и другие преимущества настоящего изобретения станут более понятными из нижеследующего подробного описания, приводимого со ссылками на прилагаемые чертежи, на которых:
фиг.1 – перспективное изображение с пространственным разделением деталей устройства для розлива бутылочной воды в соответствии с настоящим изобретением,
фиг.2 – разрез опоры бутылки для воды в соответствии с настоящим изобретением,
фиг.3 – разрез герметизирующей крышки в соответствии с настоящим изобретением,
фиг.4 – разрез средства предотвращения подсоса воды в соответствии с настоящим изобретением,
фиг.5 – разрез дозатора бутылочной воды, оснащенного устройством для розлива бутылочной воды в соответствии с настоящим изобретением,
фиг.6 – разрез герметизирующей крышки в соответствии с еще одним конкретным вариантом осуществления настоящего изобретения,
фиг.7 – перспективное изображение толкающего элемента в соответствии со вторым конкретным вариантом осуществления настоящего изобретения,
фиг.8 – разрез дозатора бутылочной воды, оснащенного устройством для розлива бутылочной воды в соответствии со вторым конкретным вариантом осуществления настоящего изобретения.
Обратимся теперь к чертежам, где одинаковые позиции на всех чертежах используются для обозначения одних и тех же или аналогичных компонентов.
Ниже, со ссылками на прилагаемые чертежи, приводится подробное описание устройств для розлива бутылочной воды в соответствии с конкретными вариантами осуществления настоящего изобретения.
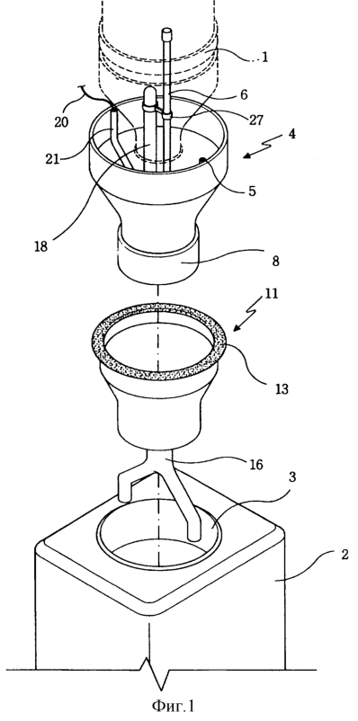
Как показано на фиг.1-3, устройство для розлива бутылочной воды в соответствии с настоящим изобретением включает в себя опору 4 бутылки для воды, герметизирующую крышку 11 и коллектор 16.
Опора 4 бутылки для воды установлена на горлышке бутылки 1 для воды. Опора 4 бутылки для воды включает в себя стерилизующее средство, предназначенное для стерилизации внутреннего пространства бутылки 1 для воды, воздухоподсосную трубку 6, на первом конце которой предусмотрен воздушный фильтр 5, а на втором конце – средство предотвращения подсоса воздуха, колпачок 8, внутри которого имеется незаполненное пространство и который снабжен водовыпускным отверстием 7, закрывающий элемент 9, вставленный вертикально с возможностью перемещения для избирательного открывания и закрывания водовыпускного отверстия 7, и упругий элемент 10, предназначенный для упругого опирания закрывающего элемента 9. Воздухоподсосная трубка 6 изогнута для введения в плотный контакт с внутренней поверхностью опоры 4 бутылки для воды.
С целью размещения опоры 4 бутылки для воды, устанавливаемой на бутылке 1 для воды, на отверстии 3 дозатора 2 бутылочной воды установлена воронкообразная герметизирующая крышка 11. На краю этой герметизирующей крышки 11 предусмотрен фланец 12, который удерживается в отверстии 3 дозатора 2 бутылочной воды. Фланец 12 выполнен заодно с опорой 4 бутылки для воды, устанавливаемой на бутылке 1 для воды.
В центр дна герметизирующей крышки 11 плотно вставлен коллектор 16, соединяемый с резервуарами 14 и 15 горячей и холодной воды. Коллектор 16 выступает вверх из дна герметизирующей крышки 11 для подъема закрывающего элемента 9 опоры 4 бутылки для воды и открывания водовыпускного отверстия 7 опоры 4 бутылки для воды, причем сбоку на коллекторе выше дна герметизирующей крышки предусмотрена совокупность водовыпускных отверстий 17.
В этом случае стерилизующее средство имеет конструкцию, в которой в кварцевой трубке 18 заключена лампа 19 ультрафиолетового излучения. Вдоль боковой стенки опоры 4 бутылки для воды по защитной трубке 21 выходит наружу токопроводящий проводник 20. Как показано на фиг.4, средство предотвращения подсоса воды включает в себя полый колпачок 22, прикрепленный ко впускному концу воздухоподсосной трубки 6, шарик 23, вставленный в возможностью вертикального перемещения в полый колпачок 22, перегородку 25, снабженную воздухоподсосным отверстием 24, которое избирательно открывается и закрывается шариком 23, и упор 26, предназначенный для ограничения расстояния, на которое может перемещаться шарик 23.
Кроме того, на герметизирующей крышке 11 и коллекторе 16 нарезаны резьбы 11a и 16а соответственно, при этом коллектор 16 соединен с резервуаром 14 горячей воды и резервуаром 15 холодной воды, а герметизирующая крышка 11 плотно закреплена вокруг коллектора 16. Между кварцевой трубкой 18 и воздухоподсосной трубкой 6 может быть установлена опорная планка 27 для поддержания постоянного интервала между ними.
Позиции 14а и 15а обозначают предохранительные клапаны, которые соединены соответственно с резервуарами 14 и 15 горячей и холодной воды и служат для поддержания надлежащего давления посредством сброса давления, когда к этим резервуарам 14 и 15 горячей и холодной воды приложено избыточное давление.
Когда бутылку 1 для воды открывают и устанавливают в опору 4 бутылки для воды, оснащенную стерилизующим средством и воздухоподсосной трубкой 6, закрывающий элемент 9 закрывает водовыпускное отверстие 7 пробки 8. Кроме того, шарик 23 средства предотвращения подсоса воды закрывает воздухоподсосное отверстие 24, выполненное в перегородке 25, под воздействием давления воздуха, создаваемого внутри воздухоподсосной трубки 6, вследствие чего предотвращается подсос воды в воздухоподсосную трубку 6.
Между тем герметизирующая крышка 11 установлена в отверстие 3 дозатора 2 воды. В этом случае коллектор 16 неподвижно соединяют с резервуарами 14 и 15 горячей и холодной воды перед установкой герметизирующей крышки 11 в отверстие 3 дозатора 2 бутылочной воды, а герметизирующую крышку 11 закрепляют вокруг коллектора 16 путем свинчивания резьб 11а и 16а друг с другом. Когда герметизирующая крышка 11 полностью закреплена вокруг коллектора 16, фланец 12, выполненный вокруг верхнего края герметизирующей крышки 11, поддерживается краем отверстия 3 дозатора 2 бутылочной воды.
В этом состоянии, когда бутылку 1 для воды, закрытую опорой 4 бутылки для воды, вставляют в отверстие 3 дозатора 2 бутылочной воды, бутылка 1 для воды и опора 4 бутылки для воды толкают герметизирующий элемент 13, выполненный заодно с фланцем 12 герметизирующей крышки 11, когда внешнюю поверхность опоры 4 бутылки для воды вводят в контакт с краем герметизирующей крышки 11. Следовательно, опору 4 бутылки для воды и герметизирующую крышку 11 можно вводить в плотный контакт друг с другом, вследствие чего можно предотвратить бактериальное загрязнение, проникновение которого возможно через отверстие 3 дозатора 2 бутылочной воды. В то же время, когда бутылку 1 для воды устанавливают на отверстии 3 дозатора 2 бутылочной воды, т.е. в герметизирующей крышке 11, верхний конец коллектора 16, вставленный в центр дна герметизирующей крышки 11 и выступающий из нее, поднимает закрывающий элемент 9 опоры 4 бутылки для воды. Поэтому водовыпускное отверстие 7 опоры 4 бутылки для воды открывается, и бутылочная вода сначала выливается из бутылки 1 для воды в герметизирующую крышку 11, а после этого бутылочная вода, вылившаяся в герметизирующую крышку 11, выливается в коллектор 16 через водовыпускные отверстия 17, выполненные в коллекторе 16. В заключение бутылочная вода, вылившаяся в коллектор 16, протекает по этому коллектору 16 в резервуар 14 или 15 горячей или холодной воды. Поскольку водовыпускные отверстия 17 выполнены сбоку на коллекторе выше дна герметизирующей крышки 11, бутылочная вода, которая сначала выливается в эту крышку, не может оставаться внутри герметизирующей крышки 11, вследствие чего вся вылившаяся вода вытекает в резервуар 14 или 15 горячей или холодной воды.
В этом случае для постепенного розлива бутылочной воды из бутылки 1 для воды в эту бутылку 1 для воды нужно подавать воздух извне. Этот воздух подают по воздухоподсосной трубке 6. Поскольку бутылочная вода, содержащаяся в бутылке 1 для воды, может быть загрязнена, если в бутылку 1 для воды подается загрязненный воздух, на впускном конце воздухоподсосной трубки 6 предусмотрен воздушный фильтр 5, обеспечивающий подачу свежего воздуха, не содержащего бактерий, в бутылку 1 для воды. Когда воздух течет в бутылку 1 для воды по воздухоподсосной трубке 6, шарик 23 средства предотвращения подсоса воды, прикрепленного к выпускному концу воздухоподсосной трубки 6, поднимается под давлением воздуха и открывает воздухоподсосное отверстие 24 средства предотвращения подсоса воды. Поэтому становится возможным постепенное протекание свежего воздуха извне в бутылку 1 для воды, вследствие чего бутылочная вода может постепенно выливаться из бутылки 1 для воды. В этом случае воздух, поступающий извне, фильтруется воздушный фильтром 5 с целью очистки и совершенно не содержит бактерии, вследствие чего можно предотвратить инфильтрацию бактерий в бутылку 1 для воды. Кроме того, внутреннее пространство бутылки 1 для воды стерилизуется стерилизующим средством, то есть лампой 19 ультрафиолетового излучения, так что воду, содержащуюся в бутылке 1 для воды, можно поддерживать в стерильном состоянии.
Кроме того, когда бутылочная вода выливается из бутылки 1 для воды, эта бутылочная вода должна входить в контакт со стерилизующим средством, то есть лампой 19 ультрафиолетового излучения, чтобы с помощью этой лампы 19 ультрафиолетового излучения можно было уничтожить любые остаточные бактерии. Следовательно, можно обеспечить пользователю возможность розлива стерилизованной бутылочной воды, не содержащей бактерии, так что этот пользователь всегда сможет пить безопасную и чистую воду.
Помимо этого, воздухоподсосная трубка 6 введена в плотный контакт с внутренней поверхностью боковой стенки опоры 4 бутылки для воды, не выходя наружу, поэтому преимущество настоящего изобретения заключается в том, что его можно применить к существующему дозатору бутылочной воды, не изменяя этот дозатор.
Когда бутылку 1 для воды и опору 4 бутылки для воды извлекают из дозатора 2 бутылочной воды, чтобы заменить эту бутылку 1 для воды новой бутылкой, переместить дозатор 2 бутылочной воды в другое место или почистить дозатор 2 бутылочной воды, закрывающий элемент 9, поднимаемый верхним концом коллектора 16 герметизирующей крышки 11, возвращается в свое исходное положение под действием силы упругости упругого элемента 10 и снова закрывает водовыпускное отверстие 7. Поэтому можно предотвратить утечку бутылочной воды, благодаря чему настоящее изобретение обеспечивает безопасность и удобство эксплуатации.
Фиг.6-8 иллюстрируют еще один конкретный вариант осуществления в соответствии с настоящим изобретением. В центре дна воронкообразной герметизирующей крышки 11 имеется ступенчатая часть 28 водовыпускной трубки, в эту ступенчатую часть 28 водовыпускной трубки вставлен толкающий элемент 101, а вниз от ступенчатой части 28 водовыпускной трубки проходит полый выступ 11b. В толкающем элементе 101 имеются лопатки 102, расположенные в двух или более направлениях, образуя между собой водовыпускные каналы 103, а в нижних частях лопаток 103 сделаны вырезы для удержания ступенчатой части 28 воздухоподсосной трубки. Полый выступ 11b установлен в коллектор 16, который соединен с резервуарами 14 и 15 горячей и холодной воды.
В этом состоянии, когда бутылку 1 для воды, закрытую опорой 4 бутылки для воды, вставляют в отверстие 3 дозатора 2 бутылочной воды, опора 4 бутылки для воды и бутылка 1 для воды толкают герметизирующий элемент 13, выполненный за одно целое с фланцем 12 герметизирующей крышки 11, когда внешняя поверхность опоры 4 бутылки для воды вводится в контакт с краем герметизирующей крышки 11. Следовательно, опору 4 бутылки для воды и герметизирующую крышку 11 можно вводить в плотный контакт друг с другом, вследствие чего можно предотвратить бактериальное загрязнение, проникновение которого возможно через отверстие 3 дозатора 2 бутылочной воды. В то же время, когда бутылку 1 для воды устанавливают в отверстие 3 дозатора 2 бутылочной воды, т.е. на герметизирующей крышке 11, верхний конец коллектора 16, вставленный в центр дна герметизирующей крышки 11 и выступающий из нее, поднимает закрывающий элемент 9 опоры 4 бутылки для воды. Поэтому водовыпускное отверстие 7 опоры 4 бутылки для воды открывается, и бутылочная вода сначала выливается из бутылки 1 для воды в герметизирующую крышку 11, а после этого бутылочная вода, вылившаяся в герметизирующую крышку 11, выливается в коллектор 16 через водовыпускные каналы 103, образованные между ребрами 102 толкающего элемента 101. В заключение, бутылочная вода, вылившаяся в коллектор 16, протекает по этому коллектору 16 в резервуар 14 или 15 холодной или горячей воды.
Второй конкретный вариант осуществления настоящего изобретения позволяет добиться таких же эффектов, как первый вариант осуществления настоящего изобретения, а заключаются эти эффекты в удобстве использования устройств, являющемся следствием того, что во время установки бутылки 1 для воды на дозаторе 2 бутылочной воды предотвращается утечка бутылочной воды и обеспечивается ее постепенный розлив. Недостаток этого второго конкретного варианта осуществления заключается в том, что нужно отдельно изготавливать толкающий элемент 101, а преимущество заключается в том, что не нужно выполнять резьбу 11а на герметизирующей крышке 11, что обеспечивает упрощение изготовления устройства. Кроме того, не требуется специальная конфигурация коллектора 16, который изготовлен из гибкого материала с возможностью беспрепятственной установки на герметизирующей крышке 11, что упрощает его изготовление и снижает производственные затраты.
Как описано выше, в настоящем изобретении предложено устройство для розлива бутылочной воды, при наличии которого инфильтрация бактерий в бутылку для воды полностью предотвращается, потому что отверстие дозатора бутылочной воды, закрываемое герметизирующей крышкой, вводится в плотный контакт с опорой бутылки для воды, устанавливаемой на бутылке для воды, когда эту бутылку для воды устанавливают на дозаторе бутылочной воды. Кроме того, распространение бактерий предотвращается, а их проникновение исключается с помощью стерилизующего средства и воздухоприемного средства, предусмотренных в опоре бутылки для воды, и при этом пользователь может беспрепятственно осуществлять розлив бутылочной воды и пить ее, потому что водовыпускное отверстие открывается, когда бутылку для воды, закрытую опорой бутылки для воды, вставляют в герметизирующую крышку, установленную на дозаторе бутылочной воды. Помимо этого, воздухоподсосная трубка, которая ограничивает канал воздуха, когда этот воздух течет в бутылку для воды, облегчая розлив бутылочной воды, выполнена с изгибом для введения в плотный контакт с внутренней поверхностью опоры бутылки для воды, так что устройство согласно настоящему изобретению имеет безукоризненный внешний вид и легко может быть применено к существующим дозаторам бутылочной воды без изменения конфигурации.
Хотя в иллюстративных целях были описаны предпочтительные конкретные варианты осуществления настоящего изобретения, специалисты в данной области техники поймут, что в рамках объема притязаний изобретения, ограниченного прилагаемой формулой изобретения, возможны различные изменения, дополнения и замены.
Формула изобретения
1. Устройство для розлива бутылочной воды, содержащее опору бутылки для воды, устанавливаемую на горлышке бутылки для воды, при этом опора бутылки для воды включает в себя стерилизующее средство, предназначенное для стерилизации внутреннего пространства бутылки для воды, воздухо-подсосную трубку, имеющую на первом конце воздушный фильтр, а на втором конце – средство предотвращения подсоса воздуха, и изогнутую для введения в плотный контакт с внутренней поверхностью опоры бутылки для воды, колпачок, в котором имеется незаполненное пространство и водовыпускное отверстие, закрывающий элемент, вставленный вертикально с возможностью перемещения в водовыпускное отверстие для избирательного открывания и закрывания водовыпускного отверстия, и упругий элемент, предназначенный для упругого опирания закрывающего элемента, воронкообразную герметизирующую крышку, устанавливаемую на отверстии дозатора бутылочной воды для заключения в этой крышке опоры бутылки для воды, устанавливаемой на бутылке для воды, при этом на краю герметизирующей крышки предусмотрен фланец, поддерживаемый отверстием дозатора бутылочной воды, причем этот фланец выполнен заодно с герметизирующим элементом для обеспечения введения герметизирующей крышки в плотный контакт с опорой бутылки для воды, устанавливаемой на бутылке для воды, и
коллектор, плотно вставляемый в центр дна герметизирующей крышки и соединяемый с резервуарами горячей и холодной воды, при этом коллектор выступает вверх из дна герметизирующей крышки для подъема закрывающего элемента опоры бутылки для воды и открывания водовыпускного отверстия этой опоры бутылки для воды, а сбоку на коллекторе выше дна герметизирующей крышки предусмотрена совокупность водовыпускных отверстий.
2. Устройство для розлива бутылочной воды по п.1, в котором герметизирующая крышка и коллектор взаимно соединены друг с другом посредством резьбового соединения.
3. Устройство для розлива бутылочной воды, содержащее опору бутылки для воды, устанавливаемую на горлышке бутылки для воды, при этом опора бутылки для воды включает в себя стерилизующее средство, предназначенное для стерилизации внутреннего пространства бутылки для воды, воздухо-подсосную трубку, имеющую на первом конце воздушный фильтр, а на втором конце – средство предотвращения подсоса воздуха, колпачок, в котором имеется незаполненное пространство и водовыпускное отверстие, закрывающий элемент, вставленный вертикально с возможностью перемещения в водовыпускное отверстие для избирательного открывания и закрывания водовыпускного отверстия, и упругий элемент, предназначенный для упругого опирания закрывающего элемента, при этом воздухо-подсосная трубка изогнута для обеспечения введения ее в плотный контакт с внутренней поверхностью опоры бутылки для воды, воронкообразную герметизирующую крышку, устанавливаемую на отверстии дозатора бутылочной воды для заключения в этой крышке опоры бутылки для воды, устанавливаемой на бутылке для воды, при этом на краю герметизирующей крышки предусмотрен фланец, поддерживаемый отверстием дозатора бутылочной воды, а в центре дна этой крышки предусмотрена ступенчатая часть водовыпускной трубки, причем фланец выполнен заодно с герметизирующим элементом для обеспечения введения герметизирующей крышки в плотный контакт с опорой бутылки для воды, устанавливаемой на бутылке для воды, при этом внутри ступенчатой части водовыпускной трубки предусмотрен толкающий элемент, сама эта часть соединена с полым выступом, а толкающий элемент включает в себя ребра, расположенные в двух или более направлениях, образуя между собой водовыпускные каналы, и вырезы, сделанные в нижних частях лопаток для удержания в ступенчатой части водовыпускной трубки, и
коллектор, плотно устанавливаемый вокруг полного выступа герметизирующей крышки и предназначенный для соединения резервуарами горячей и холодной воды.
РИСУНКИ
|
|