|
|
(21), (22) Заявка: 2004113869/11, 05.05.2004
(24) Дата начала отсчета срока действия патента:
05.05.2004
(45) Опубликовано: 20.07.2005
(56) Список документов, цитированных в отчете о поиске:
SU 954357 A1, 30.08.1982. SU 962179 A1, 30.09.1982. DE 1236154 B, 09.03.1967. DE 19909466 A1, 07.10.1999.
Адрес для переписки:
614095, г.Пермь, ул. Сивкова, 3А, кв.7, Н.В.Емельянову
|
(72) Автор(ы):
Емельянов Н.В. (RU)
(73) Патентообладатель(и):
Емельянов Николай Витальевич (RU)
|
(54) УСТРОЙСТВО ДЛЯ ЗАМЕНЫ ХОДОВЫХ КОЛЕС БАЛАНСИРНЫХ ТЕЛЕЖЕК КРАНА
(57) Реферат:
Изобретение относится к подъемно-транспортному оборудованию, а именно к устройствам для замены колес ведущих и ведомых ходовых тележек грузоподъемного крана. Устройство содержит стол с установленным на нем домкратом, кольцевую раму и флюгера, соединенные осями, вставленными в проушины кольцевой рамы и проходящими через флюгера, которые имеют захваты для взаимодействия с балансирными тележками. Упор соединен со столом и устанавливается между головкой рельса и рамой поднимаемой балансирной тележки крана, содержащей оси крепления балансирной тележки крана в устройстве, позволяющие совершать движение балансирной тележки в вертикальной плоскости. Шкворень с выточкой и пальцем устанавливается во флюгер устройства и позволяет осуществлять перемещение балансирной тележки крана в горизонтальной плоскости и закреплять ее под углом к продольной оси флюгера. Указанный угол установки имеет переменное значение, при этом позволяющий совершать движения в горизонтальной плоскости. Технический результат – расширение технологических возможностей, увеличение производительности и безопасности проводимых работ. 9 ил.

Изобретение относится к области промышленной безопасности опасных производственных объектов, а именно к оборудованию для замены колес ведущих и ведомых ходовых тележек грузоподъемного крана.
Известно устройство для замены ходовых тележек крана, состоящего из ходовой рамы, состоящей из кольцевой рамы, поворотной платформы, башни, стрелы, двух ведущих и двух ведомых ходовых тележек, состоящее из деревянного настила, домкрата, шпал (шпальной клетки), флюгера (Техническое описание КБ-05-1А.00.00.000 ТО, с.61-63 п.14“Указания по текущему ремонту”).
Устройство работает следующим образом. Разворачивают поворотную платформу, установив противовес над тележкой, расположенной по диагонали от снимаемой. Опускают стрелу вниз до натяжения монтажных оттяжек стрелы. (Операция по опусканию стрелы производится в соответствии с инструкцией по монтажу КБ-405-1А.00.00.000 ИМ). Под проушиной кольцевой рамы со стороны снимаемой тележки выкладывается шпальная клетка, приподнимается домкратом флюгер ходовой рамы на 20 мм, между шпальной клеткой и проушиной кольцевой рамы плотно подбиваются металлические прокладки, выбивается ось тележки, тележка выкатывается.
Недостатками известного устройства являются:
– неустойчивое положение крана, так как при подъеме выбираются зазоры в шарнирных соединениях кольцевая рама – флюгер, флюгер – ходовая тележка, тележка поднимается и выходит из контакта с опорной поверхностью рельса. Таким образом, тележка находится в подвешенном состоянии без опоры на рельс. Кран имеет опору на три оставшиеся тележки и шпальную клетку, что небезопасно для производства работ при снятии тележки, так как для облегчения подъема противовес устанавливается на тележку, противоположную от снимаемой;
– неоправданно высокая трудоемкость при необходимости замены одного колеса из пары, то есть низкая производительность проводимых работ;
– подъема флюгера домкратом на 20 мм недостаточно для выхода колеса из контакта с опорой поверхностью, так как высота реборды равна 20 мм.
Наиболее близким к предлагаемому изобретению является устройство для замены ходовых колес балансирных тележек крана (SU а.с. 954357 А1, МКИ В 66 С 9/12, опубл. 30.08.82 г., Бюл. № 32), содержащее домкрат, расположенный в средней части концевой балки крана и соединенный посредством тяги с концом одного из главных балансиров, устройство снабжено упорными площадками, закрепленными в средней части концевой балки, коромыслом, установленным на оси и соединенным с домкратом тягой, выполненной гибкой, а также блоками, смонтированными на концевой балке по обе стороны каждого главного балансира, причем домкрат закреплен посредством быстросъемных соединений на одной из площадок, а тяга сопряжена с одним из блоков. Функция концевой балки состоит в креплении главных балансиров, размещенных параллельно концевой балке, в каждом из которых размещены по две балансирные тележки через оси крепления балансирных тележек, позволяющих совершать движения в вертикальной плоскости. Согласно определению термина балансир означает “…двуплечий (реже одноплечий) рычаг, совершающий качательные движения около неподвижной оси; служит для передачи (или уравновешивания) усилий на присоединенные к нему тяги в насосах, буровых станках, весах и др…” (Политехнический словарь. М., 1980 г., изд-во “Советская энциклопедия” с.45).
Положительным в известном устройстве является то, что при ремонте ходовых колес из пары балансирных тележек одна из балансирных тележек сохраняет контакт с опорной поверхностью, поэтому устойчивое положение крана не нарушается.
Но при этом конструкция для подъема тележек достаточно громоздкая из-за наличия системы блоков, рычагов, канатов, упорных площадок, для установки которых требуется доработка базовой конструкции, одновременно снижается надежность работы устройства.
Кроме того, домкрат “Домкрат – переставной механизм для подъема грузов на небольшую высоту при воздействии на груз снизу” (Правила устройства и безопасной эксплуатации грузоподъемных кранов ПБ 10-382-00. Приложение 2, Термины и определения, с.120, п.5.2.1, изд-во НПК “Апрохим”, г.Москва, 2001 г.). Согласно определения домкрата домкратом фактически разрешается работать только в вертикальном направления, то есть его основное назначение – подставить и поднять, иначе – подъем грузов только снизу.
Недостатком является то, что устройство для замены ходовых колес балансирных тележек крана конструктивно выполнено с осью крепления балансирной тележки, позволяющей совершать движения только в вертикальной плоскости.
Задача настоящего изобретения заключается в расширении технологических возможностей, увеличении производительности и безопасности проводимых работ без внесения дополнительных узлов в базовые элементы крана.
Указанная цель достигается тем, что устройство для замены ходовых колес балансирных тележек крана, содержащее оси крепления балансирной тележки крана, позволяющие совершать движение балансирной тележки в вертикальной плоскости, домкрат, согласно изобретению содержит стол с установленным на нем домкратом, кольцевую раму и флюгера, соединенные осями, вставленными в проушины кольцевой рамы и проходящими через флюгера, которые имеют захваты для взаимодействия с балансирными тележками, и упор, соединенный со столом и устанавливаемый между головкой рельса и рамой поднимаемой балансирной тележки крана, шкворень с выточкой и пальцем, устанавливаемый во флюгер устройства и позволяющий осуществлять перемещение балансирной тележки крана в горизонтальной плоскости и закреплять ее под углом к продольной оси флюгера, при этом указанный угол установки имеет переменное значение.
Кроме того, угол установки – это угол между боковыми поверхностями флюгера и вертикальной поверхностью рамы.
Для пояснения сущности предлагаемого изобретения представлены чертежи.
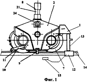
На фиг.1 изображен общий вид устройства для замены ходовых колес (далее – колес) балансирных тележек крана во взаимодействии с ведомой балансирной тележкой; на фиг.2 – то же вид сверху; на фиг.3 – то же, вид сбоку при подъеме балансирной тележки; на фиг.4 – сечение В-В – шарнирное соединиение флюгера и кольцевой рамы; на фиг.5 – сечение А-А, шарнирное соединение балансирной тележки и флюгера; на фиг.6 – положение балансирной тележки при развороте рельса на 90°, на фиг.7 изображено положение балансирных тележек при условии использования а.с. 954357 (условно показано положение систем блоков), на фиг.8а показана ведущая балансирная тележка, вид сверху, на фиг.8б – ведущая балансирная тележка, вид сбоку, на фиг.9 показаны углы и расположения балансирных тележек по отношению к флюгеру во время работы крана.
Устройство для замены ходовых колес балансирных тележек крана, далее – устройство (фиг.1) состоит из навесного оборудования, включающего в себя приспособление в виде захвата 1 для взаимодействия с рамами 2 балансирных тележек 3, 4, 5, 6, две из которых являются ведущими 3, 4 и две – ведомыми 5, 6. Каждая балансирная тележка 3, 4, 5, 6 имеет по два ходовых колеса 7. Все четыре балансирные тележки 3, 4, 5, 6 могут быть выполнены ведущими. Каждая балансирная тележка содержит шкворень 8, рельсовый захват 9, сбрасывающий плужок 10, противоугонный упор 11. Между приспособлением в виде захвата 1 и столом 12 установлен домкрат 13. Стол 12 для установки домкрата 13 установлен на головку рельса 14 с дополнительной опорой на подрельсовые опорные элементы (полушпалы, бетонные балки не показаны). Со столом 12 соединен (например, тросом) упор 15 для установки между головкой рельса и рамой поднимаемой балансирной тележки с целью закрепления балансирной тележки в поднятом состоянии.
Балансирная тележка 3, 4, 5 или 6 устанавливается во втулку флюгера 16, связанного с кольцевой рамой 17, узлы соединения выполнены в виде осевых шарниров, показанных на Фиг.4, 5. Флюгер 16 соединен с кольцевой рамой 17, в проушины 18 кольцевой рамы вставлена ось 19, позволяющая совершать движение в горизонтальной плоскости. Узлы соединения, выполненные шарнирами, в рабочем положении зафиксированы трубчатыми подкосами 20.
Шкворень 8 имеет выточку 21 (фиг.5) и палец 22.
Положение пальца 22 ограничивает перемещение каждой из имеющихся балансирных тележек в вертикальной плоскости, например, до 50 мм для компенсации неровности рельсового пути.
Шкворень 8, выточка 21 и палец 22 также обеспечивают перемещение балансирных тележек в горизонтальной плоскости.
Ведущая балансирная тележка 3, 4 отличается от ведомой 5, 6 тем, что имеет привод, ведущую и две ведомых шестерни 23, закрывающиеся кожухом. Балансирные тележки снабжены осями крепления 24, позволяющими совершать движения в вертикальной плоскости.
Устройство для замены ходовых колес балансирных тележек крана (фиг.3) работает следующим образом (башня, противовес и стрела не показаны).
Противоугонными упорами 11 фиксируются три балансирные тележки 3, 4, 6, кроме ведомой балансирной тележки 5, предполагаемой к замене ходового колеса 7. Разворачивают поворотную платформу, установив противовес над балансирной тележкой 6, расположенной по диагонали от неисправной балансирной тележки 5, для снятия части нагрузки с поднимаемой балансирной тележки 5.
Для замены ходового колеса 7 с балансирной тележки 5 (фиг.1) снимается сбрасывающий плужок 10 и рельсовый захват 9, на раму 2 балансирной тележки 5 со стороны ходового колеса 7 устанавливается приспособление в виде захвата 1, на рельсовый путь, например, на расстоянии 100-150 мм от крайней точки колеса 7 устанавливают стол 12. Стол 12 – это площадка для установки домкрата на рельсовый путь, выполнена в виде параллелепипеда с фигурным вырезом в продольном сечении по форме рельса.
Между столом 12 и приспособлением в виде захвата 1 устанавливают домкрат 13. После подъема балансирной тележки 5 на высоту, достаточную (например, 45 мм) для выхода ходового колеса 7 из рамы 2 балансирных тележек, между головкой рельса 14 и основанием рамы 2 устанавливается упор 15 (упор 15 – подкладка, например, 45 мм дает продольный и поперечный уклон на длине базы крана 6 м не более 0,0075 при условии, что рама жестко крепится к флюгеру. Это не противоречит требованиям ГОСТ Р 51248-99 “Пути наземные рельсовые крановые” в части требований по поперечному и продольному уклонам рельсового пути. При эксплуатации не более 0,01 (ГОСТ Р 51248-99 стр.8, таблица 2) домкрат 13 опускается, последовательно убирается захват 1, домкрат 13, стол 12, снимается колесо 7. Производится замена колеса 7.
Производится повторная установка предлагаемого устройства, подъем и освобождение упора 15, опускание рамы 2 балансирной тележки 5 с помощью домкрата 13, установка рельсового захвата 9 и сбрасывающего плужка 10, снятие противоугонных упоров 11 с балансирных тележек 3, 4, 6.
Для замены ходовых колес 7 ведущей балансирной тележки 3, 4 предварительно снимается кожух с шестерен и ведущая шестерня, в остальном поступают так, как описано выше.
В прототипе оси главного балансира и концевой балки всегда параллельны, смежные углы равны 90°.
Устройство по прототипу с системой рычагов, блоков и домкрата оправдано для балансирных тележек с одной степенью свободы, но для поднятия балансирных тележек применимо и предлагаемое изобретение. Предлагаемое по сравнению с прототипом проще и обладает большей полнотой.
В предлагаемом изобретении имеется непосредственный контакт балансирной тележки, приспособления захвата, домкрата и опорной поверхности стола, за счет чего дополнительная степень свободы – горизонтальная, установленная конструкцией балансирной тележки, устраняется без внесения конструктивных изменений в узлы крана. При этом устраняется возможность потери контакта балансирных тележек с опорной поверхностью стола и рельса, что обеспечивает безопасность работы.
Балансирный механизм предлагаемого изобретения отличается от прототипа, в котором балансирный механизм классический, то есть рычаг совершает качательные движения около неподвижной оси, то есть рычаг зажат в главном балансире, а в предлагаемом балансирный механизм другой, то есть рычаг совершает качательные движения около подвижной оси флюгера 8.
Недостатком известного устройства (а.с. 954357) является то, что в отличие от предлагаемого устройство по прототипу не может быть применено для замены ходовых колес балансирных тележек крана, состоящего из кольцевой рамы, поворотной платформы, башни, стрелы, двух ведущих и двух ведомых балансирных тележек (Фиг.7), то есть технологические возможности устройства ограничены, так как устройство по прототипу также не рассчитано для работы на криволинейных путях. При применении устройства по прототипу для замены ходовых колес невозможно обеспечить жесткость конструкции при длине флюгера 1,5-2,5 м (для различных типов кранов).
Недостатком прототипа является также недостаточная жесткость системы рычагов, тросов, блоков, что снижает надежность по сравнению с предлагаемым, что приводит к сложности выбора люфтов в данной конструкции прототипа, что снижает безопасность работ.
В предлагаемом изобретении по сравнению с прототипом отсутствует аналог концевой балки. В прототипе строго параллельно концевой балке устанавливаются главные балансиры. В предлагаемом изобретении введен шкворень – конструктивный элемент, позволяющий изменять направление (положение) в зависимости от требований и налагаемых ограничений (по направлениям перемещения крана).
Узлы соединения между флюгером 16 и проушинами кольцевой рамы 18 выполнены в виде шарниров с осью 19, флюгера в рабочем положении фиксируются дополнительными стяжками 20 – трубчатыми подкосами, обеспечивающими жесткость конструкции.
Для того чтобы обеспечить движение крана на закруглениях пути шкворень 8 ходовой тележки имеет выточку 21 с уменьшением диаметра, например, на 15 мм, что обеспечивает перемещения тележек 3, 4, 5, 6 в вертикальной и горизонтальной плоскостях, подвижность в вертикальной плоскости ограничивает палец 22. Установление шкворня 8 во флюгере 16 с возможностью вращения шкворня 8 дает возможность переводить тележки 3, 4, 5, 6 (фиг.6) на перпендикулярно уложенные рельсы. Применение прототипа при этом становится бесполезным.
В прототипе тележка приподнимается в вертикальной плоскости, поскольку ось крепления тележки в главном балансире позволяет совершать движения только в вертикальной плоскости, подвижность в горизонтальной плоскости отсутствует, исходя из этого применение системы блоков в прототипе оправдано.
Для изменения направления движения крана возможна укладка рельсового пути перпендикулярно ранее уложенному, при этом вся система должна быть динамична, как в предлагаемом изобретении. Статичные элементы – рычаги, тросы, блоки, используемые в конструкции по прототипу, неприменимы.
В прототипе ось главного балансира и балансирной ходовой тележки всегда параллельны.
Угол (фиг.9) между боковыми поверхностями флюгера и вертикальной плоскостью рамы балансирной тележки – величина переменная: на криволинейных путях внутренний угол увеличивается, внешний уменьшается, но один из углов всегда больше 90°, что очевидно при переходе на перпендикулярно уложенные пути (фиг.6).
Кроме того, угол между боковыми поверхностями флюгера и вертикальной плоскостью, параллельной боковой стенке рамы ходовой тележки, находится в пределах 45°< >135° в зависимости от направления движения и радиуса кривизны рельсовых путей.
На криволинейных путях с минимальным радиусом закругления внутреннего рельса 7 м угол меняется в пределах 67°< >123°.
Для замены колес ведущей и ведомой балансирных тележек крана применяется приспособление, выполненное в виде захвата – вертикально-горизонтального, домкрат, стол, упор. Устройство по прототипу с системой рычагов, блоков и домкрата оправдано для балансирных тележек с одной степенью свободы, предлагаемое устройство также решает эту задачу – поднятие балансирных тележек в вертикальном направлении. Но предлагаемая конструкция устройства проще конструкции устройства по прототипу и предоставляет более широкие технологические возможности.
В прототипе домкрат через блок поднимает тележку, а в предлагаемом устройстве имеется непосредственный контакт поднимаемой балансирной тележки, приспособления в виде захвата, домкрата и опорной поверхности стола. Дополнительная (горизонтальная) степень свободы, установленная конструкцией шкворня 8 балансирных тележек, в случае поднятия балансирной тележки устраняется конструкцией захвата 1, выполненного вертикально – горизонтальным, переставным, т.е. без внесения конструктивных изменений в узлы крана.
Предлагаемое устройство позволяет производить замену ходовых колес балансирных тележек на криволинейных путях, а также и при изменении направления движения крана на 90°, так как в отличие от прототипа в предлагаемом изобретении установлена дополнительная ось между тележкой и флюгером – шкворень 8 с выточкой уменьшенного диаметра и пальцем.
В предлагаемом устройстве, содержащем приспособление в виде захвата 1 для взаимодействия с балансирной тележкой, стола 12, упора 15 и домкрата 13, замена колес безопасна – поперечный и продольный уклоны при подъеме башенного крана не превышают значений, установленных требований ГОСТ Р 51248-99 для продольного и поперечного уклонов рельсового пути при эксплуатации. При подъеме балансирной тележки второе колесо не теряет контакт с головкой рельса и не происходит подъема флюгера, так как второе колесо пары совершает поступательное движение за счет вращения рамы 2 балансирной тележки 3, 4, 5, 6 на оси 24 пропорционально высоте подъема, сохраняя устойчивое положение крана (Фиг.3). Это обеспечивает безопасность проводимых работ без внесения дополнительных узлов в базовые элементы крана.
Формула изобретения
Устройство для замены ходовых колес балансирных тележек крана, содержащее оси крепления балансирной тележки крана, позволяющие совершать движение балансирной тележки в вертикальной плоскости, домкрат, отличающееся тем, что оно содержит стол с установленным на нем упомянутым домкратом, кольцевую раму и флюгеры, соединенные осями, вставленными в проушины кольцевой рамы и проходящими через флюгеры, которые имеют захваты для взаимодействия с балансирными тележками, и упор, соединенный со столом и устанавливаемый между головкой рельса и рамой поднимаемой балансирной тележки крана, шкворень с выточкой и пальцем, устанавливаемый во флюгер устройства и позволяющий осуществлять перемещение балансирной тележки крана в горизонтальной плоскости и закреплять ее под углом к продольной оси флюгера, при этом указанный угол установки имеет переменное значение.
РИСУНКИ
MM4A – Досрочное прекращение действия патента СССР или патента Российской Федерации на изобретение из-за неуплаты в установленный срок пошлины за поддержание патента в силе
Дата прекращения действия патента: 06.05.2006
Извещение опубликовано: 10.05.2007 БИ: 13/2007
|
|