|
(21), (22) Заявка: 2004102118/11, 28.01.2004
(24) Дата начала отсчета срока действия патента:
28.01.2004
(45) Опубликовано: 20.07.2005
(56) Список документов, цитированных в отчете о поиске:
RU 2055007 С1, 27.02.1996. SU 1765068 А1, 30.09.1992. US 4488834 А, 18.12.1984.
Адрес для переписки:
123182, Москва, пл. Курчатова, 1, здание 333, ООО “Подземгазпром”
|
(72) Автор(ы):
Борисов В.В. (RU), Хрулев А.С. (RU), Смирнов В.И. (RU), Горифьянов В.И. (RU), Игошин А.И. (RU), Салохин В.И. (RU), Сизоненко А.С. (RU), Василенко В.В. (RU), Литвинов С.А. (RU)
(73) Патентообладатель(и):
Общество с ограниченной ответственностью (ООО) “Подземгазпром” (RU)
|
(54) СПОСОБ СОЗДАНИЯ ПОДЗЕМНЫХ ХРАНИЛИЩ В РАСТВОРИМЫХ ПОРОДАХ
(57) Реферат:
Изобретение относится к строительству подземных резервуаров в каменной соли. Способ заключается в том, что при его реализации осуществляют гидродинамическую связь между обсадными колоннами труб скважин для вытеснения газообразного нерастворителя из одной скважины в другую. При этом подачу растворителя осуществляют по подвесным колоннам труб первой скважины, а отбор рассола – по подвесным колоннам труб второй скважины до достижения на оголовке первой скважины величины давления газа, необходимой для установления в ней границы раздела газ-рассол на новую ступень растворения пород, а поддержание заданной толщины изолирующего слоя газообразного нерастворителя в кровле ступени растворения в процессе формирования первого подземного резервуара группы производят при соответствующем повышении давления газа на оголовке второй скважины, достигаемого регулированием подачи в нее растворителя и отбора рассола. Изобретение позволяет обеспечить снижение расхода газа при создании подземных резервуаров. 3 ил.

Предлагаемое техническое решение относится к строительству подземных резервуаров через скважины в каменной соли путем ее растворения и может быть использовано в нефтяной, газовой и химической промышленности при создании подземных хранилищ и для добычи соли через скважины.
Известен способ создания подземных хранилищ через скважины в растворимых породах, включающий бурение скважин, установку в них обсадной и подвесных колонн труб, растворение пород с формированием группы, состоящей, по меньшей мере, из двух подземных резервуаров, подачей растворителя и отбором образующегося рассола по подвесным колоннам труб (Патент РФ № 2063918, МПК 7 В 65 G 5/00, опублик. 1996 г.).
Недостаток данного способа заключается в том, что в нем не предусмотрено управление процессом подачи нерастворителя, что затрудняет формирование подземных резервуаров хранилища заданной формы.
Наиболее близким к заявляемому техническому решению является способ создания подземных хранилищ через скважины в растворимых породах, включающий бурение скважин, установку в них обсадной и подвесных колонн труб, растворение пород с формированием группы, состоящей, по меньшей мере, из двух гидродинамически связанных подземных резервуаров, путем ступенчатого растворения пород подачей растворителя и отбором образующегося рассола по подвесным колоннам труб с циклической закачкой и отбором газообразного нерастворителя (Патент РФ № 2055007, МПК 7 В 65 G 5/00, опублик. 1996 г.).
Этот способ, хотя и предусматривает использование газообразного нерастворителя при ступенчатом формировании подземных резервуаров, однако в нем отсутствует управление процессом закачки и вытеснения нерастворителя в процессе перехода на каждую новую ступень растворения пород при формировании группы подземных резервуаров, что приводит к потерям природного газа и удорожанию строительства.
Решаемая задача заключается в повышении эффективности создания группы подземных резервуаров в каменной соли через скважины за счет наиболее полного управления процессом формообразования подземных резервуаров.
В результате решения указанной задачи достигаются следующие преимущества предлагаемого способа:
Снижается общий расход газа на создание подземных резервуаров.
Сокращаются сроки строительства благодаря совмещению процесса отбора газообразного нерастворителя с подачей растворителя в подземный резервуар.
Обеспечивается возможность перекачивания газообразного нерастворителя из одного создаваемого подземного резервуара в другой, что снижает потери газа при строительстве.
Сущность предлагаемого способа заключается в использовании способа создания подземных хранилищ через скважины в растворимых породах, включающего бурение скважин, установку в них обсадной и подвесных колонн труб, формирование группы, состоящей, по меньшей мере, из двух гидродинамически связанных подземных резервуаров, путем ступенчатого растворения пород подачей растворителя и отбором образующегося рассола по подвесным колоннам труб с циклической закачкой и отбором газообразного нерастворителя. При этом, согласно предлагаемому способу, осуществление гидродинамической связи производят между обсадными колоннами труб скважин, подачу растворителя осуществляют по подвесным колоннам труб первой скважины, а отбор рассола – по подвесным колоннам труб второй скважины до достижения на оголовке первой скважины величины давления газа, необходимой для установления в ней границы раздела газ-рассол на новую ступень растворения пород, поддержание заданной толщины изолирующего слоя газообразного нерастворителя в кровле ступени растворения в процессе формирования первого подземного резервуара производят при соответствующем повышении давления газа на оголовке второй скважины, достигаемого регулированием подачи в нее растворителя и отбора рассола.
Создание гидравлической связи между обсадными колоннами труб двух скважин при переходе на новую ступень растворения пород позволяет повторно использовать газообразный нерастворитель, который обычно при этом выбрасывался в атмосферу или сжигался.
Подача растворителя по подвесным колоннам труб первой скважины, а отбор рассола по подвесным колоннам труб второй скважины до достижения на оголовке первой скважины давления газа, при котором возможно установление в ней границы раздела газ-рассол на новой ступени растворения, позволяет максимально интенсифицировать процесс отбора газообразного нерастворителя из первой скважины и подачу его в обсадную колонну труб второй скважины.
Поддержание заданной толщины изолирующего слоя газообразного нерастворителя в кровле ступени подземного резервуара одной скважины повышением давления газа на оголовке другой скважины позволяет, по мере необходимости, возвращать перекачанный газ в предыдущую скважину, обеспечивая тем самым многократное использование газообразного нерастворителя.
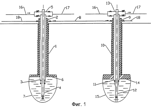
Предлагаемый способ создания подземных хранилищ в растворимых породах поясняется схемами на фиг.1, 2 и 3.
На фиг.1 представлена схема осуществления способа создания подземного хранилища в растворимых породах, состоящего из двух подземных резервуаров, в начале перехода на вторую ступень растворения в процессе формирования первого резервуара хранилища.
На фиг.2 – то же на завершающем этапе перехода на вторую ступень растворения пород в процессе формирования первого подземного резервуара хранилища.
На фиг.3 – то же после отработки двух ступеней растворения при формировании первого подземного резервуара и первой ступени второго подземного резервуара хранилища.
Изображения на фиг.1, 2 и 3 включают скважину 1, оборудованную обсадной колонной труб 2, внешней 3 и центральной 4 подвесными колоннами труб. Через оголовок 5 скважины 1 осуществляется подача растворителя во внешнюю 3 и внутреннюю 4 подвесные колонны труб. В процессе отработки ступеней растворения пород устанавливается граница раздела газ-рассол 6 в кровле каждой ступени подземного резервуара 7. Обсадная колонна труб 2 скважины 1 через наземный трубопровод 8 соединяется с обсадной колонной труб 9 скважины 10. Внешняя 11 и внутренняя 12 подвесные колонны труб скважины 10 подсоединены к оголовку 13. Граница раздела газ-рассол 14 устанавливается в кровле отрабатываемой ступени подземного резервуара 15, создаваемого через скважину 10. Растворитель от насосной станции по трубопроводу 16 подается на оголовки 5 и 13 скважин 1 и 10 соответственно, а рассол из этих скважин вытесняется в наземный рассолопровод 17. Газообразный нерастворитель подается в обсадные колонны труб 2 и 9 скважин 1 и 10 от компрессора по газопроводу 18.
Способ осуществляют следующим образом. Как показано на фиг.1, пробуренную в толще породы скважину 1 оборудуют обсадной колонной труб 2, в ней устанавливают наружную 3 и центральную 4 подвесные колонны труб. От насоса через оголовок 5 во внешнюю подвесную колонну труб 3 подают растворитель, а по центральной подвесной колонне труб 4 через оголовок 5 рассол вытесняют на поверхность. Границу раздела газ-рассол 6 поддерживают на уровне кровли ступени растворения пород путем подкачки газообразного нерастворителя для прикрытия кровли и производят размыв ступени до ее проектного объема.
По окончании отработки одной ступени растворения пород по созданию подземного резервуара 7 границу раздела газ-рассол 6 в скважине 1 поднимают до уровня следующей ступени растворения пород (фиг.2). Для этого создают гидравлическую связь между обсадными колоннами труб 2 и 9 скважин 1 и 10, открывая задвижки трубопровода 8. На оголовке 5 скважины 1 открывают задвижки трубопровода 16 для подачи растворителя в подвесные колонны труб 3 и 4, а задвижки для сброса рассола в рассолопровод 17 закрывают. На скважине 10, наоборот, закрывают задвижки на оголовке 13 для подачи растворителя из трубопровода 16 в подвесные колонны труб 11 и 12 и открывают задвижки на сброс рассола в рассолопровод 17. При подаче растворителя в скважину 1 давление в подземном резервуаре 7 возрастает и газообразный нерастворитель по обсадной колонне труб 2 и трубопроводу 8 вытесняется в обсадную колонну труб 9 скважины 10.
Вытеснение газообразного нерастворителя из скважины 1 производят до тех пор, пока граница раздела газ-рассол 6 не установится на уровне следующей ступени формирования подземного резервуара 7 (фиг.2). Давление газа (Р) на оголовке скважины 1 на новой ступени растворения определяется расчетным путем по формуле:
Ргаз=Рраств-Ргидр+Нст· раств,
где Ргаз – давление газа на оголовке скважины 1;
Рраств – давление растворителя на оголовке скважины 1;
Нст – расстояние от оголовка 5 скважины 1 до уровня новой ступени растворения пород;
раств – плотность растворителя, подаваемого в скважину;
Ргидр – гидравлические потери при движении растворителя по подвесным колоннам с расходом Q и при длине пути Нст.
По достижении расчетного давления газа на оголовке 5 скважины 1 переходят в режим дальнейшего строительства подземных резервуаров 7 и 15 через скважины 1 и 10 соответственно. Для этого на оголовке 5 скважины 1 перекрывают задвижку для подачи растворителя из трубопровода 16 в центральную подвесную колонну труб 4 и открывают задвижку на сброс рассола в рассолопровод 17 из центральной подвесной колонны труб 4. На оголовке 13 скважины 10 открывают задвижку для подачи растворителя из трубопровода 16 во внешнюю подвесную колонну труб 11 и закрывают задвижку на сброс рассола в рассолопровод 17 из внешней подвесной колонны труб 11.
Для поддержания заданной толщины изолирующего слоя газообразного нерастворителя в кровле ступени подземного резервуара 7 скважины 1, по мере увеличения площади кровли ступени в процессе растворения пород, производят возврат газообразного нерастворителя из подземного резервуара 15 скважины 10 в подземный резервуар 7 скважины 1. Для этого повышают давление в подземном резервуаре 15 скважины 10, увеличивая подачу растворителя из трубопровода 16 на оголовок 13 скважины 10 или снижая отбор рассола из подвесной колонны труб 12 в рассолопровод 17 посредством задвижек на оголовке 13 скважины 10. При этом газ из обсадной колонны труб 9 через трубопровод 8 поступает в обсадную колонну труб 2 скважины 1.
Пример использования способа. При создании подземного хранилища природного газа одновременно сооружают два подземных резервуара 7 и 15 объемом по 100 тысяч м3 каждый в интервале глубин 1173-1214 м. В качестве нерастворителя используют природный газ. Строительство ведут в 5 ступеней. Уровень границы раздела газ-рассол 6 и 14 поддерживают выше башмака внешних подвесных колонн 3 и 11.
Вначале создают первую ступень подземных резервуаров 7 и 15 с установкой внешних подвесных колонн 3 и 11 на уровне 1206 м и внутренних подвесных колонн труб 4 и 12 на уровне 1214 м. Границы раздела газ-рассол 6 и 14 поддерживают на отметке 1205 м.
После отработки первой ступени подземного резервуара 7 скважины 1 создают гидродинамическую связь между обсадными колоннами труб 2 и 9 скважин 1 и 10 путем открывания задвижек на трубопроводе 8. От насосной станции растворитель по трубопроводу 16 подают только в скважину 1 через оголовок 5 во внутреннюю 4 и внешнюю 3 подвесные колонны труб, при этом задвижки на сброс рассола в рассолопровод 17 на оголовке 5 закрывают. На оголовке 13 скважины 10 открывают задвижку на сброс рассола в рассолопровод 17 и закрывают задвижку на подачу растворителя из трубопровода 16 во внешнюю подвесную колонну труб 11. Таким образом увеличивают давление в подземном резервуаре 7 и снижают давление в подземном резервуаре 15, и природный газ из подземного резервуара 7 и обсадной колонны труб 2 вытесняют по трубопроводу 8 в обсадную колонну труб 9 и подземный резервуар 15. Вытеснение природного газа производят до тех пор, пока давление газа на оголовке 5 не снизится до величины 1789 м.в.с. Данная расчетная величина получена следующим путем:
Давление на газ на оголовке 5 при положении границы раздела газ-рассол 6 на уровне 1189 м составляет:
Р=Рраств-Ргидр+Н· раств=800-200+1189· 1=1789 м.в.с.,
где Рраств=800 м.в.с. – давление растворителя на оголовке 5 скважины 1 по манометру;
Нст=1189 м – расстояние от оголовка 5 скважины 1 до границы кровли новой ступени;
раств=1 – плотность растворителя, подаваемого в скважину 1;
Ргидр=200 м.в.с. – расчетные гидравлические потери при движении растворителя по подвесным колоннам с расходом Q=180 м3/ч и при длине пути Нст=1189 м.
Начальное давление газа на оголовке 5 скважины 1 при переходе на новую ступень составит:
Р=Рраств-Ргидр+Н· раств=800-200+1205· 1=1805 м.в.с.
Давление газа на оголовке 13 скважины 10 соответственно составит
Ргаз=Нст· раств+Ргидр=1205· 1,2+200=1646 м.в.с.
Таким образом, перепад давлений на оголовке 5 в обсадной колонне труб 2 и на оголовке 13 в обсадной колонне труб 9 (1805-1646=159 м.в.с.) обеспечивает перекачку газа из скважины 1 в скважину 10. При снижении давления газа до 1789 м.в.с. прекращают процесс перекачивания газа из скважины 1 в скважину 10.
После этого возобновляют процесс создания подземных резервуаров 7 и 15 в вышеуказанной последовательности, переходя от нижних ступеней растворения в подземных резервуарах к верхним ступеням до достижения проектных объемов этих резервуаров.
Избыточный газ по мере развития кровли в подземном резервуаре 7 перекачивают из подземного резервуара 15 по трубопроводу 8 в обсадную колонну труб 2 скважины 1. При одинаковой плотности вытесняемого рассола давление газа на оголовке 13 скважины 10 будет на 19 м.в.с. выше, чем на оголовке 5 скважины 1, поэтому газ будет поступать в скважину 1. Для увеличения расхода газа, отбираемого из подземного резервуара 15 скважины 10, прикрывают задвижку на сброс рассола в рассолопровод 17 скважины 10. При этом возрастает давление рассола в подземном резервуаре 15 и давление газа на оголовке 13, что увеличивает расход газа, перекачиваемого в скважину 1.
Формула изобретения
Способ создания подземных хранилищ в растворимых породах, включающий бурение скважин, установку в них обсадной и подвесных колонн труб, формирование группы, состоящей по меньшей мере из двух гидродинамически связанных между собой подземных резервуаров, путем ступенчатого растворения пород подачей растворителя и отбором образующегося рассола по подвесным колоннам труб с циклической закачкой и отбором газообразного нерастворителя, отличающийся тем, что осуществление гидродинамической связи производят между обсадными колоннами труб скважин, при этом подачу растворителя осуществляют по подвесным колоннам труб первой скважины, а отбор рассола – по подвесным колоннам труб второй скважины до достижения на оголовке первой скважины величины давления газа, необходимой для установления в ней границы раздела газ-рассол на новую ступень растворения пород, а поддержание заданной толщины изолирующего слоя газообразного нерастворителя в кровле ступени растворения в процессе формирования первого подземного резервуара группы производят при соответствующем повышении давления газа на оголовке второй скважины, достигаемого регулированием подачи в нее растворителя и отбора рассола.
РИСУНКИ
PC4A – Регистрация договора об уступке патента Российской Федерации на изобретение
(73) Патентообладатель(и):
Общество с ограниченной ответственностью “Подземгазпром”
(73) Патентообладатель:
Общество с ограниченной ответственностью “Подземгазпром”
(73) Патентообладатель:
Открытое акционерное общество “Газпром”
Дата и номер государственной регистрации перехода исключительного права: 16.09.2010 № РД0069981
Извещение опубликовано: 27.10.2010 БИ: 30/2010
|