|
|
(21), (22) Заявка: 2001107320/11, 19.03.2001
(24) Дата начала отсчета срока действия патента:
19.03.2001
(30) Конвенционный приоритет:
20.03.2000 (пп.1-10) FR 0003525
(43) Дата публикации заявки: 20.05.2003
(45) Опубликовано: 20.07.2005
(56) Список документов, цитированных в отчете о поиске:
FR 2754579 A1, 17.04.1998. US 5286013 A, 15.02.1994. EP 0329788 В, 30.08.1989. SU 519908 А, 07.10.1986.
Адрес для переписки:
129010, Москва, ул. Большая Спасская, 25, стр.3, ООО “Юридическая фирма Городисский и Партнеры”, Е.В.Томской
|
(72) Автор(ы):
ЛЕВАЛЛАР Патрис (FR), СИЕГ Тьерри (US), РЭНФОЛА Марк (FR)
(73) Патентообладатель(и):
ХАТЧИНСОН (FR)
|
(54) ДЕМПФЕР ВИБРАЦИЙ, ПРЕДНАЗНАЧЕННЫЙ, В ЧАСТНОСТИ, ДЛЯ НЕСУЩЕГО ВИНТА ВЕРТОЛЕТА
(57) Реферат:
Изобретение относится к демпферам вибраций, в частности, для несущего винта вертолета. Сущность изобретения заключается в том, что демпфер вибраций содержит ведущий элемент, имеющий главную ось и предназначенный для приведения его в движение посредством приводного элемента, а также жесткий элемент, предназначенный для монтажа на несущей конструкции и содержащий систему демпфирования, функционально связывающую ведущий элемент и жесткий элемент для того, чтобы демпфировать вибрационные колебания, по меньшей мере, в одном направлении, перпендикулярном главной оси. Система демпфирования содержит, с одной стороны, гидравлическое устройство демпфирования, расположенное, по меньшей мере, в одной камере с вязкой жидкостью, а с другой стороны, упругое устройство, обладающее достаточно высокой жесткостью в направлении, параллельном главной оси, и относительно малой жесткостью в направлении, перпендикулярном главной оси. Гидравлическое устройство демпфирования содержит первую и вторую системы плоских пластин, плоскости расположения каждой из которых перпендикулярны упомянутой главной оси. Первая из этих систем расположена на ведущем элементе посредством первой механической связи. Вторая из этих систем расположена на жестком элементе посредством второй механической связи. Пластины первой и второй систем расположены таким образом, чтобы перекрывать друг друга и размещаться в непосредственной близости друг от друга с тем, чтобы представлять зоны вязкого демпфирования, каждая из которых располагается между одной пластиной первой системы и одной пластиной второй системы. Гидравлическое устройство демпфирования содержит также, по меньшей мере, один элемент демпфирования, расположенный в камере с вязкой жидкостью и жестко связанный с ведущим элементом. Элемент демпфирования образует наружный контур, сужающийся от его основания, расположенного со стороны одного осевого конца данного демпфера, вплоть до его вершины, расположенной со стороны размещения систем плоских пластин. Техническим результатом является обеспечение удовлетворительных характеристик демпфирования как для отклонений малой амплитуды, так и для отклонений большой амплитуды. 9 з.п.ф-лы, 3 ил.

Изобретение касается демпфера вибраций, предназначенного, в частности, для несущего винта вертолета, содержащего ведущий элемент, имеющий так называемую главную ось и предназначенный для приведения его в движение посредством приводного элемента, а также жесткий элемент, предназначенный для монтажа на несущую конструкцию и содержащий систему демпфирования, функционально связывающую ведущий элемент и жесткий элемент для того, чтобы демпфировать вибрацию по меньшей мере в одном направлении, перпендикулярном к главной оси.
Во французской патентной заявке FR 2754579, поданной 15 октября 1996 и опубликованной 17 апреля 1998, описано демпфирующее устройство подобного типа, в котором система демпфирования содержит, с одной стороны, гидравлическое устройство демпфирования, расположенное в камере с вязкой жидкостью, а с другой стороны, упругое устройство, имеющее достаточно большую жесткость в направлении, параллельном главной оси, и относительно малую жесткость в направлении, перпендикулярном этой главной оси.
Гидравлическое устройство демпфирования образовано первой и второй системами плоских пластин, плоскость расположения каждой из которых перпендикулярна главной оси, причем первая из этих систем жестко связана с ведущим элементом, а вторая система закреплена на жестком элементе, и пластины этих первой и второй систем расположены таким образом, чтобы частично перекрывать друг друга и находиться в непосредственной близости друг от друга так, чтобы представлять зоны вязкого демпфирования, каждая из которых расположена между одной пластиной первой системы и одной пластиной второй системы.
Устройство демпфирования с плоскими пластинами, перекрывающими друг друга, описанное в упомянутой выше патентной заявке, обеспечивает удовлетворительные эксплуатационные характеристики и приемлемую линейность для вибраций малой или средней амплитуды.
Однако, по мере того, как значения амплитуд вибраций увеличиваются, относительная скорость перемещения пластин также стремится к увеличению, что влечет за собой увеличение усилия сдвига и снижение динамической вязкости, следствием чего является тенденция к уменьшению демпфирования, обеспечиваемого данным гидравлическим устройством.
В то же время известны устройства вязкого демпфирования, которые обеспечивают повышенное демпфирование для вибраций относительно большой амплитуды, поскольку степень демпфирования для таких устройств является пропорциональной квадрату скорости. Однако такие устройства обладают сравнительно небольшой эффективностью при относительно малых амплитудах вибраций.
Задачей изобретения является создание демпфера вибраций, предназначенного, в частности, для несущего винта вертолета.
Этот демпфер вибраций обеспечивает удовлетворительные характеристики демпфирования как для отклонений малой амплитуды, так и для отклонений большой амплитуды.
В соответствии с первым аспектом предлагаемого изобретения предлагается демпфер, выполненный таким образом, чтобы для малых амплитуд вибраций демпфирование было реализовано посредством систем пластин типа описанных выше, тогда как для больших вибраций устройство вязкого демпфирования должно дополнять и/или самостоятельно обеспечивать демпфирование.
Таким образом, демпфер в соответствии с предлагаемым изобретением отличается тем, что гидравлическое устройство демпфирования содержит также элемент демпфирования, который расположен в камере с вязкой жидкостью и который закреплен на упомянутом ведущем элементе, причем элемент демпфирования имеет поперечное сечение, сужающееся от его основания, располагающегося со стороны одного осевого конца данного демпфера, до его вершины, располагающейся со стороны размещения систем плоских пластин.
При малых значениях амплитуды вибраций элемент демпфирования оказывается относительно удаленным от стенки одной или нескольких камер и демпфирование главным образом обеспечивается при помощи упомянутых систем пластин.
Зато при больших амплитудах вибраций упругое устройство имеет тенденцию к деформации и по мере увеличения этих амплитуд внешний контур этого элемента демпфирования приближается, по меньшей мере, локально к стенке камеры, что приводит к повышению эффекта вязкого демпфирования в том направлении, где происходит деформация, с одной стороны, вследствие того, что проходное сечение уменьшается, а с другой стороны, вследствие нелинейности этого эффекта, который, как об этом было сказано выше, является пропорциональным квадрату скорости.
В частном случае реализации контур элемента демпфирования вписывается в контур максимальной деформации внутренней поверхности упругого устройства.
В предпочтительном варианте реализации наружный контур элемента демпфирования вписывается в кривую, отстоящую на заданное расстояние от этого контура максимальной деформации упругого устройства.
Целесообразно, чтобы наружный контур элемента демпфирования имел поперечное сечение, образованное отрезками прямых линий, наклоненных по отношению к главной оси.
Предпочтительно вершина упомянутого элемента демпфирования имеет эллиптическую форму, а его основание имеет форму полной окружности или окружности, прерываемой отрезками прямых линий.
В особенно предпочтительном варианте реализации этот элемент демпфирования полый и имеет камеру компенсации объема, которая сообщается с, по меньшей мере, одной камерой с вязкой жидкостью и в которой расположен элемент компенсации объема, в частности упругая мембрана.
Предпочтительно и в том случае, когда данное устройство демпфирования находится в условиях минимальной эксплуатационной температуры функционирования, упругая мембрана не образует складки и остается на некотором удалении от внутренней стенки элемента демпфирования.
Наружный контур, по меньшей мере, одной камеры с вязкой жидкостью может быть удлиненным вдоль некоторого первого направления. По меньшей мере, основание этого элемента демпфирования может иметь форму, удлиненную вдоль некоторого второго направления, перпендикулярного первому направлению. Это позволяет обеспечить различные характеристики демпфирования вдоль этих первого и второго направлений с более значительным отклонением в первом направлении.
В соответствии со своим вторым аспектом предлагаемое изобретение касается демпфера вибраций, предназначенного, в частности, для несущего винта вертолета и содержащего ведущий элемент, имеющий так называемую главную ось и предназначенный для его приведения в движение посредством некоторого приводного элемента, а также жесткий элемент, предназначенный для монтажа на несущей конструкции и содержащий систему демпфирования, функционально связывающую ведущий элемент и жесткий элемент для того, чтобы демпфировать вибрационные колебания, по меньшей мере, в одном направлении, перпендикулярном главной оси, причем эта система демпфирования имеет в своем составе, с одной стороны, гидравлическое устройство демпфирования, расположенное, по меньшей мере, в одной камере с вязкой жидкостью, а с другой стороны, упругое устройство, имеющее достаточно высокую жесткость в направлении, параллельном главной оси, и относительно малую жесткость в направлении, перпендикулярном этой главной оси.
Устройство подобного типа описано в упомянутой выше французской патентной заявке и содержит устройство компенсации объема. Такие устройства компенсации объема давно используются в гидравлических системах, в частности, в виде гидравлических аккумуляторов, например OLAER или LEDUC, и эти гидравлические аккумуляторы также давно используются в демпферах вибрационных колебаний упомянутого выше типа.
В упомянутой французской патентной заявке устройство компенсации объема содержит волнистую мембрану, одна поверхность которой находится в контакте с жидкостью этой камеры, а ее другая поверхность находится в контакте с камерой, в которой содержится газ. Такое устройство обладает недостатком, который заключается в том, что эта мембрана характеризуется определенной уязвимостью.
В соответствии со вторым аспектом предлагаемого изобретения обеспечивается устранение этой проблемы. Для этого предлагаемый демпфер вибраций отличается тем, что он содержит камеру компенсации объема, которая выполнена сообщающейся с, по меньшей мере, одной так называемой камерой с вязкой жидкостью и во внутренней полости которой расположена упругая мембрана, внутренняя стенка которой ограничивает камеру переменного объема, заполненную газом, а ее наружная стенка ограничивает вместе с внутренней стенкой камеры компенсации объема камеру компенсационной жидкости, причем эта упругая мембрана расположена на некотором отличном от нуля расстоянии от внутренней стенки и не образует складки в том случае, когда рассматриваемый демпфер вибраций имеет минимальную эксплуатационную температуру функционирования, предусмотренную действующими для данного устройства техническими условиями.
Таким образом, обеспечивается эффективность компенсации объема в любых условиях, в которых может находиться рассматриваемый демпфер, а с другой стороны, внутренняя стенка этой камеры компенсации обеспечивает защиту упругой мембраны.
Камера компенсации в предпочтительном варианте реализации образована внутри полой расширяющейся детали, расположенной между гидравлическим устройством демпфирования и осевым концом данного демпфера вибраций.
Другие характеристики и преимущества предлагаемого изобретения поясняются приведенным ниже описанием, не являющимся ограничительным примером его реализации, со ссылками на приведенные в приложении чертежи, на которых:
– Фиг.1а и 1б представляют собой два схематических вида в продольном разрезе по взаимно перпендикулярным плоскостям демпфера вибраций в соответствии с предпочтительным способом реализации предлагаемого изобретения;
– Фиг.2а-2с представляют собой соответственно схематический вид в перспективе, схематический вид в разрезе и схематический вид сверху элемента демпфирования в соответствии с предпочтительным способом реализации предлагаемого изобретения;
– Фиг.3 схематически иллюстрирует наружный контур одной или нескольких жидкостных камер.
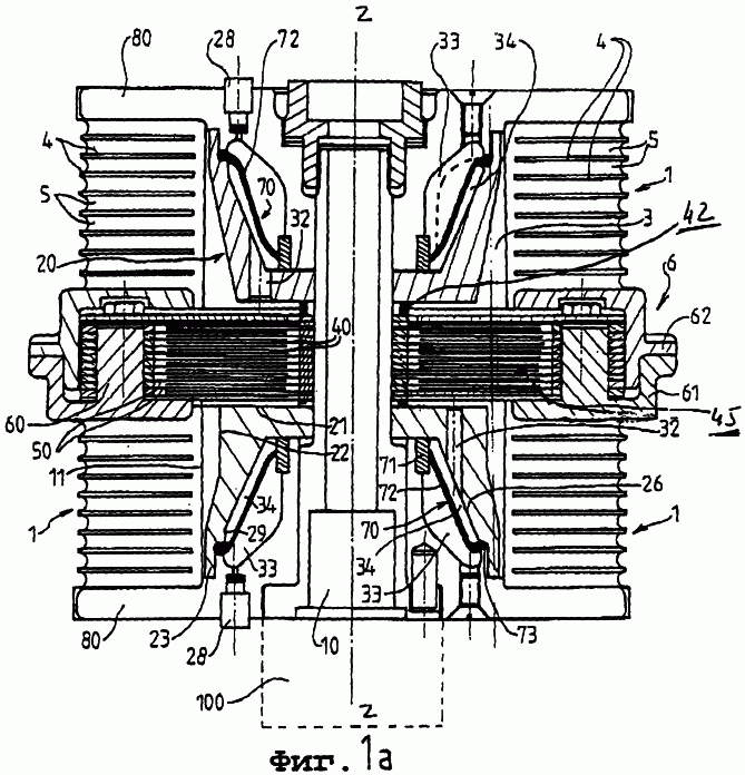
Как показано на фиг.1а и 1б, демпфер вибраций содержит ведущий элемент 10, продольная ось ZZ которого представляет собой главную ось этого демпфера и который предназначен для приведения его в движение посредством приводного элемента 100.
Первая система плоских пластин 40 закреплена с точностью до их разъединения на ведущем элементе 10, тогда как вторая система плоских пластин 50, частично взаимно перекрывающихся с пластинами первой системы пластин, закреплена с точностью до их разъединения на жестком элементе 6.
В представленном здесь примере реализации выключение возбуждений сжатия обеспечивается благодаря частичному взаимному перекрытию пластин, однако, эта функция может быть реализована и при помощи любого другого средства, описанного в упомянутой французской патентной заявке FR 2754579.
В представленном здесь примере реализации рассматриваемая конструкция выполнена симметричной по отношению к средней плоскости, перпендикулярной к главной оси ведущего элемента 10. Система пластин 40 и 50 расположена в среднем положении и является центрированной по отношению к упругому устройству 1, которое имеет пластинчатую конструкцию, образованную пакетом, набранным из металлических шайб 4 и изготовленных из эластомера шайб 5, причем плоскость этого пакета шайб перпендикулярна оси цилиндра 10.
Эта пластинчатая конструкция 1 образует внутренний контур 11, который ограничивает наружный контур двух камер 3, расположенных по одну и по другую стороны от системы пластин 40 и 50 и которые заполнены вязкой жидкостью, омывающей пластины и пространство между этими пластинами, таким образом обеспечивая требуемое демпфирование.
В верхней части и в нижней части, то есть на своих осевых концах, данное устройство закрыто крышками 80, с которыми жестко связаны элементы демпфирования 20, содержащие вершину 21, расположенную в непосредственной близости от системы пластин 40 и 50, и основание 23, причем вершина 21 и основание 23 соединены между собой посредством наружного контура 22, который постепенно расширяется от вершины 21 к основанию 23.
В предпочтительном варианте реализации элемент демпфирования 20 является полым и ограничивает полость демпфирования, разделенную на две камеры, а именно, воздушную камеру 33 и жидкостную камеру 34, посредством мембраны 70, вершина которой 71 размещена в непосредственной близости от внутренней поверхности 25 элемента 20 и зажата в его основании 73 между основанием 23 элемента демпфирования 20 и крышкой 80.
Эта мембрана 70 содержит активную область 72, которая расположена вдоль внутренней расширяющейся стенки 26, ограничивающей снаружи камеру 34. Эта жидкостная камера 34 выполнена сообщающейся с камерой 3 посредством одного или нескольких отверстий 31 для обеспечения требуемого эффекта компенсации объема.
Следует отметить наличие отверстий 27, обеспечивающих возможность заполнения камер 3, а также отверстий 28, предназначенных для заполнения газом камер 33, соответствующих внутренней полости упругих мембран 70, изготовленных, например, из эластомерного материала. Такое заполнение может потребовать избыточного давления газа. Система компенсации может представлять собой любую упругую систему, например систему, объединяющую поршень и пружину.
Также следует отметить наличие соединительных пластин 60, расположенных по одну и по другую стороны от систем пластин 40 и 50 и имеющих отверстия 63 (см. фиг.1б) для прохода вязкой жидкости, заполняющей камеры 3. Поперечины 42 позволяют обеспечить образование пакета, образованного из крышки 80, элементов демпфирования 20 и систем пластин 40 и 50 вдоль оси 10, тогда как на наружной части данного устройства дополнительные фланцы 61 и 62 служат для соединения на уровне пластинчатого упругого устройства 1, где пакетирование также обеспечивается благодаря крышке 80.
Элемент демпфирования 20 в предпочтительном варианте реализации выполнен в форме чаши, которая содержит вершину 21, имеющую круглое центральное отверстие 24 и представляющую по существу эллиптический наружный контур 21, а также основание 23, содержащее участки окружности 231, соединенные между собой отрезками прямых линий 232.
Наружный контур 22 представляет в разрезе отрезки прямых линий, которые соединяют эллиптический контур вершины 21 и контур основания 23.
Расширяющийся наружный контур 22 позволяет вписать элемент 20 в контур максимальных деформаций пластинчатого устройства 1, характерных для его функционирования в наиболее суровых условиях эксплуатации, и сделать это с некоторым запасом в виде зазора, который выбирается в зависимости от требуемой степени демпфирования. Вследствие этого обстоятельства есть уверенность в том, что, с одной стороны, наружный контур 22 элемента демпфирования 20 никогда не войдет в непосредственный контакт с внутренним контуром 11 пластинчатых конструкций 1 даже в наиболее суровых условиях эксплуатации и что элемент демпфирования 20 будет обеспечивать существенный эффект демпфирования для колебаний достаточно большой амплитуды.
Как показано на фиг.3, контур 11, который определяет наружную форму камер 3, имеет удлиненную форму, ограниченную на своих концах дугами окружности 111, которые соединены между собой посредством отрезков прямых линий 112.
На фиг.2с позицией XX обозначена большая ось эллипса 21, а позицией УУ обозначена малая ось этого эллипса, и эти обозначения направлений указанных осей перенесены на фиг.3 для того, чтобы определить относительное положение детали 20 по отношению к элементу 1.
Разрез, схематически представленный на фиг.1а, выполнен по плоскости, содержащей ось XX и ось ZZ, тогда как разрез, схематически представленный на фиг.1б, выполнен по плоскости, содержащей ось УУ и ось ZZ. Направление оси УУ соответствует наибольшим возможным колебаниям используемого в данном случае элемента демпфирования.
Как это более наглядно показано на фиг.1а и 1б, при минимальной эксплуатационной температуре функционирования активная часть 72 упругой мембраны 70 расположена вдоль внутренней стенки 26 элемента демпфирования 20 на заданном остаточном расстоянии от нее без формирования складки, что позволяет поддерживать эффективность компенсации объема в любых условиях функционирования.
При нормальной температуре окружающей среды (20°С) мембрана 70 занимает положение, показанное пунктиром на фиг.1а. По мере понижения температуры окружающей среды используемая вязкая жидкость сжимается и в результате этого сжатия происходит уменьшение объема камер 34.
Вследствие того, что мембрана 70 не содержит складки, она сжимается равномерно и стремится расположиться вдоль стенки 26 без формирования складки. Отсутствие складки при минимальной эксплуатационной температуре функционирования позволяет исключить возможность того, чтобы мембрана 70 локально входила в контакт с внутренней стенкой 26, что могло бы привести к снижению эффективности компенсации объема, изолируя часть жидкостной камеры 34.
Формула изобретения
1. Демпфер вибраций, предназначенный, в частности, для несущего винта вертолета, содержащий ведущий элемент (10), имеющий так называемую главную ось и предназначенный для приведения его в движение посредством приводного элемента (100), а также жесткий элемент (6), предназначенный для монтажа на несущей конструкции и содержащий систему демпфирования, функционально связывающую ведущий элемент (10) и жесткий элемент (6) для того, чтобы демпфировать вибрационные колебания по меньшей мере в одном направлении, перпендикулярном главной оси, причем эта система демпфирования содержит с одной стороны гидравлическое устройство демпфирования, расположенное по меньшей мере в одной камере (3) с вязкой жидкостью, а с другой стороны упругое устройство (1), обладающее достаточно высокой жесткостью в направлении, параллельном главной оси, и относительно малой жесткостью в направлении, перпендикулярном главной оси, причем гидравлическое устройство демпфирования содержит первую (40) и вторую (50) системы плоских пластин, плоскости расположения каждой из которых перпендикулярны упомянутой главной оси, причем первая из этих систем (40) расположена на ведущем элементе (10) посредством первой механической связи (42), а вторая из этих систем (50) расположена на жестком элементе (6) посредством второй механической связи (60), причем пластины (40, 50) первой (40) и второй (50) систем расположены таким образом, чтобы перекрывать друг друга и размещаться в непосредственной близости друг от друга для того, чтобы представлять зоны вязкого демпфирования (45), каждая из которых располагается между одной пластиной (40) первой системы и одной пластиной (50) второй системы, отличающийся тем, что гидравлическое устройство демпфирования содержит также по меньшей мере один элемент демпфирования (20), расположенный в камере (3) с вязкой жидкостью и жестко связанный с ведущим элементом (10), причем элемент демпфирования (20) образует наружный контур (22), сужающийся от его основания (23), расположенного со стороны одного осевого конца данного демпфера, вплоть до его вершины (21), расположенной со стороны размещения систем (40, 50) плоских пластин.
2. Демпфер вибраций по п.1, отличающийся тем, что наружный контур (22) элемента демпфирования (20) вписан в контур максимально возможной деформации внутренней поверхности (11) упругого устройства (1).
3. Демпфер вибраций по п.1, отличающийся тем, что наружный контур (22) элемента демпфирования вписан в контур, расположенный на заданном расстоянии от контура максимально возможной деформации.
4. Демпфер вибраций по любому из пп.1-3, отличающийся тем, что наружный контур (22) элемента демпфирования представляет собой поперечное сечение, образованное отрезками прямых линий, наклоненных по отношению к главной оси (ZZ).
5. Демпфер вибраций по любому из пп.1-4, отличающийся тем, что наружный контур, по меньшей мере, одной камеры (3) с вязкой жидкостью является удлиненным вдоль некоторого первого направления (YY), перпендикулярного главной оси (ZZ).
6. Демпфер вибраций по п.5, отличающийся тем, что, по меньшей мере, основание элемента демпфирования выполнено удлиненным вдоль некоторого второго направления (XX), перпендикулярного первому направлению (YY).
7. Демпфер вибраций по любому из пп.4-6, отличающийся тем, что вершина (21) элемента демпфирования (20) имеет эллиптическую форму, причем основание этого элемента демпфирования имеет форму полной окружности или форму окружности, прерываемой отрезками прямых линий.
8. Демпфер вибраций по любому из пп.1-7, отличающийся тем, что элемент демпфирования (20) является полым и содержит камеру компенсации объема, которая выполнена сообщающейся по меньшей мере с одной камерой (3) с вязкой жидкостью и в которой расположен элемент компенсации объема (70).
9. Демпфер вибраций по п.8, отличающийся тем, что элемент компенсации объема представляет собой эластичную мембрану (70).
10. Демпфер вибраций по п.9, отличающийся тем, что в случае, когда этот демпфер имеет свою минимальную эксплуатационную температуру функционирования, эластичная мембрана (70) не содержит складки и остается на некотором расстоянии от внутренней стенки (26) элемента демпфирования (20).
РИСУНКИ
|
|