|
|
(21), (22) Заявка: 2004110217/11, 06.04.2004
(24) Дата начала отсчета срока действия патента:
06.04.2004
(45) Опубликовано: 20.07.2005
(56) Список документов, цитированных в отчете о поиске:
RU 8675 U1, 16.12.1998. SU 1736826 A1, 30.05.1992. SU 137408 A1, 1961. PR 1219862 А, 20.05.1960. SU 88082 A1, 1951. RU 2189322 С2, 20.09.2002.
Адрес для переписки:
117570, Москва, ул. Днепропетровская, 16, корп.3, кв.76, Б.И. Крыжановскому
|
(72) Автор(ы):
Игнатенко С.И. (RU)
(73) Патентообладатель(и):
Игнатенко Сергей Иванович (RU)
|
(54) СНЕГОХОДНОЕ ТРАНСПОРТНОЕ СРЕДСТВО
(57) Реферат:
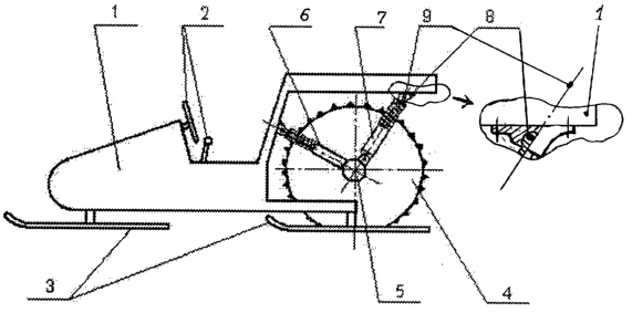
Изобретение относится к подвеске движителя снегохода. Ось (5) мотор-колеса (4) связана с кузовом (1) двумя парами шарнирно соединенных с ним телескопических амортизаторов (6, 7), расположенных под углом друг к другу не менее 90 градусов. Передняя пара амортизаторов (6) соединена с осью (5) мотор-колеса жестко с образованием качающихся рычагов. Задняя пара амортизаторов (7) соединена с осью (5) шарнирно, причем верхние шарниры (8) задней пары амортизаторов расположены на одной оси (9). Техническое решение направлено на улучшение условий эксплуатации. 1 ил.

Изобретение, снегоходное транспортное средство, относится к транспорту и может быть использовано для передвижения по заснеженной или ледяной поверхности.
Известно снегоходное транспортное средство (Свидетельство РФ на полезную модель №8675, 1998 г., В 62 М 29/00), содержащее раму, управляемые и опорные лыжи, подвижный в вертикальной плоскости движитель с силовым приводом, выполненный в виде зубчатого колеса, ось которого жестко соединена с тягой и рычагом управления, тормозной механизм и кресло, тяга расположена под острым углом к плоскости рамы, а силовой привод размещен в полости зубчатого колеса.
Недостатком данной конструкции является неудобство эксплуатации, обусловленное возможностью травмирования руки водителя при движении по неровной поверхности, т.к. в этом случае ручной рычаг управления мотор-колесом передает вибрации на руку. Кроме того, известная конструкция не предусматривает создание силы торможения непосредственно движителем, что приводит к дополнительным сложностям при необходимости уменьшения скорости движения.
Задачей изобретения является повышение надежности работы и маневренности транспортного средства при улучшении удобства эксплуатации – цель изобретения.
Поставленная задача достигается за счет того, что в снегоходном транспортном средстве, содержащем кузов с элементами управления и опорными узлами, подвижный в вертикальной плоскости движитель в виде мотор-колеса, ось которого соединена с кузовом, ось мотор-колеса связана с кузовом двумя парами шарнирно соединенных с ним телескопических амортизаторов, расположенных под углом друг к другу не менее чем на 90 градусов, при этом одна из них соединена с осью мотор-колеса жестко, а другая – шарнирно, причем верхние шарниры задней пары амортизаторов расположены на одной оси.
Соединение мотор-колеса с кузовом посредством двух пар телескопических амортизаторов, установленных под углом друг к другу не менее чем на 90 градусов, позволяет исключить ручное управление мотор-колесом, а также создает возможность эффективного торможения движителем, что повышает удобство эксплуатации, маневренность и надежность транспортного средства в целом.
Снегоходное транспортное средство иллюстрируется чертежом, на котором изображен общий вид сбоку.
Снегоходное транспортное средство содержит кузов 1 с элементами управления 2 и опорными узлами 3, подвижный в вертикальной плоскости движитель в виде мотор-колеса 4, ось 5 которого соединена с кузовом 1 двумя парами шарнирно соединенных с ним телескопических амортизаторов 6 и 7, расположенных под углом друг к другу не менее чем на 90 градусов. Передняя пара телескопических амортизаторов 6 соединена с осью 5 мотор-колеса 4 жестко, а задняя пара 7 – шарнирно, причем ее верхние шарниры 8 расположены на одной оси 9.
Снегоходное транспортное средство работает следующим образом. При создании мотор-колесом 4 силы тяги передняя пара 6 телескопических амортизаторов, упруго сжимаясь, передает силу тяги кузову 1, а задняя пара 7, растягиваясь, дает возможность мотор-колесу 4 прижиматься к опорной поверхности (снегу), создавая необходимую силу сцепления. При создании движителем 4 силы торможения задняя пара 7, упруго сжимаясь, передает силу торможения кузову 1, а передняя пара 6, растягиваясь, дает возможность мотор-колесу 4 прижиматься к опорной поверхности, также создавая необходимую силу сцепления. Благодаря жесткому соединению передней пары амортизаторов 6 с осью 5 последняя не поворачивается в вертикальной плоскости, а общая ось 9 шарниров 8 не дает оси 5 и, соответственно, мотор-колесу 4 разворачиваться относительно кузова 1 в горизонтальной плоскости.
Предлагаемая конструкция снегоходного транспортного средства позволяет повысить надежность работы и маневренность передвижения, а также улучшает удобство эксплуатации. Может найти широкое применение как спортивно-развлекательное средство, так и как надежное транспортное средство в заснеженных районах с пересеченной местностью.
Технический результат состоит в возможности эффективного торможения движителем, что повышает удобство эксплуатации, маневренность и надежность.
Формула изобретения
Снегоходное транспортное средство, содержащее кузов с элементами управления и опорными узлами, подвижный в вертикальной плоскости движитель в виде мотор-колеса, ось которого соединена с кузовом, отличающееся тем, что ось мотор-колеса связана с кузовом двумя парами шарнирно соединенных с ним телескопических амортизаторов, расположенных под углом друг к другу не менее 90°, при этом одна из них соединена с осью мотор-колеса жестко, а другая – шарнирно, причем верхние шарниры задней пары амортизаторов расположены на одной оси.
РИСУНКИ
MM4A – Досрочное прекращение действия патента СССР или патента Российской Федерации на изобретение из-за неуплаты в установленный срок пошлины за поддержание патента в силе
Дата прекращения действия патента: 07.04.2006
Извещение опубликовано: 10.05.2007 БИ: 13/2007
|
|