|
|
(21), (22) Заявка: 2002118617/11, 21.12.2000
(24) Дата начала отсчета срока действия патента:
21.12.2000
(30) Конвенционный приоритет:
28.12.1999 (пп.1-6) SE 9904807-6
(43) Дата публикации заявки: 27.01.2004
(45) Опубликовано: 20.07.2005
(56) Список документов, цитированных в отчете о поиске:
NL 47609 С, 15.01.1940. US 5731645 А, 24.03.1998. ЕР 0425260 А1, 02.05.1991. DE 3236211 А1, 05.04.1984. RU 2089992 C1, 10.09.1997. SU 1539122 A1, 30.01.1990.
(85) Дата перевода заявки PCT на национальную фазу:
29.07.2002
(86) Заявка PCT:
SE 00/02620 (21.12.2000)
(87) Публикация PCT:
WO 01/47765 (05.07.2001)
Адрес для переписки:
191036, Санкт-Петербург, а/я 24, “НЕВИНПАТ”, пат.пов. А.В.Поликарпову
|
(72) Автор(ы):
СЬЁБЕРГ Тармо (SE)
(73) Патентообладатель(и):
СЬЁБЕРГ Тармо (SE)
|
(54) ГЕНЕРАТОР
(57) Реферат:
Изобретение относится к генераторам в ступице колеса велосипеда, имеющим неподвижные якорь и магниты и вращающийся распределитель магнитного потока. Катушка (14) неподвижно закреплена на оси (1) колеса соосно с ней. Магниты (15) неподвижно закреплены концентрично катушке (14). Первая группа чередующихся северных и южных магнитных полюсов магнитов (15) обращена к первой плоскости. Вторая группа чередующихся северных и южных магнитных полюсов магнитов (15) обращена к противоположной второй плоскости. Первый и второй переключатели (12, 13) магнитных полюсов при вращении проходят вблизи первой и второй групп полюсов соответственно. Техническое решение направлено на обеспечение эффективности велосипедного генератора. 5 з.п. ф-лы, 3 ил.

Настоящее изобретение относится к генератору, встроенному в ступицу колеса, причем ступица и корпус, в котором находится генератор, вращаются вокруг неподвижной оси колеса, а генератор содержит катушку, закрепленную на оси колеса соосно с ним.
Генераторы различаются по своему назначению. Например, есть небольшие местные ветровые электростанции для отдельных домашних хозяйств или небольшой группы домашних хозяйств. Также есть генераторы для велосипедов. Известные генераторы этого назначения редко работают удовлетворительно, поскольку они установлены так, чтобы был контакт с шиной при включении освещения. Часто, особенно в дождь или снег, трение между шиной и приводным колесом генератора недостаточно и генератор работает плохо. Кроме того, обычный велосипедный генератор оказывает сильное тормозное действие на колесо, что может раздражать велосипедиста.
Целью изобретения является создание генератора указанного типа, который не имеет типичных для известных генераторов недостатков, т.е. не оказывает сильного торможения при данном полезном эффекте, или, иначе говоря, имеет более высокую эффективность.
Согласно изобретению, такой генератор прежде всего отличается тем, что он содержит расположенные концентрично катушке магниты, обращенные первой группой чередующихся северных и южных магнитных полюсов к первой плоскости и второй группой чередующихся северных и южных магнитных полюсов к противоположной плоскости, и первый, и второй переключатели полюсов для вращения относительно оси колеса, причем при вращении один из переключателей полюсов проходит сравнительно близко к первой группе магнитных полюсов, а второй переключатель полюсов проходит сравнительно близко ко второй группе магнитных полюсов. Другие особенности и признаки генератора, предлагаемого согласно изобретению, указаны в зависимых пунктах формулы изобретения.
Ниже изобретение описано на примере генератора для велосипеда со ссылками на сопровождающие чертежи, где
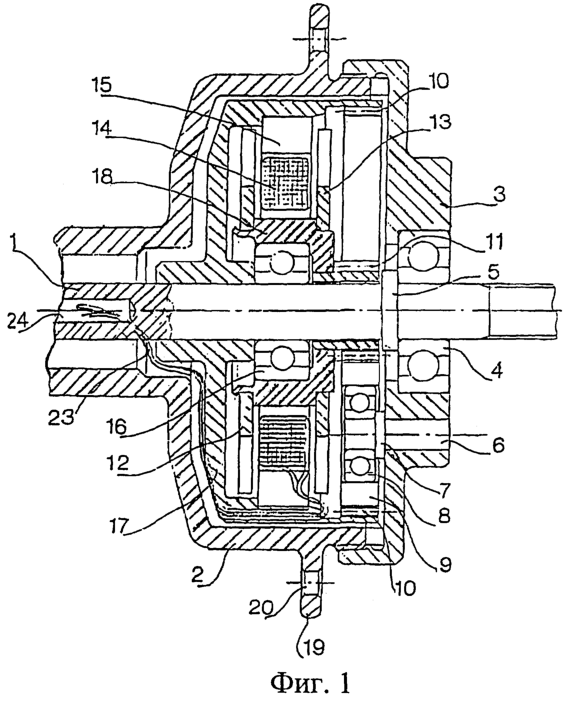
на фиг.1 показан осевой разрез генератора для велосипеда согласно изобретению,
на фиг.2 – разрез в плоскости, перпендикулярной к фиг.1,
на фиг.3 – осевой разрез альтернативного варианта выполнения переключателя полюсов.
Генератор для велосипеда составляет часть ступицы колеса, установленной на оси 1. Генератор расположен в защитном корпусе 2, оканчивающемся концевой пластиной 3, установленной на оси с помощью шарикоподшипника 4, контактирующего с расположенным на оси 1 фланцем 5. Этот закрытый узел является частью ступицы колеса, при этом корпус 2 имеет наружный фланец 19 с отверстиями для спиц, как в обычной конструкции колес. Другой конец корпуса установлен на оси на соответствующем подшипнике ступицы колеса.
Генератор содержит также часть 17, закрепленную на оси и образующую корпус магнитов, в котором находится некоторое количество магнитов 15, 21, 22, расположенных по окружности, внутри которой находится катушка 14. Закрепленная часть содержит также зубчатое кольцо 10 с внутренними зубьями, взаимодействующее с зубчатым колесом 9 для передачи быстрого вращательного движения переключателям 12, 13 полюсов, расположенным по боковым сторонам магнитов и катушки.
В концевой пластине 3 ступицы закреплена ось 6, направленная внутрь генератора. Зубчатое колесо 9 может свободно вращаться на оси 6 на шарикоподшипнике 8, установленном у фланца 7 оси. Зубчатое колесо 9 находится в зацеплении с зубчатым кольцом 10 и зубчатым кольцом 11, которое через несущее кольцо 18 прикреплено к переключателям 12, 13 полюсов. Несущее кольцо может вращаться на оси 1 колеса с помощью шарикоподшипника.
Параллельно оси 1 снаружи катушки 14 расположено некоторое количество магнитов 15, 21, 22, равномерно распределенных по окружности вокруг этой катушки в виде соосного с ней кольца, так что магнитные полюса, обращенные наружу к переключателям полюсов, представляют собой чередующиеся северный и южный полюса с одинаковыми промежутками между разноименными полюсами по всему кольцу. Переключатели 12, 13 полюсов представляют собой плоские диски, каждый из которых имеет некоторое количество выступов 26, расположенных в той же плоскости, что и центральная часть диска, и отходящих от нее наружу к середине магнитных полюсов так, что выступы несколько заходят за середину магнитных полюсов. Предпочтительно, чтобы количество выступов было равно количеству групп одноименных магнитных полюсов, а ширина b каждого выступа соответствовала приблизительно промежутку d между магнитными полюсами. Магнитные полюса магнитно связаны между собой несущим кольцом 18.
Устройство работает следующим образом. При вращении колеса вокруг оси 1 корпус 2 и концевая пластина 3 также поворачиваются вокруг оси 1 вместе со ступицей с тем же числом оборотов, что и колесо, а корпус 17 магнитов, находящийся внутри корпуса 2, закреплен на оси 1 и остается неподвижным относительно нее. Ось 6 зубчатого колеса 9 будет перемещаться относительно корпуса 17 магнитов и зубчатого кольца 10, составляющего его часть, т.е. зубчатое колесо 9 будет вращаться на оси 6. При этом зубчатое колесо 9 действует на зубчатое кольцо 11 так, что последнее вращается на оси 1. Это вращение через несущее кольцо 18 передается переключателям 12, 13 полюсов, которые вращаются относительно магнитов 15, 21, 22, неподвижных относительно оси 1. Передаточное число между зубчатым кольцом 10 и зубчатым колесом 9 и передаточное число между зубчатым колесом и 9 зубчатым кольцом 11 выбраны так, что переключатели полюсов вращаются намного быстрее, чем колесо и его ступица. Изменение магнитного поля в катушке 14 приводит к генерации в ней электрического тока, который подается по электропроводам 23 и 25 в электрическую схему, обычно состоящую из элементов, входящих в осветительное устройство велосипеда. В этом случае корпус магнитов и ось колеса используются в качестве одного провода, а другой провод 23 выводится через выполненный в оси канал 24.
Рассмотренная конструкция такова, что генератор занимает немного места, например он может быть объединен с тормозным барабаном, установленным в той же ступице. Допускаются различные изменения конструкции генератора в пределах объема изобретения. Например, изменения могут касаться количества магнитов и их расположения внутри и снаружи катушки, а также различия промежутков между ними. Возможны также различные варианты конструкции переключателей. На фиг.3 показано, что переключатели 26 и 26 полюсов выполнены в виде усеченных конусов с небольшой осевой протяженностью и выемками, в результате чего образуются выступы.
Формула изобретения
1. Генератор, встроенный в ступицу колеса, причем ступица и корпус (2), в котором находится генератор, вращаются вокруг неподвижной оси (1) колеса, а генератор содержит катушку (14), закрепленную на оси (1) колеса соосно с ним, отличающийся тем, что он содержит магниты, расположенные концентрично с катушкой (14) и обращенные первой группой чередующихся северных и южных магнитных полюсов (21, 22) к первой плоскости и второй группой чередующихся северных и южных магнитных полюсов к противоположной второй плоскости, первый и второй переключатели (12, 13) полюсов для вращения относительно оси (1) колеса, причем при вращении один (12) из переключателей полюсов проходит сравнительно близко к первой группе магнитных полюсов, а второй переключатель (13) полюсов проходит сравнительно близко ко второй группе магнитных полюсов.
2. Генератор по п.1, отличающийся тем, что переключатели (12, 13) полюсов состоят из плоских дисков с выступами (26), расположенными в той же плоскости.
3. Генератор по п.1, отличающийся тем, что переключатели (27, 28) полюсов состоят из усеченных конусов с небольшой осевой протяженностью и выемками, в результате чего образуются выступы.
4. Генератор по п.2 или 3, отличающийся тем, что количество выступов (26) в переключателе (12, 13) полюсов равно количеству обращенных к нему одноименных магнитных полюсов.
5. Генератор по любому из пп.1-4, отличающийся тем, что переключатели полюсов расположены так, что они вращаются с большей вращательной скоростью, чем ступица колеса.
6. Генератор по п.2 или 3, отличающийся тем, что переключатели полюсов приводятся во вращение приводным устройством, содержащим зубчатое кольцо, установленное внутри корпуса (17), закрепленного на оси (1) колеса, зубчатое колесо (9), находящееся в зацеплении с зубчатым кольцом и свободно вращающееся вокруг оси (6), жестко закрепленной в указанном корпусе (2) или в его концевой пластине (3), и зубчатое колесо (11), непосредственно или опосредствованно жестко соединенное с переключателями полюсов и также находящееся в зацеплении с зубчатым колесом (9).
РИСУНКИ
|
|