|
|
(21), (22) Заявка: 2003137102/11, 25.12.2003
(24) Дата начала отсчета срока действия патента:
25.12.2003
(45) Опубликовано: 20.07.2005
(56) Список документов, цитированных в отчете о поиске:
SU 1227522 A1, 30.04.1986. SU 781095 A, 30.11.1980. DE 4424315 A1, 01.02.1996. FR 2203726 A, 17.05.1974.
Адрес для переписки:
125438, Москва, ул. Автомоторная, 4А, стр.21, а/я 31, ОАО “НАМИ-Сервис”
|
(72) Автор(ы):
Шухман С.Б. (RU), Прочко Е.И. (RU), Соловьев В.И. (RU), Анкинович Г.Г. (RU), Эйдман А.А. (RU)
(73) Патентообладатель(и):
Открытое акционерное общество “Инновационная фирма “НАМИ-Сервис” (RU)
|
(54) ГИДРООБЪЕМНАЯ ТРАНСМИССИЯ ТРАНСПОРТНОЙ МАШИНЫ
(57) Реферат:
Изобретение относится к области транспортного машиностроения, более конкретно – к гидрообъемным трансмиссиям транспортных средств. Гидрообъемная трансмиссия транспортной машины содержит насосную станцию, состоящую из основного и подпиточного насосов, имеющих привод от двигателя машины, гидромоторы, связанные с насосной станцией магистральными гидролиниями, образующими циркуляционный гидравлический контур, и автономный насос с электрическим приводом, полость нагнетания которого соединена с гидравлическим контуром, образованным магистральными гидролиниями. Гидрообъемная трансмиссия дополнительно снабжена герметичным гидробаком с устройством наполнения его воздушной полости сжатым воздухом из пневматической системы машины, содержащим запорный кран, регулятор давления сжатого воздуха в герметичном гидробаке с предохранительным клапаном и вакуумный клапан с ручным управлением для выпуска сжатого воздуха из герметичного гидробака, двухпозиционным клапаном с ручным управлением для попеременной гидравлической связи полости всасывания автономного насоса, имеющего электрический привод, с герметичным гидробаком и с устройством его заправки рабочей жидкостью, обратным клапаном, расположенным в сливной гидролинии на входе в герметичный гидробак, и запорным клапаном с ручным управлением, расположенным во всасывающей гидролинии на выходе из герметичного гидробака. Техническим результатом является повышение надежности гидрообъемной трансмиссии транспортной машины, предназначенной для эксплуатации в различных дорожных условиях. 4 з.п. ф-лы, 1 ил.

Техническое решение относится к машиностроению. Оно касается гидрообъемной трансмиссии транспортных средств.
Известны гидрообъемные трансмиссии транспортных средств, содержащие насосную установку для подачи рабочей жидкости под давлением к гидромоторам, состоящую из основного и подпиточного насосов, имеющих непосредственный совместный привод от вала двигателя транспортного средства (авторское свидетельство №1702031, выданное в СССР, патент №2422482, выданный в ФРГ). Но в такой гидрообъемной трансмиссии в начальный период ее работы возможен повышенный износ основного насоса вследствие отсутствия или недостатка в нем рабочей жидкости в начале вращения его вала.
Более совершенными являются гидрообъемные трансмиссии транспортных средств, состоящие из насосной станции, имеющей привод от вала двигателя через выключаемую фрикционную муфту, гидромоторов, имеющих гидравлическую связь с насосной станцией, и отдельно расположенного подпиточного насоса, имеющего непосредственный привод двигателем или привод от него через зубчатую передачу (авторское свидетельство №1106693, выданное в СССР, патент №3859790, выданный в США). При пуске двигателя упомянутую фрикционную муфту размыкают и вращают вал только подпиточного насоса, который забирает рабочую жидкость из гидробака и подает ее в гидравлические контуры, образованные гидролиниями, связывающими гидромоторы с основными насосами, образующими насосную станцию. После заполнения гидравлических контуров рабочей жидкостью и создания в них давления замыкают фрикционную муфту для приведения во вращение вала привода основных насосов. Однако отдельное расположение подпиточного насоса существенно усложняет гидрообъемную трансмиссию, особенно в случае, если для каждого гидроконтура требуется отдельный подпиточный насос для питания его рабочей жидкостью из гидробака.
Для предотвращения попадания в гидробак пыли и прочих нежелательных частиц целесообразно его делать герметичным и создавать повышенное давление воздуха в его воздушной полости.
Известны гидравлические системы самоходных транспортных средств, содержащие герметичный резервуар для рабочей жидкости с заливной горловиной и пробкой, у которых внутренняя полость сообщена трубопроводом с впускным коллектором двигателя внутреннего сгорания, снабженного нагнетателем (авторское свидетельство, выданное в СССР, №1201186). Аналогичная гидравлическая система с такими же средствами обеспечения избыточного давления в гидробаке представлена в авторском свидетельстве №246790, выданном в Чехословакии. Однако не на всех транспортных средствах имеются двигатели внутреннего сгорания с нагнетателями воздуха. В этом случае для создания повышенного давления воздуха в гидробаке целесообразно использовать посторонние источники сжатого воздуха (см., например, заявку №63-24163, опубликованную в Японии). Известна подобная гидравлическая система, которая для создания и поддержания внутри резервуара с рабочей жидкостью давления выше атмосферного и повышения за счет этого всасывающей способности гидронасоса содержит воздушный насос для подачи сжатого воздуха в резервуар, запорный и обратный клапаны, расположенные во всасывающем канале воздушного насоса, обратный клапан, расположенный в нагнетательном канале, и предохранительный клапан для выпуска избытка сжатого воздуха из резервуара (заявка №62-27282, опубликованная в Японии). Такая гидравлическая система применима только для стационарных установок, работающих в закрытых помещениях.
В известных гидрообъемных трансмиссиях транспортных средств, содержащих насосную станцию с приводом от двигателя транспортного средства и гидромоторы, связанные с насосной установкой магистральными гидролиниями, образующими замкнутый циркуляционный гидравлический контур, слив избытка рабочей жидкости, нагнетаемой подпиточным насосом насосной станции, обеспечивающим подпитку магистральных гидролиний рабочей жидкостью под давлением, необходимым для предотвращения кавитации, происходит через полости охлаждения корпусов гидроагрегатов и затем через теплообменник в обычный гидробак с заливной горловиной (авторские свидетельства №1696325, 1702031, выданные в СССР, акцептованные заявки №1494243, 2013841, 2062187, опубликованные в Великобритании, заявки №447510, 691234 на выдачу европейских патентов, патенты №4323137, 4503928, выданные в США, патенты №2251536, 3330849, выданные в ФРГ). Однако в гидрообъемные трансмиссии с таким гидробаком возможно попадание абразивной пыли и прочих посторонних частиц, понижающих надежность гидроагрегатов вследствие получающегося повышенного их износа.
В качестве прототипа принята гидрообъемная трансмиссия транспортной машины, содержащая насосную станцию, состоящую из основного и подпиточного насосов, имеющих привод от двигателя внутреннего сгорания, гидромотор, связанный с насосами посредством магистральных гидролиний, образующих гидравлический контур, и дополнительный насос с автономным приводом, в частности электрическим, полость нагнетания которого соединена непосредственно с упомянутым гидравлическим контуром, а полость всасывания сообщена постоянно с гидробаком через отдельную всасывающую гидролинию (выданное в СССР авторское свидетельство №1227522, МПК В 60 К 17/10, 1984 г.). Эта гидрообъемная трансмиссия содержит обычный гидробак, сообщающийся с наружным воздухом, всасывающую гидролинию между гидробаком и подпиточным насосом, отдельную гидролинию между ним и дополнительным насосом. В этой гидрообъемной трансмиссии при дозаправке гидробака рабочей жидкостью в дорожных условиях при запыленном воздухе или в сырую погоду и при проникновении в него запыленного воздуха, при понижении в нем уровня рабочей жидкости в случае ее утечек из гидравлической системы возможно попадание в гидробак и затем в гидравлическую систему абразивных частиц и влаги, способных вызвать повреждение прецизионных деталей гидроагрегатов трансмиссии.
Решаемая задача – повышение надежности гидрообъемной трансмиссии транспортной машины, предназначенной для эксплуатации в различных дорожных условиях.
Решение этой задачи обеспечено тем, что гидрообъемная трансмиссия транспортной машины, содержащая насосную станцию, состоящую из основного и подпиточного насосов, имеющих привод от двигателя машины, гидромоторы, связанные с насосной станцией магистральными гидролиниями, образующими циркуляционный гидравлический контур, насос с электрическим приводом, полость нагнетания которого соединена с гидравлическим контуром, образованным магистральными гидролиниями, связывающими гидромоторы с насосной станцией, снабжена герметичным гидробаком с устройством наполнения его воздушной полости сжатым воздухом из пневматической системы машины, содержащим запорный кран, регулятор давления сжатого воздуха в гидробаке с предохранительным клапаном и вакуумный клапан с ручным управлением для выпуска сжатого воздуха из гидробака, двухпозиционным клапаном с ручным управлением для попеременной гидравлической связи полости всасывания насоса, имеющего электрический привод, с устройством заправки герметичного гидробака рабочей жидкостью и с самим гидробаком, обратным клапаном, расположенным в сливной гидролинии на входе в гидробак, запорным клапаном с ручным управлением, расположенным во всасывающей гидролинии на выходе из гидробака.
Благодаря оборудованию гидрообъемной трансмиссии автономным насосом с электрическим приводом, герметичным гидробаком с устройством наддува в него очищенного и осушенного сжатого воздуха, забираемого из пневматической системы машины, клапанами для заправки герметичного гидробака рабочей жидкостью из посторонней емкости с помощью автономного насоса обеспечена надежная герметизация гидрообъемной трансмиссии как во время ее работы, так и при заправке гидробака рабочей жидкостью, которая получается весьма удобной.
Для обеспечения безопасности работы гидрообъемной трансмиссии она снабжена датчиком положения запирающего элемента упомянутого запорного клапана, управляющим переключателем, расположенным в электрической цепи электродвигателя привода автономного насоса, и переключателем, расположенным в электрической цепи стартера двигателя.
Кроме того, в электрической цепи стартера последовательно с переключателем, управляемым вручную, и переключателем, управляемым датчиком положения запирающего элемента запорного клапана, расположен переключатель, управляемый датчиком минимального допустимого уровня рабочей жидкости в гидробаке.
В электрической цепи электродвигателя привода автономного насоса последовательно с переключателем, управляемым вручную, и переключателем, управляемым датчиком положения запирающего элемента запорного клапана, расположен переключатель, управляемый датчиком максимального допустимого уровня рабочей жидкости в гидробаке. Это обеспечивает автоматическое прекращение работы автономного насоса после наполнения гидробака, не допуская его переполнения.
При этом параллельно переключателю, управляемому датчиком максимального допустимого уровня жидкости в гидробаке, расположен переключатель, управляемый датчиком положения запорного элемента упомянутого двухпозиционного клапана, связывающего полость всасывания автономного насоса попеременно с гидробаком и с устройством его заправки рабочей жидкостью. Это обеспечивает возможность после наполнения гидробака рабочей жидкостью осуществить повторный пуск автономного насоса для прокачки рабочей жидкости через гидравлическую систему гидрообъемной трансмиссии перед началом ее работы.
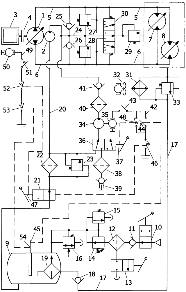
На чертеже представлена гидрообъемная трансмиссия колесной транспортной машины, содержащая насосную станцию, состоящую из основного (главного) аксиально – плунжерного регулируемого реверсивного обратимого насоса 1 и подпиточного насоса 2, имеющих привод от вала двигателя 3 внутреннего сгорания через управляемую фрикционную муфту 4. Магистральными гидролиниями 5, 6, образующими циркуляционный гидравлический контур, с насосной станцией связаны гидромоторы 7, 8 привода колес машины. В этой гидрообъемной трансмиссии несколько гидравлических контуров, число которых равно числу пар колес машины. Гидрообъемная трансмиссия содержит герметичный гидробак 9 с рабочей жидкостью без заливной горловины. Гидробак снабжен устройством наполнения его воздушной полости, расположенной над рабочей жидкостью, очищенным и осушенным сжатым воздухом из имеющейся в машине пневматической системы, содержащей компрессор с ресиверами и средства очистки и осушения воздуха (не показаны) и служащей для приведения в действие пневматического тормозного привода и других агрегатов машины. Устройство наполнения воздушной полости гидробака сжатым воздухом содержит запорный кран 10 с ручным управлением, соединяющий и разъединяющий воздушную полость гидробака 9 с пневматической системой машины. Последовательно с краном 10 в пневмопроводе расположены обратный клапан 11, фильтр-отстойник 12 с управляемым вручную двухпозиционным клапаном 13 выпуска конденсата и регулятор 14 давления сжатого воздуха в гидробаке 9, снабженный предохранительным клапаном 15 для выпуска из воздушной полости гидробака избытка сжатого воздуха для поддержания оптимальной величины его давления. Кроме того, упомянутое устройство, обеспечивающее наддув сжатого воздуха в гидробак из пневматической системы машины, снабжено вакуумным клапаном 16 с ручным управлением, содержащим подпружиненный запорный элемент, перемещаемый давлением наружного, то есть атмосферного, воздуха в случае образования в гидробаке 9 вакуума. Причем запорный элемент вакуумного клапана 16 может быть перемещен также вручную принудительно для выпуска по пневмопроводу из воздушной полости гидробака 9 сжатого воздуха при его техническом обслуживании или замене. В сливной гидролинии 17 на входе в гидробак 9 расположен обратный клапан 18, последовательно с которым в гидробаке 9 размещен деаэратор 19, под которым расположен стакан отстойника. Во всасывающей гидролинии 20, соединяющей полость всасывания подпиточного насоса 2 с гидробаком 9, на выходе из гидробака 9 расположен двухпозиционный запорный клапан 21 с ручным управлением. Последовательно с клапаном 21 в гидролинии 20 расположен фильтр 22 с перепускным клапаном 23, открывающимся в случае чрезмерного засорения фильтра 22.
Полость нагнетания насоса 2 подпитки магистральных гидролиний 5, 6 сообщена с этими гидролиниями через питающую (нагнетательную) гидролинию 24 и обратные клапаны 25, 26. Для ограничения величины максимального давления в магистральных гидролиниях 5, 6 в гидрообъемной трансмиссии имеются предохранительные клапаны 27, 28. Для слива избытка рабочей жидкости, подаваемой подпиточным насосом 2, и поддержания при этом постоянного давления подпитки рабочей жидкостью полости всасывания основного насоса 1 в гидравлической системе трансмиссии имеется подпорный клапан 29, расположенный последовательно с трехпозипионным золотниковым перекидным клапаном 30, управляемым давлением в магистральных гидролиниях 5, 6. Последовательно с подпорным клапаном 29 расположены полости охлаждения в корпусах насоса 1 и гидромоторов 7, 8 и теплообменник 31, обдуваемый вентилятором 32, имеющим электрический привод с автоматическим управлением в зависимости от температуры. Для перепуска рабочей жидкости при низкой ее температуре мимо теплообменника 31 имеется перепускной клапан 33, расположенный в обводной гидролинии.
Гидрообъемная трансмиссия содержит автономный насос 34 с электрическим приводом от электродвигателя 35. Полость всасывания автономного насоса 34 посредством двухпозиционного клапана 36, имеющего ручное управление, попеременно в разных позициях запорного элемента 37 клапана 36 может быть соединена либо с всасывающей гидролинией 20 с ее участком, расположенным после запорного клапана 21 и фильтра 22, либо через фильтр 38 с устройством 39 заправки гидробака 9 рабочей жидкостью, содержащим открываемый принудительно обратный клапан. Полость нагнетания насоса 34 через фильтр 40 и обратный клапан 41 соединена с питающей гидролинией 24 и через обратные клапаны 25, 26 – с магистральными гидролиниями 5, 6, образующими гидравлический контур трансмиссии.
Электродвигатель 35 привода автономного насоса 34 соединен с источником электрического тока электрической цепью 42, в которой последовательно расположены переключатель 43 с ручным управлением, переключатель 44, управляемый датчиком 45 максимального допустимого уровня жидкости в гидробаке 9, переключатель 46, управляемый датчиком положения запирающего элемента 47 запорного клапана 21. Параллельно переключателю 44 в этой электрической цепи расположен переключатель 48, управляемый датчиком положения запорного элемента 37 клапана 36. Переключатель 44 и другие переключатели, управляемые датчиками, могут быть выполнены в виде электромагнитных реле.
Для предотвращения пуска двигателя 3 при отсутствии готовности гидрообъемной трансмиссии к работе в электрической цепи 49 стартера 50 двигателя 3 помимо переключателя 51 с ручным кнопочным управлением последовательно расположены переключатель 52, управляемый датчиком положения запирающего элемента 47 запорного клапана 21, переключатель 53, управляемый датчиком 54 минимального допустимого уровня жидкости в гидробаке 9. Вследствие этого стартер двигателя машины не может быть включен при отсутствии рабочей жидкости в гидробаке, при закрытом запорном клапане, расположенном во всасывающей гидролинии на выходе из гидробака, что обеспечивает безопасность эксплуатации гидрообъемной трансмиссии и значит повышает ее надежность.
На машиностроительном предприятии после установки гидрообъемной трансмиссии на транспортную машину производят заправку гидробака 9 и всей гидравлической системы рабочей жидкостью. Для этого устанавливают запорный элемент 37 двухпозиционного клапана 36 в такое положение, при котором полость всасывания автономного насоса 34, имеющего электрический привод, соединяется через фильтр 38 с устройством 39 заправки гидрообъемной трансмиссии рабочей жидкостью из посторонней емкости. При этом запирающий элемент 47 запорного клапана 21 устанавливают в положение, при котором открыта всасывающая гидролиния 20. Переключателем 43 замыкают электрическую цепь электродвигателя 35, который приводит во вращение вал автономного насоса 34. Насос 34 через фильтр 38 и заправочное устройство 39 забирает рабочую жидкость из посторонней емкости и подает ее в гидроагрегаты трансмиссии через фильтр 40, обратный клапан 41, питающую гидролинию 24, обратные клапаны 25, 26 и далее через магистральные гидролинии 5, 6 в рабочие камеры основного насоса 1 и гидромоторов 7, 8. После полного заполнения упомянутых гидролиний давление рабочей жидкости, нагнетаемой автономным насосом 34, повышается до величины, при которой открывается подпорный клапан 29, и тогда рабочая жидкость из питающей гидролинии 24 через перекидной клапан 30, находящийся в это время в среднем положении, и через подпорный клапан 29 поступает в полости охлаждения гидромоторов 7, 8 и основного насоса 1, откуда она через теплообменник 31, сливную гидролинию 17 и обратный клапан 18 направляется в гидробак 9, где она проходит через деаэратор 19. По мере наполнения гидробака 9 рабочей жидкостью ее уровень повышается. И так как гидробак 9 герметичный, то при повышении в нем уровня рабочей жидкости происходит сжатие находящегося в гидробаке воздуха. Сжимаемый воздух, действуя на рабочую жидкость в гидробаке 9 как источник давления на нее, заставляет рабочую жидкость поступать по всасывающей гидролинии 20 через клапан 21 и фильтр 22 в полость всасывания подпиточного насоса 2. При этом величина давления воздуха, сжимаемого в гидробаке 9 при поступлении в него рабочей жидкости, ограничивается предохранительным клапаном 15. После того, как уровень рабочей жидкости в гидробаке 9 при его наполнении достигнет максимальной величины, от датчика 45 поступает электрический сигнал к переключателю 44, размыкаемому электрическими средствами. Происходит размыкание электрической цепи 42 и электродвигатель 35 автоматически останавливается, прекращая приводить во вращение вал автономного насоса 34 для предотвращения переполнения гидробака 9. При этом электрический сигнал от датчика 54 минимального допустимого уровня жидкости в гидробаке поступает к переключателю 53, расположенному в электрической цепи 49 стартера 50, и происходит замыкание этого переключателя. Теперь после заполнения гидравлической системы гидрообъемной трансмиссии рабочей жидкостью можно с помощью переключателя 51, нажав соответствующую кнопку, включить стартер 50 для пуска двигателя 3. Двигатель 3 после его пуска приводит во вращение вал компрессора пневматической системы машины, который наполняет сжатым воздухом ресиверы. Из пневматической системы машины очищенный в ней и осушенный сжатый воздух через кран 10, обратный клапан 11, фильтр-отстойник 12 и регулятор 14 давления сжатого воздуха поступает в воздушную полость гидробака 9, поддерживая в нем повышенное давление.
При работе гидрообъемной трансмиссии двигатель 3 вращает валы привода основного насоса 1 и подпиточного насоса 2, служащего для подпитки рабочей жидкостью под давлением полости всасывания насоса 1 во избежание в нем кавитации. При вращении вала основного насоса 1 рабочая жидкость от него под высоким давлением, например, по магистральной гидролинии 5, которая в этом случае является напорной, поступает к гидромоторам 7, 8 привода колес машины. От гидромоторов рабочая жидкость под низким давлением, поддерживаемым подпиточным насосом 2, уходит по другой магистральной гидролинии 6, которая в данном случае является возвратной. Так как давление в напорной гидролинии значительно больше давления в возвратной гидролинии, то золотник перекидного клапана 30 под действием разности давлений в магистральных гидролиниях 5, 6 перемещается в такое крайнее положение, при котором вход в подпорный клапан 29 сообщается с гидролинией 6 низкого давления. Тогда рабочая жидкость, уходящая из гидромоторов по возвратной гидролинии 6, поступает через перекидной и подпорный клапаны 30, 29 в полости охлаждения гидроагрегатов, а из них через теплообменник 31 в сливную гидролинию 17. Из сливной гидролинии 17 рабочая жидкость возвращается в гидробак 9 через обратный клапан 18 и деаэратор 19. В деаэраторе образующаяся пена поднимается вверх в воздушную полость гидробака, а продукты износа гидроагрегатов опускаются вниз в стакан отстойника. Из гидробака 9 рабочая жидкость под действием давления сжатого воздуха поступает через открытый запорный клапан 21 и фильтр 22 по всасывающей гидролинии 20 в полость всасывания подпиточного насоса 2. Далее от насоса 2 через питающую гидролинию 24 и обратный клапан 26 рабочая жидкость поступает под давлением в магистральную гидролинию 6, по которой она проходит в полость всасывания основного насоса 1.
Перед включением гидрообъемной трансмиссии в работу после стоянки машины сначала устанавливают запорный элемент 37 клапана 36 в положение, при котором полость всасывания автономного насоса 34 соединяется с гидробаком 9 через всасывающую гидролинию 20. При установке запорного элемента 37 в указанное положение электрический сигнал от датчика его положения поступает к переключателю 48 для его замыкания и тем самым для подготовки электрической цепи 42 к включению электродвигателя 35 при любом уровне жидкости в гидробаке 9. Затем, замыкая принудительно переключатель 43, электродвигателем 35 запускают в работу автономный насос 34, который нагнетает рабочую жидкость из гидробака 9 в магистральные гидролинии 5, 6 и далее к гидроагрегатам трансмиссии, то есть к насосу 1 и гидромоторам 7, 8. После прокачки рабочей жидкости через всю гидравлическую систему привод автономного насоса 34 отключают с помощью переключателя 43 и двигателем 3 машины запускают в работу гидрообъемную трансмиссию.
При необходимости демонтажа гидробака 9, например для его чистки или замены, отключают его воздушную полость краном 10 от пневматической системы машины и соединяют ее с атмосферой, перемещая принудительно запорный элемент вакуумного клапана 16. Кроме того, запорным клапаном 21 перекрывают всасывающую гидролинию 21. Затем открывают дренажную пробку в днище бака для слива из него рабочей жидкости. После этого гидробак можно снять с машины, предварительно отсоединив трубопроводы. После установки нового гидробака запорным клапаном 21 отпирают всасывающую гидролинию 20 и с помощью автономного насоса 34 из посторонней емкости посредством заправочного устройства 39, установив в надлежащее положение запорный элемент 37 клапана 36, производят заправку гидробака рабочей жидкостью, направляя ее через всю гидрообъемную трансмиссию для ликвидации возможных пустот. После наполнения гидробака рабочей жидкостью до максимального уровня привод автономного насоса 34 автоматически отключается. После этого воздушную полость гидробака соединяют краном 10 с пневматической системой машины, обеспечивая повышенное давление воздуха в гидробаке для предотвращения попадания в него из атмосферы неочищенного воздуха. Гидрообъемная трансмиссия снова готова к работе.
Созданная гидрообъемная трансмиссия транспортной машины, содержащая насосную станцию, состоящую из основного и подпиточного насосов, гидромоторы, связанные с основным насосом магистральными гидролиниями, образующими циркуляционный гидравлический контур, герметичный гидробак с указанным устройством наполнения его воздушной полости хорошо очищенным от пыли и влаги сжатым воздухом из пневматической системы машины, автономный насос с электрическим приводом и двухпозиционным клапаном для соединения его полости всасывания сначала с устройством для заправки гидробака рабочей жидкостью и затем с самим гидробаком для прокачки через гидравлический контур рабочей жидкости перед пуском гидрообъемной трансмиссии в работу, имеет повышенную надежность вследствие исключения при ее заправке рабочей жидкостью и во время ее работы попадания в гидробак пыли и других посторонних частиц, способных повредить гидроагрегаты, при этом облегчена сама заправка гидробака и всей гидравлической системы рабочей жидкостью, что упрощает техническое обслуживание трансмиссии.
Формула изобретения
1. Гидрообъемная трансмиссия транспортной машины, содержащая насосную станцию, состоящую из основного и подпиточного насосов, имеющих привод от двигателя машины, гидромоторы, связанные с насосной станцией магистральными гидролиниями, образующими циркуляционный гидравлический контур, автономный насос с электрическим приводом, полость нагнетания которого соединена с гидравлическим контуром, образованным магистральными гидролиниями, отличающаяся тем, что она снабжена герметичным гидробаком с устройством наполнения его воздушной полости сжатым воздухом из пневматической системы машины, содержащим запорный кран, регулятор давления сжатого воздуха в герметичном гидробаке с предохранительным клапаном и вакуумный клапан с ручным управлением для выпуска сжатого воздуха из герметичного гидробака, двухпозиционным клапаном с ручным управлением для попеременной гидравлической связи полости всасывания автономного насоса, имеющего электрический привод, с герметичным гидробаком и с устройством его заправки рабочей жидкостью, обратным клапаном, расположенным в сливной гидролинии на входе в герметичный гидробак, запорным клапаном с ручным управлением, расположенным во всасывающей гидролинии на выходе из герметичного гидробака.
2. Трансмиссия по п.1, отличающаяся тем, что она снабжена датчиком положения запирающего элемента упомянутого запорного клапана, управляющим переключателем, расположенным в электрической цепи электродвигателя привода автономного насоса, и переключателем, расположенным в электрической цепи стартера двигателя.
3. Трансмиссия по п.2, отличающаяся тем, что в электрической цепи стартера двигателя последовательно с переключателем, управляемым вручную, и переключателем, управляемым датчиком положения запирающего элемента упомянутого запорного клапана, расположен переключатель, управляемый датчиком минимального допустимого уровня рабочей жидкости в герметичном гидробаке.
4. Трансмиссия по п.2, отличающаяся тем, что в электрической цепи электродвигателя привода автономного насоса последовательно с переключателем, управляемым вручную, и переключателем, управляемым датчиком положения запирающего элемента упомянутого запорного клапана, расположен переключатель, управляемый датчиком максимального допустимого уровня рабочей жидкости в герметичном гидробаке.
5. Трансмиссия по п.4, отличающаяся тем, что параллельно переключателю, управляемому датчиком максимального допустимого уровня жидкости в герметичном гидробаке, расположен переключатель, управляемый датчиком положения запорного элемента упомянутого двухпозиционного клапана, связывающего полость всасывания автономного насоса попеременно с герметичным гидробаком и с устройством его заправки рабочей жидкостью.
РИСУНКИ
PC4A – Регистрация договора об уступке патента Российской Федерации на изобретение
(73) Патентообладатель(и):
Открытое акционерное общество “Инновационная фирма “НАМИ-Сервис”
(73) Патентообладатель:
Шухман Сергей Борисович
Дата и номер государственной регистрации перехода исключительного права: 28.11.2007 № РД0029514
Извещение опубликовано: 10.01.2008 БИ: 01/2008
|
|