|
|
(21), (22) Заявка: 2003132175/12, 22.10.2003
(24) Дата начала отсчета срока действия патента:
22.10.2003
(45) Опубликовано: 20.07.2005
(56) Список документов, цитированных в отчете о поиске:
SU 1692867 A1, 23.11.1991. SU 1719245 А, 15.03.1992. GB 2104002 А, 02.03.1983.
Адрес для переписки:
630099, г.Новосибирск, пр-кт Димитрова, 18, Новосибирский ЦНТИ, патентный отдел
|
(72) Автор(ы):
Громадский А.А. (RU)
(73) Патентообладатель(и):
Громадский Андрей Андреевич (RU)
|
(54) УСТРОЙСТВО ДЛЯ ПЕРЕПЛЕТНЫХ РАБОТ
(57) Реферат:
Изобретение относится к полиграфии, а именно к прессам для переплетного производства, и может применяться в типографиях при производстве книг в твердой обложке. Устройство для переплетных работ содержит установленную на основании П-образную ферму с вертикальными колонками, в которой смонтирован винт винтового пресса с обжимной плитой. При этом вертикальные колонки выполнены регулируемыми по высоте, обжимная плита снабжена направляющими, которые выполнены в виде расположенных на основании стоек, неподвижная плита, установленная на основании, и обжимная плита снабжены сменными профилями, выступающими над плоскостями плит и соединенными с нагревателями. Корпус нагревателей выполнен из металла с более высоким коэффициентом теплоотдачи, чем металл, из которого выполнены другие детали устройства. Соотношение суммарной массы подвижных деталей и суммарной массы неподвижных деталей устройства выполнено равным 1:1. Тем самым достигается высокое качество сборки книг при простоте конструкции и дешевизне в эксплуатации устройства. 1 з.п. ф-лы, 3 ил., 1 табл.

Изобретение относится к полиграфии, а именно, к прессам для переплетного производства, и может применяться в типографиях при производстве книг в твердой обложке тиражом от 5 до 15 тысяч или для сборки штучных высококачественных книг.
Известны поточные линии для изготовления книг в твердом переплете, в состав которых входит сушильно-передающее устройство, содержащее зажимные губки и механизм передачи книжного блока на последующую операцию (см. а.с. №478752, кл. В 42 С 13/00, БИ №28, 1975). Поточные линии нецелесообразно использовать для выпуска небольших тиражей книг. Поточные линии не позволяют выпускать миниатюрные книги или книги очень большого формата. Поточные линии не позволяют достичь высокого качества выпускаемых книг.
За прототип принимаем устройство для переплетных работ по а.с. №1692867, кл. В 42 С 13/00, БИ №43, 1991. Устройство-прототип содержит стол, П-образную ферму с вертикальными колонками, в которой смонтирован винт винтового пресса с обжимной плитой, устройство содержит также ножи для обрезки книжного блока.
Недостатком прототипа является неоптимальный режим давления, так как на корешок книжного блока давление должно быть больше, чем на остальную поверхность обложки. Недостатком прототипа является невозможность выполнения рубчика вдоль корешка книги, который является показателем качества переплета. Вследствие этого переплет книги получается некачественным. Книга должна находится в прессе до высыхания. Пресс-прототип предназначен лишь для ремонта старых книг и не пригоден для выпуска новых книг.
Задачей изобретения является повышение качества сборки книг за счет создания оптимального режима давления и оптимального теплового режима сборки.
Для решения поставленной задачи в устройстве для переплетных работ, содержащем установленную на основании П-образную ферму с вертикальными колонками, в которой смонтирован винт винтового пресса с обжимной плитой, вертикальные колонки выполнены регулируемыми по высоте, обжимная плита снабжена направляющими, выполненными в виде расположенных на основании стоек, неподвижная плита, установленная на основании, и обжимная плита снабжены сменными профилями, выступающими над плоскостями плит и соединенными с нагревателями, корпус нагревателей выполнен из металла с более высоким коэффициентом теплоотдачи, чем металл, из которого выполнены другие детали устройства, соотношение суммарной массы подвижных деталей и суммарной массы неподвижных деталей устройства выполнено равным 1:1.
Устройство для переплетных работ может содержать упор, установленный на неподвижной плите основания.
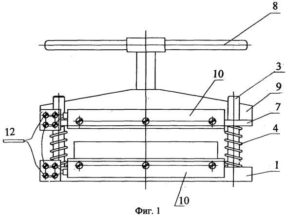
На фиг.1 представлено заявляемое устройство, вид спереди, на фиг.2 представлено заявляемое устройство, вид сбоку, на фиг.3 представлена электрическая схема подогрева сменных профилей.
Заявляемое устройство представляет собой пресс и содержит прямоугольное основание 1, на котором жестко закреплена неподвижная плита 2. В четырех углах основания 1 расположены четыре стойки 3. На стойках 3 размещены пружины 4. На основании 1 расположены также два болта 5 с гайками 6. Пружины 4 поддерживают обжимную плиту 7 ворота 8, проходящего через отверстие в подвижной детали 9 и соединенного с деталью 9 резьбовым соединением. Болты 5 также проходят через отверстия в детали 9 и соединены с деталью 9 резьбовым соединением.
Пресс снабжен нагревательными элементами 10, расположенными на неподвижной плите 2 и на обжимной плите 7 со стороны корешка обрабатываемой книги. Нагревательные элементы 10 выполнены в виде ТЭНов из нихромовой проволоки в фарфоровом изоляторе.
К нагревательным элементам 10 с помощью, например, болтов крепятся сменные профили 11 таким образом, что их торцы выступают за поверхности неподвижной плиты 2 и обжимной плиты 7. Высоту выступа можно регулировать, так как в профилях 11 пазы под болты выполнены удлиненными.
Нагревательные элементы 10 подключены к блоку питания 12. Блок питания 12 содержит тиристорный блок 13, трансформатор 14, переключатель 15.
Для высокого качества сборки книг необходимо, чтобы температура на профилях 11, соприкасающихся с корешком книги, была выше на 15-20 градусов, чем температура на плитах 2 и 7, соприкасающихся с остальной частью обложки книги. Поддержание наивыгодной постоянной температуры (+55-+70°С) на профилях 11 и меньшей (+45-+50°С) на рабочих плитах 2 и 7 достигается расчетом соотношений масс излучающих тепло площадей деталей пресса, выполнением деталей пресса из металлов с различной теплоотдачей, а также расчетом длины электронагревателей 10 и площади их соприкосновения с деталями пресса (плитами 2 и 7) и подбором напряжения питания.
Отношение масс подвижной части пресса (плита 7, деталь 9, ворот 8) и неподвижной части пресса (основание 1, плита 2) должно составлять 1:1. При этом верхняя и нижняя обложки книжного блока будут прогреваться одинаково. Корпус электронагревателя 10 выполнен, например, из алюминия, то есть из металла с более высокой теплоотдачей, чем металл, из которого выполнены плиты 2 и 7, которые выполнены, например, из стали.
Питание электронагревателей 10 осуществляется переменным током напряжением от 6 до 15 Вольт. Поэтому устройство безопасно в работе, не требует заземления и особого класса защиты от поражения электротоком.
Вследствие такого технического решения не происходит перегрева деталей устройства, т.к. излишнее тепло естественным образом рассеивается в пространстве. Поэтому конструкция устройства не требует установки регулятора температуры, всевозможных датчиков, выключателей и других приборов, а также установки промышленной вентиляции в помещении, где происходит сборка книг, вследствие ничтожного излучения тепла от устройства.
Изменение температурного режима осуществляется изменением напряжения питания электронагревателей от 6 до 15 Вольт (таблица). Для этого служит переключатель 15 и регулятор (не показан) на тиристорном блоке 13. Изменение температурного режима необходимо для производства книг различных форматов и с различной текстурой твердой обложки, что исключает брак в производстве книг (для каждой текстуры и формата книг можно подобрать свою температуру).
| Напряжение питания, B |
6 |
9 |
12 |
15 |
| Температура на рабочих деталях 4, 12 |
+35-+40°С |
+40-+45°С |
+45-+50°С |
+50-+55°С |
| Температура на деталях 9 |
+45-+50°С |
+55-+60°С |
+65-+70°С |
+75-+80°С |
Режим “6 Вольт” используется для изготовления штучных книг с дорогой текстурой обложки. При такой незначительной температуре полимеризация клея происходит медленно (можно книгу держать под давлением десятки минут), что улучшает качество книги и исключает брак.
В основном сборка книг осуществляется в “режиме” от 9 до 12 Вольт. Этот режим позволяет осуществить операцию сборки книг без брака с производительностью 150-250 книг за рабочую смену вследствие качественного приклеивания (без перегрева) обложки книги.
На неподвижной плите 2 крепится сменный упор 16, который служит для фиксации книжного блока на плите 2 и предотвращения смещения книжного блока в процессе прессования.
Устройство работает следующим образом.
Устанавливают сменные профили 11 требуемой длины. Регулируют высоту выступания сменных профилей 11. Регулируют высоту установки подвижной детали 9 болтами 5. Регулируют установку упора 16. Включают блок питания 12 в сеть и прогревают устройство.
Книжный блок с нанесенным на форзац клеем и вставленный в твердую обложку, помещают на неподвижную плиту 2. Поворачивая ворот 8, опускают обжимную плиту 7, которая скользит по стойкам 3, предотвращающим перекосы плиты 7, и опускается на книжный блок до создания необходимого давления. При этом разогретые до необходимой температуры сменные профили 11 соприкасаются с обложкой в районе корешка, нагревают корешок, а также создают профилированное углубление по всей длине корешка обложки книги. Под давлением, создаваемым прессом, и при подогреве клеевого состава происходит полимеризация клея.
Книгу выдерживают в течение 1-3 минут. За это время успевает хорошо прогреться только корешок. Излишнее тепло не успевает передаться стальным деталям пресса, в частности плитам 2 и 7, и книге, так как рассеется алюминиевым корпусом нагревателя 10. Книга тоже отнимет у плит 2 и 7 некоторое количество тепла. Следующая книга послужит охлаждающим элементом. Снимают давление, поворачивая ворот 8 в обратную сторону. Книжный блок убирают из пресса. Книга готова и для складирования, и для транспортировки, и для реализации.
Как видно из описания, конструкция заявляемого устройства позволяет каждой книге подобрать оптимальный режим сборки для каждой серии книг, учитывая формат, тип бумаги и материал обложки. Устройство позволяет достичь высокого качества выпускаемой продукции, свести процент брака практически до нуля. Заявляемое устройство дешево в изготовлении и обслуживании, просто в эксплуатации.
Формула изобретения
1. Устройство для переплетных работ, содержащее установленную на основании П-образную ферму с вертикальными колонками, в которой смонтирован винт винтового пресса с обжимной плитой, отличающееся тем, что вертикальные колонки выполнены регулируемыми по высоте, обжимная плита снабжена направляющими, выполненными в виде расположенных на основании стоек, неподвижная плита, установленная на основании, и обжимная плита снабжены сменными профилями, выступающими над плоскостями плит и соединенными с нагревателями, корпус нагревателей выполнен из металла с более высоким коэффициентом теплоотдачи, чем металл, из которого выполнены другие детали устройства, соотношение суммарной массы подвижных деталей и суммарной массы неподвижных деталей устройства выполнено равным 1:1.
2. Устройство для переплетных работ по п.1, отличающийся тем, что оно содержит упор, установленный на неподвижной плите основания.
РИСУНКИ
MM4A Досрочное прекращение действия патента Российской Федерации на изобретение из-за неуплаты в установленный срок пошлины за поддержание патента в силе
Дата прекращения действия патента: 23.10.2005
Извещение опубликовано: 27.01.2007 БИ: 03/2007
|
|