|
|
(21), (22) Заявка: 2003125676/12, 20.08.2003
(24) Дата начала отсчета срока действия патента:
20.08.2003
(30) Конвенционный приоритет:
21.08.2002 (пп.1-18) JP 2002-240239
(43) Дата публикации заявки: 10.02.2005
(45) Опубликовано: 20.07.2005
(56) Список документов, цитированных в отчете о поиске:
US 6382858 B1, 07.05.2002. WO 01/53177 A1, 26.07.2001. JP 9315611 A, 09.12.1997. JP 8012115 A, 16.01.1996. RU 2139196 C1, 10.10.1999.
Адрес для переписки:
129010, Москва, ул. Б.Спасская, 25, стр.3, ООО “Юридическая фирма Городисский и Партнеры”, пат.пов. Г.Б. Егоровой
|
(72) Автор(ы):
НАКАНО Юдзи (JP), МАЦУМОТО Тосия (JP)
(73) Патентообладатель(и):
КЭНОН КАБУСИКИ КАЙСЯ (JP)
|
(54) ПЕЧАТАЮЩЕЕ УСТРОЙСТВО
(57) Реферат:
Изобретение относится к печатающему устройству для печати с помощью средства печати, содержащему секцию подачи, предназначенную для подачи бумаги для печати лист за листом по отдельности, и маршрут транспортировки, проходящий, по существу, прямолинейно для транспортировки носителя печатаемой информации, имеющего большую жесткость. Часть секции подачи перекрывается с маршрутом транспортировки в вертикальном поперечном направлении, но не перекрывается в направлении, перпендикулярном направлению транспортировки носителя печатаемой информации. Устройство характеризуется компактной конструкцией, низкими производственными затратами и обеспечивает надежную работу без снижения рабочих характеристик. 17 з.п.ф-лы, 22 ил.

Область техники, к которой относится изобретение
Это изобретение относится к печатающему устройству, такому, как принтер, в котором единственная печатающая часть обычно используется и для носителя печатаемой информации, имеющего малую жесткость, такого, как бумага, и для носителя печатаемой информации, имеющего большую жесткость, такого, как CD.
Предшествующий уровень техники
Ранее предложены различные носители печатаемой информации (записи), обычно используемые вместе с печатающими устройствами, такими, как принтеры. Между тем, существуют компактные толстые носители печатаемой информации, подобные CD, DVD и карточкам (всем им вместе в нижеследующем тексте присвоено собирательное название “CD” или “компакт-диск”). Если в современном широко применяемом принтере используется некоторый маршрут транспортировки отдельного листа, когда печать (запись) производится на вышеупомянутый носитель печатаемой информации, то возникают проблемы, связанные с тем, что жесткость ухудшает свойство транспортировки, вследствие чего могут возникнуть царапины, и с тем, что транспортировка становится невозможной ввиду соотношения расстояний между транспортирующими валиками. Поэтому для толстого носителя печатаемой информации, такого, как CD, используют лоток и обычно используют и приводят в действие отдельную секцию печати, когда используется маршрут, отличающийся от маршрута транспортировки отдельного листа.
Поскольку обычный отдельный лист в широко применяемом принтере имеет малую жесткость, в секции печати возникает проблема смещения. Носитель печатаемой информации, имеющий относительно малую жесткость, такой, как отдельный лист, подходит под углом от 10 до 15 градусов относительно нижней поверхности (именуемой ниже “столиком”) печатающей части, а смещение такого носителя печатаемой информации в секции печати предотвращается после прижатия носителя печатаемой информации к столику. Поэтому состояние захвата, обеспечиваемое транспортирующим валиком для транспортировки носителя печатаемой информации по направлению к секции печати, предусматривает наклон. Как правило внешняя поверхность подающих валиков секции подачи, находящихся на стороне, которая в направлении транспортировки расположена выше по ходу от транспортирующего валика, расположена в вертикальном направлении выше относительно захватной части транспортирующего валика, чтобы обеспечить эффективное введение носителя печатаемой информации в захватную часть транспортирующих валиков. Это делают потому, что в случае, если маршрут транспортировки от подающих валиков к транспортирующим валикам является криволинейным, то во время печати может возникать нагрузка на носитель печатаемой информации, а точность обнаружения положения переднего края носителя печатаемой информации может снижаться, вследствие чего может происходить замятие бумаги. Поэтому маршрут транспортировки от подающих валиков к транспортирующим валикам делают, по существу, прямолинейным, а подающие валики и секцию отделения секции подачи располагают под острым углом над транспортирующими валиками.
Между тем, если печать (запись) осуществляют на носитель печатаемой информации, имеющий относительно большую жесткость, такой, как CD, то для транспортировки CD, установленного на лотке, как описано выше, необходим прямолинейно проходящий маршрут транспортировки (именуемый в нижеследующем тексте “маршрутом транспортировки для жесткого тела”).
Из сущности этой конструкции следует, что нужно располагать ее так, чтобы маршрут транспортировки для жесткого тела и подающие валики, а также отделяющая часть не мешали друг другу в задней части или на той стороне, которая в направлении транспортировки находится выше по ходу от секции печати. Поэтому, в обычном устройстве, в котором одна секция печати обычно используется так, как описано выше, оба вышеописанных элемента располагают с обеспечением возможности “увода” их друг от друга в поперечном направлении. Например, создают устройство с некоторой конструкцией, такой, что, например: (i) секция подачи смещена в некоторое место назад и вверх, или вверх на той стороне, которая в направлении транспортировки расположена выше по ходу; (ii) реализуется способ, при котором используется отделяющая подушка, имеющая меньший выступ на нижней стороне отделяющей части (на маршруте транспортировки для твердого тела) по сравнению с отделяющим валиком; или (iii) вся секция подачи смещена вверх.
Однако при наличии таких конструкций, как упомянутые выше, возникают проблемы, заключающиеся, например, в том, что: (i) площадь установки устройства становится больше; легко происходит замятие бумаги ввиду более протяженного маршрута транспортировки для носителя печатаемой информации; может происходить отказ транспортировки носителя печатаемой информации, имеющего меньшую длину в направлении транспортировки; время, необходимое для печати на носитель печатаемой информации в виде одного диска или одного листа, может стать больше; (ii) может ухудшиться свойство отделения; и (iii) может увеличиться высота устройства; могут возникать затруднения при попытках загрузить носитель печатаемой информации в захватную часть транспортирующих валиков.
Краткое изложение сущности изобретения
Задача изобретения состоит в том, чтобы разработать печатающее устройство, выполненное с возможностью осуществления печати при использовании единственной секции печати на носители печатаемой информации, имеющие малую жесткость, такие, как бумага, и на носители печатаемой информации, имеющие большую жесткость, такие, как CD, имеющее простую конструкцию и управление, малую стоимость, а также компактную конструкцию без какого бы то ни было снижения рабочих характеристик.
Этому изобретению присущ признак, заключающийся в том, что в печатающем устройстве для печати с помощью средства печати, включающем в себя секцию подачи, предназначенную для подачи бумаги для печати лист за листом по отдельности, имеется маршрут транспортировки, проходящий, по существу, прямолинейно для транспортировки носителя печатаемой информации, имеющего большую жесткость, при этом часть секции подачи перекрывается с маршрутом транспортировки в вертикальном поперечном направлении, но не перекрывается в направлении, пересекающемся с направлением транспортировки носителя печатаемой информации.
В соответствии с этим изобретением в печатающем устройстве, обычно использующем одну печатающую секцию для печати на носителе печатаемой информации, имеющем малую жесткость и подаваемом отдельно из секции подачи, и для печати на носителе печатаемой информации, имеющем большую жесткость и подаваемом с маршрута, отличающегося от маршрута для носителя печатаемой информации, имеющего малую жесткость, маршрут транспортировки для жесткого тела, служащий в качестве маршрута транспортировки для носителя печатаемой информации, имеющего большую жесткость, проходит, по существу, прямолинейно, а часть секции подачи перекрывается с маршрутом транспортировки для жесткого тела в вертикальном поперечном направлении, но не перекрывается в направлении, пересекающемся с направлением транспортировки носителя печатаемой информации, вследствие чего можно создать печатающее устройство с низкими затратами, компактной конструкцией и без какого бы то ни было снижения рабочих характеристик.
Краткое описание чертежей
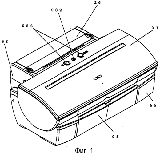
На фиг.1 представлено перспективное изображение, которое иллюстрирует печатающее устройство в соответствии с первым вариантом осуществления изобретения;
на фиг.2 представлено перспективное изображение, которое иллюстрирует печатающее устройство в соответствии с первым конкретным вариантом осуществления;
на фиг.3 представлено перспективное изображение, которое иллюстрирует механическую секцию печатающего устройства в соответствии с первым конкретным вариантом осуществления;
на фиг.4 представлено перспективное изображение, которое иллюстрирует механическую секцию печатающего устройства в соответствии с первым конкретным вариантом осуществления;
на фиг.5 представлено поперечное сечение, которое иллюстрирует печатающее устройство в соответствии с первым конкретным вариантом осуществления;
на фиг.6 представлено перспективное изображение, которое иллюстрирует печатающее устройство в соответствии с первым конкретным вариантом осуществления;
на фиг.7 представлено перспективное изображение, иллюстрирующее часть для транспортировки CD в соответствии с первым конкретным вариантом осуществления;
на фиг.8 представлено перспективное изображение, которое иллюстрирует крепежную часть и обнаруживающую крепление часть части для транспортировки CD в нижнем корпусе в соответствии с первым конкретным вариантом осуществления;
на фиг.9 представлено изображение конструкции, которое иллюстрирует крюковое зацепление между нижним корпусом и частью для транспортировки CD в соответствии с первым конкретным вариантом осуществления;
на фиг.10 представлено перспективное изображение, иллюстрирующее часть для транспортировки CD, в которой скользящая крышка смещена, в соответствии с первым конкретным вариантом осуществления;
на фиг.11 представлено изображение конструкции, которое иллюстрирует разъединение зацепления между нижним корпусом и частью для транспортировки CD в соответствии с первым конкретным вариантом осуществления;
на фиг.12 представлено изображение конструкции, иллюстрирующее рычаг в ситуации, когда скользящая крышка смещена, в соответствии с первым конкретным вариантом осуществления;
на фиг.13 представлен вид в плане, иллюстрирующий лоток в соответствии с первым конкретным вариантом осуществления;
на фиг.14 представлено перспективное изображение, иллюстрирующее лоток, установленный в часть для транспортировки CD в соответствии с первым конкретным вариантом осуществления;
на фиг.15 представлено изображение, иллюстрирующее транспортировку лотка в соответствии с первым конкретным вариантом осуществления;
на фиг.16 представлено изображение, иллюстрирующее механизм перемещения направляющего вала каретки вверх и вниз в соответствии с первым конкретным вариантом осуществления;
на фиг.17 представлено изображение, иллюстрирующее вставку в лоток бокового прижимного валика и прижимающего валика в соответствии с первым конкретным вариантом осуществления;
на фиг.18 представлено перспективное изображение, иллюстрирующее взаимосвязь между секцией подачи и траекторией CD в соответствии с первым конкретным вариантом осуществления;
на фиг.19 представлено перспективное изображение, иллюстрирующее взаимосвязь между секцией подачи и траекторией CD в соответствии с первым конкретным вариантом осуществления;
на фиг.20 представлено поперечное сечение, иллюстрирующее взаимосвязь между рычагом возврата и лотком (во время обычной операции печати на CD) в соответствии с первым конкретным вариантом осуществления;
на фиг.21 представлено поперечное сечение, иллюстрирующее взаимосвязь между рычагом возврата и лотком (в состоянии, когда рычаг возврата выдвинут на маршрут транспортировки лотка) в соответствии с первым конкретным вариантом осуществления; и
на фиг.22 представлено поперечное сечение, иллюстрирующее работу рычага возврата в соответствии с первым конкретным вариантом осуществления.
Подробное описание предпочтительных конкретных вариантов осуществления
Ниже, со ссылками на чертежи, приводится подробное описание предпочтительных конкретных вариантов осуществления изобретения. Размер, материал, форма и относительное расположение конструктивных элементов, оговариваемые в нижеследующем описании конкретных вариантов осуществления, могут быть надлежащим образом изменены в соответствии с конструкцией устройства, к которому применяется изобретение, и поэтому конкретное описание таких изменений не приводится, а объем притязаний изобретения ими не ограничивается.
[Первый вариант осуществления]
Обращаясь к фиг.1–22, приведем описание первого варианта осуществления. На фиг.1 и фиг.2 представлены изображения в перспективе печатающего устройства в соответствии с первым вариантом осуществления; на фиг.3 и 4 представлены изображения в перспективе, иллюстрирующие механическую секцию печатающего устройства в соответствии с первым вариантом осуществления; на фиг.5 представлено поперечное сечение, которое иллюстрирует печатающее устройство в соответствии с первым вариантом осуществления. Фиг.6–17 иллюстрируют печать на CD. На фиг.18 и 19 представлены изображения в перспективе, иллюстрирующие секцию подачи и лоток для печати на CD; на фиг.20 и 21 представлены поперечные сечения, иллюстрирующие секцию подачи и лоток для печати на CD; на фиг.22 представлено поперечное сечение, иллюстрирующее работу рычага возврата.
Конструкция печатающего устройства 1 в соответствии с этим конкретным вариантом осуществления включает в себя, например, секцию 2 подачи, секцию 3 транспортировки, секцию 4 выдачи, секцию 5 каретки, секцию 6 очистки, печатающую головку 7 и секцию 8 транспортировки CD.
Теперь будет приведено последовательное описание этих секций в упомянутом порядке.
(А) Секция подачи
Секция 2 подачи имеет конструкцию, в которой к основанию 20 прикреплены, например, прижимная пластина 21 для укладки в стопу листовых материалов (материалов для печати, имеющих относительно малую жесткость, таких, как листы бумаги) Р, подающий валик 28 для подачи листового материала Р, отделяющий валик 241 для отделения листового материала Р и рычаг 22 возврата в качестве возвращающего элемента для возврата листового материала Р в положение укладки в стопу.
Подающий валик 28 имеет внешнюю периферийную поверхность, находящуюся в положении соприкосновения с общей касательной каждого из валиков, проходящей через контактную часть (именуемую в нижеследующем тексте “захватной частью транспортирующего валика”) между транспортирующим валиком 36 секции 3 транспортировки, описанной ниже, и прижимным валиком 37. Это нужно для обеспечения простоты ввода листового материала Р в захватную часть транспортирующего валика. Это также нужно для предотвращения нагрузки на листовой материал при касании (им) направляющих, образующих маршрут транспортировки, во время печати на листовой материал Р, а также для сокращения траектории листов с целью точного обнаружения положения переднего конца листового материала Р. Если к листовому материалу Р прикладывается нагрузка, то может измениться величина подачи на транспортирующем валике 36 во время печати, вследствие чего печать изображений может оказаться неравномерной.
Как показано на фиг.2, подающий лоток 26 для удержания листовых материалов Р, уложенных в стопу, прикреплен к основанию 20 или внешнему корпусу. Подающий лоток 26 является многоступенчатым и при эксплуатации выдвигается.
Подающий валик 28 имеет форму стержня круглого поперечного сечения. Ближе к базовой стороне листового материала (т.е. к правой – если смотреть на устройство спереди – стороне, именуемой далее “базовой стороной”, тогда как противоположная сторона именуется “не базовой стороной”) расположена резина 281 отделяющего валика, позволяющая реализовать подачу листового материала должным образом.
Причина, по которой резина 281 отделяющего валика расположена на базовой стороне, заключается в конструкции, согласно которой листы в широком ассортименте размеров выравниваются по базовой стороне. Так как на поверхности листа слева направо записываются многие печатаемые объекты, и так как эти печатаемые объекты часто находятся на левой стороне поверхности листа, в соответствии с этим базовой служит правая сторона устройства. Желательно располагать отделяющую часть ближе к базовой стороне при подаче этих листовых материалов. При реализации струйного способа печати необходима крышка для технического обслуживания печатающей головки и предотвращения высыхания чернил. Эта крышка может располагаться на базовой стороне вне области пропускания листового материала, при этом желательно вести печать со снижением выражаемой параметрами скорости печати величины выбега каретки из этой области.
Движение подающему валику 28 передается посредством зубчатого колеса 271 передачи движения и планетарного редуктора 272 от специального электродвигателя 273 подачи, установленного в секции 2 подачи.
На прижимной пластине 21 установлена с возможностью перемещения подвижная боковая направляющая 23, ограничивая положение укладки в стопу листового материала Р. Прижимная пластина 23 выполнена с возможностью поворота относительно оси поворота, которая соединена с основанием 20, и упирается в подающий валик 28 под воздействием пружины 212 прижимной пластины. На прижимной пластине 21 установлен обращенный к подающему валику 28 отделяющий лист 213 (см. фиг.5), изготовленный из материала, имеющего большой коэффициент трения, такого, как искусственная кожа, для предотвращения подачи одновременно двух листов листового материала Р, расположенных близко к концу стопы. Конструкция прижимной пластины 21 такова, что она может вступать в контакт с подающим валиком 28 и отходить от него под воздействием кулачка прижимной пластины.
Кроме того, позицией 241 обозначен отделяющий валик 241 для отделения листовых материалов лист за листом, прикрепленный к держателю 24 отделяющего валика. Держатель 24 отделяющего валика выполнен с возможностью поворота относительно оси поворота, установленной на основании 20. Отделяющий валик 241 упирается в подающий валик 28 под воздействием пружины отделяющего валика. На оси отделяющего валика 241 закреплена пружина сцепления, и если прикладывается нагрузка, не превышающая предварительно определенную величину, то отделяющий валик 241 может вращаться.
Конструкция отделяющего валика 241 такова, что он может вступать в контакт с подающим валиком 28 и отходить от него под воздействием отпускающего вала 244 отделяющего валика, а также управляющего кулачка. Положения прижимной пластины 21, рычага 22 возврата и отделяющего валика 241 обнаруживаются датчиком блока автоматической загрузки листов бумаги, представляющим собой первое обнаруживающее средство.
Рычаг 22 возврата, предназначенный для возврата листового материала Р в положение укладки в стопу, прикреплен с возможностью поворота к основанию 20 и принудительно отводится в направлении отпускания пружиной рычага возврата. Конструкция рычага 22 возврата такова, что он способен скользить в радиальном направлении и обычно принудительно отведен посредством вышеописанной пружины рычага возврата в направлении выдвижения относительно траектории листов. При возврате листового материала Р этот рычаг поворачивается управляющим кулачком. Когда рычаг 22 возврата поворачивается, возвращая листовой материал Р назад, часть 222 кулачка (см. фиг.22), выполненная на рычаге 22 возврата, вступает в контакт с основанием 20, вследствие чего рычаг 22 возврата уводится с траектории листов листового материала Р. Это делается для предотвращения негативного влияния на транспортировку, осуществляемую транспортирующим валиком во время печати, которая требует соблюдения точной величины подачи; упомянутое негативное влияние представляет собой приложение нагрузки к листовому материалу, если рычаг 22 возврата находится в том состоянии, когда он выдвинут на траекторию листов. Эта конструкция позволяет избежать неравномерности печати изображений.
В контакте с подающим валиком 28 на уровне опорной поверхности находится выходная щетка, не показанная на чертежах. Подающий валик всегда подвергается воздействию трения, и поэтому легко воспринимает статические заряды. Вместе с вышеуказанными статическими зарядами на детали, сопряженные с подающим валиком, может оседать влага чернил. Поскольку подающий валик находится в контакте с (поверхностью) носителя печатаемой информации, возможен перенос вышеописанной налипшей влаги на носитель печатаемой информации. Сконструированный вышеупомянутым образом механизм может предотвратить налипание влаги чернил на подающий валик и перенос этой влаги на носитель печатаемой информации.
Ниже описывается состояние подачи с помощью вышеописанной конструкции. В обычном состоянии ожидания прижимная пластина 21 отделена от подающего валика 28 не показанным на чертежах кулачком прижимной пластины, а отделяющий валик 241 отделен от подающего валика 28 управляющим кулачком. Рычаг 22 возврата возвращает листовой материал Р и установлен в положении укладки в стопу для блокировки доступа к стопе, так что листовой материал Р не может попасть на противоположную сторону во время операции укладки в стопу.
Когда из этого состояния начинается подача листового материала, отделяющий валик 241 сначала вступает в контакт с подающим валиком 28 под воздействием электродвигателя. Потом выводится из зацепления рычаг 22 возврата, позволяя прижимной пластине 21 вступить в контакт с подающим валиком 28. Затем в этом состоянии начинается подача листовых материалов Р. Листовой материал Р ограничен отделяющей частью 201 передней ступени, выполненной на основании 20, так что к захватной части, состоящей из подающего валика 28 и отделяющего валика 241, подается предписанное количество листовых материалов Р. Подаваемые таким образом листовые материалы Р отделяются в этой захватной части, и транспортируется только крайний сверху листовой материал Р.
Когда листовой материал Р достигает транспортирующего валика 36 и прижимного валика 37, как описано ниже, прижимная пластина 21 отделяется от подающего валика 28 кулачком прижимной пластины. Рычаг 22 возврата возвращается управляющим рычагом в положение укладки в стопу. В этот момент, листовой материал, который достиг захватной части, состоящей из подающего валика 28 и отделяющего валика 241, можно возвратить в положение укладки в стопу.
(В) Секция транспортировки
Ниже приводится описание секции транспортировки. Секция 3 транспортировки прикреплена к шасси 11, выполненному из изогнутой металлической пластины. Секция 3 транспортировки имеет транспортирующий валик 36 для транспортировки листовых материалов Р и фотоэлектрический датчик в качестве второго обнаруживающего средства. Транспортирующий валик 36 имеет конструкцию, покрытую мелкими керамическими частицами на поверхности металлической оси, установлен в подшипниках в металлических частях двух осей и прикреплен к шасси 11. На транспортирующем валике 36 имеется пружина для прижатия транспортирующего валика, находящаяся между подшипником и транспортирующим валиком 36 для приложения нагрузки во время вращения и обеспечения стабильной транспортировки, вследствие чего стабильную транспортировку можно обеспечить, прикладывая нагрузку к транспортирующему валику 36 во время вращения.
Предусмотрено несколько прижимных валиков 37, подводимых к транспортирующему валику 36 и предназначенных для введения в контакт с транспортирующим валиком 36. Прижимной валик 37 удерживается в держателе 30 прижимного валика и принудительно подводится к транспортирующему валику 36 пружиной прижимного валика, создавая тем самым усилие транспортировки листового материала Р. В этот момент поворотный вал держателя 30 прижимного валика сочленен с подшипником шасси 11, а держатель 30 прижимного валика поворачивается вокруг этого вала.
На входе в секцию 3 транспортировки, куда транспортируется листовой материал Р, расположен ограничительный передний упор 33 направления бумаги, предназначенный для направления листового материала Р, и столик 34. В держателе 30 прижимного валика выполнен рычаг 321 с фотоэлектрическим датчиком, способствующий передаче сигнала обнаружения переднего края и заднего края листа Р в фотоэлектрический датчик 32. Столик 34 установлен на шасси 11 и закреплен в надлежащем положении.
Ограничительный передний упор 33 направляющей бумаги установлен на транспортирующем валике 36 и выполнен с возможностью поворота вокруг опоры, которая выполняет функции центра и с которой упомянутый валик находится в скользящем контакте. Упор 33 принудительно отводится вверх (в направлении против часовой стрелки на фиг.5) посредством пружины, а его положение определяется контактом с шасси 11. Это состояние обеспечивает “получение” направляющей нижнего листа, когда листовой материал Р, имеющий относительно малую жесткость, транспортируется из секции подачи, а во время транспортировки CD обеспечивается вставка весьма жесткого лотка 83 со стороны, находящейся ниже по ходу, что будет описано далее. В этом случае ограничительный передний упор 33 направляющей бумаги поворачивается в направлении по часовой стрелке лотком 83, поддерживаемым, по существу горизонтально, вместе с транспортирующим валиком и выдающими валиками 40, 41, не препятствуя движению лотка. Для удовлетворения требований к этой операции предназначена сила упругости пружины.
На базовой для листового материала стороне столика 34 выполнен прижимной элемент для листового материала, накрывающий край листового материала Р. Этот элемент способствует тому, что листовые материалы Р, край которых трансформировался или загнулся, не будут мешать движению каретки 50 или печатающей головки 7 даже тогда, когда такой край смещается. Печатающая головка для формирования изображений на основании информации об изображениях выполнена на той стороне, которая расположена ниже по ходу в направлении подачи листового материала транспортирующим валиком 36.
При такой конструкции листовой материал Р, посланный в секцию 3 транспортировки, как описано выше, направляется держателем 30 прижимного валика и ограничительным передним упором 33 направляющей бумаги и посылается к паре валиков, состоящей из транспортирующего валика 36 и прижимного валика 37. В этот момент рычаг 321 с фотоэлектрическим датчиком обнаруживает передний край листового материала Р, транспортируемого вышеописанным образом, и вследствие этого обнаруживает, что листовой материал Р находится в положении печати.
Листовой материал Р транспортируется на столик 34 в соответствии с вращением пары валиков 36, 37, приводимых в движение электродвигателем 35 транспортировки. На столике 34 имеются ребра, служащие базовой поверхностью транспортировки и позволяющие управлять зазором до печатающей головки 7. Эта конструкция позволяет избежать провисания материала Р за счет регулирования прогибов листовых материалов с помощью столика 34 и секции выдачи, описываемой ниже.
Транспортирующий валик 36 приводится во вращение за счет передачи вращательного усилия электродвигателя 35 транспортировки, представляющего собой электродвигатель постоянного тока, на шкив 361, установленный на валу транспортирующего валика 36, с помощью синхронизирующего ремня. На валу транспортирующего валика 36 установлено кодовое колесо 362, на котором выполнена маркировка с делениями от 150 строк на дюйм до 300 строк на дюйм, позволяющая обнаружить величину подачи при транспортировке, обеспечиваемую транспортирующим валиком 36. В положении рядом с кодовым колесом 362 к шасси 11 прикреплен датчик 363 кода для считывания упомянутой маркировки.
(С) Секция каретки
Секция 5 каретки имеет каретку 50 для крепления печатающей головки 7. Каретка 5 установлена на направляющий вал 52, который обеспечивает возможность возвратно-поступательного движения каретки в направлении, пересекающем направление подачи листового материала Р, и опирается на направляющую планку 111, удерживающую конец каретки 50 для поддержания зазора между печатающей головкой 7 и листовым материалом Р. Направляющий вал 52 прикреплен к шасси 11. Направляющая планка 111 выполнена как единое целое с шасси 11. На участвующей в скольжении стороне направляющей планки 11, обращенной к каретке 50, установлен с натяжением лист 53 скольжения, выполненный из тонкой пластины, материал которой соответствует, например, единой спецификации UNIX, и т.п., что способствует уменьшению шумов при скольжении.
Каретка 50 приводится в движение посредством синхронизирующего ремня 541, в свою очередь приводимого в движение электродвигателем каретки, прикрепленным к шасси 11. Синхронизирующий ремень 541 натянут посредством натяжного шкива 542. Синхронизирующий ремень 541 связан с кареткой 50 через демпфер, изготовленный из такого материала, как резина, и т.п., что снижает неравномерность в изображениях за счет гашения вибрации электродвигателя каретки и т.п.
Параллельно синхронизирующему ремню 541 расположена кодовая полоска 561, снабженная маркировкой шага – от 150 строк на дюйм до 300 строк на дюйм, – позволяющая обнаружить положение каретки 50. На подложке каретки, установленной на каретке 50, выполнен центр кодера для считывания упомянутой маркировки. На подложке каретки также выполнен соединитель для электрического соединения печатающей головки 7. Каретка 50 имеет гибкую подложку 57 для передачи сигнала головки от электрической положки 91 к печатающей головке 7.
Каретка 50 выполнена с ответной частью для позиционирования печатающей головки 7 и толкающим средством для толкания закрепляемой головки с целью крепления печатающей головки 7 к каретке 50. Толкающее средство установлено на задающем рычаге 51 головки и имеет конструкцию, обеспечивающую работу печатающей головки 7 при заданном повороте задающего рычага 51 головки вокруг центра поворота.
Как показано на фиг.16, на каждом конце направляющего вала 52 предусмотрен эксцентриковый кулачок 521, так что при передаче движения на эксцентриковый кулачок 521 через ступень 581 зубчатого редуктора в результате осуществления привода от электродвигателя 58 подъема каретки обеспечивается перемещение направляющего вала 52 вверх и вниз. Эта конструкция позволяет поднимать и опускать каретку 50 и создает оптимальный зазор до листовых материалов Р, имеющих толщину, разную у различных материалов.
К каретке 50 прикреплен датчик обнаружения положения лотка (четвертое обнаруживающее средство), представляющий собой оптический датчик отражательного типа для обнаружения метки 834 (см. фиг.13) с целью обнаружения положения лотка 83 во время печати на CD, описываемой ниже. Положение лотка 83 можно обнаружить путем излучения света из светоизлучающего устройства и приема отраженного света.
Печатающая головка 7 используется с головкой струйной печати, на которой установлены предусмотренные отдельно для каждого цвета сменные емкости с чернилами. Конструкция для выпуска чернил из печатающей головки 7 обеспечивает печать путем подачи питания на электротепловой преобразователь в ответ на сигнал печати (записи) и последующего выпуска чернил через отверстие в соответствии с ростом и сжатием пузырьков, образующихся в чернилах за счет кипения тонкого слоя, обеспечиваемого в чернилах в результате приложения тепловой энергии. Путем выпуска чернил таким образом при росте и сжатии пузырьков, образовавшихся в результате приложения тепловой энергии, в частности, можно достичь характеристики выпуска чернил, обеспечивающей надлежащие свойства отклика на сигнал печати.
Следует отметить, что при печати струйным способом желательно осуществлять выпуск чернил в направлении действия силы тяжести, так что столик 34 желательно располагать горизонтально. Желательно вводить листовой материал Р под наклоном (от 10 до 15 градусов) к столику 34, что способствует плотному контакту листового материала Р со столиком 34 в целях транспортировки, чтобы листовой материал Р не перекашивался в секции печати. Поэтому желательно, чтобы захват у подающего валика происходил под наклоном и, соответственно, чтобы подающий валик 241 секции подачи был смещен вверх, как описано выше.
При наличии такой конструкции, когда на листовых материалах Р формируются изображения, пара валиков 36, 37 транспортирует листовой материал Р в положение в строке для формирования изображения (положение в направлении транспортировки листового материала Р), а каретка 50 перемещается с помощью электродвигателя каретки в положение в столбце для формирования изображения (положение, перпендикулярное направлению транспортировки листового материала Р), вследствие чего печатающая головка 7 оказывается обращенной к положению формирования изображения. Тогда печатающая головка 7 в соответствии с сигналом от электрической подложки 91 выпускает чернила на листовой материал Р, тем самым формируя изображения.
(D) Секция выдачи
Секция 4 выдачи имеет конструкцию, состоящую из выдающих валиков 40, 41, прямозубых зубчатых колес 42, приводимых во вращение в контакте с выдающими валиками 40, 41 под предписанным давлением, ступень зубчатого редуктора для передачи движения от транспортирующего валика к выдающим валикам 40, 41, и т.п.
Выдающие валики 40, 41 прикреплены к столику 34. Выдающий валик 40, расположенный выше по ходу, выполнен в виде совокупности резиновых частей, находящихся на металлическом валу. Движение от транспортирующего валика передается на выдающий валик через промежуточное зубчатое колесо для привода валика. Выдающий валик 41 имеет конструкцию, в соответствии с которой упругие корпусные части, выполненные из эластомера, прикреплены к резиновому валу. Движение на выдающий валик 41 передается от выдающего валика 40 посредством промежуточного зубчатого колеса.
Прямозубое зубчатое колесо 42 выполнено из тонкой пластины, изготовленной из материала, соответствующего единой спецификации UNIX, имеет многочисленные выступы на периферийной поверхности и резиновую часть, выполненную как единое целое с пластиной, и прикреплено к держателю 43 прямозубого зубчатого колеса. Пружина прямозубого зубчатого колеса, выполненная в форме стержнеобразной цилиндрической винтовой пружины, удерживает прямозубое цилиндрическое колесо 42 прикрепленным к держателю 43 прямозубого цилиндрического колеса и подталкивает прямозубое зубчатое колесо 42 к выдающим валикам 40, 41. Прямозубое зубчатое колесо установлено в положении, соответствующем резиновым частям и упругим корпусным частям выдающих валиков 40, 41, и поэтому служит для создания усилия транспортировки листового материала Р, а также служит главным образом для подавления всплывания (перекоса) листового материала во время печати, когда оказывается в положении, где на выдающих валиках 40, 41 не предусмотрены резиновая часть и упругая корпусная часть.
Между выдающими валиками 40, 41 предусмотрена краевая опора для листового материала, позволяющая избежать повреждения за счет трения отпечатанных частей листовых материалов Р вследствие подъема противоположного конца листового материала и удержания листового материала Р на передней стороне выдающих валиков 40, 41. Пружина краевой опоры листового материала воздействует на резиновый элемент, на кончике которого сформирован валик; каждый край листового материала Р поднимается за счет подталкивания этого валика к листовому материалу Р под предварительно определенным давлением, вследствие чего образуется конструктивная опора для удержания листового материала, эффект которой похож на придание жесткости этому листовому материалу.
При наличии описанной выше конструкции листовой материал Р, на котором секция 5 каретки сформировала изображения, попадает в захват между выдающим валиком 41 и прямозубым зубчатым колесом 42, и вследствие этого выдается в лоток 46 выдачи после транспортировки. Лоток 46 выдачи разделен на множество деталей, конструкция которых и их расположение в нижнем корпусе 99 описывается ниже. В процессе эксплуатации лоток 46 выдачи используется выдвинутым (открытым). Лоток 46 выдачи имеет конструкцию, позволяющую увеличивать высоту по мере приближения к его кончику, так что каждый конец составляющей детали по мере приближения к кончику имеет все большую высоту, что способствует улучшению свойства укладки в стопу выдаваемого листового материала Р, а также предотвращению износа поверхности, на которой проведена печать.
(Е) Секция очистки
Секция 6 очистки имеет конструкцию, в которую, как показано на фиг.3 и фиг.4, входят, например, насос 60, осуществляющий очистку печатающей головки 7, крышка 61, препятствующая высыханию печатающей головки 7, и скребок 62 для очистки лицевой поверхности вокруг сопел печатающей головки 7.
Очищающая часть 6 имеет электродвигатель 69 очистки, используемый исключительно с этой целью, и одностороннюю муфту для приведения насоса во вращение в одном направлении и приведения в действие скребка 62, а также перемещения крышки 61 вверх и вниз при вращении в другом направлении.
Конструкция насоса 60 такова, что он создает давление ниже атмосферного, нагнетаемое по двум трубкам с помощью прокачивающего валика. Крышка 61 подсоединена к насосу трубкой через расположенный в ее середине клапан. Его конструкция позволяет поглощать излишние чернила, поступающие из печатающей головки 7, если насос 60 работает, когда крышка 61 находится в плотном контакте с печатающей головкой 7. С целью уменьшения количества чернил, остающихся на лицевой поверхности печатающей головки 7 после поглощения с этой головки, на часть крышки 61 установлен поглотитель для этой крышки. Чернила, остающиеся в крышке 61, поглощаются при открывании крышки 61, так что чернила не могут оставаться в ней, оказывая негативное воздействие на головку, при застревании в ней в твердом состоянии. Излишние чернила, поглощаемые с помощью насоса 60, поглощаются телом 991, поглощающим излишек чернил (см. фиг.9 и фиг.11) и установленным на нижнем корпусе 99, как описано ниже.
Рядом операций, таких, как срабатывание скребка 62, операция по смещению крышки 61 вверх и вниз, открывание и закрывание упомянутого среднего клапана, управляет основной кулачок, выполненный в виде совокупности кулачков на валу. Кулачки и манипуляторы в каждой части приводятся в действие этим основным кулачком для проведения предписываемой операции. Положение основного кулачка может быть обнаружено датчиком обнаружения положения, таким, как оптрон, и т.п. Когда крышка 61 движется вниз, скребок 62 движется перпендикулярно направлению перемещения каретки 50, очищая за счет этого окрестность сопел печатающей головки 7. Предусмотрено несколько скребков 62, включая один для очистки окрестности сопел печатающей головки 7 и один для очистки всей лицевой поверхности в целом. Когда скребок 62 движется в крайнее заднее положение, чернила, налипающие на сам скребок 62 можно удалить за счет контакта с очистителем 62 скребка.
(F) Корпусная секция
Соответствующие блоки, описанные выше, установлены на шасси 11, образуя механическую часть принтера. Корпус предназначен для того, чтобы огородить периферию этой части. Как показано на фиг.1 и фиг.2, корпус состоит главным образом из нижнего корпуса 99, верхнего корпуса 98, крышки 97, обеспечивающей доступ внутрь, крышки 96 соединителя и передней крышки 95.
Под нижней частью нижнего корпуса 99 выполнена направляющая лотка выдачи, а конструкция отдельного лотка 46 выдачи такова, что он может быть заключен внутри корпуса. Передняя крышка 95 имеет конструкцию, обеспечивающую закрытие выходного проема для выдачи, когда принтер не эксплуатируется.
Крышка 97, обеспечивающая доступ внутрь, прикреплена к верхнему корпусу 98, а ее конструкция обеспечивает возможность поворота. Часть верхней поверхности верхнего кожуха 98 имеет проем, размеры которого позволяют заменять емкость 71 для чернил и печатающую головку 7 в этом положении. Кроме того, на верхнем корпусе 98 предусмотрены рычаг защелкивания дверцы, предназначенный для обнаружения открывания и закрывания крышки, обеспечивающей доступ внутрь, направляющее отверстие 982 светоизлучающего диода, предназначенное для передачи и отображения луча от светоизлучающего диода, кнопочный переключатель 983, приводимый в действие для осуществления переключений на подложке, и т.д. К корпусу 98 прикреплен с возможностью поворота многоступенчатый лоток 26 подачи. Когда секция подачи не используется, конструкция этого лотка 26 подачи позволяет превратить его в крышку секции подачи в убранном состоянии. Кроме того, верхний корпус 98 и нижний корпус 99 скреплены с помощью соединительных сухарей, обладающих упругостью. Крышка 96 соединителя закрывает часть, в которой предусмотрены соединители между упомянутыми корпусами.
[Взаимосвязь между секцией 8 транспортировки CD и секцией 2 подачи]
Ниже описана взаимосвязь между секцией 8 транспортировки CD и секцией 2 подачи. Подробное описание секции 8 транспортировки CD в соответствии с этим вариантом осуществления, а также печати на CD с использованием этой секции, приводится со ссылками на фиг.6–17.
На фиг.6 представлено перспективное изображение, показывающее как секция 8 транспортировки CD крепится к телу печатающего устройства; на фиг.7 представлено перспективное изображение секции 8 транспортировки CD; на фиг.8 представлено изображение конструкции крепежной части секции 8 транспортировки CD в нижнем корпусе 99 и также обнаруживающей крепление части; на фиг.9 представлено изображение конструкции, которое иллюстрирует зацепление нижнего корпуса 99 и крюка 84 секции 8 транспортировки CD; на фиг.10 представлено перспективное изображение секции 8 транспортировки CD в ситуации, когда скользящая крышка 81 смещена; на фиг.11 представлено изображение конструкции, которое иллюстрирует зацепление между нижним корпусом 99 и крюком 94 секции 8 транспортировки CD; на фиг.12 представлено перспективное изображение рычага 85 в ситуации, когда скользящая крышка 81 смещена; на фиг.13 представлен вид в плане лотка 83; на фиг.14 представлено перспективное изображение, на котором лоток 83 установлен в секцию 8 транспортировки CD; на фиг.15 представлено изображение транспортировки лотка 83; на фиг.16 представлено изображение, иллюстрирующее механизм подъема направляющего вала каретки; на фиг.17 представлена рабочая схема, иллюстрирующая вставление в лоток бокового нажимного валика и подталкивающего валика.
Как показано на фиг.7, если секция 8 транспортировки CD, служащая в качестве направляющего элемента, получает возможность скольжения прямо в направлении Y, то эта секция 8 вводится в зацепление с нижним корпусом 99. В этот момент, как показано на фиг.8 и фиг.9, позиционирование происходит после вставления посадочных частей, расположенных на каждом конце направляющей 82 лотка, по направляющим планкам 993, выполненных на обеих сторонах нижнего корпуса 99. На каждой стороне направляющей 82 лотка предусмотрен крюк 84, выполненный с возможностью поворота и принудительного отклонения в одном направлении. Если секция 8 транспортировки CD получает возможность скольжения в предписанном направлении, эта секция наталкивается на препятствие и больше скользить не может. Тогда крюк 84 оказывает воздействие на упор направляющей планки 993, и секция 8 транспортировки CD блокируется, так что ее уже нельзя вынуть путем скользящего движения. На столике 34 предусмотрен датчик 344 обнаружения направляющей лотка, выполненный на основе некоторого механизма и предназначенный для обнаружения состояния, соответствующего присоединению направляющей 82 лотка, так что если эта направляющая 82 лотка присоединяется к корпусу печатающего устройства, то присоединение можно обнаружить, когда часть направляющей 82 лотка наталкивается на датчик 344 обнаружения направляющей лотка.
Затем, как показано на фиг.10 и 12, где скользящая крышка 81 изображена смещенной в направлении тела печатающего устройства, рычаг 85 выступает по направлению к телу печатающего устройства в связи со скользящей крышкой 81. Держатель 43 прямозубого зубчатого колеса, в котором установлено прямозубое зубчатое колесо 42, имеет такую конструкцию, что способен скользить в направлениях вверх и вниз относительно столика 34, и это происходит в результате воздействия пружины под предписанным давлением. Поэтому держатель 43 прямозубого зубчатого колеса поднимается на предписанное расстояние, и при этом рычаг 85 входит между держателем 43 прямозубого зубчатого колеса и столиком 34, как описано выше. В этот момент рычаг 85 может плавно входить между столиком 34 и держателем 43 прямозубого зубчатого колеса, вследствие чего образуется пространство для прохождения лотка 83 между столиком 34 и держателем 43 прямозубого зубчатого колеса. Рычаг 85 остается расположенным так же, как при его входе, т.е. между столиком 34 и держателем 43 прямозубого зубчатого колеса, и может иметь люфт (“играть”) относительно направляющей 82 лотка в состоянии, когда этот рычаг скрыт в направляющей 82 лотка.
В состоянии, когда скользящая крышка 81 не смещена по направлению к телу печатающего устройства, проем 821 (см. фиг.6) закрыт, и лоток 83 не может попасть внутрь. Если скользящая крышка 81 смещается по направлению к телу печатающего устройства, конструкция этой скользящей крышки позволяет ей смещаться в направлении вверх под острым углом, так что в пространстве открывается проем 821 для направляющей 82 лотка. В этом состоянии лоток 83 с загруженным в него CD вставляется из проема 821 и может быть установлен в предписанное положение (см. фиг.14). Это делается для того, чтобы предотвратить разрыв листа 831 (см. фиг.13) лотка на переднем конце лотка 83 и прямозубого зубчатого колеса 42 в результате возникновения препятствия между лотком 83 и прямозубым зубчатым колесом 42 при вставлении лотка 83 в ситуации, когда держатель 43 прямозубого зубчатого колеса еще не поднят.
Как показано на фиг.11, когда скользящую крышку 81 вытаскивают из тела печатающего устройства, рычаг 85 выводится из зацепления с держателем 43 прямозубого зубчатого колеса в связи со скользящей крышкой 81, тем самым опуская держатель 43 прямозубого зубчатого колеса и прямозубое зубчатое колесо 42 в предписанное положение. В этот момент, если лоток 83 вводится в зацепление, то этот лоток 83 попадает в виде “начинки” (вставляется) в проем 821 по скользящей крышке 81 и направляющей 92 лотка, поэтому скользящую крышку 81 больше нельзя вытянуть. Эта конструкция предотвращает появление дефектов на CD за счет опускания прямозубого зубчатого колеса 42, когда CD остается в теле печатающего устройства. Если скользящую крышку 81 вытаскивают, эта скользящая крышка 81 воздействует на крюк 84, отцепляя этот крюк 84 от направляющей планки 993 нижнего корпуса 99 и выводя секцию 8 транспортировки CD из зацепления с телом печатающего устройства.
Как показано на фиг.13, лоток 83 как лоточный элемент включает в себя резиновую пластину толщиной примерно от 2 мм до 3 мм, крепящую CD часть 832, манипуляционную часть 833, захватываемую оператором для вставления и вытаскивания лотка 83, метку 834 обнаружения положения, отверстие 835 для извлечения CD, метку 836 для согласования положения при вставлении, выпускную часть 837 для бокового нажимного валика и метку 838 для обнаружения присутствия носителей. К кончику лотка 83 прикреплен лист 831 лотка для гарантии зацепления транспортирующего валика 36 и прижимного валика 37 с лотком 83.
Метка 834 обнаружения положения предназначена для обнаружения положения с помощью установленного на каретке 50 датчика обнаружения положения лотка. Это гарантирует, что упомянутый датчик сможет точно обнаруживать положение даже в ситуации окрашенного CD или повторной печати на поверхности, где один раз уже провели печать, по сравнению со способом прямого считывания краев областей печати на CD. Крепящая CD часть 832 имеет вогнутую форму для крепления CD.
Лист 831 из лотка прикреплен к кончику лотка 83 для гарантии выведения лотка 83 в зацепление с транспортирующим валиком 36 и зажимным валиком 37, а сам лоток 83 имеет суженную часть 830.
Лист 831 из лотка вводится в зацепление с транспортирующим валиком 36 и прижимным валиком 37 для создания усилия транспортировки, а прижимной валик 37 поднимает суженную часть 830 кончика лотка 83, вследствие чего толстый лоток 83 оказывается заключенным в виде “начинки” между транспортирующим валиком 36 и прижимным валиком 37, гарантируя этим транспортировку лотка 83. Метка 834 обнаружения положения нанесена между прижимными валиками 837. Вследствие этого метка 834 обнаружения положения не может вступить в контакт с прижимным валиком 37, нанося царапины на поверхности.
Как показано на фиг.17, на направляющей 82 лотка предусмотрен боковой нажимной валик 824 для подталкивания лотка 83 к базе 827 направляющей 82 лотка, так что установка лотка 83 в нужном положении происходит путем подталкивания лотка 83 к базе 827 под предписанным давлением с помощью пружины валика. Боковой нажимной валик 824 работает до тех пор, пока оператор не установит лоток 83 в предписанное положение, в котором боковой нажимной валик 824 больше не оказывает воздействие на лоток 83, потому что часть 387, выдвигающая боковой нажимной валик, попадает в положение, в котором боковой нажимной валик 824 для лотка 83 оказывает воздействие на последний лишь тогда, когда лоток 83 транспортируется с помощью транспортирующего валика 36 и прижимного валика 37. Поэтому приложение избыточного обратного натяжения и т.п. к лотку 83 невозможно, вследствие чего предотвращается снижение точности транспортировки лотка 83.
На каждой стороне скользящей крышки 81 установлен подталкивающий валик 811, а усилие транспортировки лотка 83 создается путем подталкивания лотка 83 к выдающему валику 41 с помощью пружины валика под предписанным давлением. Это усилие транспортировки обеспечивает транспортировку лотка 83 к захватной части между транспортирующим валиком 36 и прижимным валиком 37 в некоторый момент времени, что позволяет начать печать из заданного положения. Лоток 83 можно транспортировать в предписанное положение, в котором оператор вынимает лоток, когда кончается печать. В этой ситуации положения метки 834 обнаружения положения и подталкивающего валика 811 конструктивно различны, так что метка 834 обнаружения положения не может вступить в контакт с подталкивающим валиком 811, нанося царапины на поверхность.
Лоток 83 вынимают из направляющей 82 лотка, вытаскивая лоток 83, уже переведенный в предписанное положение. Пользуясь отверстиями 835 для извлечения CD, расположенными в двух местах, оператор может легко ухватить внешний периферийный край CD.
Ниже описывается операция печати на CD при использовании вышеупомянутой конструкции. Чтобы секция 8 транспортировки CD получила возможность скольжения прямо по направлению к телу печатающего устройства, эту секцию 8 транспортировки CD скрепляют с нижним корпусом 99. В этом момент датчик 344 обнаружения положения направляющей лотка может обнаружить, что направляющая 82 лотка скреплена с телом печатающего устройства.
Когда скользящую крышку 81 вдвигают в тело (корпус) печатающего устройства, рычаг 85 выступает в направлении тела печатающего устройства в связи со скользящей крышкой 81. Когда этот рычаг 85 попадает между держателем 43 прямозубого зубчатого колеса и столиком 34, этот держатель 43 прямозубого зубчатого колеса поднимается на предписанное расстояние.
Когда скользящая крышка 81 вдвигается в тело печатающего устройства, в пространстве появляется проем 821 для направляющей 82 лотка, так как скользящая крышка имеет такую конструкцию, что проходит под острым углом вверх. В этом состоянии, как показано на фиг.14, лоток 83 с установленным в нем CD вставляется от проема 821 и может быть установлен в предписанное положение.
Затем СD закрепляют в крепящую CD часть 832 лотка 83. Оператор удерживает регулирующую часть 833 и вставляет лоток 83 до тех пор, пока метка 834 обнаружения положения не совпадет с меткой 826 установки лотка, имеющейся на направляющей 82 лотка.
В этой ситуации, если в главное электронное устройство посылается сигнал печати, то начинается операция печати. Сначала, как показано на фиг.15, транспортирующий валик 36, выдающий валик 40 и выдающий валик 41 вращаются в обратном направлении. Поскольку усилие транспортировки лотка 83 создается путем подталкивания лотка 83 к выдающему валику 40 и выдающему валику 41 с предписанным давлением посредством подталкивающего валика 811 и пружины валика, лоток 83 транспортируется внутрь печатающего устройства в соответствии с вращением выдающего валика 40 и выдающего валика 41 в обратном направлении. Предписанное усилие транспортировки создается за счет зацепления листа 831 лотка с транспортирующим валиком 36 и прижимным валиком 37, а прижимной валик 37 поднимается вверх у суженной части 830 переднего конца лотка 83, вследствие чего лоток 83 оказывается заключенным в виде “начинки” между транспортирующим валиком 83 и прижимным валиком 37.
После этого каретка 50 перемещается из исходного положения в область записи для обнаружения лотка 83. В этом момент, как показано на фиг.16, электродвигатель 58 подъема каретки передает движение, поднимая направляющий вал 52 и создавая тем самым оптимальный зазор до лотка 83.
Датчик обнаружения положения лотка, прикрепленный к каретке 50, обнаруживает положение лотка 83 (положение как в направлении перемещения каретки, так и в направлении, перпендикулярном этому перемещению (т.е. в направлении транспортировки)) и наличие CD.
Когда вышеописанная последовательность начальных операций заканчивается, лоток 83 транспортируется в предписанное положение у задней стороны печатающего устройства, в котором должна произойти собственно печать на CD. Затем начинается печать в соответствии с данными изображения, посланными из главного электронного устройства. Полосовую неупорядоченность и т.п., обуславливаемую точностью транспортировки и точностью поступления капель, можно уменьшить за счет реализации печати, при которой изображения формируются посредством нескольких линий сканирования, или так называемой многопроходной печати изображений.
По окончании печати лоток 83 транспортируется в положение (см. фиг.14), в котором оператор устанавливает лоток 83 в направляющую 82 лотка перед печатью, как описано выше. Оператор может вынуть лоток 83 с установленным на нем CD, на который произведена печать. Рычаг 85 выводится из зацепления, т.е. из держателя 43 прямозубого зубчатого колеса после вытаскивания скользящей крышки, а крюк 84 выводится из зацепления в нижнем корпусе 99, вследствие чего секция 8 транспортировки CD выводится из зацепления в теле печатающего устройства, так что эту секцию 8 можно извлечь.
[Взаимосвязь между маршрутом транспортировки CD и маршрутом транспортировки листового материала]
Ниже, со ссылками на фиг.18–21, описана взаимосвязь между секцией подачи и печатью на CD. На фиг.18 и фиг.19 представлены перспективные изображения, иллюстрирующие взаимосвязь между секцией подачи и маршрутом транспортировки лотка; на фиг.20 и 21 представлены поперечные сечения, иллюстрирующее взаимосвязь между рычагом возврата и маршрутом транспортировки лотка. На фиг.20 представлено обычное состояние печати на CD; на фиг.21 представлен пример ситуации, в которой рычаг возврата выдвинут на маршрут транспортировки лотка.
Как описано выше, печать (запись) обычно осуществляют с использованием единственной секции печати, конструктивно состоящей из секции 3 транспортировки, секции 5 каретки и секции 4 выдачи, для печати на листовых материалах Р как на носителях печатаемой информации, имеющих малую жесткость, с использованием секции 2 подачи, а также для печати на CD как на носителях печатаемой информации, имеющих большую жесткость, без использования секции 2 подачи.
В этом случае сторона устройства, задняя по отношению к транспортирующему валику 36 (или сторона, расположенная в направлении транспортировки выше по ходу листового материала Р), должна иметь существенные отличия. То есть, для транспортировки носителей печатаемой информации, имеющих большую жесткость, т.е. при печати на CD, необходим маршрут транспортировки, проходящий, по существу, прямолинейно, а когда печать производится на листовой материал Р, то этот листовой материал Р обязательно следует подавать с расположенной под острым углом верхней стороны, как описано выше, потому что носители печатаемой информации, имеющие малую жесткость, подталкиваются к столику 34. Существует много элементов, выступающих вниз (или к той стороне, где проходит маршрут транспортировки для твердого тела) от маршрута транспортировки для листового материала Р (именуемого далее “траекторией листа”), таких, как отделяющий валик 241, образующий секцию отделения в секции 2 подачи, и рычаг 22 возврата. Эти элементы секции 2 подачи (такие, как отделяющий валик 241 и рычаг 22 возврата) становятся препятствием на траектории CD (или перекрывают ее), служащей маршрутом транспортировки для твердого тела, если смотреть в направлении вертикального поперечного сечения устройства.
Чтобы решить эту проблему, вышеупомянутое препятствие можно устранить, если сместить секцию 2 подачи по направлению к задней верхней стороне (а именно, вверх на стороне, расположенной в направлении транспортировки выше по ходу листового материала). При этом возможно, что не будет происходить печать на листовой материал Р, имеющий малую длину в направлении подачи, что может снижаться скорость печати, а также что могут возникать такие сбои, как замятие бумаги и т.п., потому что листовой материал направляется вдоль длины. Высота устройства может стать большой и может увеличиться площадь, занимаемая устройством при установке. Можно предусмотреть способ отделения, при котором имеется меньшее количество деталей, выступающих вниз из отделяющей части (или по направлению к стороне, где проходит траектория CD).
В этом варианте осуществления для решения вышеупомянутых проблем предусматривается такая конструкция, что часть секции 2 подачи перекрывается с маршрутом транспортировки для твердого тела, но не перекрывается с направлением в ширину, по существу, перпендикулярным направлению транспортировки носителей печатаемой информации. Более конкретно, как показано на фиг.21, часть (подающий валик 28, отделяющий валик 241) подающей части 2, перекрывающаяся с маршрутом транспортировки для твердого тела в вертикальном поперечном направлении, расположена близко к одному концу в направлении ширины, как показано на фиг.18 и 19, для подачи листового материала Р вдоль одного конца (базовой стороны) в направлении ширины в качестве базы, а маршрут транспортировки для твердого тела – это маршрут, по которому CD (или лоток 83, в котором установлен CD) транспортируется вдоль другого конца в направлении ширины (не базовой стороны) в качестве базы, и этот маршрут проложен так, что не перекрывается с упомянутой частью секции 2 подачи в направлении ширины. При этой конструкции можно создать печатающее устройство, имеющее малую стоимость, с компактной конструкцией и без какого бы то ни было снижения рабочих характеристик.
Вышеописанный рычаг 22 возврата выполнен как единое целое с сухарями в двух частях по обеим сторонам секции отделения в этом конкретном варианте осуществления. Таким образом, если рычаг возврата используется для отделяющей части как часть секции 2 подачи, то предотвращается подача под острым углом или одновременная подача двух листов, вследствие чего можно осуществлять устойчивый возврат листового материала Р.
Следует отметить, что количество сухарей, выполненных как единое целое с рычагом 22 возврата, не обязательно должно быть таким, и на самом деле можно использовать большее их количество. Например, для устойчивого возврата листового материала, имеющего большую ширину, и листового материала, имеющего малую ширину, можно выполнить рычаг 22 возврата как единое целое с сухарями на не базовой стороне, как показано на фиг.18.
Однако в этом случае, как явствует из фиг.18, имеется один рычаг 22 возврата, образующий единое целое с сухарями даже в положении перекрытия с траекторией CD в направлении ширины.
Этот рычаг 22 возврата уводят с траектории CD, по которой транспортируется лоток 83 с установленным в нем CD, и, как показано на фиг.20, этот рычаг имеет конструкцию, обеспечивающую печать на носителе печатаемой информации, имеющем большую жесткость, таком, как CD, в состоянии, когда упомянутый рычаг уведен с траектории CD, как показано на фиг.20. Это увеличивает количество степеней свободы и позволяет создать секцию подачи, обладающую надлежащими рабочими характеристиками.
Сухари рычага возврата поворачиваются при повороте рычага, но их конструкция такова, что каждый сухарь сочленен в некотором положении (положении увода), не попадая на траекторию CD, как показано на фиг.20, где секция 2 подачи показана расположенной под углом в период ожидания. Поэтому соединительная часть рычага 22 возврата выступает на траекторию CD во время осуществления последовательности операций подачи, но это не создает проблем, потому что CD не проходит мимо упомянутого рычага при осуществлении подачи из секции подачи. То есть, конструкция такова, что положение, в котором рычаг 22 возврата уведен с траектории CD, как показано на фиг.20, становится положением ожидания в секции 2 подачи. Это позволяет создать в устройстве обычное состояние, при котором секция 2 подачи не работает, когда происходит печать на носитель печатаемой информации, имеющий большую жесткость, такой, как CD. Это также помогает не допустить опускания отделяющей части, находящейся вверху сзади (или вверху на стороне, расположенной в направлении транспортировки выше по ходу листов). То есть, эта конструкция предотвращает увеличение высоты устройства и увеличение площади, занимаемой устройством при установке.
На фиг.21 представлен пример ситуации, в которой рычаг 22 возврата выдвинут на маршрут транспортировки для твердого тела (на траекторию CD). Рычаг 22 возврата показан на фиг.21 повернутым в направлении против часовой стрелки во время операции подачи, освобождая тем самым маршрут транспортировки листового материала (передний конец рычага возврата скрыт основанием 20). В этой ситуации, часть, придающая жесткость (вышеописанная соединительная часть), рычага 22 возврата препятствует транспортировке лотка 83. Следует отметить, что на фиг.21 рычаг 22 возврата и лоток 83 изображены в ситуации, которая, хотя и невозможна, облегчает понимание конструкции.
При наличии вышеописанной конструкции, поскольку секция 2 подачи во время печати на CD обязательно находится в положении ожидания, положение (фаза) подающей части 2 обнаруживается датчиком блока автоматической загрузки листов бумаги, представляющим собой первое обнаруживающее средство, а когда секция подачи не находится в состоянии ожидания или когда рычаг возврата не убран с траектории CD, выдается сигнал ошибки при попытке выполнить печать на CD. Это помогает избежать нештатной ситуации при печати.
В этот момент, даже без выдачи какого-либо сообщения об ошибке, лучше перевести секцию 2 подачи в состоянии ожидания. То есть, устройство имеет такую конструкцию, что когда рычаг 22 возврата не отводится с траектории CD, печать может быть проведена лишь после отвода рычага 22 возврата с траектории CD. Это позволяет создать устройство, не вызывающее ситуацию возникновения каких-либо ошибок.
Если листовые материалы Р уложены в стопу в секции 2 подачи, то эти листовые материалы Р предположительно можно транспортировать. В такой ситуации, поскольку секция печати используется обычным образом, как описано выше, листовой материал Р и лоток 83 могут мешать друг другу. Если фотоэлектрический датчик 32 в качестве второго обнаруживающего средства обнаруживает наличие листового материала, выдается сигнал ошибки, и какой бы листовой материал ни обнаруживался, проводится операция, в процессе которой обычным образом осуществляется печать на CD после перевода секции 2 печати в положение ожидания (состояние отвода рычага возврата), как описано выше. Даже если секция 2 печати уже находится в положении ожидания, то все равно выдается сигнал ошибки тем же образом, если фотоэлектрический датчик 32 обнаруживает наличие листового материала. Это избавляет носитель печатаемой информации от замятия бумаги и обеспечивает нормальную работу, когда подача бумаги не требуется.
Желательно эксплуатировать устройство таким образом, чтобы секция 2 подачи инициализировалась после подачи электропитания, в этом случае датчик 344 обнаружения направляющей лотка в качестве третьего обнаруживающего средства обнаруживает направляющую 82 лотка при отводе рычага 22 возврата как части секции 2 подачи с траектории CD, а сигнал ошибки выдается, когда фотоэлектрический датчик 32 в качестве второго обнаруживающего средства обнаруживает наличие листового материала тем же самым образом. При наличии такой конструкции замятие носителя печатаемой информации можно предотвратить заранее, и это обеспечивает нормальную работу, когда подача бумаги не требуется.
В отличие от этого, если осуществляется подача из секции подачи, то желательно выдавать сигнал ошибки, когда датчик 344 обнаружения направляющей лотка обнаруживает направляющую 82 лотка. Эта конструкция заранее предотвращает ситуацию, в которой носитель печатаемой информации подвергается замятию бумаги.
Хотя упомянутая ситуация лишь предполагается из-за наличия лотка 83, тем не менее, желательно выдавать сигнал ошибки, когда датчик 344 обнаружения направляющей лотка обнаруживает направляющую 82 лотка. Эта конструкция заранее предотвращает замятие бумаги.
Кроме того, хотя упомянутая ситуация лишь предполагается из-за наличия лотка 83, тем не менее, желательно выдавать сигнал ошибки еще и потому, что сама направляющая 82 лотка может занимать базовую сторону выдающей части 4 (поскольку направляющая проходит в направлении ширины лотка 83). То есть, желательно выдавать сигнал ошибки, когда четвертое обнаруживающее средство обнаруживает лоток 83 или CD при осуществлении подачи из секции подачи. Эта конструкция заранее предотвращает замятие бумаги.
Следует отметить, что четвертое обнаруживающее средство может быть датчиком обнаружения лотка, а в качестве отдельного элемента может быть предусмотрен датчик обнаружения присутствия лотка, в котором используется фотопрерыватель того же типа, что и упомянутый фотоэлектрический датчик.
Следовательно, ту же операцию можно поводить с использованием выходного сигнала в конструкции, имеющей датчик положения лотка, служащий в качестве четвертого обнаруживающего средства для обнаружения лотка 83, но предпочтительно использовать датчик 344 обнаружения направляющей лотка в качестве третьего обнаруживающего средства для обнаружения факта прикрепления направляющей 82 лотка.
[Другие конкретные варианты осуществления]
Хотя в вышеописанном конкретном варианте осуществления часть секции подачи, перекрывающаяся с маршрутом транспортировки в вертикальном поперечном направлении устройства, является, по меньшей мере, честью рычага возврата, предназначенного для возврата листового материала на стороне, находящейся выше по ходу в направлении подачи, это изобретение не сводится к такому варианту. Например, даже если часть, перекрывающаяся с маршрутом транспортировки в вертикальном поперечном направлении устройства, является отделяющим валиком или отделяющей подушкой, имеющей большой коэффициент трения, для останова листового
материала, то можно получить, по существу, те же преимущества в результате применения изобретения, а рабочая характеристика отделения может быть выше по сравнению со случаем, когда упомянутая перекрывающаяся часть реализуется в форме рычага возврата. Даже если часть отделяющего валика или отделяющей подушки перекрывается маршрутом транспортировки для твердого тела в направлении ширины, то можно получить, по существу, те же преимущества, создавая конструкцию, в которой отделяющий валик и отделяющая подушка выполнены с возможностью перемещения в положение, достигаемое путем отвода с маршрута траектории твердого тела (называемое также положением ожидания).
Хотя в вышеописанном конкретном варианте осуществления приведен пример использования способа струйной печати в качестве реализации средства печати, способ печати не обязательно должен быть струйным и может быть другим способом печати, таким, как способ электрофотографической печати.
Формула изобретения
1. Печатающее устройство для печати с помощью средства печати, содержащее секцию подачи, предназначенную для подачи бумаги для печати по отдельности лист за листом, и маршрут транспортировки, проходящий, по существу, прямолинейно для транспортировки носителя печатаемой информации, имеющего большую жесткость, при этом часть секции подачи перекрывается с маршрутом транспортировки в вертикальном поперечном направлении, но не перекрывается в направлении, пересекающемся с направлением транспортировки носителя печатаемой информации.
2. Печатающее устройство по п. 1, в котором с маршрутом транспортировки в вертикальном поперечном направлении перекрывается отделяющая часть для отделения бумаги для печати.
3. Печатающее устройство по п. 2, в котором с маршрутом транспортировки в вертикальном поперечном направлении перекрывается отделяющий валик или отделяющая подушка, распределяющий или распределяющая прохождение бумаги для печати.
4. Печатающее устройство по п. 2, в котором бумага для печати транспортируется таким образом, что один конец в направлении ширины бумаги для печати служит базовой поверхностью, причем отделяющая часть расположена близко к базовой поверхности, при этом маршрут транспортировки проходит в положении, отстоящем от базовой поверхности дальше, чем отделяющая часть.
5. Печатающее устройство по п. 1, в котором с маршрутом транспортировки в вертикальном поперечном направлении перекрывается возвращающий элемент, предназначенный для возврата бумаги для печати к стороне, расположенной выше по ходу в направлении транспортировки.
6. Печатающее устройство по п. 1, в котором направление транспортировки бумаги для печати и носителя печатаемой информации, имеющего большую жесткость, в положении, когда они обращены к средству печати, является, по существу горизонтальным, при этом бумага для печати транспортируется из секции подачи под углом 10-15° относительно горизонтального направления в положение, где она обращена к средству печати.
7. Печатающее устройство по п. 1, в котором носитель печатаемой информации, имеющий большую жесткость, транспортируется после установки на лоточном элементе.
8. Печатающее устройство по п. 7, в котором лоточный элемент выполнен с возможностью вставки по направлению к средству печати со стороны выдачи бумаги для печати.
9. Печатающее устройство по п. 8, в котором направляющий элемент для направления лоточного элемента прикреплен с возможностью открепления к телу печатающего устройства.
10. Печатающее устройство по п. 1, в котором часть секции подачи может выступать на маршрут транспортировки и может быть уведена с него, при этом секция подачи транспортирует носитель печатаемой информации, имеющий большую жесткость, когда часть секции подачи уведена с маршрута транспортировки.
11. Печатающее устройство по п. 10, в котором положение части секции подачи, уводимой с маршрута транспортировки, является положением ожидания секции подачи.
12. Печатающее устройство по п. 10, в котором часть секции подачи представляет собой возвращающий элемент, предназначенный для возврата бумаги для печати на сторону, расположенную выше по ходу на маршруте транспортировки.
13. Печатающее устройство по п. 10, дополнительно содержащее первое обнаруживающее средство для обнаружения фазы секции подачи для обнаружения ошибки, когда часть секции подачи не уведена с маршрута транспортировки, по которому транспортируется носитель печатаемой информации, имеющий большую жесткость.
14. Печатающее устройство по п. 10, дополнительно содержащее первое обнаруживающее средство для обнаружения фазы секции подачи, при этом носитель печатаемой информации, имеющий большую жесткость, транспортируется после того, как часть секции подачи будет уведена с маршрута транспортировки, если упомянутая часть секции подачи не уведена с маршрута транспортировки заранее.
15. Печатающее устройство по п. 10, дополнительно содержащее первое обнаруживающее средство для обнаружения фазы секции подачи и второе обнаруживающее средство для обнаружения бумаги для печати, подаваемой из секции подачи, при этом часть секции подачи уводится с маршрута транспортировки, если упомянутая часть секции подачи не уведена с маршрута транспортировки заранее, при этом носитель печатаемой информации, имеющий большую жесткость, транспортируется, когда второе обнаруживающее средство не обнаруживает бумагу для печати.
16. Печатающее устройство по п. 9, дополнительно содержащее третье обнаруживающее средство для обнаружения прикрепления направляющего элемента к печатающему устройству, при этом ошибка обнаруживается, когда третье обнаруживающее средство обнаруживает прикрепление направляющего элемента перед подачей бумаги для печати из секции подачи.
17. Печатающее устройство по п. 7, дополнительно содержащее четвертое обнаруживающее средство для обнаружения лоточного элемента, при этом ошибка обнаруживается, когда четвертое обнаруживающее средство обнаруживает лоточный элемент во время подачи бумаги для печати из секции подачи.
18. Печатающее устройство по п. 1, в котором средство печати выпускает чернила для проведения печати.
РИСУНКИ
|
|