|
|
(21), (22) Заявка: 2002123363/12, 31.01.2001
(24) Дата начала отсчета срока действия патента:
31.01.2001
(30) Конвенционный приоритет:
31.01.2000 (пп.1-9) US 09/495,060
(43) Дата публикации заявки: 20.06.2004
(45) Опубликовано: 20.07.2005
(56) Список документов, цитированных в отчете о поиске:
WO 9959823 A, 05.03.2000. US 5936740 A, 10.08.1999. EP 0812693 A, 17.12.1997. EP 0839660 A1, 06.05.1998.
(85) Дата перевода заявки PCT на национальную фазу:
02.09.2002
(86) Заявка PCT:
US 01/03192 (31.01.2001)
(87) Публикация PCT:
WO 01/54910 (02.08.2001)
Адрес для переписки:
129010, Москва, ул. Большая Спасская, 25, стр.3, ООО “Юридическая фирма Городисский и Партнеры”, Е.В.Томской
|
(72) Автор(ы):
ШТАЙНМЕЦ Чарльз Р. (US), СТУРДЖЕОН Скотт Д. (US), ДЖОНСОН Дэвид С. (US), ХЭНДРИКС Джеффри Т. (US)
(73) Патентообладатель(и):
ХЬЮЛЕТТ-ПАККАРД КОМПАНИ (US)
|
(54) КОНТЕЙНЕР ДЛЯ ЧЕРНИЛ ДЛЯ НАДЕЖНОГО ЭЛЕКТРИЧЕСКОГО СОЕДИНЕНИЯ И ЖИДКОСТНОГО СООБЩЕНИЯ С ПОСАДОЧНЫМ МЕСТОМ
(57) Реферат:
Сменный контейнер для чернил для подачи чернил в струйную печатающую систему, причем печатающая система имеет посадочное место, установленное на сканирующей каретке, при этом посадочное место имеет входное отверстие для жидкости и электрические контакты, электрически соединенные с участком управления печатающей системы. Причем сменный контейнер содержит емкость для чернил и нижнюю торцевую поверхность, перпендикулярную ведущей торцевой поверхности, при этом нижняя торцевая поверхность образует выходное отверстие для жидкости, имеющее конфигурацию для соединения с входным отверстием для жидкости на посадочном месте. Кроме того, сменный контейнер также содержит электрическое устройство для хранения информации, соединенное с емкостью для чернил, для хранения информации о сменном контейнере для чернил и электрические контакты, установленные на ведущей торцевой поверхности и электрически соединенные с электрическим устройством для хранения информации. При этом каждый из электрических контактов на емкости для чернил имеет такую конфигурацию, чтобы взаимодействовать с каждым из электрических контактов на посадочном месте для рабочего соединения электрического устройства для хранения информации с частью управления печатающей системой и средство зацепления, расположенное на ведущей торцевой поверхности в непосредственной близости от нижней торцевой поверхности. Причем средство зацепления имеет конфигурацию для зацепления соответствующего средства зацепления на посадочном месте для прикрепления ведущей торцевой поверхности емкости для чернил к посадочному месту. Предложенное решение также относится к способу обеспечения электрического соединения и жидкостного сообщения между сменным контейнером для чернил и посадочным местом. Предложенные способ и устройство обеспечивают получение сменных контейнеров для чернил, которые легко устанавливать и снимать, при этом установка контейнера для чернил обеспечивает надежное жидкостное и электрическое соединение с принтером, причем эти контейнеры для чернил должны быть относительно простыми в производстве, таким образом снижая стоимость подачи чернил, а следовательно, и стоимость печати одной страницы. 2 с. и 7 з.п. ф-лы, 13 ил.

Уровень техники
Настоящее изобретение касается контейнеров для чернил для обеспечения чернил в струйном принтере. Более конкретно, настоящее изобретение касается контейнера для чернил, который имеет конфигурацию для введения в посадочное место в струйной печатающей системе, чтобы обеспечить жидкостное и электрическое соединение с ним.
Струйные принтеры часто используют струйную печатающую головку, установленную в каретку, которая перемещается относительно материала для печати, такого как бумага. Когда печатающая головка перемещается относительно материала для печати, система управления приводит в действие печатающую головку для осаждения или эжекции чернильных капель на материал для печати с образованием изображений и текста. Чернила обеспечиваются в печатающей головке посредством запаса чернил, который либо интегрален печатающей головке, как в случае одноразового картриджа для принтера, либо посредством запаса чернил, который отделен от печатающей головки с возможностью замены.
Один тип используемых до настоящего времени печатающих систем использует средство подачи чернил, которое перемещается кареткой. Это средство подачи чернил было выполнено за одно целое с печатающей головкой, вследствие чего вся печатающая головка и средство подачи чернил заменялись, когда чернила были израсходованы. Как вариант, средство подачи чернил может перемещаться посредством каретки и может заменяться отдельно от печатающей головки. Для случая, когда средство подачи чернил может заменяться отдельно, оно заменяется, когда чернила израсходованы. Печатающую головку заменяют в конце срока эксплуатации печатающей головки. Независимо от того, где расположено средство подачи чернил в печатающей системе, важно, чтобы средство подачи чернил обеспечивало надежную подачу чернил к струйной печатающей головке.
Один тип средства подачи чернил описан в РСТ Патентной Заявке WO-A-99 59823, которая касается струйных печатающих устройств, которые содержат держатель, установленный на каретке. Держатель включает средство подачи чернил, не требующее жидкостного сообщения с печатающей головкой. Держатель приспособлен для приема картриджей для чернил, имеющих отверстия для подачи чернил, которые подают чернила к средству подачи. Каждый картридж для чернил, кроме того, содержит печатную плату, имеющую полупроводниковое средство хранения информации, соединенное с контактами. Контакты картриджей для чернил приспособлены для взаимодействия с соответствующими контактами на контактных механизмах держателя для обеспечения соединения между картриджами для чернил и печатающим устройством. Другой тип средства подачи чернил описан в Патенте США 5936740, который касается струйного пишущего устройства, имеющего картридж пишущей головки, который установлен на каретку с возможностью съема. Картридж пишущей головки образован держателем контейнера для чернил, содержащим участок сопла для эжекции чернил в ответ на пишущий сигнал, и одноцветный держатель, который удерживает с возможностью удаления контейнер для хранения чернил. Контейнер для чернил включает контейнер, имеющий элемент, удерживающий чернила. Нижняя стенка контейнера включает отверстие для подачи чернил, которое принимает протыкающую трубку для чернил, когда контейнер для чернил устанавливают на держатель.
В настоящее время существует потребность в струйных печатающих системах, которые используют сменные контейнеры для чернил, которые легко устанавливать и снимать. Установка контейнера для чернил должна обеспечивать надежное жидкостное и электрическое соединение с принтером. Эти контейнеры для чернил должны быть относительно простыми в производстве, таким образом снижая стоимость подачи чернил. Снижение стоимости подачи чернил снизит стоимость печати одной страницы печатающих систем.
Краткое описание изобретения
Один объект настоящего изобретения представляет собой сменный контейнер для чернил для подачи чернил в струйную печатающую систему. Струйная печатающая система имеет посадочное место, установленное на сканирующую каретку. Посадочное место имеет входной канал для жидкости и несколько электрических контактов, электрически соединяемых с участком управления печатающей системы. Сменный контейнер для чернил содержит выходное отверстие для жидкости для соединения с входным отверстием для жидкости на посадочном месте. Также содержится несколько электрических контактов, электрически соединяемых с электрическим устройством для хранения информации. При введении сменного контейнера для чернил в посадочное место, каждый из нескольких электрических контактов расположен и установлен на сменном контейнере для чернил так, чтобы взаимодействовать с каждым из нескольких электрических контактов на посадочном месте для рабочего соединения электрического устройства для хранения информации с участком управления печатающей системы. Кроме того, введение сменного контейнера для чернил в посадочное место обеспечивает рабочее соединение выходного отверстия для жидкости, расположенного и установленного на сменном контейнере для чернил, с входным каналом для жидкости, чтобы обеспечить жидкостное сообщение между сменным контейнером для чернил и посадочным местом.
Другой объект настоящего изобретения включает капиллярный материал для хранения, расположенный в сменном контейнере для чернил. Входной канал для жидкости является полым элементом, проходящим вверх от нижней поверхности посадочного места, так что при установке сменного контейнера для чернил в посадочное место, полый элемент сжимает капиллярный материал для хранения, чтобы образовать область повышенной капиллярности в капиллярном материале для хранения, смежном полому элементу.
Краткое описание чертежей
Фиг.1 – один примерный вариант выполнения струйной печатающей системы согласно изобретению, показанной с открытой крышкой, чтобы показать несколько сменных контейнеров для чернил согласно изобретению.
Фиг.2 – схематичный вид струйной печатающей системы по Фиг.1.
Фиг.3 – в большом масштабе вид участка сканирующей каретки, показывающий сменные контейнеры для чернил согласно изобретению, расположенные в посадочном месте, что обеспечивает жидкостное сообщение между сменными контейнерами для чернил и одной или более печатающей головкой.
Фиг.4 – вид сбоку и сверху участка сканирующей каретки, показывающий направляющий и защелкивающий элементы, соединенные с каждым сменным контейнером для чернил, и посадочное место для прикрепления сменного контейнера для чернил, при этом обеспечивая жидкостное сообщение с печатающей головкой.
Фиг.5 – посадочное место, показанное отдельно, для приема одного или более сменных контейнеров для чернил согласно изобретению.
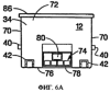
Фиг.6а, 6b, 6с и 6d – изометрические виды трехцветного (для трех видов чернил) сменного контейнера для чернил согласно изобретению, показанные отдельно.
Фиг.7 – вид в перспективе одноцветного сменного контейнера для чернил согласно изобретению.
Фиг.8 – вид сверху электрического устройства для хранения информации, которое электрически соединяют с несколькими электрическими контактами.
Фиг.9а, 9b и 9с – иллюстрации способа согласно изобретению для введения сменного контейнера для чернил в место для подачи.
Фиг.10 – в большом масштабе вид, показанный в разрезе способа и устройства согласно изобретению, для достижения жидкостного сообщения между контейнером для чернил и местом для подачи.
Фиг.11 – вид сверху контейнера для чернил, установленного в место для подачи, чтобы обеспечить электрическое соединение между контейнером для чернил и местом для подачи.
Фиг.12а и 12b – вид сбоку и с торца соответственно, иллюстрирующий проход сменного контейнера для чернил над вертикальным входным каналом в посадочном месте.
Фиг.13а, 13b и 13с – иллюстрация способа согласно изобретению для удаления сменного контейнера для чернил из посадочного места.
Подробное описание предпочтительного варианта выполнения
Фиг.1 представляет собой вид в перспективе одного примерного варианта выполнения печатающей системы 10, показанной с ее открытой крышкой, которая включает по меньшей мере один сменный контейнер 12 для чернил, устанавливаемый в посадочное место 14. Посредством сменного контейнера 12 для чернил, правильно установленного в посадочный участок 14, чернила обеспечиваются из сменного контейнера 12 для чернил к по меньшей мере одной струйной печатающей головке 16. Струйная печатающая головка 16 является чувствительной к активирующим сигналам от печатающей части 18 для осаждения чернил на материале для печати. Когда чернила эжектируются из печатающей головки 16, печатающая головка 16 снова наполняется чернилами из контейнера 12 для чернил. В одном предпочтительном варианте выполнения сменный контейнер 12 для чернил, посадочное место 14 и струйная печатающая головка 16, каждый, являются частью сканирующей каретки, которая перемещается относительно материала 22 для печати для осуществления печати. Печатающая часть 18 включает лоток 24 для размещения материала 22 для печати. Когда материал 22 для печати пошагово продвигается через область печати, сканирующая каретка 20 перемещает печатающую головку 16 относительно материала 22 для печати. Печатающая часть 18 селективно приводит в действие печатающую головку 16 для осаждения чернил на материале 22 для печати, чтобы таким образом осуществлять печать.
Сканирующая каретка 20 перемещается через область печати на сканирующем механизме, который включает скользящий стержень 26, на котором скользит сканирующая каретка 20, при перемещении сканирующей каретки 20 через ось сканирования. Размещающее средство (не показано) используют для точного размещения сканирующей каретки 20. Кроме того, механизм для подачи бумаги (не показан) используют для пошагового продвижения материала 22 для печати через область печати, когда сканирующая каретка 20 перемещается вдоль оси сканирования. Электрические сигналы подаются для сканирующей каретки 20 для селективного приведения в действие печатающей головки 16 посредством электрического соединения, такого как ленточный провод 28.
Важным объектом настоящего изобретения является способ и устройство для введения контейнера 12 для чернил в посадочное место 14, так что контейнер 12 для чернил образует правильное жидкостное сообщение и электрическое соединение с печатающей частью 18. Важно, чтобы обеспечивалось как правильное жидкостное сообщение, так и электрическое соединение между контейнером 12 для чернил и печатающей частью 18. Жидкостное сообщение обеспечивает, чтобы подача чернил внутри контейнера 12 для чернил сообщалась с печатающей головкой 16 для создания источника чернил для печатающей головки 16. Электрическое соединение обеспечивает прохождение информации между сменным контейнером 12 для чернил и печатающей частью 18. Информация, проходящая между сменным контейнером 12 для чернил и печатающей частью 18, может включать информацию, касающуюся совместимости контейнера 12 для чернил с печатающей частью 18, и информацию о рабочем состоянии, такую как информация об уровне чернил, в качестве примера.
Способ и устройство согласно изобретению, как будет описано относительно Фиг.2-13, описывает те средства, которые обеспечивают введение сменного контейнера 12 для чернил в посадочное место 14, так чтобы обеспечивалось надежное электрическое соединение и жидкостное сообщение между сменным контейнером 12 для чернил и посадочным местом 14. Кроме того, способ и устройство согласно изобретению обеспечат введение и удаление сменного печатающего компонента 21 и печатающей части 18 надежным образом, при этом позволяя обеспечить относительно небольшую полную высоту печатающей части 18, имеющую размер, обозначенный как “h” на Фиг.1, таким образом обеспечивая относительно низкий профиль печатающей системы 10. Важно, чтобы печатающая система 10 имела низкий профиль для обеспечения более компактной печатающей системы, а также, чтобы позволить использование печатающего участка в различных применениях.
Фиг.2 представляет собой упрощенный схематичный вид струйной печатающей системы 10 согласно изобретению, показанной на Фиг.1. Фиг.2 является упрощенной, чтобы показать одну печатающую головку 16, соединяемую с одним контейнером 12 для чернил.
Струйная печатающая система 10 по изобретению включает печатающую часть 18 и контейнер 12 для чернил, который имеет конфигурацию для размещения в печатающей части 18. Печатающая часть 18 включает струйную печатающую головку 16 и управляющее устройство 29. При правильном введении контейнера 12 для чернил в печатающую часть 18 обеспечивается электрическое соединение и жидкостное сообщение между контейнером 12 для чернил и печатающей частью 18. Жидкостное сообщение обеспечивает подачу чернил, хранящихся в контейнере 12 для чернил, в печатающую головку 16. Электрическое соединение обеспечивает прохождение информации между электрическим устройством 80 для хранения информации, расположенным на контейнере 12 для чернил, и печатающей частью 18. Обмен информацией между контейнером 12 для чернил и печатающей частью 18 осуществляется, чтобы обеспечить работу печатающей части 18, совместимую с чернилами, содержащимися в сменном контейнере 12 для чернил, при этом достигая высокого качества печати и надежной работы печатающей системы 10.
Управляющее устройство 29, помимо прочего, управляет передачей информации между печатающей частью 18 и сменным контейнером 12 для чернил. Кроме того, управляющее устройство 29 управляет передачей информации между печатающей головкой 16 и управляющим устройством 29 для приведения в действие печатающей головки для селективного осаждения чернил на материале для печати. Кроме того, управляющее устройство 29 управляет относительным перемещением печатающей головки 16 и материала для печати. Управляющее устройство 29 осуществляет дополнительные функции, такие как управление передачей информации между печатающей системой 10 и основным устройством, таким как компьютер (не показан).
Чтобы гарантировать, что печатающая система 10 обеспечивает высокое качество изображений на материале для печати, необходимо чтобы работа управляющего устройства 29 учитывала конкретный сменный контейнер 12 для чернил, установленный в печатающей части 18. Управляющее устройство 29 использует параметры, обеспечиваемые электрическим устройством 80 для хранения информации, учитывая конкретный сменный контейнер 12 для чернил, установленный в печатающей части 18, чтобы обеспечить надежную работу и печатные изображения высокого качества.
Среди параметров, например, которые могут храниться в электрическом устройстве 80 для хранения информации, связанных со сменным контейнером 12 для чернил, могут содержаться, например, следующие: код данных, связанный со сменным контейнером 12 для чернил, код данных исходного введения контейнера 12 для чернил, системные коэффициенты, тип чернил и цвет чернил, размер контейнера для чернил, номер модели принтера или идентификационный номер и информация о каретке для пользователя.
Фиг.3 представляет собой вид участка сканирующей каретки 20, показывающий пару сменных контейнеров 12 для чернил, правильно установленных в посадочное место 14. Струйная печатающая головка 16 находится в жидкостном сообщении с посадочным местом 14. В предпочтительном варианте выполнения струйная печатающая система 10, показанная на Фиг.1, включает трехцветный контейнер для чернил, содержащий отдельно чернила трех цветов, и второй контейнер для чернил, содержащий чернила одного цвета. В этом предпочтительном варианте выполнения трехцветный контейнер для чернил содержит синие, красные и желтые чернила, а одноцветный контейнер для чернил содержит черные чернила для осуществления четырехцветной печати. Сменные контейнеры 12 для чернил могут быть различно разделены для вмещения менее трех цветов чернил или более трех цветов чернил, если требуется больше. Например, в случае печати высокой точности часто используют шесть или более цветов для осуществления печати.
Участок 20 сканирующей каретки, показанный на Фиг.3, для простоты показан в жидкостном сообщении с одной печатающей головкой 16. В предпочтительном варианте выполнения четыре струйные печатные головки 16, каждая, находятся в жидкостном сообщении с посадочным местом 14. В этом предпочтительном варианте выполнения каждая из четырех печатающих головок находится в жидкостном сообщении с чернилами каждого из четырех цветов, содержащимися в сменных контейнерах для чернил. Таким образом, синяя, красная, желтая и черная печатающие головки 16, каждая, находятся в жидкостном сообщении с их соответствующими синими, красными, желтыми и черными запасами чернил соответственно. Другие конфигурации, которые используют менее четырех печатающих головок, также возможны. Например, печатающая головка 16 может иметь конфигурацию для печати более чем одним цветом чернил путем правильного разделения печатающей головки 16, чтобы позволить обеспечение чернил первого цвета к первой группе сопел для чернил, и обеспечение чернил второго цвета ко второй группе сопел для чернил, причем вторая группа сопел для чернил отличается от первой группы. Таким образом, одну печатную головку 16 можно использовать для печати более чем одним цветом чернил, позволяя менее четырех печатающих головок 16 для осуществления четырехцветной печати. Путь для жидкости между каждым из сменных контейнеров 12 для чернил и печатающей головкой 16 будет описан более подробно относительно Фиг.4.
Каждый сменный контейнер 12 для чернил включает защелку 30 для прикрепления сменного контейнера 12 для чернил к посадочному месту 14. Посадочное место 14 в предпочтительном варианте выполнения включает несколько выступов 32, которые взаимодействуют с соответствующими фиксирующими средствами (не показаны) на сменном контейнере 12 для чернил. Фиксирующие средства на сменном контейнере 12 для чернил взаимодействуют с выступами 32 на посадочном месте, чтобы гарантировать, что сменный контейнер 12 для чернил совместим с посадочным местом 14.
Фиг.4 представляет собой вид сбоку и сверху участка 20 сканирующей каретки, показанной на Фиг.2. Участок 20 сканирующей каретки включает контейнер 12 для чернил, который, как показано, правильно установлен в посадочное место 14, таким образом обеспечивая жидкостное соединение между сменным контейнером 12 для чернил и печатающей головкой 16.
Сменный контейнер 12 для чернил включает участок 34 емкости для вмещения одной или более порции чернил. В предпочтительном варианте выполнения трехцветный сменный контейнер 12 для чернил имеет три отдельные емкости для вмещения чернил, каждая из которых содержит чернила различного цвета. В этом предпочтительном варианте выполнения одноцветный сменный контейнер 12 для чернил представляет собой емкость 34 для чернил для вмещения чернил одного цвета.
В предпочтительном варианте выполнения емкость 34 имеет капиллярный элемент для хранения (не показан), расположенный в ней. Капиллярный элемент для хранения информации представляет собой пористый элемент, имеющий достаточную капиллярность, чтобы удерживать чернила для предотвращения утечки чернил из емкости 34 в процессе введения и удавления контейнера 12 для чернил из печатающей системы 10. Это капиллярное усилие должно быть достаточно большим для предотвращения утечки чернил из емкости 34 для чернил под воздействием различных условий окружающей среды, таких как изменения температуры и давления. Кроме того, капиллярность капиллярного элемента является достаточной для удерживания чернил в емкости 34 для чернил для всех положений емкости для чернил, а также приемлемой величины удара и вибрации, которые контейнер для чернил может испытывать при обычном обращении. Предпочтительный капиллярный материал для хранения представляет собой сетку из волокон термосвязываемого полимера, описанного в Патентной Заявке США “Емкость для чернил для струйного принтера”, дело поверенного 10991407, подана 29 Октября, 1999, серийный номер 09/430400, принадлежащий автору настоящего изобретения и включенной сюда путем ссылки.
Как только контейнер 12 для чернил правильно установлен в посадочное место 14, контейнер 12 для чернил входит в жидкостное сообщение с печатающей головкой 16 посредством жидкостного соединения 36. При приведении в действие печатающей головки 16 чернила эжектируются из эжекционного участка 38, производя отрицательное давление по манометру, иногда упоминаемое как противодавление, в печатающей головке 16. Это отрицательное давление по манометру в печатающей головке 16 является достаточным для преодоления капиллярного усилия, возникающего из-за капиллярного элемента, расположенного в емкости 34 для чернил. Чернила вытягиваются посредством этого противодавления из сменного контейнера 12 для чернил к печатающей головке 16, таким образом, печатающая головка 16 пополняется чернилами, обеспеченными сменным контейнером 12 для чернил.
Жидкостное соединение 36 предпочтительно представляет собой вертикальную трубку для чернил, которая продолжается вверх в контейнер 12 для чернил и вниз к струйной печатающей головке 16. Жидкостное соединение 36 упрощенно показано на Фиг.4. В предпочтительном варианте выполнения жидкостное соединение представляет собой коллектор, который обеспечит смещение при размещении печатающих головок 16 вдоль оси сканирования, таким образом обеспечивая размещение печатной головки 16 со смещением от соответствующего сменного контейнера 12 для чернил. В предпочтительном варианте выполнения жидкостное соединение 36 проходит в емкость 34 для сжатия капиллярного элемента, таким образом образуя область повышенной капиллярности вблизи жидкостного соединения 36. Эта область повышенной капиллярности стремится к вытягиванию чернил по направлению к жидкостному соединению 36, при этом позволяя чернилам проходить через жидкостное соединение 36 к печатающей головке 16. Как будет описано, важно, чтобы контейнер 12 для чернил был правильно размещен в посадочном месте 14, так что правильное сжатие капиллярного элемента осуществляется, когда контейнер 12 для чернил вводят в посадочное место. Правильное сжатие капиллярного элемента необходимо для обеспечения надежного потока чернил из контейнера 12 для чернил к печатающей головке 16.
Сменный контейнер 12 для чернил, кроме того, содержит направляющее средство 40, средство 42 зацепления, участок для захвата 44 и защелкивающее средство 30, которые позволяют введение контейнера 12 для чернил в посадочное место 14 для достижения надежного жидкостного сообщения с печатающей головкой 16, а также для образования надежного электрического соединения между сменным контейнером 12 для чернил и сканирующей кареткой 20, как будет описано со ссылкой на Фиг.9а-9с и 10а-10b.
Посадочное место 14 включает направляющий рельс 46, средство 48 зацепления и защелкивающее средство 50 зацепления. Направляющий рельс 46 действует совместно со средством 40 зацепления направляющего рельса и сменным контейнером 12 для чернил для направления контейнера 12 для чернил к посадочному месту 14. Контейнер 12 для чернил затем прижимают вниз для сжатия пружинно смещаемого элемента 52, соединенного с посадочным местом 14, пока защелкивающее средство 50 зацепления, соединенное с посадочным местом 14, зацепляет крюкообразное средство 54, соединенное с защелкивающим элементом 30 для прикрепления заднего конца или хвостового конца контейнера 12 для чернил к посадочному месту 14. Так осуществляется совместная работа средств на контейнере 12 для чернил со средствами, соединенными с посадочным местом 14, которая обеспечивает правильное введение и функциональное взаимодействие между сменным контейнером 12 для чернил и посадочным местом 14. Посадочное место 14 теперь будет описано более подробно со ссылкой на Фиг.5.
Фиг.5 представляет собой вид спереди в перспективе посадочного места 14 для чернил, показанного отдельно. Посадочное место 14, показанное на Фиг.5, включает одноцветный отсек 56 для приема контейнера 12 для чернил, содержащего чернила одного цвета, и трехцветный отсек 58 для приема контейнера для чернил, имеющего три отдельных цвета чернил, содержащихся в нем. В этом предпочтительном варианте выполнения одноцветный отсек 56 принимает сменный контейнер 12 для чернил, содержащий черные чернила, а трехцветный отсек принимает сменный контейнер для чернил, содержащий синие, красные и желтые чернила, разделенные в отдельных емкостях в контейнере 12 для чернил. Посадочное место 14, а также сменный контейнер 12 для чернил может иметь другое расположение отсеков 56 и 58 для приема контейнеров для чернил, содержащих другие количества различных чернил, содержащихся в них. Кроме того, количество приемных отсеков 56 и 58 для посадочного места 14 может быть меньше или больше двух. Например, посадочное место 14 может иметь четыре отдельных отсека для приема четырех отдельных одноцветных контейнеров 12 для чернил, при этом каждый контейнер для чернил содержит отдельный цвет чернил, для осуществления четырехцветной печати.
Каждый отсек 56 и 58 посадочного места 14 включает отверстие 60 для приема каждого из вертикальных жидкостных соединений 36, которые продолжаются через него. Жидкостное соединение 36 представляет собой входной канал для жидкости для выхода чернил из соответствующего выходного отверстия для жидкости, соединенного с контейнером 12. Электрическое соединение 62 также включено в каждый приемный отсек 56 и 58. Электрическое соединение 62 включает несколько электрических контактов 64. В предпочтительном варианте выполнения электрические контакты 64 представляют собой схему из четырех пружинных электрических контактов при правильной установке сменного контейнера 12 для чернил в соответствующий отсек посадочного места 14. Правильное зацепление с каждым из электрических соединений 62 и жидкостных соединений 36 должно обеспечиваться надежным образом.
Направляющая рейка 46, расположенная на любой стороне жидкостных соединений в каждом отсеке 56 и 58, зацепляет соответствующее направляющее средство 40 на любой стороне контейнера 12 для чернил для направления контейнера 12 для чернил в посадочное место. Когда контейнер 12 для чернил полностью вставлен в посадочное место 14, средства 48 зацепления, расположенные на задней стенке 66 посадочного места 14, зацепляют соответствующие средства 42 зацепления, показанные на Фиг.3, на контейнере 12 для чернил. Средства 48 зацепления расположены на любой стороне электрического соединения 62. Смещающее средство 52, такое как пластинчатая пружина, расположено в посадочном месте 14. Пластинчатая пружина 52 обеспечивает смещающее усилие, которое стремится продвинуть контейнер 12 для чернил вверх от нижней поверхности 68 посадочного места. Пластинчатая пружина способствует защелкиванию контейнера 12 для чернил на посадочном месте 14, также способствуя удалению контейнера 12 для чернил из посадочного места, как будет описано относительно Фиг.10 и 11.
Фиг.6а, 6b, 6с и 6d показывают виды спереди, сбоку, сзади и вид снизу соответственно сменного контейнера 12 для чернил по изобретению. Как показано на Фиг.6а, сменный контейнер 12 для чернил включает пару выходящих наружу средств 40 зацепления направляющих реек. В предпочтительном варианте выполнения каждое из этих средств 40 зацепления направляющих реек проходит наружу в направлении, перпендикулярном вертикальной стороне 70 сменного контейнера 12 для чернил. Средства 42 зацепления проходят наружу от передней поверхности или ведущего края 72 контейнера 12 для чернил. Средства 42 зацепления расположены на любой стороне электрического соединения 74 и по направлению к нижней поверхности 76 сменного контейнера 12 для чернил. Электрическое соединение 74 включает несколько электрических контактов 78, при этом каждый электрический контакт 78 электрически соединяется с электрическим устройством 80 для хранения информации.
Противоположно ведущему концу 72 находится хвостовой конец 82, показанный на Фиг.6с. Хвостовой конец 82 сменного контейнера 12 для чернил включает защелкивающее средство 30, имеющее зацепляющий крюк 54. Защелкивающее средство 30 образовано из упругого материала, который позволяет защелкивающему средству продолжаться наружу от хвостового конца, при этом продолжая средство зацепления наружу по направлению к соответствующему средству зацепления, соединенному с посадочным местом 14. Когда защелкивающий элемент 30 сжимают внутрь по направлению к хвостовому концу 82, защелкивающий элемент вызывает смещающее усилие наружу, чтобы гарантировать, что средство 54 зацепления остается в зацеплении с соответствующим средством 50 зацепления, соединенным с посадочным местом 14, для прикрепления контейнера 12 для чернил в посадочное место 14.
Сменный контейнер 12 для чернил также включает выступы 84, расположенные на хвостовом конце сменного контейнера 12 для чернил. Эти выступы предпочтительно расположены на любой стороне защелки 30 по направлению к нижней поверхности 76 сменного контейнера 12 для чернил. Выступы 84 вместе с фиксирующими средствами 32 на посадочном месте 14 взаимодействуют, чтобы обеспечить введение контейнера 12 для чернил в приемный отсек 56 и 58 в посадочном месте 14. Кроме того, выступы 84 и фиксирующие средства 32 гарантируют, что сменный контейнер 12 для чернил содержит чернила, совместимые как по цвету, так и по химическому составу, или совместимые с соответствующим приемным отсеком 56 и 58 в посадочном месте 14.
Участок 44 для захвата рукой расположен на верхней поверхности 86 на хвостовом крае 82 сменного контейнера 12 для чернил. Участок 44 для захвата рукой позволяет захватывать контейнер 12 для чернил на хвостовом конце 82 при введении в соответствующий отсек посадочного места 14. Размещение участка для захвата над отверстиями 88 уменьшает для покупателя риск пролить чернила на руки при введении контейнера 12 для чернил в посадочное место 14. Кроме того, участок 44 для захвата рукой расположен на емкости 34 противоположно электрическим контактам 78, чтобы снизить или исключить обращение с электрическими контактами 78 в процессе введения контейнера 12 для чернил в посадочное место 14. Это прикосновение руки человека может загрязнять электрические контакты. Загрязнение электрических контактов солями и маслами, часто присутствующими в коже человека, может привести к ненадежному электрическому соединению или соединению с высоким сопротивлением между контейнером 12 для чернил и печатающим участком 18.
Контейнер 12 для чернил включает отверстия 88, расположенные на нижней поверхности 76 сменного контейнера 12 для чернил. Отверстия 88 обеспечивают жидкостному соединению 36 прохождение через емкость 34 для взаимодействия с капиллярным элементом, расположенным в ней. В случае трехцветного сменного контейнера 12 для чернил имеются три выходных отверстия 88 для жидкости, причем каждое выходное отверстие для жидкости чернилам разного цвета. В случае трехцветной камеры каждое из трех жидкостных соединений 36 продолжается в каждое из выходных отверстий 88 для жидкости, чтобы обеспечить жидкостное соединение между каждой камерой для чернил и соответствующей печатающей головкой для этого цвета чернил.
Фиг.7 представляет собой вид в перспективе одноцветного контейнера для чернил, размещенного для введения в одноцветный отсек 56 в посадочном месте 14, показанном на Фиг.5. Одноцветный контейнер для чернил, показанный на Фиг.7, подобен трехцветному контейнеру для чернил, показанному на Фиг.6а-6d, за исключением того, что только одно выходное отверстие 88 для жидкости выполнено в нижней поверхности 76. Одноцветный сменный контейнер 12 для чернил содержит чернила одного цвета и поэтому принимает только одно соответствующее жидкостное соединение 36 для обеспечения чернил от контейнера 12 для чернил к соответствующей печатающей головке.
Фиг.8 представляет собой в большом масштабе вид электрического устройства 80 для хранения информации и электрических контактов 78. В одном предпочтительном варианте выполнения электрическое устройство 80 для хранения информации и электрические контакты установлены на подложку 85. Каждый из электрических контактов 78 электрически соединен с электрическим устройством 80 для хранения информации. Электрические контакты 78 электрически изолированы друг от друга посредством подложки 85. В одном предпочтительном варианте выполнения электрическое устройство 80 для хранения информации представляет собой полупроводниковое запоминающее устройство, которое установлено на подложку 85. В предпочтительном варианте выполнения подложка 85 адгезивно соединена с контейнером 12 для чернил.
В одном предпочтительном варианте выполнения имеются четыре электрических контакта 78, представляющих собой контакты для соединения с источником питания и для заземления, а также соединения для часов и данных. Введение сменного контейнера 12 для чернил в печатающую часть 18 обеспечивает электрическое соединение между электрическими контактами 64 на посадочном месте 14 и электрическими контактами 78 на сменном контейнере 12 для чернил. При приложении энергии и заземления к электрическому устройству 80 для хранения информации данные передаются между печатающей частью 18 и сменным контейнером 12 для чернил на скорости, обеспечиваемой сигналом синхронизации. Важно, чтобы электрическое соединение между печатающей частью 18 и сменным контейнером 12 для чернил, образованное электрическими контактами 64 и 78, соответственно, было соединением с низким сопротивлением, чтобы обеспечить надежную передачу данных. Если электрические контакты 64 и 78 не обеспечивают соединение с низким сопротивлением, то данные могут быть переданы неправильно или данные могут быть искаженными или неточными. Поэтому важно, чтобы надежное соединение с низким сопротивлением было выполнено между контейнером 12 для чернил и печатающей частью 18, чтобы обеспечить правильное положение печатающей системы 10.
Фиг.9а, 9b и 9с представляют собой ряд чертежей для иллюстрации технологии по изобретению для введения сменного контейнера 12 для чернил в посадочное место 14 с образованием надежного электрического соединения и жидкостного сообщения с посадочным местом 14.
Фиг.9а показывает контейнер 12 для чернил, частично введенный в посадочное место 14. В предпочтительном варианте выполнения контейнер 12 для чернил вводят в посадочное место 14 путем захвата участка 44 для захвата рукой и введения контейнера для чернил в посадочное место, вперед ведущим краем или ведущей поверхностью 72. Когда ведущий край 72 входит в посадочное место 14, продолжающиеся наружу направляющие элементы 40 на контейнере для чернил зацепляют каждую пару направляющих реек 46. Направляющие рейки 46 направляют контейнер 12 для чернил в горизонтальном или линейном перемещении по направлению к задней стенке 66 посадочного места. Направляющие рейки 46 затем направляют сменный контейнер для чернил как в горизонтальном направлении к задней стенке 66, так и в вертикальном направлении к нижней поверхности посадочного места 14, так что средство 42 зацепления на контейнере 12 для чернил принимается соответствующим средством 48 зацепления на задней стенке 66 посадочного места 14, как показано на Фиг.9b. Введение контейнера 12 для чернил требует только усилия вставки для продвижения контейнера для чернил продольно вдоль направляющей рейки 46. Сила тяжести, действующая на контейнер 12 для чернил, заставляет контейнер для чернил следовать по направляющим рейкам 46, поскольку направляющие рейки продолжаются вниз, чтобы позволить зацепление средств 42 и 48 зацепления. Средства 40 зацепления направляющих реек предпочтительно представляют собой слегка скругленные поверхности для свободного скольжения вдоль направляющих реек 46.
Фиг.9b показывает контейнер 12 для чернил, вставляемый в посадочное место 14 так, что средство 42 зацепления находится в зацеплении со средством 48 зацепления, соединенным с посадочным местом 14. Усилие, направленное вниз, прикладывают к контейнеру 12 для чернил, как показано стрелками 90, для сжатия пластинчатой пружины 52 и для продвижения хвостового конца 82 контейнера 12 для чернил вниз по направлению к нижней поверхности 68 посадочного места 14. Выступы 84 должны правильно точно соответствовать фиксирующим средствам 32 на посадочном месте 14. Если выступы 84 на контейнере 12 для чернил не соответствуют фиксирующим средствам 32, фиксирующая система будет мешать дальнейшему вводу контейнера 12 для чернил в посадочное место 14. Эта фиксирующая система, состоящая из выступов 84 и фиксирующих средств 32, мешает дальнейшему вводу в посадочное место 14 контейнеров для чернил, которые не совместимы с посадочным местом 14. Дальнейший ввод контейнера 12 для чернил в посадочное место 14 может привести к контактированию жидкостного соединения 36 с капиллярным материалом в контейнере 12 для чернил, при этом загрязняя жидкостное соединение 36 несовместимыми чернилами. Смешивание несовместимых чернил в жидкостном соединении 36 может привести к осаждению, что может повредить печатающую головку 16. В дополнение к чернилам с несовместимым химическим составом контейнер для чернил может иметь несовместимый цвет, который может привести к смешиванию цветов, при этом снижая качество печати.
Выступы 84 на контейнере 12 для чернил и фиксирующие средства 32 на посадочном месте 14 позволяют полное введение правильного контейнера 12 для чернил в правильное посадочное место 14. Усилие, направленное вниз, прикладываемое к хвостовому концу 82 контейнера 12 для чернил, заставляет контейнер 12 для чернил поворачиваться вокруг оси вращения, сжимая пластинчатую пружину 52, при этом перемещая хвостовой конец 82 контейнера 12 для чернил к нижней поверхности 68 посадочного места 14. Когда контейнер 12 для чернил продвигается вниз в посадочное место 14, упругая защелка 30 слегка сжимается внутрь, по направлению к хвостовому концу 82 контейнера 12 для чернил. Как только контейнер 12 для чернил продвинется вниз достаточно далеко, средство 54 зацепления на защелку 30 взаимодействует с соответствующим средством 50 зацепления на посадочном месте 14 для прикрепления контейнера 12 для чернил к посадочному месту 14, как показано на Фиг.9с.
При правильном прикреплении контейнера 12 для чернил в посадочном месте 14, как показано на Фиг.9с, жидкостное соединение 36 продолжается в емкость 34 для сжатия капиллярного материала, при этом образуя область повышенной капиллярности, смежную жидкостному соединению 36. Эта область повышенной капиллярности вытягивает чернила по направлению к жидкостному соединению 36, таким образом обеспечивая перемещение чернил через жидкостное соединение 36 к печатающей головке 16. В предпочтительном варианте выполнения контейнер 12 для чернил при введении в посадочное место 14 ориентирован в ссылочной гравитационной рамке, так что сила тяжести действует на чернила в контейнере 12 для чернил, стремясь сместить чернила по направлению к нижней поверхности 76 контейнера 12 для чернил. Таким образом, чернила в контейнере 12 для чернил вытягиваются к нижней поверхности 76, где эти чернила втягиваются по направлению к жидкостному соединению 36 посредством капиллярного притяжения, при этом снижая или сводя к минимуму застревание чернил в контейнере 12 для чернил.
Фиг.10 представляет собой упрощенный, в большом масштабе вид, отдельно от контейнера 12 для чернил, правильно размещенного в посадочном месте 14. Контейнер 12 для чернил показан с капиллярным элементом 86 для хранения, расположенным в нем. Контейнер 12 для чернил имеет такую конфигурацию, чтобы при введении в посадочное место 14 жидкостное соединение 36 обеспечивалось через выходное отверстие 88 для жидкости для сжатия капиллярного материала 86 для хранения в области, примыкающей к жидкостному соединению 36. В предпочтительном варианте выполнения жидкостное соединение 26 представляет собой полую цилиндрическую трубку для чернил, которая позволяет чернилам в капиллярном элементе 86 для хранения проходить от контейнера 12 для чернил к печатающей головке 16 через полую трубку 36 для чернил.
Фиг.11 представляет собой упрощенный вид сверху контейнера 12 для чернил, установленного в посадочное место 14. Фиг.11 предназначена для иллюстрации того, как достигается электрическое соединение между контейнером 12 для чернил и посадочным местом, и изображен не в масштабе. В предпочтительном варианте выполнения посадочное место 14 включает электрическое соединение 62, имеющее несколько подпружиненных электрических контактов 64.
Контейнер 12 для чернил включает несколько электрических контактов 78, расположенных на нем. Контейнер 12 для чернил имеет такую конфигурацию, что при введении в посадочное место 14 каждый из нескольких электрических контактов 78 взаимодействует с каждым из нескольких пружинно смещаемых электрических контактов 64 на посадочном месте 14. Электрические контакты 64 слегка сжимаются так, что каждый из электрических контактов смещается к каждому из электрических контактов 78, соединенных с контейнером для чернил, так что обеспечивается надежное электрическое соединение между контейнером 12 для чернил и посадочным местом 14. Это электрическое соединение между контейнером 12 для чернил и посадочным местом 14 позволяет передачу информации между электрическим устройством 80 для хранения информации, расположенным на контейнере 12 для хранения, и управляющим устройством 29, расположенным на печатающей части 18, показанным на Фиг.2.
Фиг.12а и 12b показывают положение в процессе введения, описанном относительно Фиг.9а, 9b и 9с, при этом ведущий край 72 контейнера 12 для чернил располагается над жидкостным соединением 36. Фиг.12а показывает вид сбоку, при этом Фиг.12b показывает вид с торца. На Фиг.12а и 12b можно видеть, что направляющее средство 40 должно быть расположено на контейнере 12 для чернил достаточно низко по направлению к нижней поверхности 76 контейнера 12 для чернил, так что ведущий край 72 контейнера 12 для чернил не сталкивается с жидкостным соединением 36 в процессе введения. Другое ограничение при размещении направляющего элемента 40 состоит в том, что направляющий элемент 40 должен быть размещен достаточно близко к верхней поверхности 86 контейнера 12 для чернил, чтобы гарантировать, что средство 42 зацепления правильно взаимодействует с соответствующим средством (48) зацепления на посадочном месте 14.
Кроме того, выступающие наружу направляющие элементы 40 на контейнере для чернил должны проходить наружу достаточно далеко, чтобы зацеплять направляющие рейки 46. Однако выступающие наружу направляющие элементы 40 не должны проходить слишком далеко наружу, так чтобы направляющие элементы 40 зацепляли вертикальные стороны в посадочном месте 14, образуя препятствие, которое производит трение и заедание, что препятствует введению контейнера 12 для чернил в посадочное место 14.
Фиг.13а, 13b и 13с показывают способ удаления контейнера 12 для чернил из посадочного места 14. Процесс удаления контейнера 12 для чернил по изобретению начинается с высвобождения средства зацепления из соответствующего средства 50 зацепления на посадочном месте 14 посредством продвижения защелки 30 по направлению к хвостовой поверхности 82. Как только высвобождается хвостовой край контейнера 12 для чернил, пружина 52 продвигает хвостовой конец контейнера для чернил вверх, как показано на Фиг.13b. Контейнер 12 для чернил может быть захвачен посредством участка для захвата 44 для извлечения контейнера 12 для чернил в направлении противоположном направлению введения. Когда контейнер 12 для чернил удален из посадочного места 14, направляющие элемент 40 следуют по направляющим рейкам 46 для подъема контейнера для чернил, при этом предотвращая препятствие между жидкостным соединением 36 и выходным отверстием для жидкости на нижней поверхности контейнера 12 для чернил.
Контейнер 12 для чернил согласно настоящему изобретению имеет конфигурацию для зацепления и взаимодействия с посадочным местом 14 для направления контейнера 12 для чернил в посадочное место и для образования надежного жидкостного сообщения и электрического соединения с посадочным местом 14. Способ по настоящему изобретению позволяет этому процессу введения быть относительно простым и легко предотвращать неправильное введение контейнера 12 для чернил. Потребитель захватывает контейнер 12 для чернил с помощью участка 44 для захвата рукой и направляет со скольжением контейнер 12 для чернил горизонтально в посадочное место 14. Направляющие рейки 46 и направляющие средства 40 работают совместно для правильного направления контейнера 12 для чернил в посадочное место 14. Контейнер 12 для чернил прижимается вниз для защелкивания контейнера 12 для чернил и достигает как рабочего электрического, так и жидкостного соединения между контейнером 12 для чернил и посадочным местом 14.
Формула изобретения
1. Сменный контейнер (12) для чернил для подачи чернил в струйную печатающую систему (10), причем струйная печатающая система (10) имеет посадочное место (14), установленное на сканирующей каретке (20), причем посадочное место имеет входное отверстие (36) для жидкости и электрические контакты (64), электрически соединенные с участком (29) управления печатающей системы, содержащий емкость (34) для чернил, имеющую ведущую торцевую поверность (72) относительно направления введения сменного контейнера для чернил в посадочное место, и нижнюю торцевую поверхность (76), перпендикулярную ведущей торцевой поверхности, причем нижняя торцевая поверхность образует выходное отверстие (88) для жидкости, имеющее конфигурацию для соединения с входным отверстием для жидкости на посадочном месте; электрическое устройство (80) для хранения информации, соединенное с емкостью для чернил, для хранения информации о сменном контейнере для чернил; электрические контакты (78), установленные на ведущей торцевой поверхности, и электрически соединенные с электрическим устройством для хранения информации, при этом каждый из электрических контактов на емкости для чернил имеет такую конфигурацию, чтобы взаимодействовать с каждым из электрических контактов на посадочном месте для рабочего соединения электрического устройства для хранения информации с частью управления печатающей системой; средство (42) зацепления, расположенное на ведущей торцевой поверхности в непосредственной близости от нижней торцевой поверхности, причем средство зацепления имеет конфигурацию для зацепления соответствующего средства (48) зацепления на посадочном месте, для прикрепления ведущей торцевой поверхности емкости для чернил к посадочному месту.
2. Сменный контейнер (12) для чернил по п.1, в котором ведущая торцевая поверхность (72) емкости (34) для чернил является вертикальной стороной.
3. Сменный контейнер (12) для чернил по п.1, дополнительно включающий капиллярный материал (86) для хранения, расположенный в емкости (34) для чернил, причем капиллярный материал для хранения находится в несжатом состоянии, когда сменный контейнер для чернил не установлен в посадочное место (14), и в сжатом состоянии, когда сменный контейнер для чернил установлен в посадочное место, для образования области повышенной капиллярности в капиллярном материале для хранения, вблизи выходного отверстия (88) для жидкости.
4. Сменный контейнер (12) для чернил по п.1, в котором электрические контакты (78) являются четырьмя электрическими контактами, причем эти четыре электрических контакта включают пару контактов для подачи напряжения между ними, и пару контактов для подачи управляющих сигналов и сигналов данных относительно общей ссылки.
5. Сменный контейнер (12) для чернил по п.1, в котором электрическое устройство (80) для хранения информации является полупроводниковым запоминающим устройством.
6. Сменный контейнер (12) для чернил по п.1, в котором емкость (34) для чернил включает направляющие средства (40), такие, что введение сменного контейнера для чернил в посадочное место (14) вызывает перемещение емкости для чернил, во-первых, в линейном направлении к задней стенке (66) посадочного места, а во-вторых, в направлении к нижней стенке (68) посадочного места.
7. Способ обеспечения электрического соединения и жидкостного сообщения между сменным контейнером (12) для чернил и посадочным местом (14), установленным на перемещающейся каретке, струйной печатающей системы, включающий продвижение сменного контейнера для чернил по направлению к задней стенке (66) посадочного места для зацепления средства (42) зацепления, расположенного на ведущей торцевой поверхности (72) контейнера для чернил непосредственно смежно нижней поверхности (76) контейнера для чернил, с соответствующим средством (48) зацепления на задней стенке, причем задняя стенка имеет по меньшей мере один электрический контакт (64), расположенный на ней; поворот сменного контейнера для чернил вниз по направлению к нижней стенке (68) посадочного места для рабочего соединения выходного отверстия (88) для жидкости на нижней поверхности сменного контейнера для чернил с входным каналом (36) для жидкости, близким к нижней стенке посадочного места, и для рабочего соединения по меньшей мере одного электрического контакта на посадочном месте с по меньшей мере одним электрическим контактом (78) на ведущей торцевой поверхности сменного контейнера для чернил, которая перпендикулярна нижней поверхности, чтобы обеспечить как электрическое соединение, так и жидкостное сообщение между сменным контейнером для чернил и посадочным местом, причем по меньшей мере один электрический контакт сменного контейнера для чернил электрически соединен с электрическим устройством (80) для хранения информации, касающейся сменного контейнера для чернил.
8. Способ обеспечения электрического соединения и жидкостного сообщения по п.7, дополнительно предусматривающий подачу чернил из сменного контейнера (12) для чернил к посадочному месту (14).
9. Способ обеспечения электрического соединения и жидкостного сообщения по п.7, в котором сменный контейнер (12) для чернил включает капиллярный материал (86) для хранения, расположенный в нем, и в котором поворот сменного контейнера для чернил вниз по направлению к нижней стенке (68) посадочного места (14) устанавливает сменный контейнер для чернил на входном канале (36) для жидкости, для сжатия капиллярного материала для хранения, образуя область повышенной капиллярности, вблизи входного отверстия для жидкости.
РИСУНКИ
MM4A – Досрочное прекращение действия патента СССР или патента Российской Федерации на изобретение из-за неуплаты в установленный срок пошлины за поддержание патента в силе
Дата прекращения действия патента: 01.02.2009
Извещение опубликовано: 20.07.2010 БИ: 20/2010
|
|