|
|
(21), (22) Заявка: 2003128882/12, 12.02.2002
(24) Дата начала отсчета срока действия патента:
12.02.2002
(30) Конвенционный приоритет:
26.02.2001 (пп.1-8) DE 20103680.0
(43) Дата публикации заявки: 10.03.2005
(45) Опубликовано: 20.07.2005
(56) Список документов, цитированных в отчете о поиске:
US 4133861 А, 09.01.1979. RU 2080526 С1, 27.05.1997. SU 1435454 А2, 07.11.1988. RU 2116195 С1, 27.07.1998. US 3819793 А, 25.06.1974. DE 19752501 A1, 10.06.1999.
(85) Дата перевода заявки PCT на национальную фазу:
26.09.2003
(86) Заявка PCT:
DE 02/00557 (12.02.2002)
(87) Публикация PCT:
WO 02/068169 (06.09.2002)
Адрес для переписки:
129010, Москва, ул. Большая Спасская, 25, стр.3, ООО “Юридическая фирма Городисский и Партнеры”, Е.В.Томской
|
(72) Автор(ы):
БАРКОВСКИ Петер (DE)
(73) Патентообладатель(и):
БЕРШТОРФФ ГМБХ (DE)
|
(54) ХОЛОДИЛЬНАЯ УСТАНОВКА ДЛЯ ОХЛАДИТЕЛЯ КАУЧУКОВЫХ ПОЛОТЕН
(57) Реферат:
Изобретение относится к холодильным установкам для охлаждения одного или более каучуковых полотен, подаваемых на конвейерной ленте. Холодильная установка для охлаждения каучукового полотна содержит конвейерную установку для непрерывной подачи каучукового полотна и воздухораспределительную установку, которая позволяет вытекать поданному из компрессора охлаждающему воздуху на одну плоскую сторону каучукового полотна. Воздухораспределительная установка разделена на первый и второй, расположенный после первого, воздухоохлаждающие блоки. Компрессор разделен на первый и второй вентиляторы. Первый воздухоохлаждающий блок снабжается от первого вентилятора охлаждающим воздухом, который всасывается из окружающей среды и предварительно не охлаждается. Второй воздухоохлаждающий блок снабжается охлаждающим воздухом от второго вентилятора. Второй воздухоохлаждающий блок расположен в изолированном в значительной степени корпусе, сквозь который посредством конвейерной установки направляется каучуковое полотно. Второй вентилятор для рециркуляции охлаждающего воздуха имеет воздуховсасывающий патрубок, расположенный внутри корпуса. Для предварительного охлаждения охлаждающего воздуха, отводимого обратно в корпус, предусмотрен теплообменник, присоединенный к холодильному агрегату. Изобретение позволяет снизить энергозатраты, и сократить габариты установки, и сократить капитальные затраты. 1 н. b 7 з.п. ф-лы, 2 ил.

Изобретение относится к холодильным установкам для охлаждения одного или более каучуковых полотен, с конвейерной установкой для непрерывной подачи каучуковых полотен и с воздухораспределительной установкой, которая позволяет вытекать поданному из компрессора охлаждающему воздуху, по меньшей мере, на одну плоскую сторону каучуковых полотен.
Каучуковые полотна являются промежуточными продуктами, которые далее обрабатываются для производства различных изделий из резины, например шин. Такие каучуковые полотна можно производить различным способом. Они могут иметь гладкие или профилированные поверхности. Обычная производственная установка для каучуковых полотен имеет экструдирующую установку, которая снабжена широким щелевым соплом для экструзии плоской каучуковой ленты. Широкое щелевое сопло направлено непосредственно в вальцовочный зазор каландра, образованного, например, двумя валками, который раскатывает экструдируемый продукт в соответственно желаемое каучуковое полотно с одинаковой толщиной. Каучуковое полотно на выходе из каландра имеет, как правило, массовую температуру приблизительно от 80 до 100°С. Чтобы обеспечить беспроблемную дальнейшую обработку каучукового полотна, желательно охладить полотно до приблизительно 35-40°С. Для этого в настоящее время используются разнообразные холодильные установки, которые работают с воздухом в качестве охлаждающей среды.
По существу такие воздухоохлаждающие установки состоят из конвейерной установки для непрерывной подачи каучукового полотна, над которой располагается воздухораспределительная установка, которая посредством компрессора направляет охлаждающий воздух в направлении одной плоской стороны каучукового полотна, чтобы охладить ее. Протяженность конвейерной установки должна выбираться такой величины, что каучуковое полотно в конце конвейерной установки охлаждается до желаемой конечной температуры. Охлаждающий воздух всасывается посредством компрессора по выбору снаружи или изнутри производственного помещения, в котором расположена вся установка, и выдувается, как правило, при помощи множества сопел на поверхность материала. В известных способах, чтобы конвейерная установка не была слишком длинной, а каучуковое полотно быстро охлаждалось, охлаждающий воздух с помощью теплообменника, который присоединен к холодильному агрегату, охлаждается, например, до температуры 20°С.
При таком способе действия охлажденный воздух, во время его контакта с поверхностью соответствующего каучукового полотна, сравнительно мало нагревается. После процесса охлаждения относительно незначительно нагретый охлажденный воздух смешивается с воздухом в производственном помещении. Поэтому энергозатраты на охлаждение охлаждающего воздуха в значительной степени расходуются бесполезно. К тому же, являются значительными устанавливаемая мощность охлаждения холодильного агрегата и конструктивный размер теплообменника. Таким образом, при этом виде охлаждения каучукового полотна возникают не только значительные капитальные затраты, но сверх этого также значительные текущие производственные издержки, например, в виде энергозатрат.
Задачей настоящего изобретения является усовершенствование известной холодильной установки в том отношении, что при неизменном результате охлаждения значительно сокращаются капитальные затраты, а также производственные издержки.
Эта задача согласно изобретению решается признаками, указанными в отличительной части пункта 1 формулы изобретения. Предпочтительные усовершенствования этой холодильной установки раскрываются в зависимых пунктах формулы изобретения.
Настоящее изобретение использует идею направления охлаждаемого воздуха, предварительно охлажденного с высокими энергозатратами, в контур, чтобы снова выхолаживать только соответствующий прирост температуры охлаждающего воздуха, который возникает при контакте с соответствующим каучуковым полотном, и по возможности в значительной степени избежать обусловливающего потери смешивания с воздухом окружающей среды. Затрачиваемая для этого энергия гораздо меньше, чем если бы постоянно охлаждался новый воздух из окружающей среды.
Так как охлаждающий воздух выходит по существу свободно из воздухораспределительной установки, то практически невозможно непосредственно вернуть этот охлаждающий воздух обратно, чтобы направить его в контур. Для подобной рециркуляции необходимо выполнить охлаждение в изолированном от окружающей среды пространстве. Из-за значительных размеров конвейерной установки такое изолированное пространство повлекло бы за собой очень высокие капитальные затраты.
Поэтому изобретение выходит за пределы вышеописанной основной идеи и предусматривает для снижения капитальных затрат предварительное охлаждение только части потока всего применяемого охлаждающего воздуха и направление ее в контур. Для этого воздухораспределительная установка разделяется, по меньшей мере, на один первый и, по меньшей мере, на один второй, расположенный после первого, воздухоохлаждающие блоки.
Соответствующим образом также разделяется компрессор, по меньшей мере, на один первый и, по меньшей мере, на один второй вентиляторы. При этом первый воздухоохлаждающий блок снабжается от первого вентилятора охлаждающим воздухом, который всасывается из окружающей среды и предварительно не охлаждается. Таким образом, энергозатраты для подачи этого охлаждающего воздуха в целом незначительны. Только, по меньшей мере, один второй воздухоохлаждающий блок, который располагается по направлению транспортирования после первого воздухоохлаждающего блока, снабжается от второго вентилятора предварительно охлажденным охлаждающим воздухом. Чтобы этот охлаждающий воздух мог направляться в контур, второй охлаждающий блок располагается в изолированном в значительной степени корпусе, сквозь который направляется соответствующее охлаждаемое каучуковое полотно посредством конвейерной установки. Для этого воздуховсасывающий патрубок второго вентилятора располагается внутри корпуса. Смешивание с воздухом окружающей среды всячески избегается. Поэтому холодильный агрегат, который обеспечивает необходимый холод для охлаждения направляемого в контур охлаждающего воздуха через теплообменник, включенный в циркуляционный трубопровод второго вентилятора, должен вырабатывать только сравнительно небольшую холодильную мощность, так как разность температур между свежим подводимым охлаждающим воздухом и откаченным из корпуса охлаждающим воздухом является относительно малой.
Чтобы сам корпус принимал по возможности меньшую тепловую энергию из окружающей среды, он предпочтительно снабжается соответствующей теплоизоляцией.
Принимая во внимание расположение теплообменника для охлаждения свежего подводимого охлаждающего воздуха, целесообразно предусмотреть его в трубопроводе, подающем обратно охлаждающий воздух от второго вентилятора в корпус.
Разумеется, можно предусмотреть соответственно больше, чем один первый или один второй воздухоохлаждающий блок в холодильной установке. В случае необходимости они также могут эксплуатироваться с различными температурами охлаждающего воздуха, чтобы также было возможно каскадное взаимное подключение вторых воздухоохлаждающих блоков. Однако оказалось, что установке в большинстве случаев уже вполне достаточно только одного первого и одного второго воздухоохлаждающего блока. Принимая во внимание протяженность конвейерной линии конвейерной установки, целесообразно, чтобы первый воздухоохлаждающий блок охватывал участок протяженностью примерно 55-80%, предпочтительно 60-70%, а второй воздухоохлаждающий блок – участок протяженностью 45-20%, предпочтительно 40-30%, от общей протяженности конвейерной установки.
Целесообразно снабжать воздухоохлаждающие блоки соответственно множеством выпускающих воздух сопел, направление выпуска которых направлено на поверхность соответствующего охлаждаемого каучукового полотна.
Целесообразно располагать всю производственную установку, включая холодильную установку, внутри производственного помещения и всасывать охлаждающий воздух для первого воздухоохлаждающего блока изнутри производственного помещения. Для этого воздуховсасывающий патрубок для первого вентилятора расположен внутри производственного помещения.
Целесообразно формировать конвейерную установку как бесконечную конвейерную ленту, которая проходит через корпус для второго воздухоохлаждающего блока.
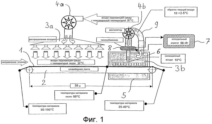
Ниже следует более подробное объяснение настоящего изобретения посредством варианта осуществления, схематично представленного на фиг.1. На фиг.2 представлен сравнительный вариант, при котором весь охлаждающий воздух предварительно охлаждается в теплообменнике.
Каучуковое полотно 1 непрерывно транспортируется слева направо горизонтальной конвейерной установкой 2 в виде бесконечной конвейерной ленты. Общая протяженность конвейерной линии составляет, например, 30 м. Над конвейерной установкой 2 расположен один первый воздухоохлаждающий блок 3а, который снабжается через вентилятор 4а охлаждающим воздухом, всасываемым из окружающей среды и предварительно не охлаждаемым. Охлаждающий воздух направляется по существу в вертикальном направлении сверху вниз на поверхность каучукового полотна, лежащего своей широкой стороной на конвейерной ленте. При этом первый воздухоохлаждающий блок 3а простирается на длину приблизительно 20 м. В направлении транспортирования непосредственно за первым воздухоохлаждающим блоком 3а следует второй воздухоохлаждающий блок 3b, который расположен внутри корпуса 5 и простирается на участке протяженностью приблизительно 10 м вдоль конвейерной установки 2. Над корпусом 5 расположен вентилятор 4b в циркуляционном трубопроводе 9 для рециркуляции охлаждающего воздуха, причем воздуховсасывающий патрубок 6 циркуляционного трубопровода 9 расположен внутри корпуса 5. Охлаждающий воздух, который всасывается из корпуса 5, через вентилятор 4b и расположенный за ним теплообменник 8 в предварительно охлажденном виде подводится обратно в корпус 5 в направлении поверхности каучукового полотна 1. Теплообменник 8 для предварительного охлаждения охлаждающего воздуха соединен с холодильным агрегатом 7. Каучуковое полотно 1 изготавливается на производственной установке, которая расположена с левой стороны от конвейерной установки 2, но на чертеже не показана. Эта производственная установка состоит, например, из двухшнекового экструдера с широким щелевым соплом и расположенным после него каландром с двумя валками.
Способ функционирования вышеописанной холодильной установки следующий. Из не показанной на чертеже производственной установки каучуковое полотно 1 с температурой приблизительно 80-100°С попадает в область первого воздухоохлаждающего блока 3а. Вентилятор 4а из окружающей среды холодильной установки засасывает в производственном помещении воздух окружающей среды, который, например, имеет максимальную температуру 35°С. Воздух окружающей среды подается через воздухоохлаждающий блок 3 на верхнюю широкую сторону каучукового полотна 1. Разница температур между охлаждающим воздухом и поверхностью каучукового полотна 1 довольно велика, прежде всего во входной области конвейерной установки 2, так что имеет место эффективное охлаждение. Вплоть до самого конца транспортного участка под первым воздухоохлаждающим блоком 3а материал охлаждается, например, до 50°С. Если бы дальнейшее охлаждение производилось не охлажденным предварительно воздухом окружающей среды, то эффективность охлаждения уменьшалась бы и таким образом требуемая протяженность участка охлаждения резко увеличивалась бы. Поэтому на втором участке холодильной установки воздействуют предварительно охлажденным охлаждающим воздухом. Он имеет температуру, например, около 10°С. Таким образом, на втором участке охлаждения также возникает относительно большая разница температур, которая обеспечивает быстрое охлаждение каучукового полотна от приблизительно 50°С до требуемой конечной температуры приблизительно 35-40°С. По сравнению с первым участком охлаждения второй участок охлаждения с предварительным охлаждением охлаждающего воздуха имеет существенно более короткую протяженность. Для температуры предварительно охлажденного охлаждающего воздуха целесообразно принять в расчет температурную область приблизительно 0-20°С. Действительная температура охлаждающего воздуха и требуемая конечная температура каучукового полотна являются важными определяющими параметрами для необходимой протяженности второго охлаждающего участка.
В холодильной установке, представленной на фиг.2 для сравнения с настоящим изобретением, весь примененный для охлаждения воздух, который направляется к каучуковому полотну 1 через воздухораспределительную установку 3, охлаждается посредством теплообменника 8, подключенного к холодильному агрегату 7. При этом воздухораспределительная установка 3 охватывает всю протяженность конвейерной установки 2. Охлаждаемый воздух всасывается соответственно из окружающей среды посредством единственного вентилятора 4, и направляется охлажденным через выпускающие воздух сопла воздухораспределительной установки 3 на плоскую верхнюю сторону каучукового полотна 1, и после этого снова смешивается с воздухом в окружающей среде установки.
По сравнению с холодильной установкой по фиг.2, в которой весь охлаждающий воздух предварительно охлаждается, охлаждающая установка согласно изобретению работает значительно эффективнее, то есть с ощутимо меньшими энергозатратами. Если исходить из того, что при производительности каучука, равной 3500 кг/ч, охлаждение каучукового полотна должно происходить от 90°С до температуры 35°С, то для холодильного агрегата необходима приводная мощность приблизительно 180 кВт, чтобы охладить весь охлаждающий воздух от предположительной температуры в области всасывания равной приблизительно 35°С до температуры приблизительно 20°С в области выпуска охлаждающего воздуха. При этом протяженность участка охлаждения составляла бы около 40 м.
Конечно, если вместо этого применяют охлаждающую установку согласно изобретению, у которой при одинаковой производительности лишь на втором участке холодильной установки работают с предварительно охлажденным охлаждающим воздухом, то охлаждающий воздух нагревается при вышеупомянутых условиях между выпуском охлаждающего воздуха и воздуховсасывающим патрубком циркуляционного трубопровода только приблизительно на 2-5 К. Охлаждение, которое выполняется на втором участке охлаждения, от 50°С до требуемых 35°С соответствует разности температур равной лишь 15 К. Поэтому холодильный агрегат при производительности каучука 3500 кг/ч соответственно требует приводной мощности всего лишь 56 кВт. Общая протяженность участка охлаждения составляет приблизительно 30 м.
В результате получается, что необходимая длина традиционной холодильной установки больше приблизительно на 1/3, а, кроме того, требуемая сумма капиталовложений почти на 50% превышает таковую у холодильной установки согласно изобретению. При этом в холодильной установке согласно изобретению требуется лишь 1/3 приводной мощности для холодильного агрегата. Энергозатраты, которые необходимы для приведения в действие вентиляторов, приблизительно одинаковы в обоих случаях.
В холодильной установке, представленной на фиг.2 для сравнения с настоящим изобретением, весь применяемый для охлаждения воздух, который подводится к каучуковому полотну 1 через воздухораспределительную установку 3, охлаждается посредством теплообменника 8, присоединенного к холодильному агрегату 7. При этом воздухораспределительная установка 3 охватывает всю протяженность конвейерной установки 2.
Охлаждающий воздух всасывается соответственно из окружающей среды установки посредством единственного вентилятора 4 и направляется охлажденным через выпускающие воздух сопла воздухораспределительной установки 3 на плоскую поверхность каучукового полотна 1.
Формула изобретения
1. Холодильная установка для охлаждения по меньшей мере одного каучукового полотна (1) с конвейерной установкой (2) для непрерывной подачи каучукового полотна (1) и с воздухораспределительной установкой, которая позволяет вытекать поданному из компрессора охлаждающему воздуху по меньшей мере на одну плоскую сторону каучукового полотна (1), отличающаяся тем, что воздухораспределительная установка разделена по меньшей мере на один первый и по меньшей мере один второй, расположенный после первого, воздухоохлаждающие блоки (3а, 3b), а компрессор – по меньшей мере на первый и по меньшей мере на второй вентиляторы (4а, 4b), первый воздухоохлаждающий блок (3а) снабжается от первого вентилятора (4а) охлаждающим воздухом, который всасывается из окружающей среды и предварительно не охлаждается, второй воздухоохлаждающий блок (3b) снабжается охлаждающим воздухом от второго вентилятора (4b), второй воздухоохлаждающий блок (3b) расположен в изолированном в значительной степени корпусе (1), сквозь который посредством конвейерной установки (2) направляется каучуковое полотно (1), второй вентилятор (4b) для рециркуляции охлаждающего воздуха имеет воздуховсасывающий патрубок (6), расположенный внутри корпуса, и для предварительного охлаждения охлаждающего воздуха, отводимого обратно в корпус (5), предусмотрен теплообменник, присоединенный к холодильному агрегату (7).
2. Холодильная установка по п.1, отличающаяся тем, что корпус (5) снабжен теплоизоляцией.
3. Холодильная установка по п.1 или 2, отличающаяся тем, что теплообменник (8) расположен в трубопроводе, направляющем охлаждающий воздух от второго вентилятора (4b) в корпус (5).
4. Холодильная установка по одному из пп.1-3, отличающаяся тем, что предусмотрен строго один первый (3а) и строго один второй (3b) воздухоохлаждающие блоки.
5. Холодильная установка по одному из пп.1-4, отличающаяся тем, что воздухоохлаждающие блоки (3а, 3b) соответственно снабжены множеством выпускающих воздух сопел.
6. Холодильная установка по одному из пп.1-5, отличающаяся тем, что холодильная установка расположена внутри производственного помещения, а охлаждающий воздух для первого воздухоохлаждающего блока посредством расположенного в производственном помещении воздуховсасывающего патрубка всасывается из внутреннего пространства производственного помещения.
7. Холодильная установка по одному из пп.1-6, отличающаяся тем, что конвейерная установка (2) выполнена в виде бесконечной конвейерной ленты.
8. Холодильная установка по одному из пп.1-7, отличающаяся тем, что первый воздухоохлаждающий блок (3а) охватывает участок протяженностью 55-80%, предпочтительно 60-70%, а второй воздухоохлаждающий блок (3b) – участок протяженностью 45-20%, предпочтительно 40-30%, от общей протяженности конвейерной установки (2).
РИСУНКИ
|
|