|
|
(21), (22) Заявка: 2004123987/02, 05.08.2004
(24) Дата начала отсчета срока действия патента:
05.08.2004
(45) Опубликовано: 20.07.2005
(56) Список документов, цитированных в отчете о поиске:
RU 2062692 С1, 27.06.1996. RU 95105545 A1, 27.11.1996. SU 740944 A, 30.01.1984. US 2027579 A, 14.01.1936.
Адрес для переписки:
630008, г.Новосибирск, ул. Ленинградская, 113, НГАСУ, отдел ПЛР
|
(72) Автор(ы):
Абраменков Д.Э. (RU), Абраменков Э.А. (RU), Боровских Ю.Н. (RU), Кутумов А.А. (RU), Малышева Ю.Э. (RU), Матюхин В.С. (RU)
(73) Патентообладатель(и):
Новосибирский государственный архитектурно-строительный университет (СИБСТРИН) (RU), Абраменков Дмитрий Эдуардович (RU)
|
(54) ПНЕВМАТИЧЕСКИЙ МОЛОТОК С ДРОССЕЛЬНЫМ ВОЗДУХОРАСПРЕДЕЛЕНИЕМ
(57) Реферат:
Изобретение относится к области строительных и горных машин ударного действия и может быть использовано при создании ручных пневматических молотков для машиностроения, а также тяжелых пневмоударных машин для разрушения скальных пород и мерзлых грунтов. В пневматическом молотке с дроссельным воздухораспределением между стенкой стакана и внешней боковой поверхностью цилиндра образована кольцевая непроточная форсажная камера, а каналы форсажа, сообщающие периодически форсажную камеру с камерой рабочего хода, выполнены в стенке цилиндра в виде радиальных каналов и так, что расстояние от торца крышки, обращенного в камеру рабочего хода, до отсечной кромки среза форсажного канала со стороны ближнего выпускного канала периодически перекрывается ударником и выполнено меньшим длины ударника, причем в крышке выполнен дополнительный дроссельный калиброванный канал, соединяющий постоянную сетевую камеру и непроточную форсажную камеру между собой. Обеспечивается увеличение ударной мощности молотка и энергии единичного удара. 4 з.п. ф-лы, 4 ил.

Предлагаемое изобретение относится к области строительных и горных машин ударного действия и может быть использовано при создании ручных пневматических молотков для машиностроения, а также тяжелых пневмоударных машин для разрушения скальных пород и мерзлых грунтов.
Известен погружной пневмоударник (см., например, а.с. СССР №470608, кл. Е 21 С 3/24, 1975), включающий цилиндр, разделенный ударником на камеры рабочего и холостого ходов, трубку с системой продольных управляемых и продувочных, а также радиальных каналов, отсекающие кромки которых при взаимодействии с боковой поверхностью центрального сквозного канала и выточки в ударнике периодически сообщают указанные камеры с сетью сжатого воздуха, причем трубка установлена в канале хвостовика рабочего инструмента уплотненно.
Недостатком такого и подобных ему пневмоударных механизмов является специфическая зависимость длины ударника от величины его хода: длина более чем в 2 раза превышает ход ударника. Такие механизмы характеризуются большой массой ударника, значительными габаритами по длине, повышенной вибрацией цилиндра и для ручных машин практически неприемлемы. Существенным недостатком конструктивного решения таких механизмов является обязательность уплотненных неподвижных посадок трубки относительно цилиндра и хвостовика рабочего инструмента, а также подвижных посадок ударника относительно трубки и цилиндра. Поскольку с “одной установки” технологически не представляется возможным обрабатывать одновременно все детали (цилиндр, трубку, хвостовик и ударник), то практически невозможно осуществить уплотненные подвижные посадки без перекосов, “закусываний”, что ухудшает энергетические xapaктеристики механизма и машины в целом.
Известен также пневматический молоток (см., например, а.с. CCCP №1061982, кл. В 25 D 9/04, 1983), включающий цилиндрический корпус, размещенный в нем ударник со сквозным осевым отверстием, разделяющий полость корпуса на камеры рабочего и холостого ходов, крышку с осевой многоканальной трубкой, служащей для впуска сжатого воздуха в камеры, и систему выпускных дросселей, периодически сообщающих камеры с атмосферой, причем система выпускных дросселей выполнена в крышке и трубке, которая жестко и уплотненно закреплена относительно крышки и боковой поверхностью взаимодействует с поверхностью сквозного отверстия в ударнике.
Недостатком такого и подобных ему пневмоударных механизмов является обязательность уплотненных неподвижных посадок трубки относительно крышки или цилиндрического корпуса, а также подвижных посадок ударника относительно трубки и цилиндрического корпуса. В указанном конструктивном решении трубка выполнена консольной с уплотненным защемлением относительно крышки, поэтому дополнительным существенным недостатком следует считать, с высокой вероятностью, поломку трубки по поперечному сечению вблизи ее жесткого закрепления.
Известно также пневматическое устройство ударного действия (см., например, а.с. СССР №1235719, кл. В 25 D 9/04, 1986), включающее корпус с аккумуляционной камерой и выпускными каналами, соединенную с ним футорку с предварительной камерой, размещенные в корпусе соосно ему воздухоподводящую трубку, закрепленную в футорке, и взаимодействующий с трубкой полый ударник, периодически перекрывающий выпускные каналы и образующий с корпусом камеры рабочего и холостого ходов, сообщаемые периодически между собой посредством перепускных каналов и постоянно с предварительной камерой посредством впускных дросселей, и рабочий инструмент, причем впускной дроссель, соединяющий камеру холостого хода, выполнен в трубке на участке ее закрепления в футорке, а перепускные каналы выполнены в виде глухих продольных пазов на наружной цилиндрической поверхности трубки, периодически перекрываемых торцами ударника.
Недостатком такого и подобных ему пневматических устройств ударного действия является обязательность уплотнения неподвижной посадки трубки относительно футорки (крышки), как заделки-защемления с консолью, опертой на подвижную посадку в сквозном осевом отверстии полого ударника. При таком и подобном ему закреплении трубки требуется обеспечить также уплотненную посадку ударника относительно трубки и цилиндра корпуса. Невозможность обработки осевых отверстий цилиндра ударника, трубки и крышки с “одной установки” обусловливает несоосность отверстий и приводит к перекосам, “закусыванию”, повышенному неравномерному трению на сопрягаемых взаимодействующих поверхностях и торможению ударника и, как следствие, снижению энергии единичного удара и числа ударов, а также поломке трубки и остановке устройства ударного действия. Перекосы приводят к непроизводительным утечкам и перетечкам, нарушающим расчетный процесс в рабочих камерах устройства.
Наиболее близким техническим решением по отношению к предлагаемому является пневматический молоток с дроссельным воздухораспределением (см., например, патент РФ №2062692, кл. В 25 D 9/04, 17/12, Е 21 С 3/24, 1996) – прототип, включающий полый цилиндр с размещенным в нем ударником с центральным сквозным каналом, разделяющим полость цилиндра на камеру рабочего и холостого ходов, трубку с продольным каналом, взаимодействующую с центральным каналом ударника, снабженную постоянно открытым впускным дроссельным каналом в камере холостого хода, установленную с опиранием на торец цилиндра крышку с буртиками, на который опирается стакан с воздухоподводящим каналом, разъемно закрепленный относительно цилиндра, а также кольцевую аккумуляционную камеру, образованную стенкой стакана и внешней боковой поверхностно цилиндра, перепускные каналы выполнены в стенке цилиндра на уровне камеры рабочего хода в виде радиальных каналов, трубка выполнена с возможностью осевого и радиального перемещения относительно центрального сквозного отверстия крышки, а постоянно открытый впускной в камеру рабочего хода дроссельный канал выполнен в виде кольцевого канала с возможностью изменения формы его поперечного сечения, образованного боковыми поверхностями трубки и центрального сквозного отверстия в крышке. Молоток также содержит сетевую камеру, радиальные выпускные каналы в цилиндре, воздухоотбойное кольцо с каналами в стенке, образующие выпускную камеру, рабочий инструмент с хвостовиком, колпак, закрепленный разъемно относительно цилиндра, и рукоятку с устройством включения подачи сжатого воздуха в сетевую камеру.
Указанный пневматический молоток как содержащий наибольшее количество существенных признаков по отношению к предлагаемому принят в качестве прототипа.
Основной недостаток прототипа – это значительный объем аккумуляционной камеры, постоянно сообщенной с камерой рабочего хода, обусловливает давление воздуха в них в конце холостого хода, как правило, меньшее по величине в сравнении с давлением воздуха в камере сетевого воздуха на 15…17%, что не способствует на столько же сократить время торможения ударника, а в начале рабочего хода сократить время его разгона и приобретения ударником более высокой скорости. Отмеченное приводит к увеличению времени цикла и уменьшению скорости соударения ударника с хвостовиком инструмента, а следовательно, уменьшению ударной мощности молотка как за счет уменьшения частоты ударов, так и уменьшения энергии единичного удара.
Недостатки прототипа и ему подобных пневматических молотков с дроссельным воздухораспределением можно исключить, если функции аккумуляционной камеры заменить на функции форсажной камеры, которые обеспечат давление воздуха в них до величины давления его в сетевой камере, а следовательно, до величины максимально возможного давления воздуха, поступающего из сети.
При этом необходимо на некотором участке движения ударника перекрыть радиальный перепускной канал, сообщающий камеры рабочего хода и форсажную при холостом ходе и открыть сообщение при рабочем ходе. Отмеченное позволит не создавать значительного по величине противодавления воздуха в камере рабочего хода при торможении ударника в конце холостого хода, а следовательно, не создавать с ее стороны значительных сил отдачи, вызывающих колебательное движение цилиндра молотка. При разгоне ударника в начальный период рабочего хода давление воздуха в камере благодаря поступлению его из сетевой камеры не понизится, а при открытии перепускного канала, который наделяется функциями форсажного канала, давление в камере рабочего хода повысится, и ударник, получив дополнительный импульс давления, увеличит скорость своего движения в сторону хвостовика рабочего инструмента Отмеченное позволит повысить скорость соударения и сократить время движения ударника при рабочем ходе.
Таким образом, для достижения положительного эффекта необходимо изменить координату форсажного канала и форсажную камеру постоянно сообщить с сетью сжатого воздуха посредством сетевой камеры сетевого воздуха.
Сущность предлагаемого технического решения пневматического молотка с дроссельным воздухораспределением заключается в следующем.
Пневматический молоток с дроссельным воздухораспределением включает сетевую камеру, рукоятку с устройством включения подачи сжатого воздуха в сетевую камеру, полый цилиндр, размещенный в нем ударник с центральным каналом и разделяющий полость цилиндра на камеры холостого и рабочего ходов, пропущенную через центральный канал ударника трубку, соединяющую постоянно сетевую камеру с камерой холостого хода через постоянно открытый впускной дроссельный канал, установленную на одном торце цилиндра со стороны камеры рабочего хода крышку с буртиком и центральным сквозным отверстием для проведения через нее трубки, постоянно открытый впускной в камеру рабочего хода дроссельный канал, соединяющий сетевую камеру с камерой рабочего хода, выпускные каналы, выполненные в боковой стенке цилиндра, и рабочий инструмент с хвостовиком, установленным в другом торце цилиндра, причем на буртике крышки установлен своим днищем стакан, обращенный к буртику крышки, трубка выполнена с возможностью осевого и радиального перемещения относительно центрального сквозного отверстия крышки, а постоянно открытый впускной в камеру рабочего хода дроссельный канал выполнен в виде кольцевого канала с возможностью изменения формы его поперечного сечения, образованного боковыми поверхностями трубки и центрального сквозного отверстия в крышка, трубка со стороны крышки в сетевой камере снабжена буртиком для взаимодействия с седлом отверстия крышки, причем между стенкой стакана и внешней боковой поверхностью цилиндра образована непроточная форсажная камера, а каналы форсажа, сообщающие периодически форсажную камеру с камерой рабочего хода, выполнены в стенке цилиндра в виде радиальных каналов и так, что расстояние от торца крышки, обращенного в камеру рабочего хода до отсечной кромки среза форсажного канала со стороны ближнего выпускного канала периодически перекрывается ударником и выполнено меньшим длины ударника, причем в крышке выполнен дополнительный дроссельный калиброванный канал, соединяющий постоянно сетевую камеру и непроточную форсажную камеру между собой.
Целесообразно дополнительный дроссельный калиброванный канал, соединяющий постоянно сетевую камеру и непроточную форсажную камеру, выполнить в виде калиброванного радиального канала в буртике крышки.
Целесообразно дополнительный дроссельный калиброванный канал, соединяющий постоянно сетевую камеру и непроточную форсажную камеру, выполнить в виде калиброванного паза на буртике крышки.
Целесообразно дополнительный дроссельный калиброванный канал, соединяющий постоянно сетевую камеру и непроточную форсажную камеру, выполнить в виде наклонного круглого калиброванного отверстия в буртике крышки.
Целесообразно дополнительный дроссельный калиброванный канал, соединяющий постоянно сетевую камеру и непроточную форсажную камеру, выполнить в виде продольного калиброванного канала в буртике крышки.
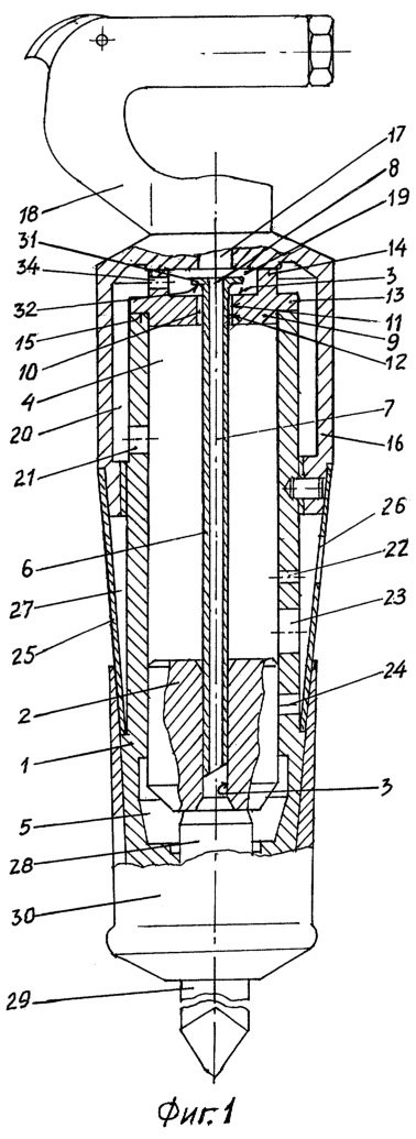
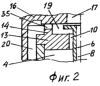
На фиг.1 показан молоток с частичным продольным разрезом с трубкой, непроточной форсажной камерой и дополнительным дроссельным калиброванным радиальным каналом впуска в буртике крышки; на фиг.2 – фрагмент исполнения дополнительного дроссельного калиброванного канала впуска в непроточную форсажную камеру в виде калиброванного паза на буртике крышки; на фиг.3 – фрагмент исполнения дополнительного дроссельного калиброванного канала впуска в непроточную форсажную камеру в виде наклонного круглого калиброванного канала в буртике крышки; на фиг.4 – фрагмент исполнения дополнительного дроссельного калиброванного канала впуска в непроточную форсажную камеру в виде продольного калиброванного канала в буртике крышки. Обозначения на всех чертежах приняты одинаковыми.
Пневматический молоток с дроссельным воздухораспределением (см. фиг.1) содержит полый цилиндр 1 с размещенным в нем ударником 2 с центральным сквозным каналом 3, разделяющим полость цилиндра 1 на камеры рабочего 4 и холостого 5 ходов и трубку 6 с продольным каналом 7. Трубка 6 взаимодействует с центральным каналом 3 ударника 2 и снабжена постоянно открытым дроссельным каналом 8 в камеру 5 холостого хода. Трубка 6 установлена со стороны камеры 4 рабочего хода в центральном отверстии неподвижной крышки 9 и образует кольцевой впускной дроссельный канал 10. Возможность продольного и радиального перемещения трубки 6 обеспечивается за счет кольцевого зазора между боковой поверхностью 11 центрального отверстия крышки 9 и боковой поверхностью 12 трубки 6. При этом зазор выполняет функции впускного дроссельного канала с переменной формой площади сечения, но постоянного проходного сечения в камеру 4 рабочего хода. Крышка 9 снабжена фланцевым буртиком 13 и уплотнительным буртиком 14, посредством которых она опирается на торец 15 цилиндра 1 и стакан 16, обращенным к буртику 14. Стакан 16 уплотненно и разъемно, например, посредством резьбового соединения закреплен на цилиндре 1 и снабжен воздухоподводящим каналом 17 от съемной рукоятки 18 с пусковым устройством любого известного типа. Между стаканом 16, буртиком 14 крышки 9 образована сетевая камера 19, а между стаканом 16, буртиками 14 и 13 и цилиндром 1 образована кольцевая форсажная камера 20, периодически сообщающаяся посредством радиального форсажного канала 21 в цилиндре с камерой 4. Исполнение форсажного канала 21 должно удовлетворять условию: расстояние от торца крышки, обращенного в камеру 4 рабочего хода до отсечной кромки среза форсажного канала, со стороны ближнего выпускного канала 22 выполнено меньшим длины ударника 2.
Цилиндр 1 снабжен радиальными выпускными каналами 22, 23 и 24, расположенными ярусами, на уровне которых установлено воздухоотбойное кольцо 25 с выпускным каналом, например в виде щели 26. Между кольцом 25 и цилиндром 1 образована выпускная камера 27. Хвостовик 28 рабочего инструмента 29 установлен в камере 5 и удерживается от выпадания устройством для его удержания, например, в виде обрезиненного металлического колпака 30, закрепленного разъемно относительно цилиндра 1 посредством резьбового или другого известного соединения. На трубке 6 со стороны сетевой камеры 19 выполнен уплотнительный буртик 31 с уплотнительным седлом 32. Центральное сквозное отверстие – кольцевой впускной дроссельный канал 10 крышки 9 выполнен с кольцевым уплотнительным седлом 33, что позволяет уменьшить удельный ударный импульс седла 32 буртика 31 трубки 6 о крышку 9, чем увеличивает ресурс крышки, трубки и молотка в целом. Буртик 14 крышки 13 для обеспечения гарантированного постоянного впуска сжатого воздуха из камеры 19 в форсажную камеру 20 снабжен дополнительным дроссельным калиброванным радиальным каналом 34 впуска в буртике 14 крышки 9 (см. фиг.1), либо дополнительным дроссельным калиброванным пазом 35 на буртике 14 крышки 9 (см. фиг.2), либо дополнительным дроссельным калиброванным наклонным каналом 36 в буртике 13 крышки 9 (см. фиг.3), либо дополнительным дроссельным калиброванным продольным каналом 37 в буртике 13 крышки 9 (см. фиг.1).
Уплотняющее положение буртика 14 крышки 9 относительно стакана 16 может обеспечиваться дополнительным устройством, например, пружиной поджатия, установленной между буртиком цилиндра 1 и буртиком 13 крышки.
Пневматический молоток с дроссельным воздухораспределением работает следующим образом.
При нажатии на рукоятку 17 до упора инструментом 29 в обрабатываемую среду трубка 6 выталкивается хвостовиком 28 в сетевую камеру 19, уплотнительное седло 32 буртика 31 трубки отходит от уплотнительного седла 33 крышки 9 и при включении пускового устройства рукоятки сжатый воздух поступает по каналу 17 в стакане 16 в сетевую камеру. Из камеры 19 сетевой воздух поступает в камеру 4 рабочего хода по кольцевому выпускному дроссельному каналу 10 и одновременно в непроточную форсажную камеру 20, либо через дополнительный дроссельный калиброванный радиальный канал 34 в буртике 14 (см. фиг.1), либо через дополнительный дроссельный калиброванный паз 35 в буртике 14 (см. фиг.2), либо через дополнительный дроссельный калиброванный наклонный канал 36 в крышке 9 (см. фиг.3), либо через дополнительный дроссельный калиброванный продольный канал 37 в крышке 9 (см. фиг.4) и одновременно из непроточной форсажной камеры 20 поступает в камеру 4 через форсажный канал 21, если он не перекрыт ударником 2. Так же из камеры 19 сетевой воздух поступает в камеру 5 холостого хода по впускному дроссельному каналу 8 и продольному каналу 7 в трубке 6.
Давление воздуха в камерах 4 и 20 будет оставаться практически равным атмосферному, так как выпускные каналы 22 и 23, а также форсажный канал 21, имеющие площади проходного сечения, превышающие площади впускного кольцевого дросселя 10 и дополнительного дроссельного калиброванного радиального канала 34 (см. фиг.1), либо дополнительного дроссельного калиброванного паза 35 (см. фиг.2), либо дополнительного дроссельного калиброванного наклонного канала 36 (см. фиг.3), либо дополнительного дроссельного калиброванного продольного канала 37 (см. фиг.4), открыты, то посредством каналов 22 и 23 с выпускной камерой 27 и посредством щелевого канала 26 в воздухоотбойном кольце 25 камеры 4 и 20 сообщены с атмосферой.
В камере 5 холостого хода, поскольку она разобщена с атмосферой, давление воздуха увеличивается, и ударник 2 начнет перемещаться по трубке 6 от хвостовика 28 инструмента 29, установленного в колпаке 30, совершая холостой ход.
При последующем перемещении ударник 2 перекроет своей боковой поверхностью последовательно выпускные каналы 23 и 22, в результате чего начнется повышение давления воздуха, отсеченного в камерах 4 и 20, а также воздуха, вновь натекаемого в эти камеры через кольцевой впускной дроссельный канал 10 и через дополнительные дроссельные калиброванные радиальные каналы 34 (см фиг.1),либо паз 35 (см. фиг.2), либо наклонный 36 и продольный 37 каналы (см. фиг.3, 4). Одновременно с перекрытием выпускного канала 22 начнется открытие выпускного канала 24 и давление в камере 5 холостого хода будет снижаться до значения атмосферного давления, несмотря на поступление сетевого воздуха через впускной дроссельный канал 8 и канал 7 в трубке 6 из камеры 19, а так как проходное сечение выпускного канала 24 существенно больше проходного сечения впускного дроссельного канала 8, такому снижению давления воздуха способствует и открывающиеся последовательно выпускные каналы 23 и 71. Таким образом, отработавший воздух из камеры 5 выпускается в выпускную камеру 27 и через щелевой канал 26 в воздухоотбойном кольце 25 в атмосферу.
По мере совершения ударником холостого хода давление воздуха в камере 4 и сообщенной с ней посредством форсажного канала 21 камере 20 будет увеличиваться. При последующем перекрытии ударником 2 форсажного канала 21 давление воздуха в камере 20 будет интенсивно повышаться до уровня сетевого благодаря его непрерывному поступлению в камеру через дополнительные дроссельные калиброванные радиальные каналы 34 (см. фиг.1), либо паз 35 (см. фиг.2), либо наклонные 36 и продольные 37 каналы (см. фиг.3, 4) из сетевой камеры 19. Повышенное давление воздуха в камере 20 не сказывается на повышении противодавления в камере 4, поскольку они разобщены. Под действием разницы импульсов давлений воздуха в камерах 4 и 5 ударник 2 будет затормаживать свое перемещение и остановится в расчетной точке. Сразу же под действием импульса давления воздуха со стороны камеры 4 ударник начнет ускоренно перемещаться по трубке 6 в сторону хвостовика 28, совершая рабочий ход.
По мере перемещения ударника 2 давление воздуха в камере 4 рабочего хода будет уменьшаться. Это вызвано тем, что быстро увеличивающийся объем камеры 4 при рабочем ходе не успевает заполниться сетевым воздухом, поступающим из камеры 19 через кольцевой впускной дроссельный канал 10.
При дальнейшем перемещении ударника 2 его боковая поверхность откроет форсажный канал 21 и накопленный в камере 20 воздух резко наполнит объем камеры 4 и повысит в ней давление, что существенно повысит импульс давления воздуха рабочего хода и скорость перемещения ударника 2. Поскольку ударник 2 является подвижным, то на площадку крышки 13 приходится меньшая сила, нежели это было бы при неподвижном ударнике или его возвратном перемещении при сжатии воздуха в объеме камеры 4.
При дальнейшем перемещении ударника 2 его боковая поверхность откроет выпускной канал 22 и сразу же перекроет выпускной канал 24. Так как скорость ударника велика, а проходное сечение канала 22 не так велико, то резкого снижения давления воздуха в камерах 4 и 21 не произойдет, и давление в них будет поддерживаться расчетным. Одновременно в камере 5 холостого хода начнется процесс сжатия воздуха, отсеченного в ней, и воздуха сетевого, вновь поступающего из камеры 19 посредством впускного дроссельного канала 8 и канала 7 в трубке 6 (см. фиг.1).
После открытия боковой поверхностью ударника 2 выпускного канала 23 давление воздуха в камере 4 рабочего хода и сообщенной с ней форсажной камере 20 резко упадет до величины атмосферного, так как посредством выпускных каналов 22 и 23 камера 4, а камера 20 посредством форсажного канала 21 сообщается с камерой 4, которая посредством каналов 22 и 23 сообщается с выпускной камерой 27 и через щель 26 в воздухоотбойном кольце 25 с атмосферой.
Преодолевая импульс противодавления воздуха со стороны камеры 5 холостого хода под действием разницы импульсов давления воздуха со стороны камеры 4, 20 и 5, ударник 2 наносит удар по хвостовику 28 инструмента 29 и описанный рабочий процесс будет повторяться стой лишь разницей, что холостой ход ударника будет формироваться также при участии импульса отскока ударника от хвостовика инструмента.
Устойчивость рабочего цикла с форсажем рабочего хода со стороны камеры 4 обеспечивается соблюдением герметичности между камерами 19 и 20 при сохранении проходного сечения дополнительных дроссельных калиброванных радиального канала 34 (см. фиг.1), паза 35 (см. фиг.2), наклонного 36 и продольного 37 канала (см. фиг.3, 4).
Выполнение дополнительных дроссельных калиброванных пазов и каналов калиброванными позволяет обеспечивать расчетное давление воздуха в непроточной форсажной камере 20 при перекрытом форсажном канале 21 ударником 2, а при сообщении камеры 4 с атмосферой посредством каналов 22 и 23 расход воздуха калиброванным каналом или пазом не будет превышать расчетного с учетом расхода воздуха кольцевым каналом 10. Указанное позволяет без увеличения общего расхода воздуха за счет реализации форсажа при рабочем ходе со стороны камеры 4 увеличить импульс давления и предударную скорость ударника 2 по хвостовику 28 инструмента 29. Предложенные варианты исполнения дополнительных дроссельных калиброванных каналов 34, 36, 37 и паза 35 в совокупности с размещением форсажного канала 21 в стенке цилиндра 1 на участке длиной не более длины ударника 2 позволяют снизить противодавление в камере 4 за счет уменьшения проходного сечения кольцевого канала 10, переадресовав уменьшенную часть воздуха форсажной камере 20 посредством дополнительных дроссельных калиброванных радиального каналов и пазов. Снижение противодавления в камере 4 позволяет также уменьшить величину хода ударника при том же расчетном импульсе давления воздуха со стороны камеры 5 холостого хода при холостом ходе ударника и увеличить длину участка его разгона без увеличения времени цикла, поскольку время рабочего хода ударника 2 увеличится за счет импульса форсажа, что будет способствовать увеличению ударной мощности и снижению удельного расхода воздуха молотком.
Формула изобретения
1. Пневматический молоток с дроссельным воздухораспределением, включающий сетевую камеру, рукоятку с устройством включения подачи сжатого воздуха в сетевую камеру, полый цилиндр, размещенный в нем ударник с центральным каналом и разделяющий полость цилиндра на камеры холостого и рабочего ходов, пропущенную через центральный канал ударника трубку, соединяющую постоянно сетевую камеру с камерой холостого хода через постоянно открытый дроссельный канал, установленную на одном торце цилиндра со стороны камеры рабочего хода крышку с буртиком и центральным сквозным отверстием для проведения через нее трубки, постоянно открытый впускной в камеру рабочего хода дроссельный канал, соединяющий сетевую камеру с камерой рабочего хода, выпускные каналы, выполненные в боковой стенке цилиндра, и рабочий инструмент с хвостовиком, установленным на другом торце цилиндра, причем на буртике крышки установлен стакан своим днищем, обращенный к буртику крышки, трубка выполнена с возможностью осевого и радиального перемещений относительно центрального сквозного отверстия крышки, а постоянно открытый впускной в камеру рабочего хода дроссельный канал выполнен в виде кольцевого канала с возможностью изменения формы его поперечного сечения, образованного боковыми поверхностями трубки и центрального сквозного отверстия в крышке, трубка со стороны крышки в сетевой камере снабжена буртиком для взаимодействия с седлом отверстия крышки, отличающийся тем, что между стенкой стакана и внешней боковой поверхностью цилиндра образована кольцевая непроточная форсажная камера, а каналы форсажа, сообщающие периодически форсажную камеру с камерой рабочего хода, выполнены в стенке цилиндра в виде радиальных каналов и так, что расстояние от торца крышки, обращенного в камеру рабочего хода, до отсечной кромки среза форсажного канала со стороны ближнего выпускного канала периодически перекрывается ударником и выполнено меньшим длины ударника, причем в крышке выполнен дополнительный дроссельный калиброванный канал, соединяющий постоянную сетевую камеру и непроточную форсажную камеру между собой.
2. Пневматический молоток по п.1, отличающийся тем, что дополнительный дроссельный калиброванный канал, соединяющий постоянно сетевую камеру и непроточную форсажную камеру, выполнен в виде калиброванного радиального канала в буртике крышки.
3. Пневматический молоток по п.1, отличающийся тем, что дополнительный дроссельный калиброванный канал, соединяющий постоянно сетевую камеру и непроточную форсажную камеру, выполнен в виде калиброванного паза на буртике крышки.
4. Пневматический молоток по п.1, отличающийся тем, что дополнительный дроссельный калиброванный канал, соединяющий постоянно сетевую камеру и непроточную форсажную камеру, выполнен в виде калиброванного наклонного канала в крышке.
5. Пневматический молоток по п.1, отличающийся тем, что дополнительный дроссельный калиброванный канал, соединяющий постоянно сетевую камеру и непроточную форсажную камеру, выполнен в виде калиброванного продольного канала в крышке.
РИСУНКИ
MM4A – Досрочное прекращение действия патента СССР или патента Российской Федерации на изобретение из-за неуплаты в установленный срок пошлины за поддержание патента в силе
Дата прекращения действия патента: 06.08.2006
Извещение опубликовано: 20.06.2007 БИ: 17/2007
|
|