|
|
(21), (22) Заявка: 2004105321/02, 24.02.2004
(24) Дата начала отсчета срока действия патента:
24.02.2004
(45) Опубликовано: 20.07.2005
(56) Список документов, цитированных в отчете о поиске:
Промышленный гидравлический инструмент. Каталог “Энерпред”. №8, 2001, с.27. SU 440232 A1, 25.08.1974. SU 647055 A1, 15.02.1979. RU 2077403 С1, 20.04.1997. FR 1560475 A1, 10.02.1969.
Адрес для переписки:
410071, г.Саратов, ул. Шелковичная, 186, ОАО “НИТИ-Тесар”
|
(72) Автор(ы):
Шмырев М.П. (RU), Никуличев А.В. (RU), Шмырев П.М. (RU)
(73) Патентообладатель(и):
Открытое акционерное общество “Научно-исследовательский технологический институт “НИТИ-Тесар” (RU)
|
(54) ПРЕСС С ПРЕЦЕССИРУЮЩЕЙ ГОЛОВКОЙ
(57) Реферат:
Изобретение предназначено для сборки точных узлов приборов запрессовкой тарированным усилием, клепкой и развальцовкой прецессирующим инструментом. Пресс содержит П-образную станину, установленный на ее стойках переставной стол, фиксируемый на стойках станины штырями, силовой гидроцилиндр с осевым перемещением штока, привод вращения прецессирующей головки и насосную станцию гидропривода. Привод вращения прецессирующей головки включает электродвигатель и ременную передачу. Силовой гидроцилиндр жестко установлен на поперечине П-образной станины и несет на торце подпружиненного штока плиту с двумя разнесенными параллельными оси штока и подпружиненными относительно станины скалками. Шкивы ременной передачи привода вращения установлены в корпусе. Корпус закреплен на плите таким образом, что ведомый шкив размещен на шпинделе соосно штоку гидроцилиндра, а ведущий шкив – на одной оси с валом электродвигателя, закрепленного на поперечине станины. Ведущий шкив и вал электродвигателя кинематически связаны другим валом, с одной стороны закрепленным на валу электродвигателя, а с другой – связанным скользящей шпонкой с отверстием в опорной оси ведущего шкива. Шпиндель ведомого шкива соединен с прецессирующей головкой. В результате обеспечивается повышение жесткости и точности пресса. 4 ил.

Изобретение предназначено для сборки точных узлов приборов запрессовкой тарированным усилием, клепкой и развальцовкой прецессирующим инструментом.
Известна запрессовочная машина согласно патенту Японии №6041073 от 01.08.94 г. В 23 Р 19/02, содержащая стол для установки разнотипных деталей, инструментальную опору с несколькими запрессовочными инструментами, установленными с возможностью перемещения. Опора имеет возможность поворота вокруг оси, параллельной направлению запрессовки. Машина содержит позиционер, фиксирующий основание стола в позиции запрессовки, и обращенный к детали прессовый узел. Прессовый узел может перемещаться вдоль инструментов, а при повороте стола может быть отведен из зоны запрессовки.
Использование известного технического решения позволяет провести сборку с использованием нескольких запрессовочных инструментов, минимизируя затраты, однако клепки и развальцовки прецессирующим инструментом не предусмотрено.
Известен гидравлический пресс ППК01030 корпорации “Энерпред” согласно каталогу “Промышленный гидроинструмент” ЗАО “Корпорация Энерпред”, 2001, стр.29, используемый для запрессовки, выпрессовки, правки и гибки деталей. Пресс имеет П-образную станину, установленные на ней с возможностью переустановки стол и наладочно-подвижный силовой гидроцилиндр.
Недостаток конструкции – пониженные жесткость и точность взаимного положения стола и силового гидроцилиндра из-за наличия зазоров в обоих узлах, клепка и развальцовка прецессирующим инструментом вследствие этого затруднена.
Задачей предлагаемого технического решения является повышение жесткости и точности пресса, обеспечивающее работу прецессирующей головкой.
Технический результат достигается тем, что в прессе, содержащем П-образную станину, установленный на ее стойках переставной стол, фиксируемый на стойках станины штырями, силовой гидроцилиндр с осевым перемещением штока, привод вращения прецессирующей головки от электродвигателя ременной передачей, насосную станцию гидропривода, произведены следующие усовершенствования.
Силовой цилиндр жестко установлен на поперечине П-образной станины и несет на торце подпружиненного штока плиту с двумя разнесенными параллельными оси штока и подпружиненными относительно станины скалками. Шкивы ременной передачи привода вращения установлены в корпусе, закрепленном на плите таким образом, что ведомый шкив размещен на шпинделе соосно штоку гидроцилиндра, а ведущий шкив – на одной оси с валом электродвигателя, закрепленного на поперечине станины, причем ведущий шкив и вал электродвигателя кинематически связаны другим валом, с одной стороны закрепленным на валу электродвигателя, а с другой – связанным скользящей шпонкой с отверстием в опорной оси ведущего шкива. Шпиндель ведомого шкива соединен с прецессирующей головкой.
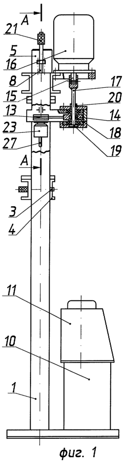
Устройство поясняется чертежами, где на фиг.1 показан общий вид пресса, вид сбоку; на фиг.2 – фронтальный вид на пресс; на фиг.3 – осевой разрез силового гидроцилиндра, привода вращения и прецессирующей головки, разрез А-А на фиг.1; на фиг.4 – осевой разрез привода вращения прецессирующей головки.
На стойках 1 П-образной станины 2 с помощью штырей 3 установлен наладочно-подвижный рабочий стол 4 (фиг.1 и 2). На поперечине станины 2 (фиг.2 и 3) закреплен силовой гидроцилиндр 5, несущий на торце подпружиненного штока 6 плиту 7. Плита 7 вывешена относительно станины 2 подпружиненными скалками 8. Оси скалок 8 параллельны оси штока 6.
Для подачи рабочей жидкости под поршень 9 гидроцилиндра 5 имеется насосная станция 10 с блоком управления прессом 11.
На плите 7 закрепляется корпус 12 (фиг.3 и 4) ременной передачи таким образом, что ведомый шкив 13 соосен штоку 6, а ведущий шкив 14 кинематически связан с валом 15 электродвигателя 16 другим валом 17, с одной стороны закрепленным на валу 15 электродвигателя 16, а с другой стороны несущим скользящую шпонку 18, размещенную в отверстии 19 опорной оси 20. Корпус 12 выполнен разъемным. В нем устанавливается устройство для регулировки натяжения ремней (на чертежах не показано).
На концах скалок 8 установлены гайки 21 для регулировки хода штока 6. Ограничителем максимального хода штока 6 является торец фланца 22. Прецессирующая головка 23 своим коническим хвостовиком 24 устанавливается в посадочном отверстии 25 шпинделя 26. Прецессирующая головка 23 снабжена сменной оправкой 27, установленной под углом к оси головки.
Пресс работает при включенной насосной станции 10 и включенном электродвигателе 16 в полуавтоматическом цикле. При этом вращение от электродвигателя 16 передается через шкивы 14 и 13, хвостовик 24 прецессирующей головки 23 к оправке 27. Согласно циклу обработки осуществляется рабочее перемещение плиты 7 до упора гаек 21 в поперечину станины 2. Осуществляется сборка прессового соединения, головка заклепки оформляется оправкой 27 прецессирующей головки 23. При этом используются приспособления для установки прессуемых деталей на рабочем столе 4 (на чертежах не показано). Переустановку рабочего стола 4 по высоте осуществляют вручную с использованием штырей 3.
При запрессовке соединений типа втулка – вал, не требующих для своего осуществления прецессирующего движения инструмента, вращение электродвигателя 16 отключается с блока управления прессом 11, а вместо прецессирующей головки 23 устанавливается обычная оправка в посадочное конусное отверстие 25 шпинделя 26. Рабочие перемещения осуществляются гидроцилиндром 5 без вращения шпинделя 26.
Преимущества предложенной конструкции в увеличении жесткости и точности за счет уменьшения зазоров соединения поршня 9 и штока 6 с цилиндром 5 путем направления плиты 7 двумя скалками 8. Дополнительным преимуществом является повышение безопасности работы пресса благодаря автоматическому возврату штока 6 в исходное положение тремя пружинами, размещенными на штоке 6 и на обеих скалках 8, при аварийном отключении электропитания.
Формула изобретения
Пресс с прецессирующей головкой, содержащий П-образную станину, установленный на ее стойках переставной стол, фиксируемый на стойках станины штырями, силовой гидроцилиндр с осевым перемещением штока, привод вращения прецессирующей головки, включающий электродвигатель и ременную передачу, насосную станцию гидропривода, отличающийся тем, что силовой гидроцилиндр жестко установлен на поперечине П-образной станины и несет на торце подпружиненного штока плиту с двумя разнесенными параллельными оси штока и подпружиненными относительно станины скалками, шкивы ременной передачи привода вращения установлены в корпусе, закрепленном на плите таким образом, что ведомый шкив размещен на шпинделе соосно штоку гидроцилиндра, а ведущий шкив – на одной оси с валом электродвигателя, закрепленного на поперечине станины, причем ведущий шкив и вал электродвигателя кинематически связаны другим валом, с одной стороны закрепленным на валу электродвигателя, а с другой связанным скользящей шпонкой с отверстием в опорной оси ведущего шкива, а шпиндель ведомого шкива соединен с прецессирующей головкой.
РИСУНКИ
|
|