|
|
(21), (22) Заявка: 2004102568/02, 28.01.2004
(24) Дата начала отсчета срока действия патента:
28.01.2004
(45) Опубликовано: 20.07.2005
(56) Список документов, цитированных в отчете о поиске:
RU 2188729 C1, 09.10.2002. SU 801934 A, 07.02.1981. RU 2110350 C1, 05.10.1998. US 3785191 А, 15.06.1974.
Адрес для переписки:
455002, г. Магнитогорск, ул. Кирова, 93, ОАО “ММК”, Отдел рационализации, изобретательства и патентной работы, В.Г. Кузнецову
|
(72) Автор(ы):
Сеничев Г.С. (RU), Антипанов В.Г. (RU), Белышев А.С. (RU)
(73) Патентообладатель(и):
Открытое акционерное общество “Магнитогорский металлургический комбинат” (RU)
|
(54) ПРИВОД ПРОФИЛЕГИБОЧНОГО СТАНА
(57) Реферат:
Изобретение относится к прокатному производству и может быть использовано при создании профилегибочных станов. Привод содержит двигатель, редуктор, силовое и натяжное зубчатые колеса, пары верхних и нижних опор, в которые установлены на валах звездочки, огибаемые по кривой цепью Галля. Опоры расположены в два параллельных ряда, при этом оси всех пар опор противоположных рядов лежат в разных вертикальных плоскостях, а все звездочки размещены в одной продольной вертикальной плоскости между рядами опор. Снижается стоимость привода и уменьшаются затраты на его эксплуатацию. 2 з.п. ф-лы, 2 ил.

Предлагаемое изобретение относится к прокатному производству и может быть использовано при создании профилегибочных станов, изготавливающих сортовые холодногнутые профили.
В качестве привода профилегибочных станов легкого типа, использующих обычно полосовую заготовку толщиной не более 2 мм и шириной до 150 мм, в последнее время все чаще используется цепной привод, обладающий рядом преимуществ перед “традиционным” приводом (см., например, журнал “Сталь”, №3, 1997, с.42-43), с валом отбора мощности, шестеренными клетями и шпинделями. Цепной привод относительно недорог и может быть изготовлен собственными силами на металлургическом заводе, производящем гнутые профили проката. В состав оборудования цепного привода обязательно входят, кроме двигателя и редуктора, силовое и натяжное зубчатые колеса и звездочки, оси (валы) которых непосредственно соединяются с валами рабочих клетей профилегибочного стана.
Известен привод профилегибочного стана с помощью звездочек, установленных на концах осей валков, и огибающей их бесконечной цепи, у которого верхние и нижние звездочки имеют разный диаметр, а цепь огибает их по S-образной кривой (см. япон. пат. кл. 12 С 221.3, №1832, опубл. 27.01.69 г.). Известен также привод многоклетевого профилегибочного стана, имеющий дополнительные звездочки, диаметр которых меньше диаметра звездочек нижних рабочих валов и которые установлены в определенных межклетевых промежутках (см. пат. РФ №2110350 кл. В 21 Д 5/06, опубл. в БИ №13, 1998 г.).
Недостатком известных цепных приводов является невозможность их использования одновременно для двух профилегибочных станов с разными характеристиками.
Наиболее близким к заявляемому объекту является привод профилегибочного стана по пат. РФ №2188729 кл. В 21 Д 5/06, опубл. в БИ №25, 2002 г.
Этот привод содержит двигатель, редуктор, силовое и натяжное зубчатые колеса, пары верхних и нижних звездочек, огибаемых по S-образной кривой цепью Галля, и характеризуется тем, что звездочки установлены на отдельных валах (осях) и в отдельных от клетей опорах.
Недостатком привода такой конструкции также является его неприменимость одновременно для двух станов, а также относительно большая стоимость.
Действительно, наличие двух опор и валов для каждой пары звездочек, а также соединительных муфт, делают затраты на изготовление такого привода сравнимыми со стоимостью собственно стана, в особенности легкого типа с консольным креплением валков в опорах бестанинных клетей.
Технической задачей настоящего изобретения является снижение стоимости привода профилегибочного стана, преимущественно легкого типа, и уменьшение затрат на его эксплуатацию.
Для решения этой задачи у привода, содержащего двигатель, редуктор, силовое и натяжное зубчатые колеса, пары верхних и нижних опор, в которых установлены на валах звездочки, огибаемые по S-образной кривой цепью Галля, опоры расположены в два параллельных ряда, при этом оси всех пар опор противоположных рядов лежат в разных вертикальных плоскостях, а все звездочки размещены в одной продольной вертикальной плоскости между рядами опор; оси одного ряда опор могут совпадать с серединой расстояния по горизонтали между опорами другого ряда, а верхние и нижние звездочки одного ряда и аналогичные звездочки другого ряда могут выполняться с разными диаметрами.
Сущность заявляемого технического решения состоит в возможности применения привода вышеописанной конструкции одновременно для двух профилегибочных станов, каждый из которых может работать в автономном режиме и профилировать разную по характеристикам полосовую заготовку и, при необходимости, с разными угловыми (и линейными) скоростями.
При этом привод, содержащий один двигатель, один редуктор, по одному силовому и натяжному колесу, а также одну цепь будет стоить дешевле двух приводов и занимать меньшую производственную площадь. Кроме того, за счет уменьшения потерь на трение, мощность двигателя, необходимого данному приводу, будет меньше суммарной мощности приводов двух, отдельно стоящих станов.
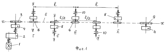
Предлагаемый привод схематично показан на фиг.1 (вид сверху), а схема огибания звездочек цепью – на фиг.2.
Двигатель 1 привода через редуктор 2 приводит во вращение зубчатое силовое колесо 3, установленное в опоре 4. Роликовая цепь Галля 5 огибает колесо 3 и верхние 6 и нижние 7 звездочки привода, каждая из которых установлена в индивидуальной опоре 8. Звездочки огибаются цепью по S-образной кривой. Натяжение цепи 5 регулируется с помощью натяжного зубчатого колеса 9.
Опоры 8 звездочек 6 и 7 расположены в два параллельных относительно продольной оси хх привода ряда, а все звездочки лежат в одной продольной вертикальной плоскости. На концах валов звездочек 6, обращенных к рабочим клетям профилегибочного стана (не показан), установлены муфты 10 (например, электромагнитные), с помощью которых любой валок стана оперативно отсоединяется от привода (при необходимости).
Оси уу всех пар опор 8 лежат в разных вертикальных плоскостях, при этом оси одного ряда опор могут совпадать с серединой расстояния l по горизонтали между опорами другого ряда, а верхние 6 и нижние звездочки 7 – разных диаметров, соответственно D и d (D>d). Кроме того, диаметры D и d звездочек для смежных клетей (I и II, II и III и III и IV) могут отличаться, т.е. звездочки клетей I, III и V иметь одни величины D и d, а звездочки клетей II и IV – другие.
При подготовке привода к работе проверяется натяжение цепи, а также состояние соединения валов звездочек с валками рабочих клетей стана (включены или выключены муфты). Затем запускается двигатель и начинается профилирование либо одновременно на обоих станах, либо только на одном из них и при заданном соотношении приводных и холостых валков рабочих клетей.
Предлагаемый привод намечен к изготовлению и установке в листопрокатном цехе №7 ОАО “Магнитогорский меткомбинат” на сортовых станах легкого типа, профилирующих полосовые заготовки сечением 0,3…1,2×20…100 и 0,5…2,0×40…250 мм2.
Технико-экономические расчеты показали, что стоимость заявляемого привода указанных станов будет меньше стоимости двух приводов известной конструкции (см. выше) на 40…60%, а затраты на его эксплуатацию сократятся не менее, чем на 30%, что позволит снизить себестоимость производимого проката и, соответственно, повысить прибыль от его реализации.
Пример конкретного выполнения
Привод профилегибочного “двойного” стана легкого типа с двумя 12-и клетевыми станами 0,3…1,2×20…100 и 0,5…2,0×40…250 выполнен по схеме, приведенной на фиг.1 и 2. Мощность двигателя – 35 кВт; скорость профилирования стана “0,3…1,2” – 0,5 м/с, стана “0,5…2,0” – 0,6 м/с.
Звездочки станов установлены в опорах, расположенных в два параллельных рядах, причем каждый вал звездочек (верхний и нижний) – в индивидуальной опоре.
Диаметры D всех верхних звездочек больше диаметров d, нижних звездочек в 1,8 раза, причем величины D и d, звездочек стана “0,5…2,0” больше, чем у стана “0,3…1,2” в 1,2 раза.
В качестве приводной цепи выбрана роликовая однорядная цепь Галля с шагом 19,05 мм и допускаемой нагрузкой растяжения 3800 кг (см. “Справочник металлиста” под ред. Н.С.Ачеркана, т.2, М., “Машгиз”, 1958, с.596, табл.36).
На валах привода установлены электромагнитные муфты с силовым замыканием магнитным притяжением (см., например, “Толковый словарь по машиностроению” Б.В.Захарова и др., М., “Русский язык”, 1987, с.131), что позволяет быстро отключать любой валок от привода.
Формула изобретения
1. Привод профилегибочного стана, преимущественно легкого типа, содержащий двигатель, редуктор, силовое и натяжное зубчатые колеса, пары верхних и нижних опор, в которые установлены на валах звездочки, огибаемые по S-образной кривой цепью Галля, отличающийся тем, что опоры расположены в два параллельных ряда, при этом оси всех пар опор противоположных рядов лежат в разных вертикальных плоскостях, а все звездочки размещены в одной продольной вертикальной плоскости между рядами опор.
2. Привод по п.1, отличающийся тем, что оси одного ряда опор совпадают с серединой расстояния по горизонтали между опорами другого ряда.
3. Привод по п.1, отличающийся тем, что верхние и нижние звездочки одного ряда и аналогичные звездочки другого ряда выполнены с разными диаметрами.
РИСУНКИ
|
|