|
|
(21), (22) Заявка: 2004107555/02, 16.03.2004
(24) Дата начала отсчета срока действия патента:
16.03.2004
(45) Опубликовано: 20.07.2005
(56) Список документов, цитированных в отчете о поиске:
SU 262068 A, 01.01.1970. SU 1021492 A, 07.06.1983. FR 2816856 A, 24.05.2002. DE 10236139 A, 26.02.2004.
Адрес для переписки:
109428, Москва, Рязанский пр-т, 8а, ОАО АХК “ВНИИМЕТМАШ”, ИРО, А.И. Шмыреву
|
(72) Автор(ы):
Чекулаев А.В. (RU), Лебедев В.И. (RU), Дресвин А.С. (RU), Овсянников Г.М. (RU)
(73) Патентообладатель(и):
Открытое акционерное общество Акционерная холдинговая компания “Всероссийский научно-исследовательский и проектно-конструкторский институт металлургического машиностроения им. акад. Целикова” (ОАО АХК “ВНИИМЕТМАШ”) (RU)
|
(54) ЛИСТОПРАВИЛЬНЫЙ СТАН
(57) Реферат:
Изобретение относится к прокатному производству. Листоправильный стан содержит опорные валки, расположенные в подушках. У одного из валков подушки связаны с нажимными винтами и их приводами. Стан имеет промежуточные ролики, смонтированные в обоймах, правильные ролики, установленные в подшипниковых опорах. Боковые опорные ролики контактируют с крайними правильными роликами. Имеются также механизмы регулировки положения роликов. Промежуточные ролики в обоймах, правильные ролики, боковые опорные ролики и механизмы регулировки их положения установлены в двух отдельных – верхней и нижней, правильных кассетах, соединенных с подушками соответственно верхнего и нижнего опорных валков. По крайней мере одна из кассет соединена с подушками соответствующего валка шарнирно, а нажимные винты, связанные с этими подушками, не соединены между собой. Промежуточные ролики, смонтированные в обоймах, в кассетах установлены в фиксированном положении и без зазора в направлении движения металла, а правильные ролики установлены в кассетах с зазорами между соседними подшипниковыми опорами. Повышается качество правки и расширяется сортамент листового проката. 3 з.п. ф-лы, 5 ил.

Предлагаемое изобретение относится к прокатному производству, конкретно – к производству листового проката из стали и других металлов, и может быть использовано на предприятиях, производящих листовую металлопродукцию.
Известен принятый за прототип листоправильный стан по а.с. СССР 262068 В 21 D 1/02 от 26.01.70 г., в котором опорные валки, правильные, промежуточные и боковые опорные ролики с механизмами регулировки их положения размещены в подушках, установленных в окнах станины стана. Верхний опорный валок при помощи пружин постоянно прижимается к головкам нажимных винтов с общим приводом, а нижний лежит на основании станины. Правильные ролики монтируются на подшипниковых опорах, которые по ходовой посадке размещены в пазах подушек. Положение боковых опорных роликов относительно правильных роликов регулируется прокладками.
Недостатком устройства-прототипа является то, что общий привод нажимных винтов и размещение правильных роликов в пазах подушек не позволяет устанавливать верхние правильные ролики с перекосом относительно нижних в плоскости, перпендикулярной направлению движения металла, что требуется для правки краевой волнистости; отсутствие зазоров между опорами правильных роликов мешает их самоустановке между соответствующими рядами промежуточных роликов в процессе правки и приводит к неравномерной нагрузке и, следовательно, перегрузке отдельных промежуточных роликов; регулировка положения боковых опорных роликов прокладками трудоемка и не позволяет добиться точной установки этих роликов в требуемое положение.
Задачей предлагаемого изобретения является создание листоправильного стана, позволяющего повысить качество правки и расширить сортамент обрабатываемого листового проката.
Технический эффект решения поставленной задачи – возможность установки верхних правильных роликов с наклоном к нижним правильным роликам, что позволяет исправлять краевую волнистость и другие неравномерные по ширине дефекты планшетности листа; самоустановки правильных роликов между соответствующими рядами промежуточных роликов, что позволяет равномерно распределить нагрузки, возникающие в процессе правки, на промежуточные ролики и повысить нагрузочные способности стана, точной установки крайних правильных роликов.
Постановленная задача с достижением указанного технического эффекта решается тем, что листоправильный стан содержит опорные валки, расположенные в подушках, которые у одного из валков связаны с нажимными винтами и их приводами, промежуточные ролики, смонтированные в обоймах, правильные ролики, установленные в подшипниковых опорах, а также контактирующие с крайними правильными роликами боковые опорные ролики и механизмы регулировки их положения.
Особенностью конструкции листоправильного стана является то, что промежуточные ролики в обоймах, правильные ролики, боковые опорные ролики и механизмы регулировки их положения установлены в двух отдельных, верхней и нижней, правильных кассетах, соединенных с подушками соответственно верхнего и нижнего опорных валков, причем, по крайней мере, одна из этих кассет соединена с подушками соответствующего валка шарнирно, а нажимные винты, связанные с этими подушками, не соединены между собой, при этом промежуточные ролики, смонтированные в обоймах, в кассетах установлены в фиксированном положении и без зазоров в направлении движения металла, а правильные ролики установлены в кассетах с зазорами между соседними подшипниковыми опорами, каждый механизм регулировки положения боковых опорных роликов выполнен в виде толкателей, связанных с осями этих роликов и с помощью пружин поджатых к соответствующим клиньям, причем клинья соединены между собой шпильками с левой и правой резьбой и, кроме того, связаны с одной стороны с регулировочным винтом, а с другой – с резьбовой тягой выборки зазоров, перед правильными роликами со стороны входа металла в нем установлены оппозитные ролики, поджатые друг к другу пружинами, правильные кассеты в нем связаны между собой при помощи выполненных на одной из них направляющих, в которые входит вторая кассета с возможностью перемещения в плоскости, перпендикулярной направлению движения металла.
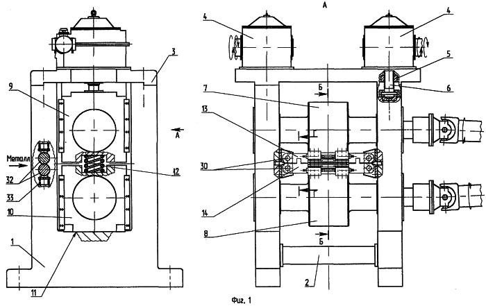
Листоправильный стан по предлагаемому изобретению изображен на чертежах 1…5.
На фиг.1 – схематически изображен общий вид листоправильного стана.
На фиг.2 – схема расположения роликов в стане.
На фиг.3 – механизм регулировки боковых опорных роликов.
На фиг.4 – взаимное расположение кассет.
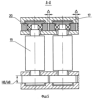
На фиг.5 – установка правильных роликов в кассетах.
Предлагаемый листоправильный стан состоит из двух вертикальных стоек 1 с окнами, соединенных между собой распорной траверсой 2 и верхней рамой 3. На верхней раме установлены приводы, в которые входят редукторы 4 и гайки 5, нажимных винтов 6. Верхний опорный валок 7 и нижний опорный валок 8 размещаются в окнах вертикальных стоек. Подшипниковые опоры верхнего и нижнего опорных валков установлены соответственно в верхних подушках 9 и нижних подушках 10. Нижние подушки с нижним опорным валком лежат на нижней опорной плоскости 11 окон 2-х вертикальных стоек. Верхние подушки с верхним опорным валком при помощи пружин 12 постоянно прижимаются к нажимным винтам. На верхних подушках закреплена верхняя правильная кассета 13 и на нижних подушках – нижняя правильная кассета 14.
Верхняя правильная и нижняя правильная кассеты состоят из промежуточных роликов 15, смонтированных в обоймах 16, установленных в фиксированном положении в корпусе 17 через стержень 18; из правильных роликов 19, установленных в подшипниковых опорах 20, которые размещаются с зазором между собой в пазах корпуса 17 по посадке Н8/е8; из механизмов регулировки положения боковых опорных роликов 21, в состав которых входят толкатели 22, связанные с осями 23 боковых опорных роликов и с помощью пружин 24 поджатые к клиньям 25, 26, причем клинья соединены между собой шпильками 27 с правой и левой резьбой и, кроме того, связаны с одной стороны с регулировочным винтом 28, а с другой стороны – с резьбовой тягой выборки зазоров 29. Верхняя правильная кассета закреплена на верхних подушках, а нижняя правильная кассета – на нижних подушках, шарнирно через оси 30. Верхняя правильная кассета имеет возможность перемещаться по направляющим 31, выполненным на нижней правильной кассете в плоскости, перпендикулярной направлению движения металла.
Перед правильными роликами, со стороны входа металла, установлены оппозитные ролики 32, поджатые друг к другу пружинами 33.
Предлагаемый листоправильный стан работает следующим образом.
Исправляемый листовой металл проходит сначала через оппозитные ролики, затем через правильные ролики, установленные в шахматном порядке, подвергаясь многократному знакопеременному изгибу, что приводит к устранению первоначальной кривизны до нуля на последнем правильном ролике.
Положение правильных роликов, включая крайние, устанавливается заранее с учетом сортамента и механических свойств исправляемого металла.
Привод всех роликов кассет осуществляется от опорных валков посредством трения.
Заявляемый листоправильный стан можно использовать как новый самостоятельный объект, так и встраиваться в существующие двухвалковые прокатные клети.
Формула изобретения
1. Листоправильный стан, содержащий опорные валки, расположенные в подушках, связанные у одного из валков с нажимными винтами и их приводами, промежуточные ролики, смонтированные в обоймах, правильные ролики, установленные в подшипниковых опорах, а также контактирующие с крайними правильными роликами боковые опорные ролики и механизмы регулировки их положения, отличающийся тем, что промежуточные ролики в обоймах, правильные ролики, боковые опорные ролики и механизмы регулировки их положения установлены в двух отдельных – верхней и нижней правильных кассетах, соединенных с подушками, соответственно, верхнего и нижнего опорных валков, причем по крайней мере одна из кассет соединена с подушками соответствующего валка шарнирно, а нажимные винты, связанные с этими подушками, не соединены между собой, при этом промежуточные ролики, смонтированные в обоймах, в кассетах установлены в фиксированном положении и без зазора в направлении движения металла, а правильные ролики установлены в кассетах с зазорами между соседними подшипниковыми опорами.
2. Листоправильный стан по п.1, отличающийся тем, что каждый механизм регулировки положения боковых опорных роликов выполнен в виде толкателей, связанных с осями этих роликов и с помощью пружин, поджатых к соответствующим клиньям, причем клинья соединены между собой шпильками с левой и правой резьбой и, кроме того, связаны с одной стороны с регулировочным винтом, а с другой стороны – с резьбовой тягой выборки зазоров.
3. Листоправильный стан по п.1, отличающийся тем, что перед правильными роликами со стороны входа металла в нем установлены оппозитные ролики, поджатые друг к другу пружинами.
4. Листоправильный стан по п.1, отличающийся тем, что правильные кассеты в нем связаны между собой при помощи выполненных на одной из них направляющих, в которые входит вторая кассета с возможностью перемещения в плоскости, перпендикулярной направлению движения металла.
РИСУНКИ
|
|