|
|
(21), (22) Заявка: 2001129167/03, 28.03.2000
(24) Дата начала отсчета срока действия патента:
28.03.2000
(30) Конвенционный приоритет:
28.03.1999 (пп.17-51) IL 129209 20.01.2000 (пп.1-16) IL 134132 08.02.2000 IL 134444
(43) Дата публикации заявки: 20.08.2003
(45) Опубликовано: 20.07.2005
(56) Список документов, цитированных в отчете о поиске:
US 5232099 A, 03.08.1993. US 5456364 A, 10.10.1995. US 4288320 A, 08.09.1981. US 5301815 A, 12.04.1994. SU 1713677 A1, 23.02.1992. SU 1554991 A2, 07.04.1990.
(85) Дата перевода заявки PCT на национальную фазу:
29.10.2001
(86) Заявка PCT:
IL 00/00192 (28.03.2000)
(87) Публикация PCT:
WO 00/58031 (05.10.2000)
Адрес для переписки:
117296, Москва, а/я 113, Э.П.Песикову
|
(72) Автор(ы):
КРУШ Иона (IL), ОБОДАН Юрий (IL)
(73) Патентообладатель(и):
ВИБТЕК ИНДЖИНИРИНГ ЛТД. (IL)
|
(54) МНОГОЧАСТОТНАЯ ВИБРАЦИОННАЯ СЕПАРАТОРНАЯ СИСТЕМА, ВИБРАЦИОННЫЙ СЕПАРАТОР, СОДЕРЖАЩИЙ ЭТУ СИСТЕМУ, И СПОСОБ ВИБРАЦИОННОЙ СЕПАРАЦИИ ТВЕРДЫХ ЧАСТИЦ
(57) Реферат:
Изобретение относится к методам и аппаратам для разделения материалов вибрационной ситовой сепарацией. Способ сепарации частиц сыпучего материала осуществляют в вибрационном сепараторе, включающем корпус с входным патрубком, первым выходным патрубком для выгрузки подрешетных фракций, вторым выходным патрубком для выгрузки надрешетных фракций, одно или более сит, установленных в корпусе между входным и первым выходным патрубками, подрешетные фракции проходят через сито и выходят из корпуса через первый выходной патрубок, а надрешетные не проходят через одно или более сит и выходят через второй выходной патрубок, источник одночастотного вибрационного возбуждения и, по меньшей мере, одну многочастотную вибрационную адаптерную систему, включающую, по меньшей мере, один интерфейсный аппарат, смонтированный в контакте с ситом, для передачи ему возбуждения, и, по меньшей мере, один многочастотный преобразователь частоты для передачи возбуждения, по меньшей мере, одному интерфейсному аппарату и связанному с ним ситу и предназначенный для создания многочастотного возбуждения будучи подвергнутым одночастотному. Технический результат – создание улучшенного метода и вибрационного сепаратора для разделения тонких и сверхтонких порошков, увеличение производительности сепаратора и улучшение качества конечных продуктов. 3 н. и 48 з.п. ф-лы, 47 ил.

Настоящее изобретение относится к методам и аппаратам для разделения материалов и, более точно, к вибрационной ситовой сепарации твердых частиц до заданного размера из материала, состоящего из частиц различного размера, и включает разделение частиц из сыпучих материалов и пульп.
ОПРЕДЕЛЕНИЯ
Если не будет указано иначе, нижеперечисленные термины, используемые в описании и формуле, должны пониматься следующим образом.
Термин “вибрационный сепаратор” должен пониматься как означающий любой вибрационный сепаратор, грохот, сито или просеиватель, имеющий один или более одночастотных источников возбуждения.
Термин “жесткий” должен пониматься как означающий, что элемент или аппарат, к которому этот термин относится, имеет низшую собственную частоту выше, чем вынуждающая частота системы, в которой этот элемент или аппарат смонтирован.
УРОВЕНЬ ТЕХНИКИ
Многие методы сепарации твердых частиц из сыпучих материалов и пульп основаны на использовании вибрационного сита, по которому материал движется так, что меньшие частицы могут проходить сквозь отверстия, в то время как большие частицы движутся вдоль сита. Сито приводится в движение одним или несколькими вибраторами, которые генерируют вибрации ситовой поверхности с заданной частотой и амплитудой. Эти методы оказываются неэффективными будучи применены к определенным материалам, таким как влажные материалы, тонкие порошки со значительной склонностью к агломерации, порошки с высокой когезией и вообще так называемые “трудные для просеивания” материалы; при этом сита для таких материалов имеют тенденцию к забиванию отверстий.
Известны также методы сепарации, основанные на возбуждении ситовой поверхности двумя или более вибраторами, которые прикладывают одновременно наложенные друг на друга вибрации с различными вынужденными частотами и амплитудами к ситу и, последовательно, к просеиваемому материалу. Эти методы обеспечивают увеличение эффективности грохочения и снижение забивания ситовых отверстий. Такие методы используют устройства, имеющие два или более вибраторов для привода сита, причем один или более вибраторов обеспечивают низкочастотное возбуждение сита с относительно большой амплитудой, в то время как один или более других вибраторов обеспечивают вибрацию с меньшей амплитудой на большей частоте.
Например в патенте США US 5232099 описана просеивающая машина и способ, в котором предлагаются низкоамплитудные вибрации с частотой в диапазоне 1000-7000 виб/мин и с амплитудой в диапазоне 600-1350 об/мин. Высокочастотные вибрации, которые возбуждаются несколькими вибраторами, приложены к ситу непосредственно, в то время как низкочастотные вибрации передаются ситу через корпус. Преимуществом этого метода является относительно небольшой износ сита и увеличенная производительность.
Недостатки включают: необходимость использования нескольких дополнительных вибраторов; концентрацию энергии вибрации, приложенной к ситу, и, следовательно, к материалу внутри узкого диапазона частот. Отсутствие широкого частотного спектра возбуждения мешает требуемой дезинтеграции частиц, составляющих агломераты.
Также известны методы вибросепарации, которые используют двойное частотное возбуждение. Эти методы сочетают использование низкочастотной вибрации, обычно в диапазоне 5-60 Hz с ультразвуковым возбуждением, создаваемым посредством электромеханического преобразователя, питаемого электронным генератором, который обеспечивает синусоидальную высокочастотную вибрацию сита. Такая вибрация обычно имеет частоту, лежащую внутри диапазона 20-50 кГц с малой амплитудой. Ультразвуковая вибрация может быть непрерывной или прерывистой. Например, SONOSCREEN, производимый фирмой Telsonic AG, Bronschhofen, Switzerland – это ультразвуковая просеивающая система для тонких порошковых материалов, которая имеет кольцевые резонаторы для придания ситу микроколебаний. В частности, ситовой сепаратор имеет ситовую сборку, которая содержит ситовую раму и ситовое полотно, которое натянуто на раму и приклеено к ней. Ультразвуковой преобразователь жестко прикреплен к раме внутри ситовой площади. Рама имеет собственную частоту, которая близка к частоте возбуждения ультразвукового генератора. Ситовая сборка фиксируется внутри корпуса сепаратора и, таким образом, обеспечена комбинированная вибрация ситовой рамы на низкой и высокой частотах. Недостатки этой системы включают относительно низкую передачу энергии и неудовлетворительную эффективность деагломерации.
Другой пример ситовой системы, использующий двухчастотное возбуждение, описан в патенте США 5542548. В этом патенте предложена просеивающая система, которая имеет упруго смонтированную раму и низкочастотный вибропривод, присоединенный к раме, протяженное сито, упруго смонтированное на раме, и множество высокочастотных приводов, смонтированных жестко на периферии сита, которые вызывают его вибрацию с частотой в диапазоне от 10000 до 50000 Гц. Сито устроено так, чтобы воспринимать высокочастотные вибрации в пластиноподобной форме. Тонкоячеистые сита могут опираться на поддерживающие сита, грубоячеистые сита или перфорированные пластины, как приклеенные так и неприклеенные.
Различные системы, в общем подобные этой системе, используют ультразвуковой преобразователь, который через шайбу непосредственно закрепляется к центру круглого сита. Одна из таких систем – это Vibrasonic® 2000 Mesh Deblinding System, производимая фирмой Russel Finex Limited, of Russel House, Browells Lane, Feltham, Middlesex TW13 PEW, England.
Еще один тип такой системы представлен Ultrasonic Circular Screen Separator, производимой в Kason Corporation, 67-71 East Willow St., Millburn, Nj 07041-1416, USA. Этот сепаратор использует как низко-, так и высокочастотное возбуждение сита посредством пары ультразвуковых преобразователей, которые действуют на поверхность сита через пару металлических колец. Преобразователи, преобразующие электрический сигнал, поступающий от электронного генератора, прикреплены к опоре на раме сита. Сила прижатия преобразователя и его положение могут быть отрегулированы. Это делает возможным двойное вибровозбуждение ситового полотна обычных сит. Кроме этого, осуществляется возможность низкочастотной вибрации с помощью вибрирующего корпуса посредством соосного с корпусом дебалансного вибромотора и высокочастотной вибрации, непосредственно приложенной к ситовому полотну от ультразвукового вибратора. Фирма Vorti-Siv®, филиал фирмы MM Industries Inc., адрес 36135 Salem Grand Road, P.O.B. 720, Salem, Ohio 44460, выпускает “Ultrasonic Deblinding System”, которая накладывает ультразвуковое высокочастотное возбуждение на низкочастотно возбуждаемую просеивающую систему.
Одним из основных недостатков в описанных двухчастотных просеивающих системах является отсутствие широкочастотного спектра возбуждения, низкий коэффициент передачи механической энергии и, как следствие, низкие показатели процесса.
Также известна очистка сит с помощью ударного воздействия различных ударных средств на ситовый элемент. В патенте США 5301815 раскрыто устройство для грохочения, содержащее вибрирующую раму, к которой присоединен вибрирующий корпус, поддерживающий вибрирующее сито. Ниже сита присоединен набор неподвижных стержней и набор подвижных стержней, каждый из которых держится на двух рычагах, присоединенных по концам гибкими связями. Вибрирующий корпус снабжен первым электрическим мотором в качестве привода, который используется при нормальной работе. Второй мотор, который вращается с меньшей скоростью, служит для очистки сита, при этом подвижные стержни настраиваются в резонанс, так чтобы они ударяли по нижней поверхности вибрирующего сита.
Патент США 4288320 описывает очистку сита виброгрохота с использованием множества упругих нагруженных рычагов. Рычаги сформированы интегрально, так что крепятся с одной или с обеих сторон упруго смонтированной полосы и находятся в непосредственном контакте с нижней поверхностью сита. Вибрационное действие сита вызывает колебательное движение упруго подвешенных рычагов и таким образом создает ударное действие массивных концов рычагов по нижней поверхности сита, в результате освобождая частички материала, застрявшие в отверстиях, и очищая сито. Недостатком этого устройства является интенсивный износ сит и рычагов, вызванный движением этих элементов во время просеивания абразивного материала.
СУЩНОСТЬ ИЗОБРЕТЕНИЯ
Целью настоящего изобретения является создание улучшенного метода разделения тонких и сверхтонких порошковых материалов и вибрационного сепаратора для размерной классификации этих материалов с непрерывной самоочисткой и дезинтеграцией агломератов.
Еще одна цель настоящего изобретения – создать улучшенный вибросепаратор, имеющий увеличенную производительность по сравнению с известными системами для классификации сыпучих материалов и который улучшает качество конечных продуктов, полученных из “трудных” материалов, имеющих тенденцию забивать ячейки вибросита частицами размера, близкого к размерам сита, или материалов, которые забивают ячейки сита влажными и липкими частицами.
Еще одна цель настоящего изобретения – увеличить производительность и качество продуктов, обеспечивая достаточный уровень многочастотного механического возбуждения сита, которое использует пиковые ускорения ситовой поверхности.
Еще одна цель настоящего изобретения – обеспечить эффективный способ разделения и машину, использующие режимы вибрации, которые устойчивы даже под действием значительных флуктуаций подачи сыпучего материала.
Еще одна цель настоящего изобретения – предложить аппарат для преобразования одночастотного вибросепаратора в многочастотный, самоочищающийся сепаратор.
Еще одна цель изобретения – предложить надежный многочастотный преобразователь частоты для вибросепаратора как интегральное устройство, чтобы тем самым упростить его сборку и настройку.
Таким образом предложены в соответствии с предпочтительным исполнением настоящего изобретения одна или более многочастотных вибрационных адаптерных систем для использования с вибросепаратором, который содержит корпус, выполненный с входным патрубком для материала, подлежащего грохочению, первым выходным патрубком для разгрузки подрешетного материала и вторым выходным патрубком для разгрузки надрешетного материала, одно или более сит, поддерживаемых в корпусе между входным и первым выходным патрубком так, что материал, который входит в корпус через входной патрубок, обрабатывается этими одним или более ситами, и в котором подрешетные фракции проходят через одно или больше сит и выходят из корпуса через первый выходной патрубок, в то время как надрешетные фракции не проходят ни одно сито и выходят из корпуса через второй патрубок; и источник одночастотного вибрационного возбуждения для возбуждения сепаратора, чтобы просеивать поступающий сыпучий материал.
Также предложен в соответствии с дополнительным исполнением изобретения вибросепаратор, который содержит:
корпус, сформированный с входным патрубком для материала, подвергаемого грохочению, первым выходным патрубком для разгрузки подрешетного материала и вторым выходным патрубком для разгрузки надрешетного материала;
одно или более сит, поддерживаемых в корпусе между входным патрубком и первым выходным патрубком так, что материал, входящий в корпус через входной патрубок, обрабатывается хотя бы первым из сит, и подрешетные фракции проходят через сита и удаляются из корпуса через первый выходной патрубок, а надрешетные фракции не проходят хотя бы через одно из этих сит и таким образом выходят из корпуса через второй выходной патрубок;
источник одночастотного вибровозбуждения для возбуждения сепаратора с тем, чтобы просеивать поступающий материал; и
многочастотная вибрационная адаптерная система.
В соответствии с настоящим изобретением каждая многочастотная вибрационная адаптерная система связана с наперед заданным одним из одного или более сит и содержит:
один или более интерфейсных аппаратов, смонтированных в контакте, передающем возбуждения, со связанным ситом; и
один или более многочастотных преобразователей частоты, каждый из которых размещен в связи, передающей возбуждение, с отдельным интерфейсным аппаратом и производящий многочастотное возбуждение будучи подвергнут одночастотному возбуждению, тем самым вызывая соответствующее многочастотное возбуждение интерфейсного аппарата и, таким образом, связанного с ним сита.
Дополнительно, в соответствии с предпочтительным исполнением изобретения каждое многочастотное устройство преобразования частоты содержит один или более активирующих элементов для передачи энергии возбуждения к одному или более интерфейсных аппаратов и упругий присоединительный аппарат для присоединения каждого активирующего элемента к поддерживающему элементу;
адаптерная система также содержит аппарат для монтажа поддерживающего элемента в связи с корпусом и один или более упругих буферов, размещенных между одним или более активирующими элементами и одним или более интерфейсными аппаратами, для нелинейного регулирования характеристик многочастотного возбуждения, передаваемого между ними.
Далее, в соответствии с предпочтительным исполнением изобретения аппарат для монтажа поддерживающего элемента содержит упругий монтажный аппарат для монтажа опорного элемента в упруго возбуждаемой связи с корпусом.
Дополнительно, в соответствии с предпочтительным исполнением изобретения упругий присоединительный аппарат характеризуется наличием нелинейной характеристики “сила-перемещение” и действует, чтобы генерировать многочастотное возбуждение будучи подвергнут одночастотному возбуждению так, чтобы обеспечить амплитуду возбуждения, достаточную для того, чтобы один или более из активирующих элементов ударял по одному или более буферам.
Далее, в соответствии с предпочтительным исполнением изобретения упругий присоединительный аппарат содержит пару интегральных упругих опор, каждая из которых имеет первую и вторую упругие втулки, в которых каждая упругая втулка содержит первый и второй элементы, расположенные с возможностью относительного вращения относительно общей оси, и где первые элементы первой и второй упругих втулок соединены друг с другом, первый из вторых элементов подсоединен, хотя бы опосредованно, к поддерживающему элементу, а второй из вторых элементов подсоединен к одному из одного или более активирующих элементов.
Дополнительно, в соответствии с предпочтительным осуществлением изобретения каждый активирующий элемент располагается относительно одного интерфейсного аппарата так, что в положении покоя каждый активирующий элемент находится в бесконтактной связи с интерфейсным аппаратом, а будучи подвергнут возбуждению активирующий элемент повторно ударяет и таким образом вызывает соответствующее многочастотное возбуждение одного или более из интерфейсных аппаратов, таким образом вызывая многочастотное возбуждение связанного с ним сита и сыпучего материала, просеиваемого через указанное сито.
Дополнительно, в соответствии с предпочтительным исполнением изобретения каждый активирующий элемент располагается относительно одного интерфейсного аппарата так, что в положении покоя каждый активирующий элемент находится в контактной связи с интерфейсным аппаратом, а будучи подвергнут возбуждению активирующий элемент повторно ударяет и таким образом вызывает соответствующее многочастотное возбуждение одного или более из интерфейсных аппаратов, таким образом вызывая многочастотное возбуждение связанного с ним сита и сыпучего материала, подвергаемого грохочению на указанном сите.
Дополнительно, в соответствии с предпочтительным исполнением изобретения каждый интерфейсный аппарат сформирован и размещен по отношению к связанному с ним ситу таким образом, что будучи подвергнут многочастотному возбуждению каждый интерфейсный аппарат действует так, чтобы передать многочастотное возбуждение заданному участку сита, через который проходит материал, подвергающийся грохочению.
Далее, в соответствии с предпочтительным исполнением изобретения каждый интерфейсный аппарат сформирован из двух или более элементов, из которых хотя бы один выполнен с возможностью регулирования по отношению хотя бы одного к другому, таким образом регулируя характеристики многочастотного возбуждения связанного с ним сита.
Дополнительно, в соответствии с предпочтительным исполнением изобретения каждый многочастотный преобразователь частоты имеет жесткий кожух, сформированный вокруг него, и каждый интерфейсный аппарат содержит хотя бы часть этого кожуха.
Далее, в соответствии с предпочтительным исполнением изобретения каждый интерфейсный аппарат содержит интерфейсный элемент, размешенный в непосредственном контакте со связанным с ним ситом, и далее содержит промежуточный интерфейсный аппарат для передачи многочастотного возбуждения от корпуса к интерфейсному элементу.
Дополнительно, в соответствии с предпочтительным исполнением изобретения промежуточный интерфейсный аппарат содержит жесткий промежуточный элемент, помещенный между кожухом и интерфейсным элементом.
Далее, в соответствии с предпочтительным исполнением изобретения промежуточный интерфейсный аппарат содержит упругий промежуточный элемент, помещенный между кожухом и интерфейсным элементом.
Дополнительно, в соответствии с предпочтительным исполнением изобретения также предложен аппарат для натяжения любого из одного или более сит.
Далее, в соответствии с предпочтительным исполнением изобретения аппарат для натяжения любого из одного или более сит содержит аппарат для опоры интерфейсного элемента на него.
Дополнительно, в соответствии с предпочтительным исполнением изобретения аппарат для натяжения выполнен с возможностью регулирования.
Далее, в соответствии с предпочтительным исполнением изобретения вибрационный сепаратор также содержит один или более отражающих аппаратов, размещенных внутри корпуса выше верхней поверхности сита и с зазором по отношению к ситу, и хотя бы один отражающий аппарат имеет одно или более питающих отверстий для прохода сыпучего материала к верхней поверхности сита.
Предпочтительно, чтобы такой отражающий аппарат был в форме оболочки с одним или более питающими отверстиями в ней, чтобы периферия оболочки была герметично уплотнена по отношению к периферии соединенного с ней сита, а расстояние по нормали между верхней поверхностью сита и нижней поверхностью оболочки было бы больше, чем относительная амплитуда сита, и меньше, чем половина высоты свободного полета агломерированных частиц над верхней поверхностью сита в том случае, когда отсутствует отражающий аппарат.
Далее, оболочка предпочтительно сформирована как плоская пластина, вообще параллельная плоскости сита, связанного с ней, и верхняя крышка сформирована как отражающий аппарат для разбивания агломератов частиц, ударяющих в нее, и для способствования прохождению малых частиц сквозь сито.
В соответствии с еще одним дальнейшим исполнением изобретения предложен способ разделения больших и меньших частиц друг от друга в вибрационном сепараторе, имеющем:
корпус, выполненный с входным патрубком для грохотимого материала, первый выходной патрубок для разгрузки подрешетного материала и второй выходной патрубок для разгрузки надрешетных частиц, и
одно или больше сит, поддерживаемых в корпусе между входным и первым выходным патрубком так, что материал, который входит в корпус через входной патрубок, обрабатывается этими одним или более ситами, и в котором подрешетные фракции проходят через сито и выходят из корпуса через первый выходной патрубок, в то время как надрешетные фракции не проходят через какое-либо сито и выходят из корпуса через второй патрубок;
в котором способ содержит следующие операции:
введение сепарируемых твердых частиц в корпус через входной патрубок;
приложение к корпусу и, таким образом, к твердым частицам через одно или более сит одночастотной вибрации, чтобы создать виброперемещение частиц вдоль одного или более сит так, что подрешетные фракции проходят сквозь него к первому выходному патрубку, и так, что надрешетные фракции идут вдоль него ко второму выходному патрубку;
преобразование одночастотной вибрации корпуса, возбуждающей одно или более сит, в последовательность механических импульсов, приложенных к интерфейсному аппарату, чтобы тем самым генерировать многочастотную вибрацию сита и, таким образом, масс агломератов, обрабатываемых одним или более ситами, тем самым обеспечить деагломерацию и препятствовать блокированию одного или более сит частицами.
Дополнительно, в соответствии с предпочтительным исполнением изобретения механические импульсы прикладываются односторонне по направлению к одному или более ситам.
Далее, в соответствии с предпочтительным исполнением изобретения механические импульсы приложены односторонне в направлении от одного или более сит.
Дополнительно, в соответствии с предпочтительным исполнением изобретения операция генерирования многочастотного возбуждения содержит операцию генерирования механических импульсов от разных источников с тем, чтобы приложить механические импульсы от них так, чтобы иметь разные фазовые сдвиги по отношению к фазовому углу одночастотной вибрации корпуса.
Далее, в соответствии с исполнением изобретения механические импульсы приложены по направлению к одному или более ситам и направлению от них.
Дополнительно, в соответствии с исполнением изобретения импульсы, действующие по направлению к одному или более ситам, и импульсы, приложенные от них, имеют разные продолжительности.
Далее, в соответствии с исполнением изобретения механические импульсы, действующие по направлению к одному или более ситам, и импульсы, приложенные от них, имеют разные амплитуды.
Дополнительно, в соответствии с исполнением изобретения в операции генерирования механические импульсы приложены под углом к плоскости любого из одного или более сит, где 0< <90 градусов.
Далее, в соответствии с исполнением изобретения операция генерирования многочастотного возбуждения содержит возбуждение разных точек любого из одного или более сит с различными параметрами возбуждения.
В соответствии с еще одним предпочтительным исполнением изобретения, предложен способ сепарации твердых частиц большего и меньшего размеров одних от других, где вибрационный сепаратор дополнительно содержит один или более отражающих аппаратов, как описано выше. Этот способ содержит дополнительную операцию дезинтеграции агломератов частиц благодаря множественным столкновениям их в зазоре между ситом и отражающим аппаратом, связанным с ситом, и обеспечению пульсаций воздушного давления в пространстве между ситовой сборкой и отражающим аппаратом, чтобы таким образом вынудить малые частицы проходить сквозь отверстия сита.
КРАТКОЕ ОПИСАНИЕ ЧЕРТЕЖЕЙ
Настоящее изобретение будет более понятно и оценено из последующего детального описания в сочетании с чертежами, на которых:
Фиг.1 – вид сбоку с частичным вырывом самоочищающегося вибрационного сепаратора, имеющего смонтированную в нем многочастотную адаптерную систему согласно изобретению;
Фиг.2 – вид сверху на сепаратор, показанный на Фиг.1;
Фиг.3А – вид в поперечном сечении сепаратора, приведенного на Фиг.1 и 2, показанного подробно на Фиг.1 и сделанное по линии 3-3 на Фиг.1;
Фиг.3В – увеличенный схематический вид в поперечном сечении сита и интерфейсного аппарата, показанных на Фиг.3А;
Фиг.4А-4С – вид сбоку различных типов упругих присоединительных аппаратов, представляющих часть многочастотных сборок преобразователей частоты, показанных на Фиг.3, и сформированных в соответствии с различными исполнениями изобретений;
Фиг.5 – схематический вид сбоку, аналогичный Фиг.3, но иллюстрирующий многочастотную сборку преобразователя частоты, использующую промежуточный присоединительный аппарат из пар упругих втулок, имеющих взаимно перпендикулярные оси;
Фиг.6 – схематический вид сверху тумблерного сепаратора, имеющего смонтированную в нем многочастотную адаптерную систему согласно настоящему изобретению, где интерфейсные аппараты выполнены в виде набора удлиненных вообще элементов;
Фиг.7А – это увеличенный частичный боковой разрез части ситовой сборки и связанного с ним многочастотного преобразователя частоты из многочастотной вибрационной адаптерной системы, показанной на Фиг.6; разрез сделан вдоль линии 7А-7А, показанной на Фиг.7В;
Фиг.7В – это вид сверху на часть многочастотной адаптерной системы, приведенной на Фиг.7А;
Фиг.8 – это вид сверху на круговой вибрационный сепаратор, имеющий вибрационный мотор, расположенный сбоку, и использующий многочастотную адаптерную систему, выполненную в соответствии с дополнительным исполнением настоящего изобретения;
Фиг.9 – это схематическое поперечное сечение ситовой сборки и пары многочастотных конвертерных сборок, изображенных на Фиг.8;
Фиг.10А – это вид сверху на тумблерный сепаратор, использующий регулируемую многочастотную адаптерную систему, которая сконструирована и действует в соответствии с еще одним дальнейшим исполнением настоящего изобретения;
Фиг.10В – это поперечное сечение сепаратора, показанного на Фиг.10А, взятое по линиям 10В-10В на нем;
Фиг.10С – это схематическое поперечное сечение аппарата, показанного на Фиг.10А, взятое вдоль линии 10С-10С на нем под прямым углом к виду, показанному на Фиг.10В;
Фиг.11А – это поперечное сечение, взятое вдоль линии 11А-11А на Фиг.11В тумблерного вибрационного сепаратора, имеющего соосный вибрационный мотор и использующего многочастотную адаптерную систему, сооруженную и действующую в соответствии с дополнительным исполнением настоящего изобретения;
Фиг.11В – это вид сверху на сепаратор, изображенный на Фиг.11А;
Фиг.12А – это частично разрезанный, увеличенный боковой вид многочастотной конвертерной сборки, входящей в многочастотную адаптерную систему, изображенную на Фиг.11А и Фиг.11В;
Фиг.12В – это увеличенный вид сверху многочастотной конвертерной сборки, изображенной на Фиг.12А;
Фиг.12С – это схематическое частичное поперечное боковое сечение многочастотной конвертерной сборки, видимой на Фиг.12А, включающей, кроме того, буферный элемент, присоединенный к ударяющей поверхности активирующего элемента с зазором по отношению к показанному интерфейсному элементу;
Фиг.12D – это изображение, подобное Фиг.12С, где, однако, футеровочное покрытие присоединено к показанному интерфейсному элементу;
Фиг.13 – это схематический боковой вид интегральной многочастотной адаптерной системы для использования в вибрационном сепараторе; сооруженном и действующем в соответствии с еще одним исполнением настоящего изобретения;
Фиг.14А – это боковое поперечное сечение модификации интегрированной многочастотной адаптерной системы, изображенной на Фиг.13;
Фиг.14B-14D – это различные поперечные сечения многочастотной адаптерной системы, показанной на Фиг.14А, взятые вдоль линий В-В, С-С, и D-D соответственно;
Фиг.14Е – это поперечное сечение еще одного варианта многочастотной адаптерной системы, изображенной на Фиг.13-14D, снабженной эластомерной футеровкой кожуха;
Фиг.15 – это аксонометрическое с частичным вырезом изображение прямоугольного в плане вибрационного сепаратора в соответствии с еще одним исполнением настоящего изобретения;
Фиг.16 – это вид сверху вибрационного сепаратора для грохочения тонких порошков с использованием многочастотной адаптерной системы настоящего изобретения;
Фиг.17А – это схематическое поперечное сечение ситовой сборки тумблерного сепаратора, использующего многочастотную адаптерную систему настоящего изобретения, взятое вдоль линии А-А на Фиг.17В, и созданного в соответствии с еще одним исполнением настоящего изобретения;
Фиг.17В – это вид сверху на ситовую сборку и многочастотную адаптерную систему, изображенную на Фиг.17А;
Фиг.18 – это схематическое увеличенное поперечное сечение части конструкции, имеющей обозначение 18 на Фиг.17А;
Фиг.19А и 19В – поперечное сечение и вид сверху альтернативного типа тумблерного вибрационного сепаратора, имеющего мотор-вибратор, установленный сбоку и использующий многочастотную адаптерную систему, сконструированную в соответствии с еще одним исполнением настоящего изобретения;
Фиг.20 – это поперечное сечение тумблерного вибрационного сепаратора, использующего многочастотную адаптерную систему, выполненную в соответствии с еще одним исполнением настоящего изобретения, которая содержит основной и дополнительный интерфейсные элементы для связи показанной многочастотной конвертерной сборки с интерфейсным элементом;
Фиг.21А – это схематический вид сверху на конструкцию, подобную той, которая показана на Фиг.19А-19В, но имеющую дополнительный интерфейсный элемент и активирующий элемент, причем дополнительный интерфейсный элемент присоединен под углом с возможностью его регулирования к основному интерфейсному элементу;
Фиг.21В – это схематический вид сверху на конструкцию, которая вообще подобна показанной на Фиг.21 А, но использующую интегральный гибкий активирующий элемент;
Фиг.22А, 22В, 22С – это поперечное сечение, вид сверху и увеличенное поперечное сечение детали для еще одного исполнения многочастотной адаптерной системы, использованной в вибрационном сепараторе тумблерного типа и имеющей кольцевой активирующий элемент;
Фиг.23А и 23В – это поперечное сечение и вид сверху на вибрационный сепаратор, использующий один многочастотный преобразователь частоты в соответствии с дальнейшим исполнением изобретения;
Фиг.24А и 24В – вид сверху и увеличенное поперечное сечение тумблерного вибрационного сепаратора, включающего многочастотную адаптерную систему, выполненную в соответствии с еще одним исполнением изобретения;
Фиг.24С – это частично увеличенный вид на интерфейсный поддерживающий элемент, многочастотный преобразователь частоты и промежуточные упругие опоры, видимые на Фиг.24А-В; разрез сделан по линии В-В на Фиг.24В;
Фиг.25 – это схематическое поперечное сечение верхней части вибрационного сепаратора, оборудованного отражающим аппаратом, обозначенным 1890 и выполненным как плоская пластина, установленная параллельно ситовой сборке, в соответствии с еще одним исполнением изобретения.
ПОДРОБНОЕ ОПИСАНИЕ ИЗОБРЕТЕНИЯ
В контексте настоящего изобретения, описываемого здесь, термин “упругий буфер” следует понимать как означающий наличие одной или более упругих деталей, размещенных в контакте или без контакта между двумя твердыми деталями, размещенных таким образом, чтобы позволить повторные перемежающиеся появления и замыкания зазора между ними, позволяя упругие соударения между ними. Такие упругие детали обычно выполняются из резины, полиуретана или других эластомерных материалов. Упругие буферы, описанные таким образом, образуют нелинейные, односторонние или неудерживающие упругие связи.
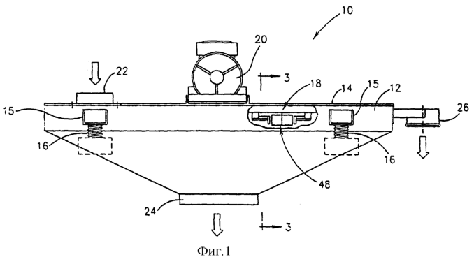
Обращаясь теперь к Фиг.1-3А, рассмотрим показанный там вибрационный сепаратор, обозначенный в общем 10, сконструированный и действующий в соответствии с предпочтительным исполнением изобретения. Настоящее изобретение предназначено, прежде всего, для просеивания порошковых материалов, которые имеют склонность к образованию агломератов, типичный размер частиц 0,1-150 микрон.
Сепаратор 10 содержит корпус 12, имеющий крышку 14, ситовую сборку 18, закрепленную в корпусе 12, и мотор-вибратор или возбудитель 20, смонтированный на крышке 14 корпуса 12. Мотор 20 обычно является любым подходящим мотором-вибратором, имеющим рабочую скорость в диапазоне 750-3000 оборотов в мин. Корпус 12 имеет несколько жестко прикрепленных фланцев 15, через которые он монтируется на любую подходящую опорную поверхность (не показана) и посредством упругих опор 16, таких как подходящие пружины, чтобы обеспечить подходящее возбуждение сепаратора наряду с виброизоляцией опорной поверхности. Можно подразумевать, что альтернативой такого упругого пружинного опирания может быть подвешивание корпуса к подходящей опоре через упругие подвешивающие элементы. Входной патрубок 22 для подачи просеиваемого материала выполнен в крышке 14; первый выходной патрубок 24, расположенный ниже ситовой сборки 18, обеспечен в корпусе 12 для выхода подрешетного материала, проходящего сквозь ситовую сборку; и второй выходной патрубок 26 обеспечен в корпусе 12 обычно противоположно входному патрубку 22 для выгрузки надрешетного материала из сепаратора 10.
Подразумевается, что если рассматривается многочастотный сепаратор, такой как описан ниже в связи с Фиг.15, то может быть несколько вторых выходных патрубков 26, в то же время частицы, прошедшие через сито с наименьшим размером отверстий, выходят через первый выходной патрубок.
В соответствии с настоящим изобретением сепаратор 10, имея один обычный одночастотный источник вибровозбуждения 20, действует как многочастотный сепаратор благодаря монтажу в нем многочастотной вибрационной адаптерной системы, сконструированной и действующей в соответствии с настоящим изобретением. В соответствии с первым исполнением изобретения сепаратор 10 может быть существующим сепаратором, который усовершенствуется путем добавления изобретенной системы. В соответствии с другим альтернативным исполнением изобретения сепаратор 10 может с самого начала быть сконструирован как многочастотный сепаратор. Точная природа адаптерной системы настоящего изобретения будет понята и признана из нижеследующего описания.
Соответственно, обращаясь, в частности, к Фиг.3А, можно видеть, что ситовая сборка 18 содержит ситовый элемент 28 (видный также на Фиг 1.В), который закреплен в корпусе 12 посредством подходящих опорных фланцев 32 и защитной упругой прокладки 30, расположенной между ситовым элементом 28 и опорными фланцами 32, жестко смонтированными на корпусе 12. Ситовый элемент 28 имеет заданный размер отверстий, обычно 600-50 меш, с отверстиями в диапазоне 20-300 микрон.
Обращаясь теперь к Фиг.3В, под ситовым элементом 28 смонтирована многочастотная вибрационная конвертерная система настоящего изобретения. Показанная многочастотная адаптерная система содержит интерфейсный аппарат 29, который использован как часть ситовой сборки 18, так что он размешен в контакте, передающем возмущение, с ситовым элементом 28, и многочастотный конвертерный аппарат 48, схематически показанный на Фиг.1, размещенный так, чтобы передавать возмущение интерфейсному аппарату 29.
Многочастотный конвертерный аппарат 48 сконструирован так, что в присутствии одночастотного возбуждения, обеспечиваемого источником возбуждения 20, он дает на выходе многочастотное выходное возбуждение, которое передается к интерфейсному аппарату 29, который, в свою очередь, передает многочастотное возбуждение к ситовому элементу 28. Изобретателями настоящего изобретения найдено, что многочастотная вибрация очень эффективна как при деагломерации очень тонких порошков, также для предотвращения блокирования силового элемента per se.
Интерфейсный аппарат может быть любой подходящей конструкции, такой чтобы передать ситовому элементу 28 многочастотное возбуждение, произведенное многочастотным конвертерным аппаратом 48. Например, он может быть сформирован как один или более слоев перфорированных листов или, по другому варианту, грубых сеток.
С точки зрения функционального назначения интерфейсного аппарата 29 передавать возбуждающие усилия ситовому элементу 28 при покрытии в настоящем изобретении всей или большей части поверхности интерфейсный аппарат 29 выполнен с отверстиями 31 (см. Фиг.3.В), которые значительно большего размера, чем отверстия в ситовом элементе 28. Относительные размеры интерфейсного аппарата 29, элемента 30 и фланцев 32, масса и изгибная жесткость интерфейсного аппарата 29 задаются так, чтобы к ситовому элементу 28 не прикладывались существенные растягивающие усилия, тем самым обеспечивая ему снижение износа и продление срока службы. Ситовый элемент выполняется из любого подходящего сеточного полотна, включая подходящие плетеные сита из нержавеющей стали, латуни и пр., или из других ситовых материалов, например полимерных, таких как нейлон.
Как видно из Фиг.3А, для того чтобы предотвратить обход материала вне активной области сита, предусмотрена пара упругих уплотняющих элементов 42, каждый из которых уложен в жестких седлах 44, идущих вниз от крышки 14, между крышкой 14 и упругим элементом 30. Просеиваемый материал входит в корпус 12 через входной патрубок 22, который располагается выше ситовой сборки 18; хотя бы один или более многочастотных конвертерных аппаратов 48 располагаются ниже распределяющего интерфейсного аппарата 29.
Как видно из Фиг.3А, каждый многочастотный конвертерный аппарат 48 сформирован из по меньшей мере одного жесткого активирующего элемента 52, подходящим образом размещенного относительно интерфейсного аппарата 29. Когда используется несколько активирующих элементов 52, они располагаются поперек направления потока просеиваемого материала и вдоль интерфейсного аппарата 29 параллельно ему с определенным зазором от него.
Количество многочастотных конвертерных аппаратов 48, форма и размеры активирующих элементов 52 таковы, что активаторы 52 обеспечивают покрытие существенно полной площади ситового элемента 28. Поскольку сами активаторы 52 жесткие, то они подвешены на упругих опорах, обозначенных в общем 54, так, чтобы сделать возможным осуществление заданного многочастотного колебательного движения активаторов 52, когда работает вибрационный мотор 20 (см. Фиг.1 и 2).
Упругие опоры 54 обычно сформированы в виде цепных связей 58а и 58b, таких как пара упругих втулок, соединенных подходящим образом. Каждая связь 58 предпочтительно сформирована из металлической втулки 53, в которой размещено эластомерное ядро 55, из которого выходит жесткая ось 51.
Каждая пара втулок 58а и 58b соединена жестким соединительным элементом 57 в показанном исполнении, каждая пара опор 54 поддерживает активатор 52, который присоединен через нее к корпусу за поддерживающие фланцы 32. Обычно активатор 52 приварен или как-то по-другому жестко соединен через промежуточный соединительный элемент 56 к внешней втулке 53 внутренней связи 58а, в то время как внешние связи 58b приварены или каким-либо другим образом жестко присоединены к жесткой соединительной пластине 38, присоединенной к поддерживающим фланцам 32 с помощью болтов или зафиксированной каким-то другим образом. Подходящий присоединительный элемент, подобный соединительному элементу 57, имеется с обратной стороны опоры 54 (не показан) для того, чтобы обеспечить необходимую механическую прочность.
При пуске одночастотного вибратора 20 один или более многочастотных конвертерных аппаратов возбуждаются переносным движением корпуса 12, и активаторы 52, поддерживаемые на упругих опорах 54, колеблются по отношению к корпусу 12 и ситовой сборке 18. В заданной точке траектории активаторы 52 соударяются с интерфейсным аппаратом при значительной относительной скорости. Поскольку большая часть кинетической энергии активаторов 52 передается таким образом ситовой сборке 18 и ситовому элементу 28, в частности, активаторы 52 обеспечивают самоочистку ситовой сборки 18 и одновременно благодаря виброожижению – деагломерацию просеиваемого материала.
Подразумевается, что изгибная жесткость интерфейсного аппарата 29 выбирается так, чтобы быть достаточной для передачи заданного ударного ускорения в виде многочастотной вибрации ко всем частям ситового элемента 28 и чтобы таким образом предотвратить застревание и блокировку отверстий и обеспечить дезинтеграцию слипшихся агломератов частиц.
Эти преимущества настоящего изобретения обеспечиваются как результат использования связей 58а и 58b, особенно в форме эластомерных втулок в упругих опорах 54, в которых большая энергия деформации генерируется в ограниченном объеме.
Среди преимуществ, найденных авторами в вышеописанной конструкции, опишем следующие:
1. Самоочистка и предотвращение агломерации выполняется непрерывно во время действия сепаратора, чтобы сделать возможной непрерывную работу без необходимой остановки на периодическую очистку.
2. Вышеописанное опирание ситовой сборки обеспечивает свободное монтирование тонкой сетки даже без приложения к ней каких-либо существенных растягивающих усилий, таким образом снижая ее износ и усталостные поломки и, следовательно, обеспечивая увеличенный срок службы между заменами.
3. Очистка и противоагломерационные характеристики сепаратора сохраняются даже при увеличении нагрузки на него со стороны подаваемого материала.
Как упомянуто выше, в соответствии с предпочтительным исполнением изобретения многочастотные конвертерные аппараты 48 располагаются поперек пути следования просеиваемого материала, движущегося от входного патрубка 22 к выходному патрубку 26. В соответствии с альтернативным исполнением изобретения многочастотные конвертерные аппараты могут быть размещены параллельно этому пути или под любым углом к нему.
В соответствии с исполнением настоящего изобретения активатор 52 может быть покрыт подходящей футеровкой (не показана), присоединенной к поверхности активатора 52 со стороны, контактирующей с ситовым элементом 28. Футеровка, которая действует как буферный элемент между активатором 52 и ситовым элементом 28, служит как для защиты ситового элемента, так и в то же самое время для регулирования передаваемого энергетического спектра многочастотного воздействия, для достижения желаемого просеивания и самоочистки. Обычно футеровка делается из износостойкого материала, такого как полиуретан, резина и т.п.
Очевидным для специалистов является то, что в соответствии с альтернативным исполнением изобретения активаторы 52 могут быть заменены частично или полностью жесткой сеткой или грубым ситом. Как дальнейшая альтернатива, активаторы 52 могут иметь упругие или жесткие стержни, прикрепленные упруго к их верхним частям. Предпочтительно, чтобы вся или часть поверхности интерфейсного аппарата 29, который контактирует с активаторами 52, была покрыта подходящей футеровкой из износостойкого материала.
Для просеивания разных типов материалов и в случае, когда интерфейсный аппарат представляет из себя грубую сетку, ее можно натянуть подобно тому, как натягиваются известные сита. В этом случае тонкосеточный ситовой элемент 28 из настоящего изобретения может быть наложен сверху на грубое сито или со слабым натягом, или вообще без натяга.
Упругие втулки, такие как описаны выше, известны в технике. Например, они могут быть типом SilentBlock, которые продает компания Monroe-Clevite Elastomers, of Napoleon, OHIO, USA, или типа MEGI HL Bushes, продаваемые фирмой Phoenix, Hamburg, Germany.
Обращаясь теперь к Фиг.4А-4С, рассмотрим различные альтернативные упругие опоры, конструкции которых могут быть использованы взамен опор 54, показанных и действующих в соответствии с Фиг.3А. Для упрощения, элементы конструкции, имеющие соответствие с элементами, показанными на Фиг ЗА, обозначены подобной нумерацией, но, как необходимо, снабжены дополнительными суффиксами.
Обращаясь сперва к Фиг.4А, показанная упругая опора 54′ имеет пару упругих втулок 58а и 58b, в которых первая втулка 58а имеет первую жестко присоединенную часть 43а с резьбовой частью 41, предназначенной для жесткого крепления на корпусе 12; и вторая втулка 58b, присоединенная к активатору 52 через вторую жестко присоединенную часть 43b. Части 43а и 43b предпочтительно присоединены к внешним элементам 53 упругих втулок 58а и 58b непосредственно с помощью сварки, хотя, как показано и описано выше в связи с Фиг.2, один или более промежуточных элементов (не показаны) могут быть задействованы.
Обратимся теперь к Фиг.4В. Показанные упругие опоры имеют пары упругих втулок 58а и 58b, у которых внешние элементы сформированы как интегральные элементы 53′, неотъемлемо определяющие заданное межцентровое расстояние. Первая ось 51а присоединена к корпусу 12 через первый выступ 43а” и вторая ось 51b присоединена к активатору 52 через второй выступ 43b”. Формирование упругой опоры 54″ в таком виде, как отдельного интегрального узла, упрощает сборку и техническое обслуживание многочастотных конвертерных аппаратов 48.
Обратимся теперь к Фиг.4С. В показанной упругой опоре 54″‘ пара втулок заменена на одиночную втулку 58’, в которой общая эллиптическая гильза 53′” замыкает общее эластомерное ядро 55″‘, через которое проходят оси 51а и 51b. Первая ось 51а присоединена к корпусу 12 через первый выступ 43а’, а вторая ось 51b присоединена к активатору 52 через второй выступ 43b”, тем самым создавая простую и надежную конструкцию резиновой опоры.
На Фиг.5 показан многочастотный конвертерный аппарат 1048, который в общем подобен многочастотному конвертерному аппарату 48, показанному и описанному выше в связи с Фиг.3А, но с определенными изменениями, как показано и описано. Для ясности, элементы и части многочастотного конвертерного аппарата 1048, имеющего соответствующие элементы и части, показанные и описанные выше в связи с Фиг.3А, обозначены подобными номерами, однако с добавлением приставки “10”, и они не описаны здесь заново отдельно.
В настоящем исполнении активатор 1052 присоединен к корпусу 1012 посредством двух упругих опор 1054, каждая из которых выполнена в виде цепной связи, в которой первая и вторая пары упругих втулок, обозначенные соответственно 1059′ и 1059″, жестко соединены друг с другом.
Каждая из первой и второй пар 1059′ и 1059″ имеет пару внутренних и внешних эластомерных втулок 1058′ и 1058″ соответственно. Параллельные оси 1071 проходят сквозь внутренние втулки 1058′, в то время как оси 1072а и 1072b, перпендикулярные осям 1071, проходят сквозь внешние втулки 1058″. Каждая пара внутренних втулок 1058′ соединена друг с другом через оси 1071 посредством жесткого соединительного элемента 1057.
Внешние втулки 1058″ соединены соответствующими первой и второй осями 1072а и 1072b с активатором 1052 и корпусом 1012 следующим образом: первые оси 1072а присоединены к активатору 1052 посредством подходящей жесткой пластинчатой конструкции, обозначенной 1073; а вторые оси 1072b присоединены к корпусу с помощью пары фланцев 1038, Внутренние гильзы эластомерных втулок 1058′” пар 1059″ подсоединены к активатору 1052.
Установка вторых осей 1072а и 1072b поперечно и предпочтительно под прямыми углами, как показано, по отношению к первым осям 1071 обеспечивает значительное двумерное, то есть в двух взаимно ортогональных направлениях, динамическое усиление колебаний активатора 1052 с тем, чтобы увеличить скорость просеивания материала.
На Фиг.6 показан вибрационный тумблерный сепаратор, обозначенный 110 и сконструированный в соответствии с еще одним альтернативным исполнением изобретения. Отметим, что части и элементы сепаратора 110, которые имеют подобные соответствующие части и элементы в сепараторе 10, показанном на Фиг.1-3В и описанном выше, могут быть обозначены подобными числовыми позициями, но с добавлением приставки “1”, но особо не описаны здесь снова.
Сепаратор 110 содержит ситовую сборку, схематически представленную в виде ситового элемента 128 на Фиг.7А, и набор радиально направленных многочастотных конвертерных аппаратов, обозначенных 148, размешенных внутри цилиндрического, в общем, корпуса 112. Многочастотные конвертерные аппараты 148, показанные на Фиг.7А и 7В и описанные ниже подробно, могут быть сформированы либо в качестве интегральной части сепаратора, сконструированного в соответствии с настоящим изобретением, либо альтернативно могут быть использованы, чтобы усовершенствовать существующий обычный сепаратор.
Как показано на Фиг.7А, ситовая сборка 118 содержит ситовый элемент 128, который располагается выше и поддерживается интерфейсным аппаратом 129. Обращаясь к Фиг.7А и 7В, находим, что каждый многочастотный конвертерный аппарат 148 состоит из жесткого активатора 152 и нелинейного упругого присоединительного аппарата, сформированного из упругих опор 154. Упругие опоры 154 в целом такие же, как вышеописанные упругие опоры 54, показанные на Фиг.3А, поэтому мы не даем здесь опять их отдельного детального описания.
Активатор 152 имеет первый и второй соединительные элементы 156′ и 156″, через которые соответствующие концевые соединители 143′ и 143″ (см. Фиг.7А) присоединяют активатор 152 к упругой опоре 154. Промежуточный опорный элемент 138 служит для соединения внешней гильзы 153 эластомерной втулки 158а к корпусу 112 через жесткий опорный фланец 132, который, как видно из Фиг.6, предпочтительно имеет замкнутую многоугольную форму. Активаторы 152 предпочтительно располагаются параллельно ситовой сборке 118. Действие многочастотного конвертерного аппарата 148, в общем, такое же, как описано выше в пояснении Фиг.1-3А, и поэтому не описывается здесь особо.
На Фиг.8 и 9 показан вибрационный сепаратор, обозначенный 210, сконструированный в соответствии с дополнительным исполнением настоящего изобретения. Заметим, что части и элементы сепаратора 210, которые имеют подобные соответствующие части и элементы сепаратора 10, показанные и описанные на Фиг.1-3В выше, могут быть обозначены подобными числовыми позициями, однако с добавлением приставки “2”. Эти части и элементы не будут описаны ниже заново.
Сепаратор 210 имеет цилиндрический корпус 212 и задействует многочастотную адаптерную сборку 264 (Фиг.9), которая имеет пару многочастотных конвертерных аппаратов, обозначенных 248’ и 248″. Аппараты 248’ и 248″ приводят в движение соответственно жесткие активаторы 252’ и 252″ эллиптической замкнутой формы, жестко соединенные между собой посредством существенно жесткой рамы, обозначенной 263 (Фиг.9), которая содержит элементы 261′, 262 и 261″.
Одночастотный мотор-вибратор 220 смонтирован сбоку по отношению к корпусу 212. При пуске мотора 220 рама 263 подвергается поворотным колебаниям относительно корпуса 212 так, чтобы заставить активаторы 252′ и 252″ ударять по поддерживающему ситовому элементу 229 ситовой сборки 218 попеременно. Рама 263 имеет заданный эксцентриситет, который создает переменный вибрационный момент, тем самым снабжая активаторы 252′ и 252″ значительной кинетической энергией. Эта энергия далее передается ситовой сборке 218, чтобы обеспечить требуемую самоочистку сита и деагломерацию материала, проходящего через него.
На Фиг.10А-10С показан тумблерный вибрационный сепаратор, обозначенный, в целом, 310, содержащий многочастотную адаптерную систему, обозначенную, в целом, 364, сконструированную в соответствии с еще одним альтернативным исполнением изобретения. Адаптерная система 364 может быть использована для усовершенствования существующего тумблерного сепаратора, имеющего одночастотный возбудитель. Альтернативно, сепаратор 310 может быть выполнен с самого начала как многочастотный, включающий систему 364. Заметим, что части и элементы сепаратора 310, которые имеют подобные соответствующие части и элементы сепаратора 10, показанные и описанные на Фиг.1-3В выше, могут быть обозначены подобными числовыми позициями, но с добавлением приставки “3” и не будут специально описаны ниже заново.
Показано, что система 364 содержит ситовую сборку 318, имеющую ситовый элемент 328, интерфейсный аппарат 329 и один или более многочастотных конвертерных аппаратов, обозначенных в целом 348, присоединенных к корпусу 312. Интерфейсный аппарат 329 присоединен к корпусу 312 с помощью периферийного упругого элемента (не показан). Эти элементы подобны элементам, показанным на Фиг.1-3 и описанным там же и поэтому не показаны в деталях и не описаны здесь заново.
Показанный многочастотный конвертерный аппарат 348 сформирован из жесткого активатора 352 в виде обруча, имеющего два соединительных элемента 356 для жесткого прикрепления к нему упругих опор 354 с помощью U-образных болтов (стремянок) 339 (см. Фиг.10А и 10С). Поддерживающий элемент 338 (Фиг.10С) крепит внешние гильзы (см. Фиг.3А, поз. 53) эластомерных втулок 358 к элементу корпуса 312 через жесткую опору 332 и U-болты 339. Удобное расслабление и фиксация описанных U-болтовых соединений позволяет регулировку наклона эластомерных втулок 358 по отношению к плоскости активатора 352 и интерфейсного аппарата 329. Угол наклона втулок 358, обозначенный на Фиг.10В, выбирается в диапазоне 0-90°. Соответственно, возбуждение корпуса 312 и опорного элемента 332, которое, как описано выше, параллельно ситовому элементу 328, преобразуется в наклонное вибрационное движение активатора 352 относительно ситовой сборки 318. Подразумевается, что исполнение, показанное на Фиг.10А-10С и описанное выше, реализует способ сепарации, который использует последовательность ударных импульсов, направленных под острым углом к ситовой поверхности, упрощая таким образом извлечение частиц, застрявших в отверстиях сита. Разумеется, также, что конструкция, показанная на Фиг.10А-10С и описанная выше, является частным случаем, приведенным в целях примера, и что настоящее изобретение содержит любую конструкцию, позволяющую выполнять сепарацию в соответствии с вышеописанным способом.
Обращаясь теперь к Фиг.11А и 11В, рассмотрим показанный там тумблерный вибрационный сепаратор, обозначенный в целом 410, сконструированный и действующий в соответствии с дополнительным исполнением настоящего изобретения. Так же, как и вышеописанные сепараторы, сепаратор 410 может иметь адаптерную систему, сформированную интегрально с ним или, альтернативно, это может быть существующий сепаратор, который усовершенствован путем использования адаптерной системы согласно изобретению.
Адаптерная система настоящего изобретения содержит, таким образом, в сопряжении с ситовой сборкой 418 интерфейсный аппарат 429 и набор многочастотных конвертерных аппаратов 448, смонтированных в корпусе 412 с помощью поддерживающих элементов 432. Эти узлы подобны, в общем, аналогичным узлам, показанным на Фиг.1-7В и описанным выше; поэтому они не показаны в чертежах детально и не описаны заново здесь. Детали, имеющие аналогичные соответствующие детали на любом из ранее упомянутых чертежей, обозначены подобными числовыми позициями, но с добавлением приставки “4”.
На Фиг.12А и 12В показано, что в исполнении, показанном на Фиг.11А и 11В и описанном выше, каждый многочастотный конвертерный аппарат 448 имеет жесткий активатор, обозначенный в целом 452 и упругий опорный аппарат, обозначенный в целом 454.
Как видно из Фиг.12В, жесткий активатор 452 имеет первый и второй активирующие элементы, обозначенные соответственно 452’ и 452″, которые соединены надлежащим образом посредством болтовых соединений с осями 455′ эластомерных втулок 458′, чтобы зафиксировать элементы активатора в заданном взаимном положении. Внешние гильзы 453′ и 453″ эластомерных втулок 458′ и 458″ соединены друг с другом любым подходящим образом, например сваркой, так, чтобы иметь заданное межосевое расстояние. Набор поддерживающих элементов 438′, 438″, 438″‘ и 438″” используется для присоединения многочастотного конвертерного аппарата 448 к корпусу 412 (Фиг.11 А и 11В). Элементы 438′ и 438″ присоединены к осям 455’ посредством болтовых соединений 443″ и элементы 438′” и 438″” смонтированы подобным образом.
Обратимся теперь опять к Фиг.11 А и 11 В. Жесткие активаторы 452 обычно размещаются параллельно ситовой сборке 418, так, чтобы ударять по распределительной опорной сборке при работе сепаратора, и, таким образом, производить многочастотное возбуждение ситового элемента. Действие многочастотных конвертерных аппаратов 448, в общем, такое же. как описано выше в связи с исполнениями, показанными на Фиг.1-7В, и поэтому не описано здесь особо.
Обратимся теперь к Фиг.12С, на которой видно, что в соответствии с этим исполнением настоящего изобретения буферный элемент или футеровка 461, выполненная из износостойкого материала (полиуретан, резина и т.п.), присоединены к жесткому активатору 452 так, чтобы обеспечить заданный зазор между контактной поверхностью 462 активатора 452 и ударяемой поверхностью 429′ интерфейсного аппарата 429. Толщина и параметры материала футеровки 461 и зазор являются заданными с тем, чтобы обеспечить заданную длительность импульсов и требуемую спектральную плотность многочастотной вибрации ситового элемента 428. Предпочтительно, чтобы зазор можно было регулировать посредством ввода шайб между опорными элементами 438 и связанными с ними элементами корпуса (не показаны).
Обратимся теперь к Фиг.12D в соответствии с еще одним исполнением. Буферный элемент или футерующее покрытие 471, как показано, установлено на ударной поверхности 429′ поддерживающего элемента 429, который поддерживает ситовый элемент 428. Футерующее покрытие 471 подобно футеровке 461 (см. Фиг.12С). Толщина и параметры материала футеровки 471 и зазор ‘ заданы таким образом, чтобы обеспечить заданную продолжительность и спектральную плотность ударов, чтобы получить эффективную систему с непрерывной самоочисткой ситового элемента 128. Если на грубом сите просеивается порошковый материал, склонный к агломерации, футеровочное покрытие 471 может быть непосредственно присоединено к нижней поверхности грубого сита. В этом случае футеровочный элемент 471 распределяет ударные нагрузки, приложенные активаторами 452, и в то же время механически защищает ситовый элемент 428.
Обращаясь теперь к Фиг.13, рассмотрим показанную там интегральную многочастотную адаптерную систему, обозначенную в целом 2470 и сконструированную в соответствии с еще одним альтернативным исполнением изобретения. Как и вышеописанные исполнения изобретения, система 2470 может быть выполнена интегрально с многочастотным вибросепаратором в соответствии с еще одним исполнением изобретения или же она может быть использована для усовершенствования существующего вибросепаратора в соответствии с альтернативным исполнением изобретения.
Система 2470 содержит интегральную многочастотную конвертерную сборку, обозначенную в целом 2448, которая подобна сборке 448, показанной на Фиг.12А-12В и описанной выше в пояснение к ним. Имеется в виду, что многочастотная конвертерная сборка 2448 является, по существу, такой же сборкой 448, показанной на Фиг.12В; на Фиг.13 показан боковой вид сборки, изображенной на Фиг.12В, как видно, в направлении, указанном стрелкой 13.
Однако в настоящем исполнении интерфейсный аппарат 2429 выполнен в виде кожуха 2429а, который огораживает сборку 2448 плоского в целом поддерживающего элемента 2429b, помещенного рядом и снизу ситового элемента 2428 и промежуточного ребра 2429с, которое жестко соединяет поддерживающий элемент 2429b и кожух 2429а. В свою очередь, кожух 2429а присоединен к элементу корпуса (не показан) через соединительную плиту 2481.
На внутренних поверхностях кожуха 2429а размещена пара нижних буферных элементов-подушек 2473′ и 2473″ и пара верхних буферных элементов 2474′ и 2474″, причем нижние и верхние подушки 2473′ и 2474′ размещены так, чтобы воспринимать удары активирующего элемента 2452′, а нижние и верхние подушки 2473″ и 2474″, чтобы воспринимать удары от активирующего элемента 2452″.
Соответствующие заданные верхний и нижний зазоры и обеспечиваются между верхними подушками 2474′ и 2474″, нижними подушками 2473′ и 2473″ и соответствующими ударными поверхностями 2452’а и 2452″а и 2452’b и 2452″b элементов активатора 2452′ и 2452″. Подразумевается, что зазоры и могут быть установлены в процессе сборки в соответствии с заданной спектральной плотностью. В то время как кожух 2429а служит как элемент интерфейсного аппарата, только верхняя часть его, обозначенная 2477′, может быть выполнена с требуемой жесткостью для того, чтобы надлежащим образом передавать возбуждения от многочастотного конвертерного аппарата. В то же время боковая часть кожуха, обозначенная 2477″, может быть менее жесткой и более эластичной, чтобы существенно исполнять роль упругих связей между интерфейсным аппаратом и соединительной пластиной 2481.
Материал, форма и другие параметры поддерживающих элементов 2481 выбираются так, чтобы надлежащим образом передать возбуждение от корпуса сепаратора (не показан) к многочастотной конвертерной сборке 2448, но также и с таким расчетом, чтобы уменьшить передачу высокочастотных ускорений от сборки 2448 на корпус сепаратора, которые, в противном случае, могут вызвать усталость металла корпуса.
Особые преимущества многочастотной конвертерной сборки 2448, как показано и описано выше, состоит в том, что она может быть произведена как полностью самостоятельный готовый продукт, в котором зазоры также установлены предварительно, чтобы дать возможность относительно быстрой и удобной установки ее на существующем вибросепараторе.
Когда вибросепаратор приводят в действие, кожух 2429а интегральной многочастотной конвертерной сборки 2448 возбуждается благодаря вибрации корпуса сепаратора (не показан) через поддерживающий элемент 2481. Поэтому элементы активатора 2452′ и 2452″ колеблются в режиме “динамического усиления” или “околорезонансного усиления” на упругих опорах относительно кожуха 2429а так, что жесткие элементы активатора 2452′ и 2452″ ударяют по внутренним поверхностям кожуха 2429а через подушки упругих буферов 2473′, 2473″. 2474′ и 2474″. Односторонние или двусторонние механические ударные импульсы передаются кожуху 2429а и промежуточному элементу 2429 с интерфейсного аппарата, который прижат к нижней поверхности 2429b ситовой сборки, передавая ей таким образом заданную многочастотную вибрацию с тем, чтобы предотвратить забивание сита 2428 и обеспечить эффективное просеивание “трудных” материалов.
Обратимся теперь к Фиг.14A-14D, где показана иная альтернативная конструкция интегральной многочастотной конвертерной сборки или преобразователя частоты, обозначенного в целом 3448 и выполненного в герметически уплотненной коробке. Многочастотная конвертерная сборка 3448 имеет кожух 3429а, который окружает жесткий активатор, обозначенный в целом 3452, и упругие опорные устройства, обозначенные в целом 3454. Для того чтобы предотвратить попадание пыли и порошка внутрь кожуха 3429а, он герметически закрыт боковыми крышками, которые крепятся резьбовыми соединениями 3479 и 3487. Кожух 3429а имеет резьбовой элемент 3429с для присоединения к опоре (не показана), которая может быть любым подходящим интерфейсным элементом, как показано и описано вообще в связи с Фиг.13 или как будет показано и описано далее в связи с Фиг.15-22D.
Жесткий активатор 3452 имеет призматическую форму и состоит из верхнего элемента 3452′, нижнего элемента 3452″, боковых элементов 3452′” и 3452″” и дополнительного груза 3486. Элементы активатора 3452′-3452″” и дополнительный груз 3486 соединены вместе путем сжатия болтовыми соединениями 3485 и 3443′.
Упругий опорный аппарат 3454 предпочтительно содержит две пары эластомерных втулок 3458′ и 3458″ (см. Фиг.14В и 14D), имеющих соединенные между собой внешние гильзы 3453′ и 3453″. Упругие втулки 3458′ также имеют внутренние оси 3455′, которые присоединены к кожуху 3429а посредством сжимающего болтового соединения 3443′. Внутренние гильзы 3455′ упругих втулок 3458″ присоединены к боковым элементам 3452′” и 3452″” посредством сжимающих болтовых соединений 3443″. Защитная эластомерная буферная пластина связана с верхним элементом 3452′ активатора. Аналогично, износостойкая эластомерная буферная пластина 3462 имеется на нижней поверхности дополнительного груза 3486. Имеется в виду, что в описанной конструкции, которая симметрична относительно продольной оси L резьбового элемента 3478, эта ось также служит как линия передачи силы. Взаимодействие различных элементов описанного аппарата в основном такое же, как в изображенном на Фиг.13, и поэтому здесь не описывается снова. Действие буферных пластин 3461 и 3462 в основном такое же, как в исполнении, описанном выше в связи с Фиг.1-3В, и поэтому не описывается здесь опять.
В том случае, когда многочастотный конвертерный аппарат используется при значительных переносных боковых вибрациях, что характерно, например, для тумблерных сепараторов, может быть использовано дополнительное боковое ударное возбуждение для усиления сепарации частиц, если использовать упругое относительное поперечное движение жесткого активатора 3452 относительно кожуха 3477. Необходимые фазовые соотношения могут быть получены путем задания боковых зазоров 3 и 4, которые видны на Фиг.14В, и параметров защитных эластомерных пластин между жестким активатором 3452 и внутренней поверхностью кожуха 3477.
Обратимся теперь к Фиг.14Е. Там показано еще одно альтернативное исполнение интегрального многочастотного преобразователя частоты, обозначенного в целом 3448′. Преобразователь частоты 3448′ подобен преобразователю частоты 3448, показанному на Фиг.14A-14D и описанному в пояснении к ним, за исключением добавки: нижней эластомерной футеровки или буферной подушки 3473 между нижней частью 3452″ активатора и кожухом 3429а и верхней эластомерной футеровки или буферной подушки 3474 между верхней частью 3452′ активатора и кожухом 3429а. Как видно, обе пластины размещаются в контактных зонах между активатором 3452 и кожухом 3429а, определяя верхний и нижний зазоры, обозначенные 3492 и 3493. Пластины 3473 и 3474 прикреплены к кожуху 3429а фиксаторами 3475. Альтернативно, пластины 3473 и 3474 могут быть просто вложены между различными элементами активатора и кожухом 3429а так, что они “плавают”, что лучше, чем если они закреплены. Действие преобразователями частоты 3448 подобно тому, который описан выше в связи с Фиг.13 и 14A-D, и поэтому оно не описывается здесь опять.
Обратимся теперь к Фиг.15. Здесь показан в соответствии с дальнейшим альтернативным исполнением изобретения многодечный виброситовый сепаратор, обозначенный в целом 510, особенно эффективный для контрольного грохочения трудных материалов, которые могут быть липкими, влажными и т.п. Мы видим, что сепаратор 510 имеет несколько дек, каждая из них с прямоугольным ситовым элементом. Сепаратор приводится дебалансным вибратором (не показан). Более подробно, сепаратор 510 содержит ситовые элементы (из которых только один показан), которые возбуждаются в комбинированном режиме вибрации. В каждой деке ситовый элемент 528 натянут вдоль направляющих 532, жестко присоединенных к боковинам 512′ и 512″, которые жестко соединены поперечными балками 512′” (видными в разрезе на Фиг.15). Ситовый элемент натягивается натяжителями 533′ и 533″. Такое устройство хорошо известно и функционирует как одночастотный вибрационный сепаратор-грохот.
В соответствии с исполнением настоящего изобретения несколько многочастотных преобразователей частоты 3448 присоединены к балочным распределительным сборкам, связанным с каждой декой и функционирующим, как интерфейсное устройство 529. Многочастотные преобразователи частоты 3448 такие же, как показаны и описаны выше в связи с Фиг.14А-14Е, и поэтому не описаны здесь подробно опять. Интерфейсные устройства 529 упруго соединены с боковинами 512′ и 512″ упругими элементами 581′ и 581″, которые служат для того, чтобы смонтировать балочные элементы 539′ и 539″, имеющие футеровочные элементы 590, поджатые к нижней поверхности ситовых элементов 528. Футеровочные элементы 590 могут быть выполнены любым подходящим образом. Обычно их делают из профилированного эластомера, лучше всего полиуретана и т.п.
Упругие элементы 581′ и 581″ могут быть любого подходящего типа, который допускает, чтобы интерфейсные устройства 529 получали достаточное возбуждение и который изолирует корпус 512 от нежелательных вибраций. В частности, упругие элементы 581′ и 581″ могут быть выполнены как подходящие металлические или композитные листовые пружины, резиновые или резинометаллические опоры, эластомерные втулки и т. п.
Когда сепаратор 510 приводят в действие, каждый силовой элемент 528 вибрирует. Одночастотная компонента передается через края каждого ситового элемента 528 от вибратора на его вынуждающей частоте, обычно между 15 и 30 Гц. Эта вибрация передается ситовому элементу 528 через вибрирующий корпус 512, ситовые направляющие 532 и натяжные элементы 533′ и 533″. Многочастотные вибрации генерируются многочастотными конвертерными аппаратами 3448, в основном, как описано выше в связи с Фиг.14А-14Е. Предпочтительно, чтобы каждая комбинация ситового элемента 528, конвертерного аппарата и интерфейсного аппарата могла иметь параметры возбуждения, отличные от одной или более других комбинаций дек.
Каждый многочастотный преобразователь частоты 3448 подвергнут переносному колебательному движению корпуса 512 и передает многочастотные вибрации нижней поверхности ситовых элементов 528 через балочные элементы 539′ и 539″ и футеровочные элементы 590 интерфейсных устройств 529. Параметры упругих элементов 581′ и 581″, интерфейсных устройств 529, многочастотных конвертерных устройств 3448, амплитуда и частота вибровозбуждения корпуса 512 выбираются так, чтобы обеспечить оптимальную вибросепарацию “трудных” материалов. Это, в частности, пригодно для грохотов тяжелого типа, предназначенных для влажных и липких материалов, таких как гравий, песок и глина, поскольку такой грохот имеет большую производительность и с использованием настоящего изобретения предотвращается залипание ситовых элементов.
Обратимся теперь к Фиг.16. Здесь показан схематический вид сверху на вибросепаратор, обозначенный в целом 610, для просеивания тонких порошков, задействующий многочастотную адаптерную систему настоящего изобретения. Кольцевидный элемент корпуса 612 имеет жестко присоединенные к нему несколько первых опорных кронштейнов 635, которые поддерживают опорную раму 632, и несколько вторых опорных кронштейнов 636. Упругие опорные элементы 681 вставлены между каждым вторым кронштейном и балочными элементами 632′, формирующими опорную раму 632. К каждому из упругих опорных элементов 681 присоединены по одному многочастотному преобразователю частоты, такому как показан и описан в связи с Фиг.14А-14Е. В настоящем исполнении интерфейсный аппарат представляет из себя кольцевой интерфейсный элемент 629, присоединенный к упругим опорным элементам 681 через несколько соединительных элементов 640.
Интерфейсный элемент 629 обычно покрывают эластомерной футеровкой (не показана) на его верхней кромке, которая касается ситовой сборки (не показана) и находится в контакте с ее нижней поверхностью. В соответствии с одним из примеров осуществления изобретения интерфейсный элемент 629 может быть приклеен к ситовому элементу (не показан) каким-либо подходящим клеем. Упругие опорные элементы 681 имеют заданные изгибную и осевую жесткости, такие которые в ответ на одночастотное возбуждение передают его устройствам 3448. Многочастотные преобразователи частоты 3448 также служат для соединения опорных элементов 681 к кольцевому интерфейсному элементу 629. Поскольку элемент 629 удерживается в контакте с ситовым элементом (не показан), то многочастотное возбуждение передается прямо к нему и от него к просеиваемому материалу.
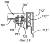
Обратимся теперь к Фиг.17А и 17В. Там показан тумблерный вибросепаратор, в целом обозначенный 710, сооруженный в соответствии с дальнейшим исполнением изобретения. Показанный сепаратор содержит сочетание ситовой сборки 718, пару многочастотных преобразователей частоты 3448 (таких, какие показаны и описаны выше в связи с Фиг.14А-14Е) и интерфейсного аппарата 729. Все эти элементы собраны в цилиндрическом корпусе 712.
Как видно из Фиг.18, единый упругий опорный элемент 781, установленный по диаметру снизу ситовой сборки 718, поддерживается промежуточным рамным элементом 712′”, размещенным между верхним элементом корпуса 712″ и нижним элементом 712″‘. Упругий опорный элемент 781 опирается на промежуточную раму 712″‘ посредством опорных кронштейнов через подходящие жесткие, обычно болтовые или сварные соединения. Предпочтительный тип соединений описан детально ниже в связи с Фиг.18.
Многочастотный преобразователь частоты 3448 и интерфейсный аппарат, примененный здесь, как и в исполнении Фиг.16, в виде кольцевого интерфейсного элемента 729, оба прикреплены к упругому опорному элементу 781, который работает как листовая пружина. Термин “листовая пружина” применен, чтобы обозначить элемент, который в нормальных условиях испытывает упругое возбуждение. Кольцо 729 монтируется в поджатом состоянии к ситовому элементу 728. Два многочастотных преобразователя частоты 3448 размещены диаметрально противоположно, причем каждый получает одночастотное возбуждение, когда одночастотный источник возбуждения (не показан) сепаратора 710 приводят в действие.
Как описано выше, каждый многочастотный преобразователь частоты 3448 служит для создания многочастотного возбуждения при наличии одночастотного возбуждения с тем, чтобы обеспечить требуемое многочастотное возбуждение опорного элемента 781, а также кольцевого элемента 729. Благодаря смежному размещению кольцевого элемента с ситовым элементом 728 многочастотное возбуждение передается ему и также просеиваемому материалу.
Из-за взаимно противоположного размещения многочастотных преобразователей частоты 3448, однако, имеется сдвиг фаз между их состояниями возбуждения, чтобы обеспечить динамическое усиление многочастотной вибрации, которая создается таким образом. Еще одним преимуществом настоящего изобретения является упрощение сборки и настройки системы благодаря относительно малому числу узлов. Действие этого вибросепаратора принципиально такое же, как и у описанных выше в связи с Фиг.16, поэтому оно не описано отдельно.
Обратимся теперь к Фиг.18, из которой видно, что опорный элемент 781 может быть присоединен к кронштейну 735 через промежуточную упругую опору, обозначенную 790. Промежуточная упругая опора может быть выполнена в виде любой подходящей упругой опоры, такой как пружины, или резиновые опоры, или резинометаллические опоры. Только в качестве примера упругая опора 790 показана в виде двух эластомерных частей, сжатых центральным болтом 793 с тем, чтобы обеспечить упругое соединение опорного элемента 781 с кронштейном 735. Обычно надлежащий выбор характеристики “сила-перемещение” промежуточной упругой опоры 790 обеспечивает оптимальное многочастотное возбуждение и виброизоляцию, чтобы сделать возможной вибрационную сепарацию “трудных” материалов в соответствии с методом изобретения. Более того, усталостная прочность сепаратора возрастает при виброизоляции кронштейнов 735 и далее корпуса 712 от высокочастотных колебаний опорного элемента 781.
Обратимся теперь к Фиг.19А-19В, где показан в соответствии с еще одним исполнением изобретения тумблерный вибросепаратор, в целом обозначенный 810. В этом сепараторе мотор-вибратор 820, расположенный сбоку, генерирует одночастотную центробежную силу в плоскости, параллельной поверхности ситового элемента 828. Настоящий сепаратор 810 в целом подобен сепаратору 710, показанному и описанному выше в связи с Фиг.17А-17В. Поэтому сходные части и элементы обозначены на Фиг.19А и 19В подобными цифровыми позициями, однако имеют приставку “8” взамен приставки “7” и они не описываются здесь заново.
Один многочастотный преобразователь частоты 3448 присоединен к середине поддерживающего элемента 881 посредством жесткого присоединительного кронштейна 896. Продольная ось резьбового элемента 3429с имеет эксцентриситет относительно опорного элемента 881 величиной b. Интерфейсный элемент 829, выполненный в виде жесткого кольца, присоединен к опорному элементу 881 и, кроме того, прижат к ситовому элементу 828. Прижатие предпочтительно выполняется через эластомерную футеровку (не показана). Когда мотор-вибратор 820 приводится в действие, ситовый элемент подвергается смешанному возбуждению. Во-первых, ситовый элемент 828 подвергается одночастотной вибрации через вибрирующий корпус 812. Одновременно с этим, однако, многочастотный преобразователь частоты 3448 генерирует ударные импульсы, которые преобразуются в многочастотный момент относительно опорного элемента 881, причем момент является произведением многочастотных возбуждающих сил, излучаемых многочастотным преобразователем частоты 3448, и плеча рычага b. Этот момент воспринимается опорным элементом 881 и благодаря определенной изгибной жесткости прикладывает соответствующее многочастотное возбуждение к ситовому элементу 828 через интерфейсный элемент 829. Исключительно ради примера на Фиг.19А-19В активная ось многочастотного преобразователя частоты 3448 параллельна ситовому элементу, однако, вообще, активная ось может быть наклонена под острым углом к плоскости ситового элемента 828.
Обратимся теперь к Фиг.20. Там показан сепаратор 810′, который в целом подобен сепаратору 810, показанному и описанному в связи с Фиг.19А и 19В, поэтому он описан только в отличиях между ними. Соответственно, сходные узлы и элементы обозначены одинаковыми числовыми позициями, но с добавлением штриха (‘).
В настоящем исполнении, как видно, имеется дополнительный упругий элемент 882 определенной жесткости как промежуточная связь между интерфейсным элементом 829′ и упругим опорным элементом 881′. Элемент 881′ выполнен в виде плоской листовой пружины с определенной жесткостью относительно вектора момента, который перпендикулярен его продольной оси и параллелен его плоскости. Дополнительный упругий элемент 882 имеет первый и второй концы, соответственно 882′ и 882″, которые жестко соединены с интерфейсным элементом 829′, например, сваркой. Дополнительный упругий элемент 882 присоединен в своем среднем сечении к среднему сечению опорного элемента 881, например, через прокладку 883, подобную шайбе. Такая конструкция делает возможным усиление многочастотной вибрации интерфейсного элемента 829′ с тем, чтобы рассчитать его с учетом массы просеиваемого материала, имея в виду взаимодействие различных узлов колебательной системы.
Обратимся теперь к Фиг.21 А. Здесь показан вибросепаратор, обозначенный в целом 910, сконструированный в соответствии с еще одним альтернативным исполнением настоящего изобретения. Сепаратор 910 в целом подобен сепаратору 810, показанному и описанному в связи с Фиг.19; общие части и элементы имеют подобные численные позиции, но с приставкой “9”.
В настоящем изобретении имеются первая и вторая взаимно перпендикулярные листовые пружины, обозначенные 981 и 985, из которых первая листовая пружина 981 имеет большую жесткость, чем вторая пружина 985. Первая и вторая листовые пружины 981 и 985 смонтированы на кронштейнах 935, которые жестко присоединены к корпусу 912, например, сваркой или болтовыми соединениями. Интерфейсный элемент 929 имеет дополнительный гибкий соединительный элемент листового типа, присоединенный к нему. Элемент 982 может быть повернут, чтобы установить его вместе с продольной осью многочастотного преобразователя частоты 3448 с тем, чтобы назначить плоскость, в которой интерфейсный элемент 929 возбуждается. Целесообразно, чтобы жесткий активатор (который не показан) многочастотного преобразователя частоты 3448 вибрировал в той же самой активной плоскости, что и интерфейсный элемент 929, определенный углом .
Возможность выбора угла в диапазоне от 0 до 90° делает возможным такое преимущество изобретения, как выбор оптимального режима многочастотной вибрации для просеивания особых типов сыпучих материалов. В частности, спектральная плотность многочастотной вибрации ситового элемента может значительно зависеть от амплитуды и продолжительности ударных импульсов, передаваемых интерфейсным элементом 929. Значения , равные 0 и 90°, дают экстремальные рабочие режимы сепаратора 910. Эти два экстремума обеспечивают оптимальные рабочие режимы для эффективного просеивания порошковых материалов, таких как тонкие металлические порошки, и деагломерацию при просеивании разных фармацевтических порошков, склонных к агломерации, и т.д. Кроме того, вибросепаратор 910 может быть отрегулирован в соответствии с требованиями производства, делая возможным предварительное задание режима просеивания в соответствии с типом материала, предназначенного для грохочения.
Обратимся теперь к Фиг.21В, где показан вибросепаратор 910′, который в целом подобен сепаратору, показанному и описанному выше в связи с Фиг.21 А за исключением того, что взамен первой и второй взаимно ортогональных листовых пружин 981 и 985 соответственно установлен единый упругий элемент 981′. Элемент 981′ имеет несколько секторных вырезов 982′, чтобы получить пару интегральных скрещивающихся элементов 981″ и 985″.
Обратимся теперь к Фиг.22А-22С. где показан вибросепаратор, обозначенный в целом 1010, сконструированный в соответствии с еще одним альтернативным исполнением настоящего изобретения. Сепаратор 1010 в целом подобен сепаратору 710, показанному и описанному выше в связи с Фиг.17А и 17В, причем общие части и элементы имеют сходные числовые позиции, но имеют приставку “10”.
Кольцевая обечайка корпуса, в целом обозначенная 1012, выполнена, как видно на увеличенном виде на Фиг.22С, из основной обечайки 1012′, верхней корпусной детали 1012″, окружающей ситовую сборку 1018, и промежуточной обечайки 1012′”, служащей для соединения верхней 1012″ и основной 1012′ обечаек, так, чтобы зажать между ними раму 1033 ситовой сборки 1018 через контурный упругий элемент 1030.
Как видно из Фиг.22В, сепаратор разделен на три предпочтительно одинаковые части несколькими участками 1011, в которых размещены интегральные многочастотные преобразователи частоты 3448. В каждом таком участке имеется угловой кронштейн 1035 (Фиг.22С) или подобный узел, который приварен, жестко присоединен болтами или каким-нибудь другим способом к основной обечайке 1012′ через подходящую стенку с накладками или подобным образом.
Как видно из Фиг.22В, верхние, в целом плоские, детали 1035′ кронштейнов 1035 выполнены с вырезами 1037 с тем, чтобы сделать возможным размещение в них соединителей 1081. Соединители 1081 выполнены как листовые рессоры, в общем, как описано выше, и присоединены обоими концами 1083 радиально вдоль вырезов 1037 к верхним плоским элементам 1035′ кронштейна, обычно с дистанционными шайбами 1089. Каждый соединитель 1081 несет подвешенный многочастотный преобразователь частоты, присоединенный через резьбовой элемент 3478.
Кольцевой интерфейсный элемент 1029 связан с упругим элементом 1081 и многочастотным преобразователем частоты 3448 через изогнутую листовую рессору 1084, имеющую первый и второй концы, обозначенные 1085 и 1087. Первый конец 1085 каждой листовой пружины 1084 прикреплен к соответствующему упругому соединителю 1081 и к резьбовому элементу 3478 соответствующего многочастотного преобразователя частоты 3448. Вторые концы 1087 изогнутых листовых пружин 1084 присоединены, как видно на Фиг.22С, к опорному интерфейсному кольцу 1029, находящемуся в контакте с ситовой сборкой 1028 вообще и с ситовым элементом 1028 в частности, через эластомерную футеровку. Необходимо отметить, что и в этом исполнении интерфейсный элемент 1029 прижат к низу ситового элемента 1028 путем приложения силы прижатия.
Сила прижатия может быть отрегулирована путем использования дистанционных шайб 1089 разной толщины. Работа вибросепаратора соответственно предложенному методу настоящего изобретения и в целом такая же, как описано выше в связи с Фиг.13-15, и поэтому она не описывается здесь снова.
Ссылаясь теперь в общем на исполнения настоящего изобретения, показанные и описанные выше в связи с Фиг.19А-22С, в которых ситовый элемент поджат, необходимо отметить, что в соответствии с предварительно найденными соотношениями между инерционными и жесткостными параметрами колебательная система сепаратора способна взаимодействовать с обрабатываемым материалом в таких режимах, которые соответствуют возбуждению, поставляемому многочастотными преобразователями частоты. Системы конструируются таким образом, что это взаимодействие достаточно интенсивно и обеспечивает самоочистку.
Обратимся теперь к Фиг.23А-23В, где показан в соответствии с еще одним альтернативным исполнением изобретения вибросепаратор, обозначенный в целом 1110, имеющий многочастотную адаптерную систему с одним многочастотным преобразователем частоты 3448. Сепаратор 1110 имеет мотор-вибратор, расположенный сбоку (который не показан) и в целом он подобен сепаратору 810, показанному на Фиг.19А-В. Очевидно, что интерфейсный опорный элемент 1139 является трехлепестковой жесткой плоской пластиной, которая присоединена к кронштейнам 1135 через промежуточные упругие опоры, обозначенные в целом 1190 (см. Фиг.23А). Интерфейсный опорный элемент 1139 несет приваренный к нему кольцевой интерфейсный элемент 1129. Кронштейны 1135 присоединены к обечайке 1112″‘, которая размещена между верхней обечайкой 1112’ и нижней обечайкой 1112″‘ корпуса 1112. Промежуточные упругие опоры 1190 выполнены как сочетание промежуточных упругих втулок 1190’ и промежуточных упругих буферов 1190″, последние имеют зазор, обозначенный d5 (Фиг.23А) для ограничения перемещения подвижных частей системы. Один многочастотный преобразователь частоты присоединен к интерфейсному опорному элементу в его средней точке с помощью присоединительного кронштейна 896″.
Во время сборки системы ситовый элемент 1128 прижат снизу интерфейсным элементом 1129. Когда корпус 1112 приводится в движение одночастотным мотором-вибратором (не показан), преобразователь частоты 3448 преобразует одночастотную вибрацию корпуса 1112 в последовательность ударных импульсов, таким образом передавая многочастотное возбуждение интерфейсному опорному элементу 1139 и далее кольцевому интерфейсному элементу 1129, ситовому элементу 1128 и просеиваемому материалу. Динамические параметры многочастотной адаптерной системы определены таким образом, чтобы обеспечить уровень энергии многочастотной вибрации, который нужен для деагломерации агломератов частиц и для самоочистки сетки. Промежуточные упругие опоры 1190 могут быть выполнены, как любые подходящие пружины, резиновые или резинометаллические составные элементы с необходимыми жесткостью и диссипацией.
Обратимся теперь к Фиг.24А-С, где показано еще одно исполнение тумблерного вибрационного сепаратора, обозначенного в целом 1210, который в целом подобен сепаратору 1010, показанному и описанному выше в связи с Фиг.22А-С. Многочастотная адаптерная система, показанная здесь, имеет кольцевой интерфейсный элемент 1229, который присоединен к нескольким интерфейсным опорным элементам 1239′, 1239″ и 1239″‘ через несколько соединительных элементов 1240, например, с помощью болтовых соединений. Кроме того, каждый из интерфейсных опорных элементов 1239′, 1239″ и 1239′” несет многочастотный преобразователь частоты 3448 и присоединенный противовес 1279. Интерфейсные опорные элементы 1239’, 1239″ и 1239′” выполнены в виде жестких плоских пластин, присоединенных к корпусным элементам 1235 посредством промежуточных упругих опор, обозначенных 1290. Опоры 1290 целесообразно выполнять в виде упругих втулок, имеющих эластомерное ядро 1290′” и внутренние металлические стержневые элементы, которые присоединены к интерфейсным опорным элементам 1239, например, с помощью болтовых соединений. Внешние фланцевые элементы 1290″ промежуточных упругих опор 1290 присоединены к кронштейнам 1235, жестко приваренным к корпусу. Понятно, что промежуточные упругие опоры 1290 могут быть любыми подходящими упругими элементами, выполненными из металла, резинометаллическими опорами или композитными конструкциями, которые позволяют необходимое многочастотное возбуждение ситового элемента и надлежащую виброизоляцию корпуса 1212. В настоящем исполнении видно, что ситовый элемент 1228 присоединен к периферийной раме 1233, которая соединена с корпусом через U-образную эластомерную прокладку 1230. Дополнительно, адаптерная система собрана таким образом, что жесткий интерфейсный элемент предварительно прижат к ситовому элементу снизу.
Действие сепаратора 1212 в целом такое же, как описано выше в связи с Фиг.16 и Фиг.22А-С и поэтому не описано здесь особенно.
Обратимся теперь к Фиг.25, где показан тумблерный сепаратор, обозначенный в целом 1810, на котором виден отражающий аппарат, обозначенный в общем 1890. Аппарат 1890 размещен внутри корпуса 1812 и расположен между крышкой корпуса 1812″, обечайкой 1812′ и верхней ситовой сборкой, обозначенной в целом 1828. Многочастотная адаптерная система (которая не показана) в основном такая же, как описана выше, размещается под ситовой сборкой 1828.
Отражающий аппарат 1890 выполнен в виде плоской отражающей пластины 1890″, герметически присоединенной через кольцо 1890′ и прокладку или другую уплотняющую деталь 1830 к контуру ситовой сборки 1828. Последняя присоединена к ситовой деке 1812′”. Кроме того, имеется питающий патрубок 1890″”, присоединенный к плоской пластине 1890″, формирующий в ней отверстие 1890″ для питания. Отражающая пластина 1890″ располагается параллельно ситовой сборке 1828 с зазором D по нормали между верхней поверхностью ситовой сборки и нижней поверхностью пластины 1890″.
Целесообразно, чтобы расстояние D было больше, чем относительная амплитуда сита, но меньше, чем половина высоты свободного полета частиц над верхней поверхностью сита, вычисленной в отсутствие отражающего аппарата в пренебрежении сопротивлением воздуха. Для этого случая D может быть вычислено из соотношения:
D=0.25*V2/g,
где V – скорость агломерата частиц в момент отрыва от поверхности сита, g – ускорение земного тяготения.
После ввода в действие мотора-вибратора (который не показан) адаптерная система (которая также не показана) преобразует одночастотную вибрацию корпуса 1812 в многочастотную вибрацию ситовой сборки, тем самым обеспечивая высокий уровень ускорений частиц просеиваемого материала. Сыпучий материал, содержащий агломераты частиц, подается через питающее отверстие 1890′”. Благодаря множественным случайным соударениям агломератов между верхней поверхностью ситовой сборки 1828 и нижней поверхностью отражающей плиты 1890″ агломераты дезинтегрируют (т.е. рассыпаются). Одновременно движение сыпучего материала в камере 1891, образованной между ситовой сборкой 1828 и отражающим аппаратом 1890, создает существенные пульсации давления воздуха над ситовой сборкой 1828, ускоряя таким образом прохождение рассыпавшихся частиц через отверстия сита и содействуя самоочистке этих отверстий. Обнаружено, что такое комбинированное действие позволяет осуществить контрольное просеивание трудных порошковых материалов микронного диапазона, склонных к агломерации, т.е. таких, которые невозможно просеять другими известными способами.
Вибрационная сепарация в соответствии с настоящим изобретением выполняется как следующая последовательность действий:
1. введение материала ко входу ситовой сборки;
2. возбуждение одночастотной вибрации корпуса посредством одночастотного источника возбуждения, чтобы передать одночастотную вибрацию через корпус к ситовому элементу;
3. движение частиц вдоль ситового элемента так, чтобы малые частицы (размеры менее отверстий сита) проходили бы сквозь ситовый элемент и выходили через первый выходной патрубок;
4. движение больших частиц вдоль ситового элемента с тем, чтобы разгрузить их через второй выходной патрубок;
5. одновременное преобразование одночастотной вибрации в многочастотное возбуждение с помощью многочастотных конвертерных устройств так, что жесткие активаторы многочастотных конвертерных устройств передают непрерывные последовательности механических ударных импульсов интерфейсным аппаратам, таким образом вызывая соответствующую многочастотную вибрацию ситового элемента с тем, чтобы содействовать прохождению меньших частиц через отверстия ситовой сборки, предотвращая застревание частиц в отверстиях и обеспечивая дезинтеграцию агломератов частиц на отдельные частицы.
Следует оценить, что способ вибрационной сепарации в соответствии с исполнением настоящего изобретения использует смешанное многочастотное возбуждение сита или ситовой поверхности, что основано на использовании нелинейных характеристик колебательной системы согласно изобретению, в которой:
1. резонансное усиление вибраций устойчиво в широком диапазоне по отношению к флуктуациям массы просеиваемого материала и параметров упругих элементов; это делает возможным использование резонансного усиления в промышленных ситовых сепараторах;
2. вибрации на основной частоте сопровождаются вибрациями на комбинированных кратных частотах 2 , 3 ,…, n …. так, что высокочастотные компоненты возбуждения обладают энергией, большей, чем вибрация основной частоты;
3. пиковые ускорения от высокочастотных составляющих могут быть по меньшей мере на порядок выше ускорений основной частоты.
Настоящий способ вибрационной сепарации содержит наложение многочастотной вибрации, вызванной последовательностью ударных импульсов на обычное вибровозбуждение, полученное использованием обычного одночастотного мотора-вибратора. Такие ударные импульсы, будучи приложенными к ситовой сборке под разными углами и в разных фазах, вызывают многочастотную вибрацию с широкодиапазонным спектром, случайную или близкую к дискретной. Поскольку величина ускорения пропорциональна квадрату частоты, то, очевидно, что высокочастотные компоненты разложения Фурье вызывают высокие ускорения ситовой поверхности и большие инерционные силы, действующие на частицы, прилипшие к ситу или застрявшие в отверстиях. Это заставляет частицы также прыгать в отверстиях, не давая им застревать в них. Эта комбинированная многочастотная вибрация заставляет заклиненные частицы выбрасываться из отверстий, далее они смешиваются с потоком и разгружаются с надрешетным материалом. Кроме того, способ сепарации согласно настоящему изобретению эффективно исключает адгезию влажных и липких частиц к ситовой поверхности благодаря комбинированной многочастотной вибрации, вызывающей высокий уровень пиковых ускорений и, соответственно, высокий уровень сил инерции. Эти силы преодолевают межмолекулярные и электростатические силы адгезии, чем исключается блокирование отверстий сита и что способствует дезинтеграции агломератов частиц для тех материалов, которые имеют склонность к образованию агломератов.
Необходимо, кроме этого, заметить, что описанные выше многочастотные конвертерные аппараты и узлы вместе с интерфейсными аппаратами и элементами, показанными и описанными выше, могут быть легко присоединены к существующему сепаратору, который работает в одночастотном режиме. После такого присоединения измененная машина способна выполнять высокоэффективное многочастотное просеивание “трудных” материалов согласно способу сепарации по настоящему изобретению. Такой способ позволяет использовать обычные стандартные ситовые элементы без каких бы то ни было переделок.
Сыпучие и порошковые материалы, которые просеивают, отличаются огромным разнообразием размеров частиц, формы, свойств, характеристик и т.д. Кроме того, имеется огромное количество требований промышленности к граничной крупности, производительности и качеству надрешетных и подрешетных продуктов. Многочисленные эксперименты по просеиванию, выполненные авторами изобретения с использованием разнообразных сыпучих и порошковых материалов, делают возможным выбор оптимальных условий и методов для вибрационной сепарации различных материалов, используя различные рабочие режимы генерации ударных импульсов и многочастотных вибраций. Эти режимы достигаются путем комбинации временных диаграмм, фазовых сдвигов, относительной геометрии и точек приложения импульсов.
Необходимо отметить, что упомянутые последовательности ударных импульсов могут иметь дискретные или непрерывные спектры. В соответствии с настоящим изобретением ударные импульсы, генерируемые описанными многочастотными конвертерными аппаратами, могут быть приложены односторонне по направлению контактного элемента интерфейсного аппарата или от него.
Способ вибросепарации согласно настоящему изобретению является, более того, оптимальным для тумблерного вибрационного сепаратора, в котором ударные импульсы от разных многочастотных конвертерных устройств приложены с разными углами фазовых сдвигов, т.к. одночастотные вибрации опорных элементов многочастотных конвертерных аппаратов имеют разные фазовые углы в различных точках. В случае, когда используется одна или более пар многочастотных преобразователей частоты, расположенных диаметрально противоположно, в способе сепарации по изобретению каждая пара может генерировать взаимно противоположные импульсы.
Необходимо отметить, что ударные импульсы могут быть приложены также и двухсторонне, и в этом случае они рандомизируют “танцы” частиц, застрявших в ячейках сита, и увеличивают вероятность пиковых импульсов желательного направления, тем самым улучшая разблокировку и самоочистку сита. Для того чтобы получить такие режимы, ударные импульсы, действующие по направлению сита и от него, могут иметь равные или неравные длительности и амплитуды. Дополнительно, ударные импульсы могут быть приложены перпендикулярно или под углом к плоскости ситового элемента, чтобы генерировать в ситовом материале плоскую волну, которая непрерывно меняет форму отверстий и таким образом препятствует блокировке отверстий частицами размеров, близких к размеру ячейки сита. Очевидно, специалистам в этой области понятно, что суть настоящего изобретения не ограничена тем, что показано и описано выше в основном путем иллюстративных примеров. Более того, суть настоящего изобретения ограничена только следующими пунктами формулы изобретения.
Формула изобретения
1. Многочастотная вибрационная адаптерная система, связанная с одним или более сит, содержащая, по меньшей мере, один интерфейсный аппарат, смонтированный в контакте с ситом для передачи ему возбуждения, и, по меньшей мере, один многочастотный преобразователь частоты, приспособленный для осуществления и передачи многочастотного возбуждения, по меньшей мере, одному интерфейсному аппарату и связанному с ним ситу, будучи подвергнутым одночастотному возбуждению.
2. Многочастотная вибрационная адаптерная система по п.1, в которой каждый упомянутый многочастотный преобразователь частоты включает не менее чем один активаторный элемент для передачи энергии возбуждения упомянутому не менее чем одному интерфейсному аппарату и упругий присоединительный аппарат для присоединения упомянутого не менее чем одного активаторного элемента к опорной части, и упомянутая адаптерная система также включает аппарат для монтажа упомянутой опорной части в соединении с упомянутым корпусом и по меньшей мере, один упругий буферный аппарат, размещенный между упомянутым, по меньшей мере, одним активаторным элементом и упомянутым, по меньшей мере, одним интерфейсным аппаратом, для регулирования нелинейным образом характеристик многочастотного возбуждения, передаваемого между ними.
3. Многочастотная вибрационная адаптерная система по п.2, в которой упомянутый аппарат для монтажа упомянутой опорной части включает упругий монтажный аппарат для монтажа упомянутой опорной части в упругом соединении с корпусом, передающим возбуждение.
4. Многочастотная вибрационная адаптерная система по п.2, в которой упомянутый упругий присоединительный аппарат характеризуется наличием нелинейных характеристик “сила-перемещение” и действует, чтобы вызвать многочастотное возбуждение упомянутого, по меньшей мере, одного активаторного элемента, будучи подверженным одночастотному возбуждению с тем, чтобы обеспечить возбуждение с амплитудой, которая достаточна для того, чтобы вынудить упомянутый, по меньшей мере, один активаторный элемент ударять по упомянутому по меньшей мере одному буферному аппарату.
5. Многочастотная вибрационная адаптерная система по п.2, в которой упомянутый упругий присоединительный аппарат включает пару интегральных упругих опор, каждая из которых имеет первую и вторую упругие втулки, при этом каждая из упомянутых упругих втулок включает первую и вторую части, допускающие относительный поворот относительно общей оси, и при этом упомянутые первые части упомянутых первой и второй упругих втулок соединены друг с другом, первая из упомянутых вторых частей присоединена, по меньшей мере, опосредованно к упомянутой опорной части, а вторая из упомянутых вторых частей присоединена к упомянутому, по меньшей мере, одному активаторному элементу.
6. Многочастотная вибрационная адаптерная система по п.2, в которой упомянутый, по меньшей мере, один активаторный элемент выполнен с возможностью монтажа относительно одного из упомянутых, по меньшей мере, одного интерфейсных аппаратов так, что будучи в состоянии покоя, упомянутый активаторный элемент находится в бесконтактной связи с упомянутым интерфейсным аппаратом, а, будучи подвержен упомянутому возбуждению, каждый, по меньшей мере, один активаторный элемент повторно ударяет и, таким образом, вызывает соответствующее возбуждение упомянутого, по меньшей мере, одного интерфейсного аппарата, чтобы тем самым вызвать соответствующее многочастотное возбуждение связанного с ним сита и любого сыпучего материала, просеиваемого им.
7. Многочастотная вибрационная адаптерная система по п.2, в которой упомянутый, по меньшей мере, один активаторный элемент выполнен с возможностью монтажа относительно одного из упомянутых, по меньшей мере, одного интерфейсных аппаратов так, что, будучи в состоянии покоя, упомянутый активаторный элемент находится в контактной связи с упомянутым интерфейсным аппаратом, а, будучи подвержен упомянутому возбуждению, каждый, по меньшей мере, один активаторный элемент повторно ударяет и, таким образом, вызывает соответствующее возбуждение упомянутого, по меньшей мере, одного интерфейсного аппарата, чтобы тем самым вызвать соответствующее многочастотное возбуждение связанного с ним сита и любого сыпучего материала, просеиваемого им.
8. Многочастотная вибрационная адаптерная система по п.1, в которой каждый упомянутый, по меньшей мере, один интерфейсный аппарат имеет такую конфигурацию и расположен по отношению к связанному с ним ситу таким образом, что, будучи подвержен многочастотному возбуждению, каждый из упомянутых, по меньшей мере, одного интерфейсного аппарата действует так, чтобы передать упомянутое многочастотное возбуждение наперед заданному участку сита, через которое проходит сыпучий материал.
9. Многочастотная вибрационная адаптерная система по п.1, в которой каждый упомянутый интерфейсный аппарат состоит из, по меньшей мере, двух элементов, из которых один может регулироваться по отношению к другому, чтобы таким образом регулировать характеристики многочастотного возбуждения связанного с ним сита.
10. Многочастотная вибрационная адаптерная система по п.1, в которой каждый упомянутый, по меньшей мере, один многочастотный преобразователь частоты имеет жесткий кожух вокруг него, при этом упомянутый интерфейсный аппарат включает, по меньшей мере, часть этого кожуха.
11. Многочастотная вибрационная адаптерная система по п.10, в которой каждый упомянутый интерфейсный аппарат дополнительно включает интерфейсный элемент, находящийся в прямом контакте со связанным с ним ситом, и дополнительно включает промежуточный интерфейсный аппарат для передачи многочастотного возбуждения от упомянутого кожуха к упомянутому интерфейсному элементу.
12. Многочастотная вибрационная адаптерная система по п.11, в которой упомянутый промежуточный интерфейсный аппарат включает жесткий промежуточный элемент, присоединенный между упомянутым кожухом и упомянутым интерфейсным элементом.
13. Многочастотная вибрационная адаптерная система по п.11, в которой упомянутый промежуточный интерфейсный аппарат включает упругий промежуточный элемент, присоединенный между упомянутым кожухом и упомянутым интерфейсным элементом.
14. Многочастотная вибрационная адаптерная система по п.1, дополнительно включающая аппарат для натяжения любого из одного или более сит.
15. Многочастотная вибрационная адаптерная система по п.14, в которой упомянутый аппарат для натяжения любого из одного или более сит включает аппарат, на который опирается упомянутый интерфейсный элемент.
16. Многочастотная вибрационная адаптерная система по п.15, в которой упомянутый аппарат для натяжения выполнен с возможностью регулировки.
17. Вибрационный сепаратор, включающий корпус, выполненный с входным патрубком для подачи просеиваемого материала, первым выходным патрубком для выгрузки подрешетных фракций и вторым выходным патрубком для выгрузки надрешетных фракций, по меньшей мере, одно сито, поддерживаемое в упомянутом корпусе между входным и первым выходным патрубками так, что материал, поступающий в корпус через входной патрубок, задействует, по меньшей мере, первое из упомянутых одного или более сит, в котором подрешетные фракции проходят через одно или более сит и выходят из корпуса через первый выходной патрубок, а надрешетные фракции не проходят сквозь, по меньшей мере, одно из сит и выходят из корпуса через второй выходной патрубок, источник одночастотного вибрационного возбуждения для просеивания сыпучего материала, поступающего в него, и, по меньшей мере, одну многочастотную вибрационную адаптерную систему, включающую, по меньшей мере, один интерфейсный аппарат, смонтированный в контакте с ситом для передачи ему возбуждения, и по меньшей мере, один многочастотный преобразователь частоты для передачи возбуждения, по меньшей мере, одному интерфейсному аппарату и связанному с ним ситу, и предназначенный для создания многочастотного возбуждения, будучи подвергнутым одночастотному.
18. Вибрационный сепаратор по п.17, в котором каждый упомянутый многочастотный преобразователь частоты включает не менее чем один активаторный элемент для передачи энергии возбуждения упомянутому каждому интерфейсному аппарату и упругий присоединительный аппарат для присоединения упомянутого не менее чем одного активаторного элемента к опорной части, и упомянутая адаптерная система также включает аппарат для монтажа упомянутой опорной части в соединении с упомянутым корпусом и, по меньшей мере, один упругий буферный аппарат, размещенный между упомянутым, по меньшей мере, одним активаторным элементом и упомянутым, по меньшей мере, одним интерфейсным аппаратом, для регулирования нелинейным образом характеристик многочастотного возбуждения, передаваемого между ними.
19. Вибрационный сепаратор по п.18, в котором упомянутый аппарат для монтажа упомянутой опорной части включает упругий монтажный аппарат для монтажа упомянутой опорной части в упругом соединении с корпусом, передающим возбуждение.
20. Вибрационный сепаратор по п.18, в котором упомянутый упругий присоединительный аппарат характеризуется наличием нелинейных характеристик “сила-перемещение” и действует, чтобы вызвать многочастотное возбуждение упомянутого, по меньшей мере, одного активаторного элемента, будучи подверженным одночастотному возбуждению с тем, чтобы обеспечить возбуждение с амплитудой, которая достаточна для того, чтобы вынудить упомянутый, по меньшей мере, один активаторный элемент ударять по упомянутому, по меньшей мере, одному буферному аппарату.
21. Вибрационный сепаратор по п.18, в котором упомянутый упругий присоединительный аппарат включает пару интегральных упругих опор, каждая из которых имеет первую и вторую втулки, при этом каждая из упомянутых упругих втулок включает первую и вторую части, допускающие относительный поворот относительно общей оси, и при этом упомянутые первые части упомянутых первой и второй упругих втулок соединены друг с другом, первая из упомянутых вторых частей присоединена к упомянутой опорной части, а вторая из упомянутых вторых частей присоединена к упомянутому, по меньшей мере, одному активаторному элементу.
22. Вибрационный сепаратор по п.18, в котором упомянутый, по меньшей мере, один активаторный элемент выполнен с возможностью монтажа относительно одного из упомянутых, по меньшей мере, одного интерфейсных аппаратов так, что, будучи в состоянии покоя, упомянутый активаторный элемент находится в бесконтактной связи с упомянутым интерфейсным аппаратом, а, будучи подвержен упомянутому возбуждению, каждый, по меньшей мере, один активаторный элемент повторно ударяет и, таким образом, вызывает соответствующее возбуждение упомянутого, по меньшей мере, одного интерфейсного аппарата, чтобы тем самым вызвать соответствующее многочастотное возбуждение связанного с ним сита и любого сыпучего материала, просеиваемого им.
23. Вибрационный сепаратор по п.18, в котором упомянутый, по меньшей мере, один активаторный элемент выполнен с возможностью монтажа относительно одного из упомянутых, по меньшей мере, одного интерфейсных аппаратов так, что, будучи в состоянии покоя, упомянутый активаторный элемент находится в контактной связи с упомянутым интерфейсным аппаратом, а, будучи подвержен упомянутому возбуждению, каждый, по меньшей мере, один активаторный элемент повторно ударяет и, таким образом, вызывает соответствующее возбуждение упомянутого, по меньшей мере, одного интерфейсного аппарата, чтобы тем самым вызвать соответствующее многочастотное возбуждение связанного с ним сита и любого сыпучего материала, просеиваемого им.
24. Вибрационный сепаратор по п.17, в котором каждый упомянутый, по меньшей мере, один интерфейсный аппарат имеет такую конфигурацию и расположен по отношению к связанному с ним ситу таким образом, что, будучи подвержен многочастотному возбуждению, каждый из упомянутых, по меньшей мере, одного интерфейсных аппаратов действует так, чтобы передать упомянутое многочастотное возбуждение наперед заданному участку сита, через которое проходит сыпучий материал.
25. Вибрационный сепаратор по п.17, в котором упомянутый интерфейсный аппарат состоит из, по меньшей мере, двух элементов, из которых, по меньшей мере, один может регулироваться по отношению к другому, чтобы таким образом регулировать характеристики многочастотного возбуждения упомянутого сита.
26. Вибрационный сепаратор по п.17, в котором каждый упомянутый, по меньшей мере, один многочастотный преобразователь частоты имеет жесткий кожух вокруг него, при этом каждый интерфейсный аппарат включает, по меньшей мере, часть этого кожуха.
27. Вибрационный сепаратор по п.26, в котором каждый упомянутый интерфейсный аппарат дополнительно включает интерфейсный элемент, находящийся в прямом контакте с упомянутым ситом, и дополнительно включает промежуточный интерфейсный аппарат для передачи многочастотного возбуждения от упомянутого кожуха к упомянутому интерфейсному элементу.
28. Вибрационный сепаратор по п.27, в котором упомянутый промежуточный интерфейсный аппарат содержит жесткий промежуточный элемент, присоединенный между упомянутым кожухом и упомянутым интерфейсным элементом.
29. Вибрационный сепаратор по п.27, в котором упомянутый промежуточный интерфейсный аппарат содержит упругий промежуточный элемент, присоединенный между упомянутым кожухом и упомянутым интерфейсным элементом.
30. Вибрационный сепаратор по п.17, дополнительно включающий аппарат для натяжения любого из одного или более сит.
31. Вибрационный сепаратор по п.30, в котором упомянутый аппарат для натяжения упомянутого ситового элемента содержит аппарат, на который опирается упомянутый интерфейсный элемент.
32. Вибрационный сепаратор по п.31, в котором упомянутый аппарат для натяжения выполнен с возможностью регулирования.
33. Вибрационный сепаратор по п.18, в котором упомянутый аппарат для монтажа упомянутой опорной части присоединен к упомянутому корпусу с помощью, по меньшей мере, одного упругого соединительного элемента.
34. Вибрационный сепаратор по п.17, в котором, по меньшей мере, одно сито включает несколько сит, каждое из которых размещено как другая дека, причем каждое упомянутое сито связано в комбинации с одним из упомянутых, по меньшей мере, одним интерфейсным аппаратом и, по меньшей мере, одним многочастотным преобразователем частоты, каждая из упомянутых комбинаций имеет параметры возбуждения, отличные от параметров возбуждения хотя бы одной из остальных комбинаций.
35. Вибрационный сепаратор по п.17, также включающий, по меньшей мере, один отражающий аппарат, размещенный внутри упомянутого корпуса выше верхней поверхности упомянутого сита и с зазором по отношению к нему, и упомянутый, по меньшей мере, один отражающий аппарат имеет, по меньшей мере, одно питающее отверстие для прохода сыпучего материала к верхней поверхности упомянутого сита.
36. Вибрационный сепаратор по п.35, в котором упомянутый, по меньшей мере, один отражающий аппарат выполнен в виде оболочки, имеющей упомянутое, по меньшей мере, одно питающее отверстие, и контур упомянутой оболочки герметически уплотнен по отношению к контуру связанного с ней сита, при этом расстояние по нормали между верхней поверхностью упомянутого сита и нижней поверхностью упомянутой оболочки больше, чем относительная амплитуда упомянутого сита, и меньше, чем половина высоты свободного полета агломерированных частиц над верхней поверхностью сита, вычисленной при отсутствии отражающего аппарата.
37. Вибрационный сепаратор по п.36, в котором упомянутая оболочка выполнена в виде плоской пластины, в целом параллельной упомянутому ситу, связанному с ней.
38. Вибрационный сепаратор по п.35, в котором отражающий аппарат выполнен в виде верхней крышки для разбивания агломератов частиц, ударяющих по ней, и для способствования прохождения мелких фракций сквозь упомянутое сито.
39. Способ сепарации сыпучего материала с частицами большего и меньшего размера в вибрационном сепараторе, имеющем корпус, выполненный с входным патрубком для входа просеиваемого материала, первым выходным патрубком для выгрузки подрешетных фракций, вторым выходным патрубком для выгрузки надрешетных фракций, одно или более сит, поддерживаемых в корпусе между входным патрубком и первым выходным патрубком так, что материал, входящий в корпус через входной патрубок, задействует одно или более сит, причем подрешетные фракции проходят сквозь сито и выходят из корпуса через первый выходной патрубок, в то время как надрешетные фракции не проходят через одно или более сит и выходят из корпуса через второй выходной патрубок, при этом способ включает следующие шаги:
введение просеиваемых частиц в корпус через входной патрубок;
сообщение корпусу и, тем самым, также фракциям через одно или более сит одночастотной вибрации, чтобы, таким образом, вызвать вибрационное перемещение сыпучих фракций вдоль одного или более сит так, что подрешетные фракции проходят сквозь него по направлению первого выходного патрубка, и так, что надрешетные фракции проходят вдоль по направлению второго выходного патрубка;
преобразование одночастотной вибрации корпуса в связи, которая передает возбуждение одному или более сит, в последовательность механических импульсов, приложенных к интерфейсному аппарату, чтобы генерировать многочастотную вибрацию сита и тем самым также масс агломератов на одном или более сит, тем самым вызвать деагломерацию этих масс и тем самым предотвратить блокировку одного или более сит фракциями.
40. Способ по п.39, в котором механические импульсы прикладываются односторонне в направлении одного или более сит.
41. Способ по п.39, в котором механические импульсы прикладываются односторонне в обратном направлении от одного или более сит.
42. Способ по п.39, в котором упомянутый шаг генерирования многочастотного возбуждения включает шаг генерирования механических импульсов от разных, по меньшей мере, источников и приложения этих импульсов с тем, чтобы получить различные фазовые сдвиги относительно фазового угла одночастотной вибрации корпуса.
43. Способ по п.39, в котором механические импульсы прикладываются по направлению одного или более сит и в обратном направлении.
44. Способ по п.39, в котором механические импульсы, действующие в направлении одного или более сит, и импульсы, действующие в обратном направлении, имеют различные длительности.
45. Способ по п.39, в котором механические импульсы, действующие в направлении одного или более сит, и импульсы, действующие в обратном направлении, имеют различные амплитуды.
46. Способ по п.39, в котором в упомянутом шаге генерирования механические импульсы приложены под углом к плоскости каждого из одного или более сит, где 0°< <90°.
47. Способ по п.39, в котором упомянутый шаг генерирования многочастотного возбуждения включает возбуждение различных частей каждого из одного или более сит при различных параметрах возбуждения.
48. Способ по п.39, в котором вибрационный сепаратор дополнительно включает, по меньшей мере, один отражающий аппарат, размещенный внутри упомянутого корпуса выше верхней поверхности упомянутого сита и с зазором по отношению к нему, и упомянутый, по меньшей мере, один отражающий аппарат имеет, по меньшей мере, одно питающее отверстие для прохода сыпучего материала к верхней поверхности упомянутого сита, в котором упомянутый способ дополнительно включает следующие шаги: дезинтеграцию агломератов частиц при множественных соударениях в пространстве между упомянутым ситом и упомянутым отражающим аппаратом, связанным с ним, и обеспечение пульсаций давления воздуха в пространстве между упомянутой ситовой сборкой и упомянутым отражающим аппаратом, чтобы тем самым вынудить мелкие частицы пройти сквозь отверстия упомянутого сита.
49. Способ по п.48, в котором упомянутый, по меньшей мере, один отражающий аппарат выполнен в виде оболочки, имеющей, по меньшей мере, одно питающее отверстие, и контур упомянутой оболочки герметично уплотнен по отношению к контуру связанного с ней сита, при этом расстояние по нормали между верхней поверхностью упомянутого сита и нижней поверхностью упомянутой оболочки больше, чем относительная амплитуда упомянутого сита, и меньше, чем половина высоты свободного полета агломерированных частиц над верхней поверхностью сита, вычисленной при отсутствии отражающего аппарата.
50. Способ по п.49, в котором упомянутая оболочка выполнена в виде плоской пластины, которая в целом параллельна плоскости упомянутого сита, связанного с ней.
51. Способ по п.49, в котором отражающий аппарат выполнен в виде верхней крышки для разбивания агломератов фракций, ударяющих по ней, и для обеспечения прохождения мелких фракций сквозь упомянутое сито.
Приоритет по пунктам:
пп. 1-16 – 20.01.2000;
пп. 17-51 – 28.03.1999.
РИСУНКИ
MM4A – Досрочное прекращение действия патента СССР или патента Российской Федерации на изобретение из-за неуплаты в установленный срок пошлины за поддержание патента в силе
Дата прекращения действия патента: 29.03.2006
Извещение опубликовано: 10.05.2007 БИ: 13/2007
NF4A Восстановление действия патента СССР или патента Российской Федерации на изобретение
Дата, с которой действие патента восстановлено: 20.05.2007
Извещение опубликовано: 20.05.2007 БИ: 14/2007
|
|