|
|
(21), (22) Заявка: 2002135070/12, 12.06.2001
(24) Дата начала отсчета срока действия патента:
12.06.2001
(30) Конвенционный приоритет:
14.06.2000 (пп.1-10) US 09/594,071
(43) Дата публикации заявки: 20.05.2004
(45) Опубликовано: 20.07.2005
(56) Список документов, цитированных в отчете о поиске:
SU 1380794 A1, 15.03.1988. SU 1553185 A1, 30.03.1990. US 3192691 A, 03.09.1963. US 6050504 A, 18.04.2000. DE 2501077 A1, 10.09.1982. FR 1328518 A, 22.04.1963. GB 2245196 A, 02.01.1992.
(85) Дата перевода заявки PCT на национальную фазу:
14.01.2003
(86) Заявка PCT:
US 01/18818 (12.06.2001)
(87) Публикация PCT:
WO 01/96187 (20.12.2001)
Адрес для переписки:
101000, Москва, Центр, а/я 732, Агентство ТРИА РОБИТ, пат.пов. Г.М.Вашиной
|
(72) Автор(ы):
ШУЛЬЦ Роберт С. (US)
(73) Патентообладатель(и):
Эмсар Инк. (US)
|
(54) РАСПЫЛИТЕЛЬНАЯ ГОЛОВКА С РЕГУЛИРУЕМОЙ ПЛОТНОСТЬЮ РАСПЫЛЯЕМОГО АЭРОЗОЛЯ ДЛЯ РАСПЫЛИТЕЛЬНОГО УСТРОЙСТВА, ДЕЙСТВУЮЩЕГО НА ПРИНЦИПЕ СЖИМАНИЯ ЕМКОСТИ
(57) Реферат:
Предлагаемое изобретение в целом относится к распылительной головке, давление в которой создается при сжимании боковых стенок емкости, в которой содержится распыленный материал. В частности, предлагаемое изобретение относится к распылительной головке, в которой осуществлено смешивание воздуха и жидкости для образования тонкого аэрозоля, и в которой обеспечена возможность регулирования плотности аэрозоля. Задачей изобретения является создание распылительного устройства, используемого с емкостью, например с бутылкой со сжимаемыми с боков стенками, не находящейся под давлением, и обеспечивающего возможность регулирования плотности распыляемого аэрозоля. Предлагается распылительная головка, используемая вместе с емкостью со сжимаемыми стенками, включающая поворотный клапан. Поворотный клапан имеет профилированный вырез для регулирования подачи воздуха и профилированный вырез для регулирования подачи жидкости. При повороте поворотного клапана с помощью профилированных вырезов обеспечено регулирование пропорций воздуха и жидкости в распыляемой жидкостно-воздушной смеси. Таким образом осуществлено регулирование плотности потока аэрозоля. 2 н. и 8 з.п.ф-лы, 7 ил.

Область техники, к которой относится предлагаемое изобретение
Предлагаемое изобретение в целом относится к распылительной головке, давление в которой создается при сжимании боковых стенок емкости, в которой содержится распыляемый материал. В частности, предлагаемое изобретение относится к распылительной головке, в которой осуществлено смешивание воздуха и жидкости для образования тонкого аэрозоля, и в которой обеспечена возможность регулирования плотности аэрозоля.
Предпосылки создания предлагаемого изобретения
Аэрозольные упаковки, действующие на принципе сжимания емкости, используются уже долгие годы, однако в настоящее время они в значительной степени вытеснены аэрозольными системами, в которых содержимое емкости находится под давлением. Один из распылителей, действующих на принципе сжимания емкости, который стал использоваться взамен аэрозольных упаковок, в которых содержимое емкости находится под давлением, раскрыт в патентах США №5183186 и №5318205. В этих патентах описан распылитель, действующий на принципе сжимания емкости, в котором канал для прохождения воздуха и канал для прохождения распыляемого продукта (то есть текучего материала) сходятся вместе в сужающейся смесительной камере. В устройстве по раскрытому в упомянутых патентах изобретению сужение смесительной камеры выполнено с возможностью направления потока воздуха под некоторым углом к потоку жидкости, результатом чего является возникновение в потоке жидкости, находящейся в смесительной камере, турбулентности. Благодаря этой турбулентности поток жидкости разрывается, и жидкость эффективно перемешивается с воздухом. В результате из устройства через выходное отверстие распылительного сопла выходит тонкий аэрозоль.
Одним из характерных признаков известных распылительных устройств этого типа, в частности тех, которые описаны в упомянутых выше патентах США №5183186 и №5318205, является то, что количество и плотность аэрозоля в них фиксированы. Иначе говоря, известные распылительные устройства этого типа могут находиться или в открытом положении, в котором обеспечена возможность выхода аэрозоля фиксированной плотности, или в закрытом положении, когда распыления аэрозоля не происходит.
Краткое описание предлагаемого изобретения
Таким образом, целью предлагаемого изобретения является создание распылительного устройства, используемого с емкостью, например с бутылкой со сжимаемыми с боков стенками, не находящейся под давлением, и обеспечивающего возможность регулирования плотности распыляемого аэрозоля.
Еще одной целью предлагаемого изобретения является создание клапана, обеспечивающего предотвращение проникновения воздуха во внутренние каналы распылительного устройства.
В соответствии с предлагаемым изобретением создано распылительное устройство, имеющее заглубленную трубку, установленную с простиранием во внутреннее пространство емкости, например бутылки со сжимаемыми с боков стенками, содержащей текучий материал. Кончик заглубленной трубки соединен с узлом шарового обратного клапана, имеющим шарик, который обычно расположен на верхнем конце трубки ограниченного диаметра. Поворотный клапан имеет воздушный канал и жидкостный канал. Посредством воздушного канала может быть обеспечено сообщение между внутренним пространством емкости и смесительной камерой распылительного устройства. Отдельный жидкостный канал ведет от верхнего конца шарового обратного клапана к смесительной камере и направлен к выходному отверстию распылительного сопла смесительной камеры. Поперечное сечение воздушного канала является кольцеобразным, воздушный канал концентрично расположен вокруг участка жидкостного канала, ведущего к смесительной камере. Поворотом клапана осуществляется изменение степени сообщения между воздушным каналом и жидкостным каналом и внутренним пространством емкости.
При открытом положении поворотного клапана и при сжимании боковых стенок емкости возникает повышенное давление, под действием которого воздух вытесняется в смесительную камеру, а жидкое содержимое емкости поднимается вверх по заглубленной трубке. Под действием поднявшейся жидкости шаровой обратный клапан открывается, и жидкость направляется к смесительной камере. Одновременно с этим имеет место прохождение воздуха по кольцеобразному (в поперечном сечении) воздушному каналу. Будучи отклоненным сходящимися стенками смесительной камеры, воздушный поток сходится к центру, где происходит его столкновение с жидкостным потоком. В результате происходит распыление жидкости, и из распылительного устройства выходит тонкий аэрозоль.
После исчезновения повышенного давления шарик опускается обратно на верхний конец трубки ограниченного диаметра, запирая тем самым жидкость в заглубленной трубке. В результате обеспечено удержание жидкости в заглубленной трубке на высоком уровне, выше уровня жидкости в емкости, в готовности к следующему циклу сжатия емкости. Таким образом, запаздывание между сжиманием емкости и выходом аэрозоля при следующем цикле будет устранено.
Жидкостный канал выполнен в клапане, который помещен в корпус распылительного устройства. В предпочтительных вариантах осуществления предлагаемого изобретения этот клапан может представлять собой поворотный клапан, выполненный с возможностью открывания и закрывания воздушного канала и жидкостного канала. В закрытом положении поворотного клапана как воздушный канал, так и жидкостный канал полностью закрыты для сообщения с внутренним пространством емкости, в результате чего обеспечено предотвращение проникновения воздуха во внутреннее пространство емкости. Благодаря перекрыванию воздушного и жидкостного каналов, таким образом, снижен риск высыхания подлежащего распылению жидкого продукта, находящегося в емкости.
Поворотный клапан выполнен таким образом, что в процессе его поворота из закрытого положения в полностью открытое положение имеет место изменение степени сообщения между внутренним пространством емкости и воздушным и жидкостным каналами. Таким образом, обеспечена возможность регулирования плотности распыляемого аэрозоля.
Другие цели и преимущества предлагаемого изобретения станут понятны среднему специалисту соответствующего профиля из последующего подробного описания предлагаемого изобретения.
Краткое описание прилагаемых чертежей
На фиг.1 показана в разрезе распылительная головка по предлагаемому изобретению.
На фиг.2 показана распылительная головка по предлагаемому изобретению, вид сбоку.
На фиг.3 показана распылительная головка по предлагаемому изобретению, вид сверху.
На фиг.4 показан в аксонометрии клапан по предлагаемому изобретению.
На фиг.5 этот же клапан показан на виде спереди. На фиг.6 этот же клапан показан на виде сбоку.
На фиг.7 схематично показаны профилированные поверхности впускного клапана.
Подробное описание предлагаемого изобретения
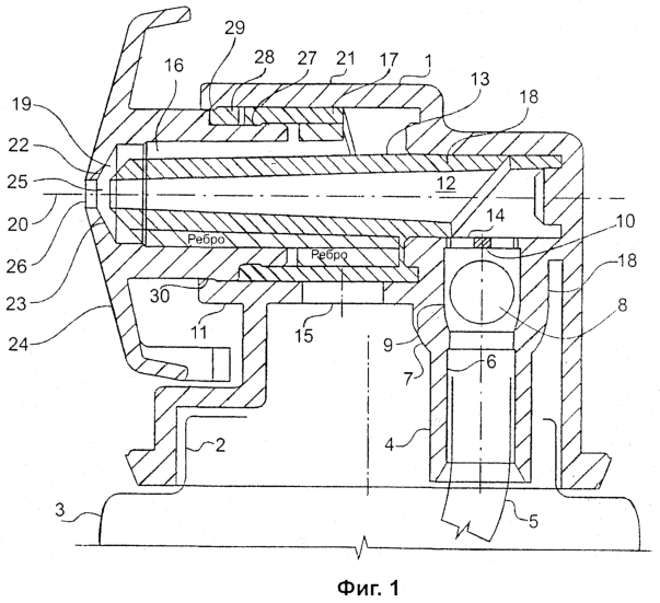
На фиг.1 показана в разрезе распылительная головка по предлагаемому изобретению. Корпус 1 распылительного устройства выполнен с возможностью его установки на шейке 2 емкости 3, представляющей собой бутылку со сжимаемыми с боков стенками, по способу, известному среднему специалисту соответствующего профиля. Корпус 1 распылительного устройства включает канал 4, выполненный с возможностью размещения в нем концевого участка заглубленной трубки 5.
Трубка ограниченного диаметра 6, относящаяся к шаровому обратному клапану 7, выполнена с возможностью размещения в ней верхнего конца заглубленной трубки 5. Трубка ограниченного диаметра 6 находится в сообщении с заглубленной трубкой 5, так что обеспечена возможность протекания жидкости. Внутренний диаметр трубки ограниченного диаметра 6 меньше, чем диаметр шарика 8 шарового обратного клапана 7, так что в обычном состоянии обеспечено нахождение шарика 8 на верхнем конце трубки ограниченного диаметра 6. При нахождении шарика 8 в этом положении шаровой обратный клапан 7 закрыт, в результате чего заглубленная трубка 5 также закрыта. Внутренний диаметр остальной части шарового обратного клапана 7 больше, чем диаметр шарика 8. Таким образом, для шарика 8 обеспечена возможность перемещения вверх в качестве реакции на движение вверх жидкости по заглубленной трубке 5, в результате чего обеспечено открывание шарового обратного клапана 7.
Верхняя часть шарового обратного клапана 7 выполнена с возможностью размещения внутри нее расположенной концентрично с ней питающей трубки 9, с помощью которой для жидкости обеспечена возможность протекания от трубки ограниченного диаметра 6 через корпус 1 распылительного устройства. Диаметр питающей трубки 9 имеет практически ту же величину, что и диаметр остальной части шарового обратного клапана 7. Поперек верхней части питающей трубки 9 расположена поперечина 10, которая может быть ориентирована в любом направлении. Таким образом, для шарика 8 обеспечена возможность перемещения в верхнем направлении с открыванием шарового обратного клапана 7. Так как диаметр питающей трубки 9 больше, чем диаметр шарика 8, для жидкости обеспечена возможность свободного протекания в пространство за шариком 8.
Для упрощения конструкции питающая трубка 9 выполнена как продолжение стенки 11 корпуса 1 распылительного устройства. Питающая трубка 9 стенки 11 имеет сообщение с жидкостным каналом 12, выполненным в клапане 13, когда клапан 13 находится в открытом положении, через отверстие 14 для прохождения жидкости. Стенка 11 снабжена также отверстием 15, предназначенным для прохождения воздуха и имеющим сообщение с кольцеобразным (в поперечном сечении) воздушным каналом 16. Как можно видеть на фиг.1, кольцеобразный (в поперечном сечении) воздушный канал 16 образован внутренней поверхностью внешней стенки 17 клапана 13 и внешней поверхностью внутренней стенки 18 клапана 13, так что кольцеобразный (в поперечном сечении) воздушный канал 16 концентрично расположен вокруг участка жидкостного канала 12, который ведет к воздухозавихрительным каналам 19 в направлении горизонтальной оси 20 распылительного устройства. Клапан 13 установлен с возможностью поворота в полости между стенками 11 и 21 корпуса 1 распылительного устройства.
Сужающимися участками 22 и 23 диска 24 образована полость, заключенная между ними, далее эта полость будет называться смесительной камерой 25. Сужение участков 22 и 23 может быть коническим. Участок жидкостного канала 12, ведущий к смесительной камере 25, расположен в целом горизонтально. Кольцеобразный (в поперечном сечении) воздушный канал 16 концентрично расположен вокруг этого ведущего к смесительной камере 25 горизонтального участка жидкостного канала 12. Сужающиеся участки 22 и 23 выполнены не сходящимися между собой, так что между ними образовано выходное отверстие 26 распылительного сопла смесительной камеры 25.
Диск 24 и клапан 13 расположены в полости между относящимися к клапану стенками 11 и 21 корпуса 1 распылительного устройства. Размеры диска 24 и клапана 13 выбраны таким образом, что обеспечено размещение выступающей части 27 диска 24 внутри клапана. Внешней стенкой 17 клапана 13 образована блокирующая пластинка 28, которая выполнена с возможностью взаимодействия с выемкой 29 в диске 24, так что при повороте диска 24 обеспечен также поворот клапана 13. На корпусе 1 распылительного устройства имеется кромка 30, с помощью которой предотвращено выпадение диска 24 и клапана 13 из корпуса. Размеры этой кромки 30 выбраны таким образом, что обеспечена возможность установки диска 24 и клапана 13 путем их вталкивания за кромку 30. В целях облегчения манипуляции по периметру 31 диска 24 выполнены канавки.
Клапан 13 выполнен с возможностью поворота вокруг его продольной оси между положением высокоплотного распыления и положением полного закрытия. При нахождении клапана 13 в промежуточном положении обеспечена возможность низкоплотного распыления аэрозоля. Как можно видеть на фиг.4 – фиг.7, клапан 13 имеет внешнюю стенку 17, которая соединена с внутренней стенкой 18 посредством ребер 32. Внешняя стенка 17 клапана 13 имеет профилированный вырез 33, предназначенный для регулирования подачи жидкости. Внутренняя стенка 18 клапана 13 имеет профилированный вырез 34, предназначенный для регулирования подачи воздуха. После поворота клапана 13 обеспечено приведение его внешней стенки 17 и внутренней стенки 18 в такое положение, когда ими перекрыты, в большей или меньшей степени, отверстие 15 для прохождения воздуха и отверстие 14 для прохождения жидкости. В полностью закрытом положении профилированные вырезы 33 и 34 во внешней стенке 17 и внутренней стенке 18 клапана 13 не работают. То есть в этом положении сообщение между жидкостным каналом 12 и питающей трубкой 9 полностью перекрыто, так же, как и сообщение между воздушным каналом 16 и отверстием 15. При повороте клапана 13 благодаря наличию во внешней стенке 17 и внутренней стенке 18 профилированных вырезов 33 и 34 соответственно обеспечивается сообщение между питающей трубкой 9 и жидкостным каналом 14, а также между отверстием 15 и воздушным каналом 16. При дальнейшем повороте клапана 13 благодаря форме профилированного выреза 33 во внешней стенке 17 клапана 13 обеспечивается большая степень открытия отверстия 14 для прохождения жидкости с обеспечением тем самым большей степени сообщения между жидкостным каналом 12 и заглубленной трубкой 5. Одновременно с этим благодаря форме профилированного выреза 34 во внутренней стенке 18 клапана 13 обеспечена большая степень перекрывания отверстия 15, предназначенного для прохождения воздуха, внутренней стенкой 18, в результате чего имеет место уменьшение степени сообщения между внутренним пространством емкости 3 и воздушным каналом 16. В результате этого на выходе будет более плотный аэрозоль. Когда клапан 13 приведен в положение приблизительно посередине между полностью открытым и полностью закрытым положениями, отверстие 15 для прохождения воздуха и отверстие 14 для прохождения жидкости будут относительно профилированных вырезов 33 и 34 занимать положения, показанные на фиг.7 пунктиром, при этом аэрозоль на выходе распылительного устройства будет иметь меньшую плотность. В конкретных вариантах осуществления предлагаемого изобретения профилированным вырезам 33 и 34 в стенках 17 и 18 клапана 13 может быть придана другая форма, так чтобы при повороте клапана 13 была обеспечена желаемая плотность аэрозоля на выходе распылительного устройства. В частности, профилирование вырезов в стенках клапана может быть выполнено таким образом, чтобы была обеспечена возможность подачи струи жидкости без воздуха.
Далее работа аэрозольного распылительного устройства по предлагаемому изобретению при его использовании совместно с емкостью со сжимаемыми боковыми стенками будет объясняться с описанием путей прохождения жидкости и воздуха. После сжимания емкости 3 давление внутри нее увеличивается, в результате чего жидкость начинает подниматься вверх по заглубленной трубке 5. Выталкиваемая жидкость проходит через трубку ограниченного диаметра 6 и толкает шарик 8 вверх, который освобождает верхнюю часть трубки ограниченного диаметра 6, открывая тем самым шаровой обратный клапан 7. Теперь жидкость получает свободу прохождения в питающую трубку 9 в направлении жидкостного канала 12. Из жидкостного канала 12 жидкость впрыскивается в смесительную камеру 25 в горизонтальном направлении по направлению к выходному отверстию 26 распылительного сопла. Как можно видеть на фиг.1, жидкостный канал 12 выполнен с сообщением со смесительной камерой 25 в месте, расположенном прямо напротив выходного отверстия 26 распылительного сопла.
После сжимания емкости 3 возросшее давление побуждает также воздух, находящийся в емкости 3 выше уровня жидкости, проходить через отверстие 15 в кольцеобразный (в поперечном сечении) воздушный канал 16. Как можно видеть, расстояние, которое должен пройти воздух до того, как он достигнет смесительной камеры 25, меньше, чем расстояние, которое должно быть пройдено до нее же жидкостью, так что жидкость не может поступить в смесительную камеру 25 раньше, чем воздух. Таким образом, обеспечено выхождение из выходного отверстия 8 распылительного сопла жидкости, только уже перемешанной с воздухом.
Кольцеобразный (в поперечном сечении) воздушный канал 16 выполнен с выхождением в смесительную камеру 25 в горизонтальном направлении и с сообщением со смесительной камерой 25 в месте, расположенном прямо напротив сужающихся или конических участков 22 и 23 смесительной камеры 25. Этими сужающимися участками 22 и 23 обеспечивается отклонение выходящего из кольцеобразного (в поперечном сечении) воздушного канала 16 воздушного потока (также кольцеобразного в поперечном сечении) с направлением его внутрь себя, т.е. к своему центру, под углом от острого до прямого к проходящему внутри него в горизонтальном направлении потоку жидкости из жидкостного канала 12. Таким образом, кольцеобразный (в поперечном сечении) воздушный поток сходится к центру, где смешивается с потоком жидкости в точке, близкой к выходному отверстию 26 распылительного сопла. Создаются такие условия, что поток жидкости становится существенно турбулентным, в результате чего цельность потока разрушается, и происходит эффективное перемешивание жидкости с воздухом. В результате из выходного отверстия 26 распылительного сопла выходит тонкий аэрозоль с круговой и симметричной картиной распыления, при этом имеет место симметричное распределение размеров капелек.
При отпускании емкости 3 она принимает свою первоначальную форму, благодаря тому что в нее через выходное отверстие 26 распылительного сопла будет засасываться атмосферный воздух. В результате прохождения засасываемого через выходное отверстие 26 распылительного сопла атмосферного воздуха имеет место прочистка как самого выходного отверстия 26, так и смесительной камеры 25 после цикла использования распылительного устройства, благодаря чему предотвращается засорение выходного отверстия 26. Это свойство самоочистки распылительной головки по предлагаемому изобретению имеет особое преимущество в случае использования вязких жидкостей, при работе с которыми закупорка выходного отверстия происходит особенно часто.
При отпускании емкости 3 происходит также опускание уровня жидкости ниже питающей трубки 9, в результате чего шарик 8 опускается, закрывая верхний конец трубки ограниченного диаметра 6. Следует заметить, что при закрывании верхнего конца трубки ограниченного диаметра 6 шариком 8 происходит запирание жидкости в заглубленной трубке 5 без дальнейшего опускания ее уровня. Таким образом, при следующем цикле сжимания емкости 3 жидкость в заглубленной трубке 5 будет уже на более высоком уровне, поэтому распыление жидкостно-воздушной смеси произойдет через более короткое время. Таким образом, при использовании предлагаемого изобретения обеспечивается практически мгновенное инициирование распыления, подобно тому, как это имеет место в случае использования емкости, находящейся под повышенным давлением.
В приведенном выше описании предлагаемое изобретение было описано применительно к конкретным примерам его осуществления. Однако среднему специалисту соответствующего профиля должно быть понятно, что возможны различные изменения и модификации, которые соответствуют духу предлагаемого изобретения и не выходят за его объем, который определяется приводимыми ниже пунктами формулы изобретения. Что же касается описания и прилагаемых чертежей, то их следует воспринимать как иллюстративные материалы, которые не следует понимать как ограничивающие.
Формула изобретения
1. Распылительное устройство, используемое с емкостью со сжимаемыми стенками и приводимое в действие при сжимании стенок емкости для выталкивания содержащейся в емкости жидкости вверх по заглубленной трубке и распыления жидкостно-воздушной смеси через распылительное сопло, содержащее емкость со сжимаемыми стенками, содержащую объем жидкости и объем воздуха над поверхностью этой жидкости, заглубленную трубку, расположенную с погружением в объем жидкости, корпус распылительного устройства, включающий гнездо для размещения клапана, клапан, состоящую из сужающихся участков сужающуюся часть, которой образована смесительная камера, причем сужение этой сужающейся части выполнено в направлении к распылительному соплу, выполненному с прохождением сквозь клапан на конце сужающейся части, при этом клапаном образован жидкостный канал, выполненный с прохождением сквозь клапан и с обеспечением сообщения между заглубленной трубкой и смесительной камерой при открытом положении клапана, при этом по меньшей мере часть жидкостного канала расположена в направлении к распылительному соплу и имеет общую с распылительным соплом продольную ось, при этом клапаном образованы профилированный вырез для регулирования подачи жидкости и профилированный вырез для регулирования подачи воздуха, причем с помощью профилированного выреза для регулирования подачи жидкости осуществлено регулирование степени сообщения между заглубленной трубкой и жидкостным каналом, а с помощью профилированного выреза для регулирования подачи воздуха осуществлено регулирование степени сообщения между внутренним пространством емкости и воздушным каналом, при этом клапан и жидкостный канал выполнены с возможностью поворота вокруг продольной оси между закрытым положением, в котором смесительная камера не имеет сообщения с заглубленной трубкой, и открытым положением, в котором соединительная камера имеет сообщение с заглубленной трубкой, воздушный канал, расположенный концентрично вокруг выходящего к распылительному соплу жидкостного канала, при этом с помощью воздушного канала обеспечено сообщение между внутренним пространством емкости над уровнем содержащейся в емкости жидкости и смесительной камерой, а также обеспечено сообщение воздушного канала со смесительной камерой в месте непосредственно напротив сужающейся части корпуса распылительного устройства, причем при закрытом положении клапана смесительная камера не имеет сообщения с внутренним пространством емкости, и с помощью профилированного выреза для регулирования подачи воздуха обеспечено регулирование степени сообщения между внутренним пространством емкости и воздушным каналом, благодаря чему после приведения в действие распылительного устройства с емкостью со сжимаемыми стенками с помощью сужающейся части корпуса обеспечено отклонение потока воздуха из воздушного канала к центру внутрь себя и его столкновение с потоком жидкости из жидкостного канала в смесительной камере с разрушением потока жидкости на мелкие частицы.
2. Распылительное устройство по п.1, которое дополнительно содержит диск, соединенный с клапаном таким образом, что обеспечен их совместный поворот.
3. Распылительное устройство по п.1, в котором емкость включает шейку с удерживающим ободком, а корпус распылительного устройства выполнен с возможностью взаимодействия с этим удерживающим ободком для крепления корпуса распылительного устройства на емкости.
4. Распылительное устройство по п.1, которое дополнительно содержит шаровой обратный клапан, находящийся в жидкостном сообщении с заглубленной трубкой и жидкостным каналом, при этом с помощью шарового обратного клапана обеспечено удержание жидкости в заглубленной трубке после приведения распылительного устройства в действие на уровне выше, чем уровень жидкости в емкости.
5. Распылительное устройство по п.1, в котором форма профилированного выреза для регулирования подачи жидкости выбрана таким образом, что при повороте клапана из полностью закрытого положения в полностью открытое положение обеспечена большая степень сообщения между заглубленной трубкой и жидкостным каналом.
6. Распылительная головка для распылительного устройства, используемого с емкостью со сжимаемыми стенками, содержащая корпус, которым образована полость, при этом в корпусе выполнены отверстие для прохождения воздуха и отверстие для прохождения жидкости, клапан, расположенный в полости, образованной корпусом, при этом в клапане выполнены воздушный канал, жидкостный канал, смесительная камера и выходное отверстие распылительного сопла, а клапан выполнен с возможностью поворота между открытым положением и закрытым положением и содержит профилированное средство, причем при открытом положении распылительного сопла обеспечено сообщение между жидкостным каналом и смесительной камерой и сообщение между воздушным каналом и смесительной камерой, в которой с помощью профилированного средства клапана обеспечено регулирование степени сообщения между отверстием для прохождения воздуха и воздушным каналом и между отверстием для прохождения жидкости и жидкостным каналом.
7. Распылительная головка по п.6, которая дополнительно содержит средство для удержания жидкости в заглубленной трубке после приведения распылительной головки в действие на уровне выше, чем уровень жидкости в емкости.
8. Распылительная головка по п.6, в которой средство для удержания жидкости в заглубленной трубке представляет собой шаровой обратный клапан.
9. Распылительная головка по п.6, в которой профилированное средство включает профилированный вырез для регулирования подачи жидкости и профилированный вырез для регулирования подачи воздуха.
10. Распылительная головка по п.9, в которой форма профилированного выреза для регулирования подачи жидкости выбрана таким образом, что при повороте клапана из закрытого положения в положение, при котором обеспечена большая плотность аэрозоля, обеспечена большая степень сообщения между отверстием для прохождения жидкости и жидкостным каналом.
РИСУНКИ
MM4A – Досрочное прекращение действия патента СССР или патента Российской Федерации на изобретение из-за неуплаты в установленный срок пошлины за поддержание патента в силе
Дата прекращения действия патента: 13.06.2007
Извещение опубликовано: 20.07.2010 БИ: 20/2010
|
|