|
|
(21), (22) Заявка: 2002114813/12, 03.11.2000
(24) Дата начала отсчета срока действия патента:
03.11.2000
(30) Конвенционный приоритет:
05.11.1999 (пп.1-6) FR 99/13922
(43) Дата публикации заявки: 27.03.2004
(45) Опубликовано: 20.07.2005
(56) Список документов, цитированных в отчете о поиске:
US 5775122 A, 07.07.1998. US 2041001 A, 19.05.1936. WO 90/10503 A1,20.09.1990. US 3960523 A, 01.06.1976. US 5273184 A, 03.03.1998.
(85) Дата перевода заявки PCT на национальную фазу:
05.06.2002
(86) Заявка PCT:
FR 00/03073 (03.11.2000)
(87) Публикация PCT:
WO 01/32315 (10.05.2001)
Адрес для переписки:
103735, Москва, ул. Ильинка, 5/2, ООО “Союзпатент”, пат.пов. О.Ф.Ивановой
|
(72) Автор(ы):
ШЕРИСИ Эрнест (FR), БОННО Доминик (FR)
(73) Патентообладатель(и):
РОДИА ШИМИ (FR)
|
(54) ТУННЕЛЬ ДЛЯ БАКТЕРИЦИДНОЙ ОБРАБОТКИ СЕРИИ ПОРЦИЙ ПИЩЕВОГО МЯСА
(57) Реферат:
Настоящее изобретение относится к устройству для распыления жидкого препарата, в частности, раствора тринатрийфосфата и может быть использовано для бактерицидной обработки порций пищевого мяса, в частности, тушек свежезабитой птицы, раствором тринатрийфосфата. При упомянутой бактерицидной обработке возникают экологические проблемы, обусловленные сложностью улавливания фосфорсодержащих стоков в соответствии с ужесточающимися официальными нормами. Для решения этой задачи туннель для бактерицидной обработки серии порций пищевого мяса, такого как тушка птицы, содержит устройство для распыления жидкого препарата, имеющее трубчатую форсунку, открытую с обоих концов, емкость для раствора, подводящий трубопровод, связывающий емкость с нижней частью форсунки, трубопровод сжатого газа-носителя, в частности, сжатого воздуха, врезанный в форсунку рядом с врезом подводящего трубопровода. По меньшей мере одна форсунка не направлена непосредственно на порции пищевого мяса. Жидкий препарат выводится из каждой форсунки в виде тумана, с диаметром капель, в основном, 0,05 мм. Техническим результатом изобретения является исключение возможности их засорения, а малый размер капелек обеспечивает отсутствие риска нарушения сплошности кожи птицы при соударении с ней, и эта кожа не подвергается термическому воздействию. 5 з.п.ф-лы, 8 ил.

Изобретение относится к туннелю для бактерицидной обработки серии порций пищевого мяса, в частности, тушек свежезабитой птицы, раствором тринатрийфосфата.
Наиболее близким аналогом заявленного изобретения является средство, известное из US 2041001, для бактерицидной обработки серии порций пищевого мяса, такого как тушки птицы, содержащее обрабатывающую камеру и, по меньшей мере, одно устройство для распыления жидкого препарата, в частности, раствора тринатрийфосфата.
При упомянутой бактерицидной обработке возникают экологические проблемы, обусловленные сложностью улавливания фосфорсодержащих стоков в соответствии с ужесточающимися официальными нормами.
Для решения названной узловой проблемы при создании способа обработки целью изобретения стало создание в обрабатывающем туннеле тумана из жидкого препарата для эффективного проведения обработки с использованием существенно меньшего количества этого препарата.
Поставленная задача решается посредством туннеля для бактерицидной обработки серии порций пищевого мяса, такого как тушки птицы, содержащего обрабатывающую камеру и, по меньшей мере, одно устройство для распыления жидкого препарата, в частности, раствора тринатрийфосфата, в котором согласно изобретению, указанное устройство для распыления содержит трубчатую форсунку, открытую с обоих концов, емкость для раствора, подводящий трубопровод, соединяющий емкость с нижней частью форсунки, трубопровод сжатого газа-носителя, в частности, сжатого воздуха, врезанный в форсунку рядом с врезом подводящего трубопровода, при этом, по меньшей мере, одна форсунка не направлена непосредственно на порции пищевого мяса, а жидкий препарат выводится из каждой форсунки (28) в виде тумана, с диаметром капель, в основном, 0,05 мм.
Предпочтительным является то, что устройство для распыления содержит, по меньшей мере, два узла, каждый из которых состоит из трубчатой форсунки, подводящего трубопровода и трубопровода сжатого воздуха, и емкость для раствора, общую для этих узлов.
Целесообразным является то, что устройство для распыления содержит средства для подачи избыточного количества распыляемой жидкости в емкость, причем эта емкость имеет сливное отверстие, и указанная емкость выполнена в виде трубопровода, постоянно находящегося под давлением с помощью сливного отверстия.
Устройство для распыления содержит средства подогрева жидкого препарата, содержащегося в емкости.
Предпочтительным является то, что туннель содержит средства подогрева газа-носителя.
Ниже описывается пример осуществления изобретения со ссылкой на приложенные чертежи, на которых изображают:
– фиг.1 – схематически туннель для обработки согласно изобретению, вид с торца;
– фиг.2 – устройство для распыления, предназначенное для указанного туннеля, в продольном разрезе и увеличенном масштабе;
– фиг.3, 5 и 7 – схематическое расположение устройств для распыления соответственно на входе, посередине и на выходе туннеля в уменьшенном масштабе,
вид с торца, и
– фиг.4, 6 и 8 – схематические частичные проекции, соответствующие фиг.3, 5 и 7, с продольным сечением.
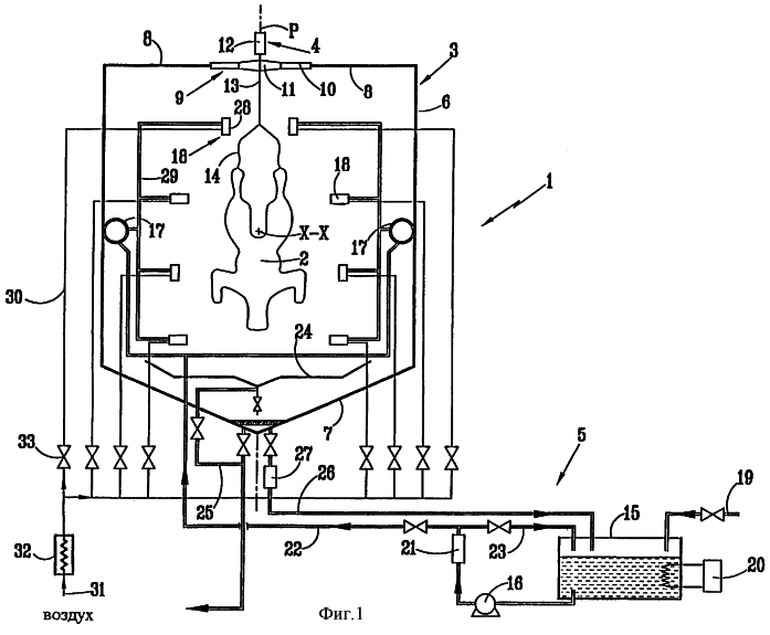
Изображенный на фиг.1 и 3-8 туннель предназначен для проведения непрерывной бактерицидной обработки серии порций пищевого мяса 2 в виде тушек птицы раствором тринатрийфосфата. Он содержит главным образом обрабатывающую камеру 3 вытянутой формы с общей горизонтальной осью Х-X, транспортер 4 и средства 5 для создания тумана из раствора тринатрийфосфата внутри камеры 3.
Камера 3, расположенная симметрично продольной серединной вертикальной плоскости Р, содержит в основном две боковые стенки 6, нижнее желобообразное днище 7 и верхнюю стенку 8. Последняя содержит продольную щель, выполненную в центральной части плоскости Р и снабженную верхним герметизирующим приспособлением 9, установленным по всей длине туннеля. Указанное приспособление 9 содержит на каждой стороне плоскости Р горизонтальный стержень 10, выполненный в виде прутка, закрепленный на верхнем примыкающем крае щели, и щетку 11, установленную около этого прутка и ориентированную в направлении к плоскости Р. Щетина обеих щеток 11 располагается на уровне преимущественно нескольких сантиметров и в зоне плоскости Р имеет взаимное проникание.
Транспортер 4 содержит бесконечную ленту, нижняя ветвь 12 которой проходит непосредственно над приспособлением 9 в плоскости Р. С этой ленты свисают тросы или подвесные стержни 13, оканчивающиеся крюками 14 для предметов 2, в виде тушек.
Средства 5 для создания тумана в камере 3 содержат в основном бак 15 под раствор тринатрийфосфата, средство 16 для подачи избыточного количества распыляемой жидкости, выполненное в виде насоса, две емкости 17, выполненные в виде питающих резервуаров, и восемь устройств 18 для распыления в виде распылительных форсунок. Бак 15 имеет отверстие 19 для впуска резервного раствора тринатрийфосфата и оборудован устройством 20 для подогрева раствора до заданной температуры, как правило, порядка 90°С. Средство 16 для подачи избыточного количества распыляемой жидкости, выполненное в виде насоса, производит всасывание у днища бака и нагнетает через фильтр 21 очистки от сгустков в средство 22 для подачи избыточного количества распыляемой жидкости, выполненное в виде подводящего трубопровода емкостей 17, выполненных в виде питающих резервуаров, или в трубопровод 23 для подачи раствора в бак для рециркуляции. Над днищем 7 камеры 3 и по всей длине последней располагается желоб 24 для сбора обрабатывающей жидкости, стекающей в виде капель с предметов 2, в виде тушек. От днища этого желоба проложен трубопровод 25 для отвода указанных жидких отходов к не представленной обрабатывающей позиции.
Продольные края желоба 24 выполнены по бокам с промежутком по отношению к боковым стенкам 6 камеры. В результате стекающая по этим стенкам жидкость попадает на днище 7 и накапливается в его нижней точке, от которой проложен до бака 15 трубопровод 26 рециркулирования, оборудованный фильтром 27 очистки от сгустков.
Каждое из устройств 18 распыления (фиг.1 и 2) содержит трубчатую форсунку 28, открытую с обоих концов; в основном посередине форсунки и в ее нижней точке врезан трубопровод 29, соединенный с одной из двух емкостей 17, выполненных в виде питающих резервуаров. Кроме того внутрь каждой форсунки заведен трубопровод 30 сжатого воздуха, который врезан в форсунку рядом с врезом трубопровода 29.
На фиг.1 схематически представлен одинарной линией контур сжатого воздуха: общий подводящий трубопровод 31 проходит через подогреватель 32 и затем разделяется на столько трубопроводов 30, сколько имеется форсунок 28. Каждый трубопровод 30 оснащен регулировочным клапаном 33.
Как схематично представлено на фиг.2, каждая емкость 17, выполненная в виде питающего резервуара, оканчивается выступающей частью 34 со сливным отверстием 35.
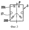
На фиг.3-8 наглядно изображен пример расположения форсунок 28:
– емкости 17, выполненные в виде питающих резервуаров, представляют собой горизонтальные трубы, уложенные вдоль стенок 6 камеры, в основном, на уровне центральной оси Х-Х камеры;
– на входе камеры 3 (фиг.3 и 4) предусмотрено наличие:
с одной стороны, двух верхних форсунок 28 А, направленных, по существу, вертикально вниз, по обеим сторонам плоскости Р и с промежутком, соответствующим, по существу, ширине предметов 2, в виде тушек;
с другой стороны, двух нижних форсунок 28В, направленных под углом 45°, как при виде с торца (фиг.3), так и при виде сбоку (фиг.4), таким образом, чтобы оси обеих форсунок скрещивались на оси Х-Х внутри камеры и на некотором расстоянии от входа в последнюю;
– приблизительно посередине камеры 3 предусмотрено наличие двух верхних форсунок 28С, расположенных подобно форсункам 28А, и
– на выходе из камеры предусмотрено наличие двух нижних форсунок 28D, расположенных аналогично форсункам 28В, но при виде сбоку (фиг.8) они направлены внутрь камеры.
Описанная выше установка содержит кроме того и традиционные средства управления и регулирования, которые не представлены.
Во время работы сжатый воздух, нагретый в подогревателе 32 до температуры примерно 85°С, всасывает под действием эффекта Вентури в каждую форсунку раствор тринатрийфосфата, поступающий в нее по подключенному трубопроводу 29. Поскольку емкости 17, выполненные в виде питающих резервуаров, постоянно находятся под постоянным давлением посредством сливного отверстия 35, то путем простой регулировки клапанов 33 легко устанавливается требуемый расход раствора на выходе каждой форсунки 28.
Раствор тринатрийфосфата поступает из каждой форсунки 28 в виде тумана, капельки которого имеют диаметр порядка 0,05 мм, при этом потоки воздух-носителя вызывают турбулентность во внутренней атмосфере камеры 3. В результате достигается удовлетворительная обработка серии порций пищевого мяса 2, в виде тушек, как по их наружной поверхности, так и внутри их отверстия для удаления внутренностей, при особо незначительном расходе раствора. Благодаря этому становится возможным уменьшить соответствующим образом количество фосфорсодержащих жидких отходов установки, тем более, что по желобу 24 и трубопроводу 25 отводится только раствор, который действительно поступил на тушки и не был ими захвачен.
Необходимо отметить, что подогрев раствора в баке 15 позволяет оптимизировать бактерицидную обработку и что подогрев сжатого воздуха для распыления компенсирует охлаждение, происходящее вследствие его расширения при прохождении через форсунки. В целом капельки раствора тринатрийфосфата поступают на тушки при температуре примерно 70°С,
Кроме того, конструкция форсунок 28 исключает практически полностью возможность их засорения, а малый размер капелек обеспечивает двойное преимущество, выражающееся в том, что, во-первых, отсутствует риск нарушения сплошности кожи птицы при соударении с ней и, во-вторых, эта кожа не подвергается термическому воздействию.
В качестве варианта выполнения возможны и другие расположения форсунок 28 внутри камеры 3, некоторые из форсунок могут быть не направлены непосредственно на порции пищевого мяса 2, в виде тушек. Это схематично представлено на фиг.1 для четырех нижних форсунок.
Формула изобретения
1. Туннель для бактерицидной обработки серии порций пищевого мяса (2), такого как тушки птицы, содержащий обрабатывающую камеру (3) и по меньшей мере одно устройство (18) для распыления жидкого препарата, в частности раствора тринатрийфосфата, отличающийся тем, что указанное устройство для распыления содержит трубчатую форсунку (28), открытую с обоих концов, емкость (17) для раствора, подводящий трубопровод (29), соединяющий емкость с нижней частью форсунки, трубопровод (30) сжатого газа-носителя, в частности сжатого воздуха, врезанный в форсунку рядом с врезом подводящего трубопровода, при этом по меньшей мере одна форсунка (28) не направлена непосредственно на порции пищевого мяса, а жидкий препарат (17) выводится из каждой форсунки (28) в виде тумана с диаметром капель, в основном, 0,05 мм.
2. Туннель по п.1, отличающийся тем, что устройство (18) для распыления содержит по меньшей мере два узла, каждый из которых состоит из трубчатой форсунки, подводящего трубопровода и трубопровода сжатого воздуха, и емкость (17) для раствора, общую для этих узлов.
3. Туннель по п.1 или 2, отличающийся тем, что устройство (18) для распыления содержит средства (16,22) для подачи избыточного количества распыляемой жидкости в емкость (17), причем эта емкость имеет сливное отверстие (35).
4. Туннель по п.3, отличающийся тем, что емкость (17) выполнена в виде трубопровода, постоянно находящегося под давлением с помощью сливного отверстия (35).
5. Туннель по любому из пп.1-4, отличающийся тем, что устройство (18) для распыления содержит средства (20) подогрева жидкого препарата, содержащегося в емкости (17).
6. Туннель по любому из пп.1-5, отличающийся тем, что устройство (18) для распыления содержит средства (32) подогрева газа-носителя.
РИСУНКИ
MM4A – Досрочное прекращение действия патента СССР или патента Российской Федерации на изобретение из-за неуплаты в установленный срок пошлины за поддержание патента в силе
Дата прекращения действия патента: 04.11.2007
Извещение опубликовано: 20.07.2010 БИ: 20/2010
|
|