|
| На основании пункта 3 статьи 13 Патентного закона Российской Федерации от 23 сентября 1992 г. № 3517-I патентообладатель обязуется передать исключительное право на изобретение (уступить патент) на условиях, соответствующих установившейся практике, лицу, первому изъявившему такое желание и уведомившему об этом патентообладателя и федеральный орган исполнительной власти по интеллектуальной собственности, – гражданину РФ или российскому юридическому лицу. |
|
(21), (22) Заявка: 2004117818/15, 15.06.2004
(24) Дата начала отсчета срока действия патента:
15.06.2004
(45) Опубликовано: 20.07.2005
(56) Список документов, цитированных в отчете о поиске:
ГОРДОН Г.М. и др. Пылеулавливание и очистка газов. М.: Металлургия, 1968, с.186-187. SU 631217 A, 20.11.1978. SU 1343200 A1, 07.10.1987. FR 2331382 A1, 10.06.1977. GB 2274790 А, 10.08.1994.
Адрес для переписки:
123458, Москва, ул. Твардовского, 11, кв.92, О.С. Кочетову
|
(72) Автор(ы):
Кочетов О.С. (RU), Кочетова М.О. (RU), Ходакова Т.Д. (RU)
(73) Патентообладатель(и):
Кочетов Олег Савельевич (RU), Кочетова Мария Олеговна (RU), Ходакова Татьяна Дмитриевна (RU)
|
(54) ЦИКЛОН
(57) Реферат:
Изобретение относится к технике пылеулавливания и может применяться в химической, текстильной, пищевой, легкой и других отраслях промышленности для очистки запыленных газов. Циклон содержит корпус, состоящий из цилиндрической и конических частей, и расположенный в его верхней части периферийный ввод газового потока и выходной патрубок очищенного газа. Периферийный ввод газового потока выполнен в виде входного патрубка, ось которого направлена под углом к оси корпуса и по касательной к поверхности выходного патрубка. Сверху цилиндрического корпуса расположена винтообразная крышка, а на одном из концов выходного патрубка очищенного газа закреплен фильтрующий элемент. Технический результат: повышение эффективности и надежности процесса пылеулавливания, а также снижение металлоемкости и виброакустической активности аппарата в целом. 13 з.п. ф-лы, 2 ил.

Изобретение относится к технике пылеулавливания и может применяться в химической, текстильной, пищевой, легкой и других отраслях промышленности для очистки запыленных газов.
Наиболее близким техническим решением к заявляемому объекту является циклон (см. кн.: Гордон Г.М. и др. Пылеулавливание и очистка газов, М., Металлургия, 1968 г., стр.186-187), содержащий корпус, периферийный ввод газового потока, выполненный в виде входного патрубка, винтообразную крышку, бункер и выходной патрубок для выхода очищенного газа, причем ось входного патрубка направлена под углом к оси корпуса и по касательной к поверхности выходного патрубка.
Недостатком прототипа является сравнительно невысокая эффективность процесса пылеулавливания за счет отсутствия фильтрующего элемента на выходе, а также увеличенная металлоемкость и виброакустическая активность аппарата в целом.
Технический результат предлагаемого изобретения – повышение эффективности и надежности процесса пылеулавливания, а также снижение металлоемкости и виброакустической активности аппарата в целом.
Это достигается тем, что в циклоне, содержащем корпус, состоящий из цилиндрической и конических частей и расположенный в его верхней части периферийный ввод газового потока и выходной патрубок очищенного газа, периферийный ввод газового потока выполнен в виде входного патрубка, ось которого направлена под углом к оси корпуса и по касательной к поверхности выходного патрубка, причем сверху цилиндрического корпуса расположена винтообразная крышка, а на одном из концов выходного патрубка очищенного газа закреплен фильтрующий элемент.
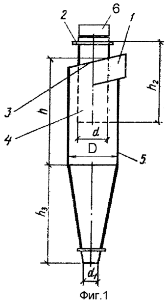
На фиг.1 изображен общий вид циклона, на фиг.2 – вид сверху.
Циклон содержит входной патрубок 1 и выходной патрубок 2, винтообразную крышку 3, выхлопную трубу 4 и цилиндрическую часть корпуса 5. На выходном патрубке 2 закреплен фильтрующий элемент 6.
Циклон работает следующим образом.
Запыленный газовый поток поступает в циклон через патрубок 1, закручивается за счет тангенциального периферийного ввода и движется далее по нисходящей винтовой линии вдоль стенок аппарата. В результате чего частицы пыли под действием центробежной силы движутся от центра аппарата к периферии и, достигая стенок аппарата, транспортируются вниз в коническую часть корпуса для сбора уловленной пыли. Очищенный воздух выводится из циклона через выходной патрубок 2. При этом легкие, мелкодисперсные фракции частиц пыли, не уловленные в коническую часть корпуса, задерживаются на фильтрующем элементе 6, при этом происходит снижение виброакустической энергии, так как фильтрующий элемент 6 одновременно является аэродинамическим глушителем шума активного (сорбционного) типа. Процесс пылеулавливания протекает в оптимальном гидродинамическом режиме при следующих соотношениях основных конструктивных параметров предлагаемого устройства:
– отношение диаметра цилиндрической части корпуса к диаметру выходного патрубка очищенного газа находится в оптимальном интервале величин: D/d=1,5…1,9;
– отношение диаметра цилиндрической части корпуса к меньшему диаметру усеченного конуса конической части корпуса находится в оптимальном интервале величин: D/d1=3,2…3,5;
– отношение диаметра выходного патрубка очищенного газа к меньшему диаметру усеченного конуса конической части корпуса находится в оптимальном интервале величин: d/d1=1,9…2,1;
– отношение высоты цилиндрической части корпуса к высоте конической части корпуса находится в оптимальном интервале величин: h/h3=1,0…1,1;
– отношение высоты цилиндрической части корпуса к высоте выходного патрубка очищенного газа находится в оптимальном интервале величин: h/h2=1,1…1,3;
– отношение высоты цилиндрической части корпуса к диаметру цилиндрической части корпуса находится в оптимальном интервале величин: h/D=2,0…2,2;
– отношение длины горизонтальной проекции входного патрубка к расстоянию от внешней стороны этой проекции до оси корпуса находится в оптимальном интервале величин: Б/Б1=1,1…1,3.
Фильтрующий элемент 6 может быть выполнен в виде тела вращения, ось которого совпадает с осью выходного патрубка очищенного газа, например цилиндра, конуса, усеченного конуса, полушария или в виде поверхности, образованной вращением вокруг оси, совпадающей с осью выходного патрубка очищенного газа, например П-образного профиля или полуокружности (т.е. в виде полусферы), что увеличивает его площадь фильтрации и звукопоглощения. Гидравлическое сопротивление фильтрующего элемента составляет 15…25% от гидравлического сопротивления всего аппарата, а материал фильтрующего элемента обладает повышенными звукопоглощающими свойствами.
Для снижения виброакустической активности аппарата и его металлоемкости, а также повышения его надежности в предлагаемом устройстве предусмотрены следующие мероприятия:
– детали циклона выполнены из конструкционных композиционных или полимерных материалов, например полиэтилена, капрона, полиуретана с помощью литья, штамповки, формования;
– винтообразные элементы деталей циклона изготовлены способами пластической деформации, например выдавливания или накатки на оборудовании, имеющем винтообразное формообразующее движение;
– на винтообразные элементы деталей циклона и поверхности, контактирующие с запыленным газовым потоком, нанесен износостойкий слой, например способами напыления или с применением гальванического оборудования;
– на поверхности деталей нанесен слой мягкого вибродемпфирующего материала, например мастики ВД-17, причем соотношение между толщиной металла и вибродемпфирующего покрытия находится в оптимальном интервале величин: 1/(2,5…4);
– детали циклона выполнены армированными или слоистыми, причем поверхности слоев, соприкасаемые с движущимся газовым потоком, выполнены из материалов, обладающих повышенной износостойкостью и антифрикционными свойствами, а свойства материала арматуры подобраны из условия снижения виброакустической активности аппаратов;
– детали винтообразных поверхностей циклона выполнены армированными путем формования или заливки винтообразных износостойких элементов в корпусные детали или крышки.
Формула изобретения
1. Циклон, содержащий корпус, периферийный ввод газового потока, выполненный в виде входного патрубка, винтообразную крышку, бункер и выходной патрубок для выхода очищенного газа, причем ось входного патрубка направлена под углом к оси корпуса и по касательной к поверхности выходного патрубка, отличающийся тем, что на конце выходного патрубка очищенного газа закреплен фильтрующий элемент, выполненный в виде тела вращения, ось которого совпадает с осью выходного патрубка очищенного газа, например цилиндра, конуса, усеченного конуса, полушария или в виде поверхности, образованной вращением вокруг оси, совпадающей с осью выходного патрубка очищенного газа, например П-образного профиля или полуокружности, причем гидравлическое сопротивление фильтрующего элемента составляет 15÷25% от гидравлического сопротивления всего аппарата, а материал фильтрующего элемента обладает повышенными звукопоглощающими свойствами.
2. Циклон по п.1, отличающийся тем, что отношение диаметра цилиндрической части корпуса к диаметру выходного патрубка очищенного газа находится в оптимальном интервале величин D/d=1,5÷1,9.
3. Циклон по п.1, отличающийся тем, что отношение диаметра цилиндрической части корпуса к меньшему диаметру усеченного конуса конической части корпуса находится в оптимальном интервале величин D/d1=3,2÷3,5.
4. Циклон по п.1, отличающийся тем, что отношение диаметра выходного патрубка очищенного газа к меньшему диаметру усеченного конуса конической части корпуса находится в оптимальном интервале величин d/d1=1,9÷2,1.
5. Циклон по п.1, отличающийся тем, что отношение высоты цилиндрической части корпуса к высоте конической части корпуса находится в оптимальном интервале величин h/h3=1,0÷1,1.
6. Циклон по п.1, отличающийся тем, что отношение высоты цилиндрической части корпуса к высоте выходного патрубка очищенного газа находится в оптимальном интервале величин h/h2=1,1÷1,3.
7. Циклон по п.1, отличающийся тем, что отношение высоты цилиндрической части корпуса к диаметру цилиндрической части корпуса находится в оптимальном интервале величин h/D=2,0÷2,2.
8. Циклон по п.1, отличающийся тем, что отношение длины горизонтальной проекции входного патрубка к расстоянию от внешней стороны этой проекции до оси корпуса находится в оптимальном интервале величин Б/Б1=1,1÷1,3.
9. Циклон по п.1, отличающийся тем, что детали циклона выполнены из конструкционных композиционных или полимерных материалов, например полиэтилена, капрона, полиуретана с помощью литья, штамповки, формования.
10. Циклон по п.1, отличающийся тем, что винтообразные элементы деталей циклона изготовлены способами пластической деформации, например выдавливания или накатки на оборудовании, имеющем винтообразное формообразующее движение.
11. Циклон по п.1, отличающийся тем, что на винтообразные элементы деталей циклона и поверхности, контактирующие с запыленным газовым потоком, нанесен износостойкий слой, например, способами напыления или с применением гальванического оборудования.
12. Циклон по п.1, отличающийся тем, что на поверхности деталей нанесен слой мягкого вибродемпфирующего материала, например мастики ВД-17, причем соотношение между толщиной металла и вибродемпфирующего покрытия находится в оптимальном интервале величин 1/(2,5÷4).
13. Циклон по п.1, отличающийся тем, что детали циклона выполнены армированными или слоистыми, причем поверхности слоев, соприкасаемые с движущимся газовым потоком выполнены из материалов, обладающих повышенной износостойкостью и антифрикционными свойствами, а свойства материала арматуры подобраны из условия снижения виброакустической активности аппаратов.
14. Циклон по п.1, отличающийся тем, что детали винтообразных поверхностей циклона выполнены армированными путем формования или заливки винтообразных износостойких элементов в корпусные детали или крышки.
РИСУНКИ
|
|