|
(21), (22) Заявка: 2002109584/12, 14.09.2000
(24) Дата начала отсчета срока действия патента:
14.09.2000
(30) Конвенционный приоритет:
14.09.1999 (пп.1-17) FR 99/11474
(43) Дата публикации заявки: 20.11.2003
(45) Опубликовано: 20.07.2005
(56) Список документов, цитированных в отчете о поиске:
US 4478613 A, 23.10.1984. US 5787704 A, 04.08.1998. US 5492677 A, 20.02.1996. US 4871515 A, 03.10.1989. EP 0367587 A2, 09.05.1990. RU 2120039 C1, 10.10.1998.
(85) Дата перевода заявки PCT на национальную фазу:
15.04.2002
(86) Заявка PCT:
FR 00/02549 (14.09.2000)
(87) Публикация PCT:
WO 01/19525 (22.03.2001)
Адрес для переписки:
103735, Москва, ул.Ильинка, 5/2, ООО “Союзпатент”, пат.пов. Л.И.Ятровой
|
(72) Автор(ы):
ТЕБУЛ Даниель (FR)
(73) Патентообладатель(и):
ТЕБУЛ Даниель (FR)
|
(54) УСТРОЙСТВО ОЧИСТКИ ГАЗОВОЙ СРЕДЫ С ЧАСТИЦАМИ И ТРАНСПОРТНОЕ СРЕДСТВО, ОСНАЩЕННОЕ УСТРОЙСТВОМ ОЧИСТКИ
(57) Реферат:
Изобретение относится к очистке газовой среды, содержащей загрязняющие компоненты, в частности, отработанных газов двигателей внутреннего сгорания. Предложенное устройство содержит, по меньшей мере, один коронирующий электрофильтр с устройством отвода выбросов и собирающим устройством. Согласно изобретению собирающее устройство содержит множество полостей для улавливания частиц газовой среды, такой, как отработанные газы двигателя внутреннего сгорания. Устройство отвода выбросов представляет собой множество зубчатых пластин, таких, как звезды для подключения к цепи высокого напряжения. Предпочтительно, чтобы собирающее устройство содержало сепаратор, выполненный в виде переплетения из металлической проволоки. Оптимально, чтобы данное устройство содержало катализатор окисления и/или механический, непрерывно регенерируемый фильтр, и/или средства всасывания. Устройство является компактным, недорогим и технологичным. 2 н. и 15 з.п. ф-лы, 3 ил.

Настоящее изобретение относится к очистке газовой среды, содержащей частицы, в частности твердые, жидкие или газообразные загрязняющие компоненты или примеси, такой, как отработанные газы двигателя внутреннего сгорания.
Специальным, но не ограничивающим применение, является очистка отработанных газов дизельного двигателя.
Загрязняющие компоненты выхлопов содержат в себе:
– углеродные составляющие: СО, СО2;
– азотные соединения: NO, NO2 (называемые обычно окислами азота NOx)… ;
– органические соединения, такие, как углеводороды (НС)… ;
– серосодержащие соединения: SO2, SО3… ;
– органические частицы;
– и пр.
Выбросы в виде органических частиц присущи главным образом дизельным двигателям, они состоят из углеродного материала (сажи), адсорбировавшего разные виды органических веществ (растворимая органическая фракция).
В прошлом уже было предложено множество способов и устройств для очистки отработанных газов двигателя внутреннего сгорания.
Известно, в частности, применение катализатора окисления со сплошным или состоящим из частиц носителем, предназначенного, в частности, для окисления СО и несгоревших углеводородов.
Для частиц в выхлопах дизельных двигателей имеются также регенерируемые системы улавливания.
Также известны устройства очистки отработавших газов, в которых используются коронирующие электрофильтры, в частности, это известно из материалов ЕР-А-0299 197 (US-A-4871515) и US-A-4478613.
Известные из этих материалов устройства работают по разным принципам. Действительно в устройстве, объекте изобретения первого из указанных обоих материалов, частицы улавливаются собирающим устройством, а во втором устройстве, раскрытом во втором материале, частицы образуют скопления на собирающем устройстве, которые затем отделяются от этой поверхности и увлекаются циркулирующим в устройстве газовым потоком до того, как они будут выделены из этого потока механическим сепаратором.
Целью изобретения является усовершенствование известных устройств очистки, в частности, для повышения их эффективности.
Также его целью является создание устройства очистки, которое было бы компактным, недорогим и технологичным.
Для этого предлагается устройство очистки газовой среды с частицами, оснащенное по меньшей мере, одним коронирующим электрофильтром, содержащее:
– продольный корпус;
– продольный канал для пропуска газов, выполненный в корпусе, оба противоположенных конца которого примыкают соответственно к впускному и выпускному отверстиям для газов электрофильтра;
– устройство отвода выбросов, расположенное продольно и существенно по центру канала;
– собирающее устройство, расположенное продольно между каналом и корпусом и содержащее множество полостей, образующих камеры для улавливания частиц газовой среды;
отличающееся тем, что устройство отвода выбросов содержит множество зубчатых пластин, расположенных поперечно продольному направлению канала и образующих вершины, направленные в сторону собирающего устройства.
Благодаря такому устройству очистки решаются упомянутые выше задачи. Данное устройство оказалось особо эффективным, в частности, с точки зрения сбора частиц, как это будет показано более подробно ниже.
Для обеспечения эффективности сбора и удобства выполнения зубчатых пластин последние выполнены в виде звезд для подключения к цепи стабилизированного высокого напряжения (несколько кВ).
Может также применяться, например, диск с центральной выемкой в виде звезды.
Между указанными звездами могут располагаться элементы с другими геометрическами формами, выполненные сплошными или перфорированными и содержащие предпочтительно множество вершин, ориентированных в сторону собирающего устройства. Элементами с такими геометрическими формами могут быть, например, диски или венцы с отверстиями разного диаметра.
Возможным вариантом выполнения цепи стабилизированного высокого напряжения может служить преобразователь или трансформатор напряжения от 0 до 15 кВ, регулируемый с помощью вариатора.
Предпочтительно, чтобы подводимое напряжение было отрицательным и превышало около 6 кВ.
Также для обеспечения эффективности собирающее устройство содержит, предпочтительно, сепаратор или улавливающий мат из переплетения из металлической проволоки.
Согласно предпочтительному варианту выполнения металлический мат имеет зигзагообразную структуру для облегчения проникания частиц внутрь переплетения.
В качестве подварианта выполнения можно применять также, например, собирающее устройство с канавками, продольными и кольцевыми выемками.
Согласно предпочтительному варианту выполнения сепаратор выполнен цилиндрической формы и охватывает зубчатые пластины устройства отвода выбросов, расположенные в линию по оси цилиндра собирающего устройства.
Оптимально в данном случае монтировать устройство отвода выбросов и собирающее устройство на несущей конструкции, вместе с которой они образуют сменный фильтрующий элемент устройства очистки.
В устройстве очистки впускное и выпускное газовые отверстия расположены поперечно продольному каналу для пропуска этих газов, зубчатые пластины предпочтительно располагать на стержне, подключенном к цепи высокого напряжения и опирающимся своими концами на изолятор, защищенный колпаком.
Для повышения эффективности сбора частиц целесообразно оборудовать устройство очистки вторым отдельным электрофильтром, содержащим металлические звезды, расположенные на поверхности перфорированного металлического диска, подключенного к цепи стабилизированного высокого напряжения и расположенного за цилиндрическим сепаратором, выполненным в виде переплетения из металлической проволоки.
Для очистки от загрязняющих газовых компонентов предпочтительно, чтобы устройство очистки содержало также катализатор окисления со сплошным носителем, расположенный за электрофильтром или электрофильтрами.
Это устройство очистки может также содержать механический фильтр, расположенный за электрофильтром или электрофильтрами, и, при необходимости, катализатор окисления, например, для задержания масляных эмульсий при использовании фильтра пылеотделения, например, ударного типа в виде перевернутой буквы V.
Благодаря оригинальной конфигурации механический фильтр содержит фильтр с металлическими ячейками, т.е. фильтр с переплетением из металлической проволоки или с металлическим переплетением, обеспечивающий принудительное пропускание газовой среды, попадающей в устройство ее очистки, и подсоединенный к электрическому резистору, предназначенному для повышения температуры газовой среды.
Такое фильтрующее устройство позволяет довести температуру газовой среды до рабочей температуры катализатора окисления. Но главным образом оно позволяет выполнить устройство очистки особо компактным, обеспечивая при этом дожигание задержанных фильтром частиц. В результате снижается количество частиц, улавливаемых электрофильтром или электрофильтрами, и, следовательно, становится возможным уменьшить размеры устройства очистки.
В данном устройстве очистки может быть выполнено впускное отверстие для окисляющего воздуха и/или впускное отверстие для очищающего воздуха.
Для предупреждения явлений противодавления, неблагоприятно влияющих на работу двигателя внутреннего сгорания и присущих такому устройству, последний может быть, кроме того, оборудован средствами всасывания, расположенными перед электрофильтром или электрофильтрами.
Согласно предпочтительному варианту выполнения устройство очистки содержит, кроме того, по меньшей мере, один цилиндрический корпус для размещения электрофильтра или электрофильтров и, при необходимости, катализатора окисления и/или механического фильтра.
Настоящее изобретение относится также к транспортному средству, оснащенному устройством очистки, таким, как охарактеризовано выше.
Другие предметы настоящего изобретения, его признаки и преимущества содержатся в приводимом ниже описании со ссылками на чертежи, на которых изображают:
фиг.1 – принципиальную схему устройства очистки отработавших газов согласно предпочтительному варианту осуществления настоящего изобретения,
фиг.2 – принципиальную схему многоуровневого устройства очистки отработавших газов согласно другому варианту осуществления настоящего изобретения,
фиг.3 – схему, иллюстрирующую оборудование автомобиля устройством согласно фиг.2.
Перед описанием фигур коротко напомним принцип действия коронирующего электрофильтра.
Такой электрофильтр основан на сочетании из заряженных под действием ионов частиц и частиц, собранных под действием местного электрического поля. Энергия для такого явления возбуждения и ионизации может обеспечиваться за счет электромагнитного излучения или передачи кинетической энергии посредством ударов.
Коронирующий эффект соответствует ионизации газа в том случае, когда электрическое поле достигает градиента пробоя.
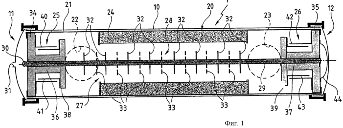
Устройство 1 очистки отработанных газов двигателя внутреннего сгорания, изображенное на фиг.1, содержит, по меньшей мере, один продольный цилиндрический корпус 10, закрытый на своих концах крышками 11 и 12, внутри которого размещен фильтрующий элемент 20 с коронирующим электрофильтром.
Фильтрующий элемент 20 содержит цилиндрическую коробку 21 из перфорированного металлического листа, служащую корпусом фильтрующего элемента. Два диаметрально расположенных отверстия 22 и 23 выполнены в указанной коробке 21 и предназначены для впуска и выпуска газов из фильтрующего элемента 20. Отверстия 22 и 23 сообщаются с соответствующими каналами для впуска и выпуска газов из корпуса 10. Каждое отверстие 22, 23 расположено, кроме того, в продольном направлении фильтрующего элемента 20 между собирающим устройством 24 и изолятором 25, 26, несущим на себе устройство 27 отвода выбросов коронирующего электрофильтра.
Собирающее устройство 24 выполнено в виде переплетения из металлической проволоки, являющегося целостным элементом и охватывающего устройство 27 отвода выбросов на участке между обоими отверстиями 22 и 23. Таким образом оно ограничивает продольный цилиндрический канал 28 для пропуска газов, оба противоположенных конца которого примыкают к обоим отверстиям 22, 23. Металлическое переплетение собирающего устройства 24 содержит, кроме того, множество полостей, которые образуют камеры для улавливания частиц газовой среды, проходящей через канал 28, что более подробно представлено ниже.
Кроме того указанное переплетение, благодаря своей зигзагообразной структуре, позволяет облегчить проникание частиц в толщу переплетения.
Устройство 27 отвода выбросов содержит центральный стержень 29, расположенный вдоль линии оси и опирающийся на изоляторы 25, 26, через которые он проходит. Он содержит на одном из своих концов зажим 30 для подключения к цепи стабилизированного высокого напряжения (на фиг.1 не показана), содержащей преобразователь для получения отрицательного напряжения от 0 до 15 кВ, регулируемый посредством вариометра. Преобразователь подключается к аккумуляторной батареи транспортного средства, на котором установлено устройство 1 очистки.
Отверстие 31 в крышке 11 позволяет пропустить кабель для подключения зажима 30 к цепи высокого напряжения. Коробка 21 и, следовательно, собирающее устройство 24 заземлены.
В варианте осуществления, представленном на фиг.1, зубчатые пластины, которые образуют элементы для отвода выбросов и установлены на стержне 29, выполнены в виде нескольких металлических звезд 32, т.е. сплошного центрального несущего элемента, снабженного по периметру треугольными лучами, ориентированными в сторону собирающего устройства 24. Звезды 32 расположены поперечно продольному направлению канала 28, причем первая из них находится напротив отверстия 22 для впуска газов. Количество лучей звезды при этом восемь.
Кроме того звезды 32 чередуются с дисками или металлическими венцами 33 с отверстиями разного диаметра. Эти диски или венцы 33 имеют диаметр, одинаковый с диаметром звезд 32, и установлены на стержне 29 таким образом, чтобы располагаться поперечно продольному направлению канала 28.
Изоляторы 25, 26 выполнены из стеклокерамики, каждый из них содержит концевой диск 34, 35, перекрывающий отверстия в коробке 21 на ее обоих продольных концах. Центральная трубчатая часть 36, 37 охватывает стержень 29 и служит продолжением соответствующего диска 34, 35 в направлении к коробке 21. Наружний диаметр каждой трубчатой части 36, 37 меньше наружного диаметра дисков 34, 35.
Кроме того на каждой из этих трубчатых частей 36, 37, на стороне, противоположной стороне соединения с диском 34, 35 соответственно закреплен колпак 38, 39.
Колпаки 38, 39, внутренний диаметр которых меньше внутреннего диаметра дисков 34, 35, располагаются рядом с отверстиями 22, 23 и предназначены для защиты изоляторов 25, 26 от газовой среды с частицами.
Каждая трубчатая часть 36, 37 изоляторов 25, 26 защищена, кроме того, двумя концентрично расположенными отражателями, охватывающими трубчатые части 36, 37.
Отражатели, закрепленные соответственно на диске 34 и колпаке 38, обозначены позициями 40 и 41, а отражатели, закрепленные соответственно на диске 35 и колпаке 39, имеют позиции 42 и 43. Каждая пара концентрических отражателей образует таким образом отражательную перегородку для газового потока в фильтрующем элементе 20.
Ручка 44, закрепленная на диске 35, позволяет легко извлекать фильтрующий элемент 20 из корпуса 10.
Во время работы звезды 32 выступают не только в роли устройств для отвода выбросов из коронирующего электрофильтра, но и позволяют образовывать местные завихрения и возмущения, вызывающие, в частности, отклонение частиц в сторону собирающего устройства 24 и сообщающие им ускорение, но при этом не направляя уже захваченные частицы повторно в это собирающее устройство 24.
Завихрения и возмущения усиливаются присутствующими перфорированными дисками или венцами 33, расположенными между звездами 32.
Эффективность такой системы определяли с и без применения звезд. В обоих случаях устройство очистки не содержало дисков или венцов, обозначенных на фиг.1 позицией 33. Подвергавшееся испытанию устройство очистки состояло из металлического корпуса с двумя металлическими фильтрующими элементами, обозначенными позицией 20 на фиг.1. Электрофильтры этих фильтрующих элементов питались стабилизированным высоким напряжением – 10 кВ.
Указанное устройство установлено в задней части автомобиля марки Peugeot ® 406 HDI (Пежо) с катализатором, но со снятым глушителем.
Испытания проводились на валковых стендах с имитацией цикла движения
автомобилей по городским магистралям и по магистралям вне города. Определение эффективности удаления частиц, обеспечиваемого устройством очистки, производилось на основе разницы между весом выбросов без применения устройства очистки и весом выбросов при наличии таких устройств, расположенных в выпускном отверстии отработавших газов.
Указанные испытания проводились на основе стандарта NF EN ISO 8178-1-8.
В ходе этих испытаний были получены неожиданные результаты. Действительно, присутствие звезд позволило вдвое повысить эффективность отбора частиц и получить средние показатели особо значительного порядка: 80%.
Также было установлено, что противодавления, возникающие в устройстве очистки, были минимальными и не возрастали по мере загрязнения собирающего устройства 24.
Следует также отметить, что очистка собирающего устройства 24 производится относительно легко. Действительно, достаточно вытянуть фильтрующий элемент из корпуса 10 и затем поместить его, например, в ультразвуковую ванну.
Согласно подварианту очистку можно производить с помощью резистора, встроенного в собирающее устройство 24, служащего для дожигания частиц и регенерации этого устройства, или посредством нагнетания воздуха и всасывания с помощью системы Вентури.
Увеличение толщины металлического переплетения собирающего устройства 24 позволяет, кроме того, уменьшить шумы, производимые газами при своем прохождении через устройство очистки 1.
Следует также добавить, что устройство очистки 1 позволяет получать озон путем приемлемого уменьшения расстояния между звездами 32 и собирающим устройством 24. Этот озон эффективно окисляет некоторые газообразные компоненты в отработавших газах.
Устройство 100 очистки с несколькими уровнями, представленное на фиг.2, содержит – при рассмотрении спереди назад -, т.е. на участке между впускным отверстием 102 и выпускным отверстием 103: механический фильтр 110, катализатор окисления 120, первый электрофильтр 130, второй электрофильтр 130′ и средства всасывания 150.
Подобно устройству 1 на фиг.1, это устройство предназначено для очистки отработавших газов дизельного двигателя.
Комплект указанных элементов размещен в двух цилиндрических корпусах 160, 160′, теплоизолированных по меньшей мере на месте расположения фильтра 110 и катализатора 120 окисления, которые сообщаются между собой и образуют в автомобиле на фиг.3 участок выхлопного тракта, расположенный между его выхлопной трубой и глушителем.
Механический фильтр 110 закреплен при этом на съемном колпаке 161, закрывающем верхний конец продольного цилиндрического корпуса 160, снабженного впускным отверстием 102.
Механический фильтр 110 содержит два концентрических цилиндра из перфорированного металлического листа 111, 112 в виде сетки. Между этими цилиндрами 111 и 112 располагаются нагревательный резистор 113 и многослойное металлическое переплетение 114.
Как видно на фиг.2, механический фильтр 110 образует принудительный канал для отработавших газов, поступающих через впускное отверстие 102 в устройство 100 очистки.
Резистор 113 представляет собой известный сам по себе резистор для температурного регулирования. Для этого предусмотрено наличие температурного датчика 115 в зоне расположения фильтра 110. Резистор 113 выполнен, кроме того, в виде улитки и охватывает внутренний перфорированный цилиндр 112.
Он питается от аккумуляторной батареи автомобиля и служит для повышения температуры отработавших газов, проходящих через механический фильтр 110.
Такой механический фильтр 110 позволяет в случае необходимости доводить температуру отработавших газов до рабочей температуры катализатора 120 окисления, а также служит для частичного улавливания частиц, содержащихся, по меньшей мере, в отработавших газах, и для их дожигания.
Для снижения начальной температуры окисления углеродных частиц металлическое переплетение 114 выполнено с покрытием из окиси меди.
На практике резистор 113 применяется с целью доведения температуры отработавших газов до температуры, по меньшей мере, 200-300°С, причем максимальная температура составляет 700-800°С.
Отработавшие газы, выходящие из механического, непрерывно регенерируемого фильтра 110, пропускаются через катализатор 120 окисления. Последний содержит монолитный носитель из керамики или металла и служит преимущественно для окисления окиси углерода (СО), окиси азота (NO) и углеводородов (НС).
В том случае, когда необходимо усилить окисление СО и углеводородов за счет NO, можно установить впускной воздушный клапан за катализатором 120 окисления. В данном случае воздух используется для улучшенного дожигания на участке фильтра 110.
Отработавшие газы, выходящие из катализатора 120 окисления, очищаются в первом коронирующем электрофильтре 130, предназначенном для частичного улавливания частиц, по меньшей мере, содержащихся в отработавших газах и не задержанных механическим фильтром 110.
Электрофильтр 130 содержит устройство 131 для отвода выбросов, расположенное за собирающим устройством 132. Точнее, собирающее устройство содержит перфорированный диск 133 с металлическими звездами 134, выступающими над поверхностью диска 133 напротив катализатора 120 окисления.
Перфорированный диск 133 расположен на резьбовом стержне 135, установленном по оси и опирающимся на два диска 136а и 136b из перфорированного листового металла, обеспечивающие крепление собирающего устройства 132. Диски 136а и 136b имеют диаметр, превышающий диаметр диска 133, и установлены с возможностью легкого трения о внутреннюю поверхность корпуса 160.
Задний конец резьбового стержня 135 пропущен сквозь съемный колпак 162, закрывающий заднюю часть корпуса 160. Этот конец используется для подсоединения к трансформаторной коробке 163, подключаемой к аккумуляторной батарее автомобиля, и для подачи стабилизированного высокого напряжения (на практике около 110 кВ) на электрофильтр 130.
Для изоляции устройства 131 для отвода выбросов от собирающего устройства 132 резьбовой стержень 135 пропущен через перфорированные диски 136а, 136b по керамическим изоляторам 137а-137с.
Гайки 138а-138d расположены по обеим сторонам изоляторов 137а–137с и перфорированного диска 133 и служат для жесткого крепления дисков 133, 136а и 136b и резьбового стержня 135. В данном варианте выполнения диски 133, 136а и 136b расположены перпендикулярно резьбовому стержню 135.
Заземленное собирающее устройство 132 содержит металлическое переплетение 140, охватывающее изолятор 137b и стержень 135, образующее множество полостей и расположенное между изолятором 137b и корпусом 160. Как и металлическое переплетение 114, переплетение 140 является многослойным.
Как видно из фиг.2, оси, несущие на себе звезды 134, располагаются аксиально. Кроме того, звезды 134 имеют восемь треугольных лучей.
Кроме того, в зоне первого электрофильтра 130 предусмотрена система воздушной очистки, которая позволяет периодически удалять его засорение перед извлечением для более тщательной очистки. Система включает в себя, во-первых, противовозвратный клапан 141 для подачи воздуха в один из концов приемной зоны электрофильтра 130 и фитинг 142, установленный на колпаке 162, к которому подсоединяются средства всасывания в случае очистки электрофильтра 130.
Благодаря электрофильтру 130 происходит заряжение частиц, которым удалось пройти через механический фильтр 110, и их притяжение собирающим устройством 132, в котором они удерживаются внутри пористого объема, образованного металлическим переплетением 140.
Благодаря применению звезд 134 устройство 131, образующее электрод для отвода выбросов, позволяет эффективно заряжать частицы, а собирающее устройство 132 обеспечивает эффективное задержание части, по меньшей мере, частиц, проходящих через электрофильтр 130, в полостях переплетений 140.
Кроме того, перфорированный диск 133 обеспечивает оптимальное распределение отработавших газов перед их прохождением через собирающее устройство 132.
Отработавшие газы, выходящие из электрофильтра, поступают в расширительный короб 164, образованный зоной, расположенной между задним концом электрофильтра 130 и колпаком 162. Короб 164 сообщен через цилиндрический патрубок 165 с цилиндрическим корпусом 160′ для подвода отработавших газов во второй электрофильтр 130′.
Последний выполнен аналогично электрофильтру на фиг.1 в той его части, которая касается устройства отвода выбросов 131′, которая образована металлическими звездами 134′, установленными на резьбовом стержне 135′.
Металлические звезды – в этом случае также восьмиконечные – расположены по одной линии с осью корпуса 160′. Кроме того, они смещены под углом по отношению друг к другу.
Наконец предусмотрено наличие перфорированных металлических дисков 136’а, 136’b, изоляторов 137’а-137’d и гаек 138’а-138’I.
Кроме того собирающее устройство 132′ выполнено в виде соосно расположенного цилиндра 139′ из перфорированного листового металла, охватывающего звезды 134′ и окруженного металлическим переплетением 140′ с множеством пустот.
К устройству 131′ для отвода выбросов подводится также стабилизированное высокое напряжение (5 кВ) от трансформаторной коробки 163.
Благодаря наличию второго коронирующего электрофильтра 130′ становится возможным очищать в несколько приемов отработавшие газы с целью дополнительного удержания частиц, в частности, частиц, которые могли бы подвергнуться повторному извлечению из коронирующего электрофильтра 130.
Следует также отметить, что электрофильтры 130, 130′ образуют фильтрующие элементы, которые легко устанавливаются и извлекаются из корпусов 160 и 160′ соответственно, после удаления колпаков, соответственно, 162, 162′.
Для борьбы с явлениями противодавления, неблагоприятно влияющими на работу двигателя, устройство 100 очистки содержит, предпочтительно, средства 150 всасывания, расположенные перед вторым электрофильтром 130′ и перед выпускным отверстием 103. Эти средства всасывают циркулирующие отработавшие газы внутрь корпусов 160 и 160′ и содержат для этого всасывающую турбину 151, приводимую в действие двигателем 152.
Как показано на фиг.3, устройство 100 очистки отработавших газов установлено на выхлопном тракте автомобиля 200 с дизельным двигателем с помощью известных, самих по себе, монтажных средств на участке между выхлопным коллектором и глушителем 170 этого автомобиля.
Управление работой резистора 113, трансформаторной коробки 163 и средств 150 всасывания может обеспечиваться с помощью управляющих систем двигателя, которые расположены в автомобиле 200 и служат для этой цели, или с помощью дополнительной управляющей системы, выполненной отдельно или связанной с имеющимися системами.
Благодаря такому устройству 100 очистки обеспечивается особо эффективная очистка отработанных газов автомобиля 200 с точки зрения как от загрязняющих газовых компонентов, так и от загрязняющих частиц. Кроме того, это устройство легко может устанавливаться на автомобиле 200 и просто технически обслуживаться. Себестоимость устройства является относительно умеренной с учетом достигаемых преимуществ.
В целом следует отметить, что устройство очистки согласно настоящему изобретению может применяться для очистки любых отработанных газов двигателя внутреннего сгорания (дизельного, бензинового, газового двигателей) любого транспортного средства (автомобиля, судна, … ). Оно выполнено с возможностью установки даже на тележке для очистки отработанных газов транспортного средства, ремонтируемого в гараже, даже в подземных галереях, газовая среда которых загрязнена вредными компонентами.
Само собой разумеется, что настоящая заявка совершенно не ограничивается выбранным и представленным вариантом выполнения, но включает в себя любой вариант в досягаемости среднего специалиста.
В частности, катализатор окисления со сплошным носителем может быть заменен на катализатор окисления с порошкообразным носителем или любой другой катализатор окисления, такой, как трехходовой каталитический горшок, или может применяться катализатор окисления, которым автомобиль уже оборудован.
Кроме того, возможно применять несколько, последовательно располагаемых электрофильтров того же типа, что на фиг.1, при необходимости в нескольких цилиндрических корпусах, если этого требует литраж двигателя внутреннего сгорания. Также возможно применять первый электрофильтр 130 без второго электрофильтра 130′, и наоборот. Цилиндры из перфорированного листового металла, применяемые в соответствии с вариантом выполнения, представленным на фиг.1, могут быть также заменены на цилиндры из металлической сетки или металла иной формы.
Другие механические фильтры, такие, как пылеосадительные фильтры ударного типа в виде перевернутой V или фильтры тонкой очистки могут использоваться в устройстве очистки 100 на фиг.2 или заменять фильтр 110 или один из обоих электрофильтров 130, 130′. Применение таких механических фильтров может представлять интерес для оптимизации распределения газов или при снижении шумов, возникающих в выпускном отверстии устройства.
Резистор 113 может заменяться резистором любой формы. Можно также применять резистор с периодическим режимом работы.
Система воздушной очистки также может применяться для очистки второго электрофильтра 130′.
Формула изобретения
1. Устройство очистки газовой среды с частицами, оснащенное, по меньшей мере, одним коронирующим электрофильтром (20,130′), содержащее продольный корпус, продольный канал (28) для газов, выполненный в корпусе, оба противоположенных конца которого примыкают соответственно к впускному (22) и выпускному отверстию (23) для газов электрофильтра, устройство (27) отвода выбросов, расположенное продольно и, по существу, по центру канала, собирающее устройство (24, 140′), расположенное продольно между каналом и корпусом и содержащее множество полостей, образующих камеры улавливания частиц газовой среды, отличающееся тем, что устройство отвода выбросов представляет собой множество зубчатых пластин (32, 134′), расположенных поперечно продольному направлению канала.
2. Устройство по п.1, отличающееся тем, что зубчатые пластины выполнены в виде звезд для подсоединения к цепи стабилизированного высокого напряжения.
3. Устройство по п.1 или 2, отличающееся тем, что собирающее устройство содержит сепаратор, выполненный в виде переплетения из металлической проволоки.
4. Устройство по п.3, отличающееся тем, что сепаратор выполнен цилиндрической формы и охватывает зубчатые пластины устройства отвода выбросов, расположенные по одной линии с осью цилиндра собирающего устройства.
5. Устройство по любому из пп.1-4, отличающееся тем, что устройство отвода выбросов и собирающее устройство смонтированы на несущей конструкции, вместе с которой они образуют сменный фильтрующий элемент устройства очистки.
6. Устройство по любому из пп.1-5, отличающееся тем, что зубчатые пластины чередуются с перфорированными дисками или венцами (33), расположенными поперечно продольному направлению канала.
7. Устройство по любому из пп.1-6, отличающееся тем, что в нем выполнены впускное и выпускное отверстия для газов поперечно продольному каналу для этих газов и что зубчатые пластины расположены на стержне, подключенном к цепи стабилизированного высокого напряжения и опирающемся каждым своим концом на изолятор, защищенный колпаком.
8. Устройство по любому из пп.1-7, отличающееся тем, что оно содержит второй электрофильтр с металлическими звездами, расположенными на поверхности перфорированного металлического диска (133), подключенного к цепи стабилизированного высокого напряжения и установленного за цилиндрическим сепаратором (132), образованным переплетением из металлической проволоки.
9. Устройство по любому из пп.1-8, отличающееся тем, что оно содержит катализатор (120) окисления со сплошным носителем, расположенный за электрофильтром или электрофильтрами.
10. Устройство по любому из пп.1-9, отличающееся тем, что оно содержит механический фильтр (110), расположенный за электрофильтром или электрофильтрами и, в случае необходимости, за катализатором (120) окисления.
11. Устройство по п.10, отличающееся тем, что механический фильтр (110) содержит фильтр с металлическими ячейками (114), обеспечивающий принудительный проход газовой среды, поступившей в устройство очистки, и подключенный к резистору (113), служащему для повышения температуры газовой среды.
12. Устройство по любому из пп.1-11, отличающееся тем, что в нем выполнено впускное отверстие для окисляющего воздуха и/или впускное отверстие (141) для очищающего воздуха.
13. Устройство по любому из пп.1-12, отличающееся тем, что оно содержит средства (150) всасывания, расположенные перед электрофильтром или электрофильтрами (130, 130′).
14. Устройство по любому из пп.1-13, отличающееся тем, что оно содержит, по меньшей мере, один цилиндрический корпус для размещения в нем электрофильтра или электрофильтров и, при необходимости, катализатора (120) окисления и/или механического фильтра (110).
15. Устройство по любому из пп.1-14, отличающееся тем, что оно содержит фильтр тонкой очистки.
16. Устройство по любому из пп.1-15, отличающееся тем, что оно предназначено для очистки отработавших газов двигателя внутреннего сгорания.
17. Транспортное средство, оснащенное устройством очистки, отличающееся тем, что устройство очистки выполнено по любому из пп.1-16.
РИСУНКИ
|