|
|
(21), (22) Заявка: 2004103198/15, 04.02.2004
(24) Дата начала отсчета срока действия патента:
04.02.2004
(45) Опубликовано: 20.07.2005
(56) Список документов, цитированных в отчете о поиске:
RU 2217305 C1, 27.11.2003. SU 368046 А, 27.03.1973. SU 1473821 A1, 23.04.1989. JP 58-146430 A, 01.09.1983.
Адрес для переписки:
150023, г.Ярославль, Московский пр-т, 88, ЯГТУ
|
(72) Автор(ы):
Зайцев А.И. (RU), Лебедев А.Е. (RU), Бытев Д.О. (RU), Капранова А.Б. (RU)
(73) Патентообладатель(и):
Ярославский государственный технический университет (RU)
|
(54) СМЕСИТЕЛЬ СЫПУЧИХ МАТЕРИАЛОВ
(57) Реферат:
Изобретение предназначено для смешения сыпучих материалов и может быть использовано в химической, сельскохозяйственной, пищевой и других отраслях промышленности. Агрегат имеет две ступени смешения, в первой происходит смешение с помощью рабочих органов с эластичными элементами, а во второй материал перемешивается при движении по качающимся желобам. Агрегат прост по конструкции, имеет высокую производительность и качество смешения. 4 ил.

Изобретение предназначено для смешения сыпучих материалов и может быть использовано в химической, сельскохозяйственной, пищевой и других отраслях промышленности.
Известен смеситель сыпучих материалов непрерывного действия [Патент РФ №2164868, БИ №10, 2001, В 28 С 5/08]. Это устройство состоит из горизонтальных эластичных барабанов, патрубков подачи компонентов и выгрузки смеси, привода, включающего двигатель и редуктор, вал которого соединен муфтой с вертикальным валом крестовины. Барабаны крепятся с помощью колец на дисках, которые в свою очередь направлены на ступицы подвижных зубчатых колес планетарной конической передачи. Зубчатые колеса установлены на полых горизонтальных осях крестовины через подшипники скольжения. Неподвижная шестерня планетарной передачи жестко связана с основанием, на котором соосно валу редуктора установлен прижимной элемент, выполненный в виде усеченного конуса с радиальными полукруглыми уступами, контактирующий с барабанами. Соосно валу редуктора установлен кольцевой накопительный бункер.
Недостатки этого смесителя – низкая эффективность смешения.
Наиболее близким к предлагаемому смесителю является смеситель сыпучих материалов непрерывного действия [Патент РФ №2217305, БИ №33, 27.11.03, В 28 С 5/08], содержащий неподвижную рабочую камеру с патрубками загрузки сыпучих компонентов и выгрузки продукта, внутри которой на вертикальном валу установлен блок с горизонтальными осями, закрепленными в нем неподвижно. Смеситель состоит из двух секций, расположенных одна под другой. На этих осях на подшипниках закреплены конические рабочие органы с эластичными консольными стержнями, расположенные вершинами к центру, по два в каждой секции. К этим рабочим органам неподвижно прикреплены шестерни. К крышке неподвижно крепится широкое кольцо с зубьями на конце, которые входят в зацепление с шестернями рабочих органов. Вертикальный вал закреплен в подшипниковом узле, который крепится ко дну нижней секции.
Смеситель работает следующим образом. Сыпучие материалы непрерывно засыпаются из воронки через загрузочный патрубок в крышке первой секции. Вертикальный вал, вращаясь вокруг своей оси, перемещает конические рабочие органы по кругу. Шестерни, входя в зацепление с неподвижными зубчатыми рейками, заставляют вращаться против движения и рабочие органы, тем самым позволяя эластичными консольными стержнями подбрасывать смешиваемые материалы вперед и вверх по направлению движения. Смешиваемые материалы, подлетая вперед и вверх, ударяются о перегородки и, падая вниз, снова попадают на эластичные элементы рабочих органов. Таким образом, пройдя почти целый круг, смешиваемые материалы через щелевое отверстие проваливаются во вторую секцию, где происходит точно такой же процесс. Пройдя через вторую секцию, сыпучие материалы выгружаются через щелевое разгрузочное отверстие в дне.
Недостатки этого смесителя – невысокая эффективность смешения.
Технической задачей изобретения является повышение эффективности процесса смешения сыпучих материалов.
Технический результат достигается тем, что в смесителе сыпучих материалов, содержащем корпус, размещенную внутри его верхней части цилиндрическую рабочую камеру, подсоединенную к патрубкам загрузки сыпучих компонентов и выгрузки продукта, к вертикальному валу, присоединены рабочие органы, имеющие на поверхности эластичные элементы, выполненные в виде щеток, контактирующие с днищем рабочей камеры волнообразной формы, имеющим выступ и вертикальные стенки с двух сторон, причем внутренняя снабжена выпускным отверстием, связанным с патрубком выгрузки. Кроме того, под рабочей камерой расположены желоба, имеющие возможность поворота вокруг оси и снабженные демпфирующими устройствами.
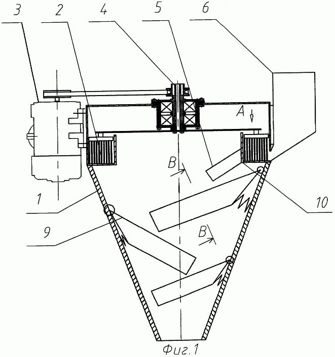
На фиг.1 представлена схема смесителя.
На фиг.2 представлена рабочая камера.
На фиг.3 представлена развертка камеры.
На фиг.4 представлена форма лотка.
Смеситель сыпучих материалов содержит корпус 1, размещенную внутри его верхней части цилиндрическую рабочую камеру 10, подсоединенную к патрубкам загрузки сыпучих компонентов 6 и выгрузки продукта 5, вертикальный вал 4, к которому присоединены рабочие органы 2, имеющие на поверхности эластичные элементы, выполненные в виде щеток, контактирующие с днищем рабочей камеры волнообразной формы 11, имеющим выступ 7 и вертикальные стенки с двух сторон. Внутренняя стенка рабочей камеры снабжена выпускным отверстием, связанным с патрубком выгрузки 5, под рабочей камерой расположены желоба 9, имеющие возможность поворота вокруг оси и снабженные демпфирующими устройствами.
Смеситель сыпучих материалов работает следующим образом.
Подлежащие смешению сыпучие материалы засыпаются из патрубков загрузки сыпучих компонентов 6 в рабочую камеру, где захватываются шестью последовательно расположенными рабочими органами 2 и перемещаются по волнообразному днищу 11 к патрубку выгрузки 5. В процессе перемещения материалов эластичные элементы рабочих органов, контактируя с волнообразным днищем, деформируются и, распрямляясь во впадинах, отбрасывают вперед часть материала. Благодаря тому, что рабочие органы расположены в рабочей камере последовательно, они переводят весь сыпучий материал во взвешенное состояние и поочередно направляют смесь в выпускное отверстие, а, проходя через выступ 7, очищаются. Далее смесь поступает в желоба 9, снабженные демпфирующими устройствами, которые под действием ссыпающейся на них смеси совершают неравномерные качательные движения. Двигаясь в желобах и пересыпаясь с одного на другой, смесь подвергается дополнительному смешению.
Таким образом, использование в смесителе предлагаемой совокупности конструктивных элементов позволяет значительно повысить качество смешения.
Формула изобретения
Смеситель сыпучих материалов, содержащий корпус, размещенную внутри его верхней части цилиндрическую рабочую камеру, подсоединенную к патрубкам загрузки сыпучих материалов и выгрузки продукта, вертикальный вал, к которому присоединены рабочие органы, отличающийся тем, что рабочие органы имеют на поверхности эластичные элементы, выполненные в виде щеток, контактирующие с днищем рабочей камеры волнообразной формы, имеющим выступ и вертикальные стенки с двух сторон, причем внутренняя снабжена выпускным отверстием, связанным с патрубком выгрузки, а под рабочей камерой расположены желоба, имеющие возможность поворота вокруг оси и снабженные демпфирующими устройствами.
РИСУНКИ
|
|