|
|
(21), (22) Заявка: 2002125731/15, 27.09.2002
(24) Дата начала отсчета срока действия патента:
27.09.2002
(43) Дата публикации заявки: 27.03.2004
(45) Опубликовано: 20.07.2005
(56) Список документов, цитированных в отчете о поиске:
SU 1183162 А, 07.10.1985. US 4201487 А, 06.05.1980. SU 1576187 A1, 07.07.1990. GB 263046 А, 23.12.1926.
Адрес для переписки:
125047, Москва, ул. Чаянова, 18, кв.16, Г.В. Джанашвили
|
(72) Автор(ы):
Джанашвили Г.В. (RU), Гераймович О.А. (RU)
(73) Патентообладатель(и):
Джанашвили Гиа Вахтангович (RU), Гераймович Олег Арсентьевич (RU)
|
(54) УСТРОЙСТВО ДЛЯ ДИСПЕРГИРОВАНИЯ
(57) Реферат:
Предложенное устройство предназначено для диспергирования сред различной вязкости с получением стабильных смесей и может быть использовано в молочной и пищевой промышленности. Устройство включает воронку, ротор и вертикальный трубопровод с выходным участком, расположенным в воронке. В нижней части трубопровода установлен турбулизатор в виде набора винтовых пластин. Воронка снабжена рубашкой. Технический результат состоит в повышении степени дисперсности. 2 ил.

Изобретение относится к устройствам для диспергирования различных сред с получением стабильных смесей и может быть использовано в молочной и пищевой отраслях промышленности.
Известны различные диспергаторы. Наиболее близким по технической сущности к заявленному является устройство для диспергирования, включающее воронку, расположенную над корпусом диспергатора, ротор и, соединенный с выходом диспергатора, вертикальный трубопровод с выходным участком, расположенным в воронке (SU 1183162 А, кл. В 01 F 7/16, 07.10.85 г.).
Техническим результатом заявляемого технического решения является получение, в результате диспергирования сред с различной вязкостью, высокой степени дисперсности и интенсификация процесса за счет совмещения диспергирования с подогревом или охлаждением.
Технический результат достигается тем, что устройство, включающее воронку, расположенную над корпусом диспергатора, ротор и, соединенный с выходом диспергатора, вертикальный трубопровод с выходным участком, расположенным в воронке, согласно изобретению снабжено турбулизатором, расположенным в нижней части трубопровода и выполненным в виде набора винтовых пластин с соотношением высоты турбулизатора к его диаметру от 0,5:1 до 2:1, выходной участок трубопровода равен от 1 до 3 его диаметров и направлен в сторону, противоположную направлению вращения ротора, причем воронка снабжена рубашкой, а направление вращения движения обрабатываемой среды в трубопроводе противоположно направлению вращения ротора.
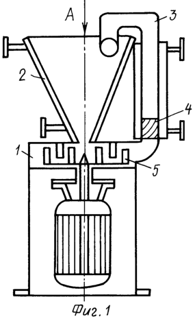
Сущность предложенного технического решения пояснена чертежами, где на фиг.1 изображено устройство для диспергирования – общий вид, на фиг.2 – вид сверху.
Устройство состоит из корпуса диспергатора – 1, воронки с рубашкой – 2, трубопровода – 3, турбулизатора – 4, ротора – 5.
Устройство работает следующим образом. Обрабатываемую среду загружают в воронку с рубашкой 2, включают диспергатор 1. В зависимости от технологии производства продукта, в рубашку воронки и вертикального трубопровода 3 подают хладагент или теплоноситель. При работе диспергатора создаются две зоны с вращающимися потоками продукта. Одна из этих зон расположена на входе в трубопровод из диспергатора, а вторая – в трубопроводе диспергатора. Вращающийся на входе в диспергатор продукт создает воздушную воронку, через которую в диспергатор попадает воздух, что нарушает процесс диспергирования. Одним из способов препятствия попадания в диспергатор воздуха является создание внутри воронки вращающегося потока продукта с направлением вращения, противоположным направлению вращения ротора диспергатора. Для этого выход трубопровода 3 направлен в воронку 2, вдоль ее боковой поверхности, в сторону, противоположную направлению вращения ротора.
Вторая зона вращающегося продукта создается в выходной части трубопровода диспергатора 1 с вертикальным валом за счет разности скоростей движения продукта вверху и внизу трубопровода 3 непосредственно при сходе продукта в трубопровод. С целью интенсификации теплообмена вязких сред в вертикальной части трубопровода требуется дополнительная “закрутка” потока продукта. Для этого в трубопровод 3 встроен турбулизатор 4, представляющий собой набор винтовых пластин, направление винтовых линий которых совпадает с линиями потока и усиливают их, при этом соотношение высоты турбулизатора к его диаметру от 0,5:1 до 2:1. За счет этого создаются условия для более интенсивного теплообмена в вертикальной части трубопровода.
Применение предлагаемого устройства для диспергирования сред различной вязкости позволяет интенсифицировать процесс диспергирования с одновременным получением продукта с высокой степенью дисперсности высоковязких сред.
Формула изобретения
Устройство для диспергирования, включающее воронку, расположенную над корпусом диспергатора, ротор и соединенный с выходом диспергатора вертикальный трубопровод с выходным участком, расположенным в воронке, отличающееся тем, что оно снабжено турбулизатором, расположенным в нижней части трубопровода и выполненным в виде набора винтовых пластин с соотношением высоты турбулизатора к его диаметру от 0,5:1 до 2:1, выходной участок трубопровода равен 1-3 его диаметрам и направлен в сторону, противоположную направлению вращения ротора, причем воронка снабжена рубашкой, а направление вращения движения обрабатываемой среды в трубопроводе противоположно направлению вращения ротора.
РИСУНКИ
MM4A Досрочное прекращение действия патента Российской Федерации на изобретение из-за неуплаты в установленный срок пошлины за поддержание патента в силе
Извещение опубликовано: 27.10.2006 БИ: 30/2006
|
|