|
| На основании пункта 3 статьи 13 Патентного закона Российской Федерации от 23 сентября 1992 г. № 3517-I патентообладатель обязуется передать исключительное право на изобретение (уступить патент) на условиях, соответствующих установившейся практике, лицу, первому изъявившему такое желание и уведомившему об этом патентообладателя и федеральный орган исполнительной власти по интеллектуальной собственности, – гражданину РФ или российскому юридическому лицу. |
|
(21), (22) Заявка: 2004117815/15, 15.06.2004
(24) Дата начала отсчета срока действия патента:
15.06.2004
(45) Опубликовано: 20.07.2005
(56) Список документов, цитированных в отчете о поиске:
SU 1627219 A1, 15.02.1991. SU 342691 А, 11.07.1972. SU 1625531 A1, 07.02.1991. RU 2099149 C1, 20.12.1997. US 3643800 А, 22.02.1972. US 4272260 А, 09.06.1981.
Адрес для переписки:
123458, Москва, ул. Твардовского, 11, кв.92, О.С. Кочетову
|
(72) Автор(ы):
Кочетов О.С. (RU), Кочетова М.О. (RU), Ходакова Т.Д. (RU)
(73) Патентообладатель(и):
Кочетов Олег Савельевич (RU), Кочетова Мария Олеговна (RU), Ходакова Татьяна Дмитриевна (RU)
|
(54) ПЫЛЕУЛОВИТЕЛЬ ВИХРЕВОЙ
(57) Реферат:
Изобретение относится к технике пылеулавливания и может применяться в химической, текстильной, пищевой, легкой и других отраслях промышленности для очистки запыленных газов. Пылеуловитель содержит цилиндрический корпус с коническим бункером и расположенным в его нижней части осевым входным патрубком, на выходе которого установлены завихритель, обтекатель и отбойная шайба, а также размещенные в верхней части патрубок для ввода вторичного потока и выходной патрубок. Завихритель выполнен жалюзийным и расположен на торцевой поверхности цилиндра, являющегося продолжением осевого входного патрубка, но имеющим больший диаметр, или на конической поверхности обтекателя, являющегося продолжением цилиндра. Отбойная шайба установлена на боковой поверхности цилиндра, и профиль ее выполнен в виде треугольника, или установлена на торцевой поверхности цилиндра. Технический результат: повышение эффективности процесса пылеулавливания. 2 н.п. ф-лы, 3 ил.

Изобретение относится к технике пылеулавливания и может применяться в химической, текстильной, пищевой, легкой и других отраслях промышленности для очистки запыленных газов.
Наиболее близким техническим решением к заявляемому объекту является вихревой пылеуловитель по а.с. СССР №1627219, кл. B 01 D 45/12, В 04 С 3/06 от 03.05.88, содержащий цилиндрический корпус с коническим бункером и расположенным в его нижней части осевым входным патрубком, на выходе которого установлены завихритель, обтекатель и отбойная шайба, а также размещенные в верхней части патрубок для ввода вторичного потока и выходной патрубок очищенного газа.
Недостатком прототипа является сравнительно невысокая эффективность процесса пылеулавливания за счет невысокой интенсивности закрутки первичного воздушного потока и возникновения обратных токов газа около оси аппарата, которые препятствуют движению частиц, находящихся в центральной части, от центра к периферии и тем самым удалению их из аппарата. Эти частицы увлекаются обратными токами газа к центру и выносятся из аппарата через выходной патрубок, что снижает эффективность пылеулавливания аппарата.
Целью изобретения является повышение эффективности процесса пылеулавливания.
Это достигается тем, что в пылеуловителе вихревом, содержащем цилиндрический корпус с коническим бункером и расположенным в его нижней части осевым входным патрубком, на выходе которого установлены завихритель, обтекатель и отбойная шайба, а также размещенные в верхней части патрубок для ввода вторичного потока и выходной патрубок, завихритель выполнен жалюзийным и расположен на торцевой поверхности цилиндра, являющегося продолжением осевого входного патрубка, но имеющим больший диаметр, причем обтекатель и отбойная шайба также размещены на торцовой поверхности цилиндра. Жалюзийный завихритель может быть расположен на конической поверхности обтекателя, а отбойная шайба установлена на боковой поверхности цилиндра, и профиль ее выполнен в виде треугольника.
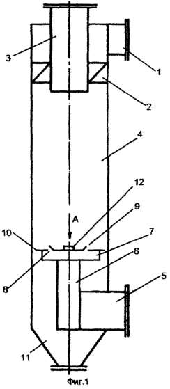
На фиг.1 изображен пылеуловитель вихревой, общий вид, на фиг.2 – вид А фиг.1, на фиг.3 – вариант выполнения жалюзийного завихрителя.
Пылеуловитель вихревой содержит цилиндрический корпус 4 с коническим бункером 11, расположенным в нижней части. Осевой входной патрубок 5 и патрубок 6 заканчиваются цилиндром 7 большего диаметра, на торцевой поверхности которого выполнен завихритель 8 жалюзийного типа с лопастями 9 для закручивания первичного пылегазового потока. Лопасти 9 получены методом неполной просечки и последующего отгиба их на требуемый угол (фиг.2). Их количество определяется требованиями к аэродинамическим характеристикам закрученного потока и должно быть не менее 4-х. В верхней части корпуса тангенциально ему расположен патрубок 1 для ввода вторичного потока с лопаточным завихрителем 2. Выходной патрубок 3, установленный на лопаточном завихрителе 2, служит для вывода очищенного воздуха. Обтекатель 12 и отбойная шайба 10 также размещены на торцевой поверхности цилиндра 7. Жалюзийный завихритель 8 может быть расположен на конической поверхности обтекателя 12, являющегося продолжением цилиндра 7, а отбойная шайба 10 установлена на боковой поверхности цилиндра 7, и профиль ее выполнен в виде треугольника (см. фиг.3).
Пылеуловитель вихревой работает следующим образом.
Запыленный газовый поток поступает в вихревой пылеуловитель через патрубок 5 в качестве первичного потока, закручивается жалюзийным завихрителем 8 и движется вдоль оси аппарата по восходящей винтовой линии. Другая часть запыленного потока поступает в пылеуловитель через патрубок 1 в качестве вторичного потока, закручивается лопаточным завихрителем 2 и движется далее по нисходящей винтовой линии вдоль стенок аппарата. В вихревом пылеуловителе происходит взаимодействие потоков, в результате чего частицы пыли под действием центробежной силы движутся от центра аппарата к периферии, достигают стенок аппарата и транспортируются вниз в бункер 11 для сбора уловленной пыли. Очищенный воздух выводится из вихревого пылеуловителя через выходной патрубок 3.
Для предотвращения возникновения около оси аппарата обратных токов газа, которые препятствуют движению частиц, находящихся в центральной части, от центра к периферии, в корпусе вихревого пылеуловителя установлено центральное коническое тело 12, геометрическая форма которого вытесняла бы объем аппарата, занятый обратными (вторичными) токами газа. При этом ликвидируется зона обратных токов и ничто не препятствует движению частиц от центральной зоны к периферии и их улавливанию.
Формула изобретения
1. Пылеуловитель вихревой, содержащий цилиндрический корпус с коническим бункером и расположенным в его нижней части осевым входным патрубком, на выходе которого установлены завихритель, обтекатель и отбойная шайба, а также размещенные в верхней части патрубок для ввода вторичного потока и выходной патрубок, отличающийся тем, что завихритель выполнен жалюзийным и расположен на торцевой поверхности цилиндра, являющегося продолжением осевого входного патрубка, но имеющим больший диаметр, причем обтекатель и отбойная шайба также размещены на торцевой поверхности цилиндра.
2. Пылеуловитель вихревой, содержащий цилиндрический корпус с коническим бункером и расположенным в его нижней части осевым входным патрубком, на выходе которого установлены завихритель, обтекатель и отбойная шайба, а также размещенные в верхней части патрубок для ввода вторичного потока и выходной патрубок, отличающийся тем, что завихритель выполнен жалюзийным и расположен на конической поверхности обтекателя, являющегося продолжением боковой поверхности цилиндра, причем отбойная шайба также установлена на боковой поверхности цилиндра, а профиль ее выполнен в виде треугольника.
РИСУНКИ
|
|