|
|
(21), (22) Заявка: 2003131546/15, 27.10.2003
(24) Дата начала отсчета срока действия патента:
27.10.2003
(45) Опубликовано: 20.07.2005
(56) Список документов, цитированных в отчете о поиске:
RU 2163501 С1, 27.02.2001. RU 2189848 С2, 27.09.2002. SU 565684 А, 24.08.1977. SU 1122337 А, 07.11.1984. DE 4013080 С1, 04.07.1991. US 5643444 А, 01.07.1997.
Адрес для переписки:
160035, г.Вологда, ул. Ленина, 15, ВоГТУ, ПИО
|
(72) Автор(ы):
Лукьянов В.И. (RU), Лукьянов Е.В. (RU)
(73) Патентообладатель(и):
Вологодский государственный технический университет (RU)
|
(54) НАПОРНЫЙ ДВУХСТУПЕНЧАТЫЙ ФИЛЬТР
(57) Реферат:
Изобретение предназначено для фильтрования, относится к водному хозяйству и может быть использовано для осветления хозяйственной, технической и сточной воды фильтрованием с одновременным извлечением из воды растворенных веществ, например органических. Напорный фильтр содержит корпус, загрузку, конусообразные днище и крышку с центральными патрубками, нижнюю и верхнюю удерживающие решетки, трубопровод для подачи промывной воды, коллектор, электрифицированные задвижки, датчики положения электрифицированных задвижек, датчик давления и блок управления. Фильтр дополнительно снабжен разделительной решеткой, скрещивающимися насадками и внешним патрубком с предохранительной сеткой со своими связями, позволяющими получить экономию капитальных затрат за счет компактности конструкции напорного двухступенчатого фильтра и экономический эффект благодаря рациональному размещению адсорбента, активации процесса промывки фильтрующей загрузки, сокращению расхода чистой промывной воды, увеличению фильтроцикла и высокому качеству фильтрата. 1 ил.

Изобретение относится к водному хозяйству и может быть использовано для осветления хозяйственной, технической и сточной воды фильтрованием с одновременным извлечением из воды растворенных веществ, например органических.
Известен напорный фильтр, содержащий корпус, верхние дырчатые трубы для распределения фильтруемой и сбора промывной воды, распределительную систему для воздуха, щелевой дренаж, нижний дырчатый коллекор [Абрамов Н.Н. Водоснабжение. – М.: Стройиздат, 1974, с.316, рис.V.52].
Недостатком известного напорного фильтра является низкая эффективность его работы, не позволяющая использовать напорный фильтр в случаях, когда к фильтрату предъявляются высокие требования по качеству воды, например для нужд питьевого водоснабжения.
Известен фильтр с плавающей фильтрующей загрузкой, выбранный в качестве прототипа, содержащий корпус, конусообразное днище корпуса с центральным патрубком, конусообразную крышку корпуса с центральным патрубком, нижнюю и верхнюю удерживающие решетки, трубопровод для подачи промывной воды, насадки, коллектор, электрифицированные задвижки, датчики положения электрифицированных задвижек, датчик давления и блок управления [Патент РФ №2163501, кл. 7 В 01 D 24/46, 24/48, 2001].
Недостатком известного фильтра с плавающей фильтрующей загрузкой является невысокая эффективность работы фильтра при фильтровании воды, имеющей в своем составе, например, растворенные органические вещества.
Задача, на решение которой направлено изобретение, состоит в том, чтобы повысить эффективность работы напорного фильтра.
Предлагаемое техническое решение заключается в следующем: напорный фильтр, содержащий корпус, загрузку, конусообразные днище и крышку с центральными патрубками, нижнюю и верхнюю удерживающие решетки, трубопровод для подачи промывной воды, коллектор, электрифицированные задвижки, датчики положения электрифицированных задвижек, датчик давления и блок управления, дополнительно снабжен разделительной удерживающей решеткой, скрещивающимися насадками и внешним патрубком с предохранительной сеткой, причем разделительная удерживающая решетка перегораживает корпус напорного фильтра на две последовательно расположенные ступени, внешний патрубок с предохранительной сеткой обращен внутрь корпуса первой ступени напорного фильтра, а коллектор соединен с трубопроводами для подачи исходной и промывной воды.
Сопоставительный анализ заявляемого решения с прототипом показывает, что оно содержит новые узлы со своими связями, позволяющими повысить эффективность работы напорного фильтра.
Таким образом, заявляемое решение соответствует критерию изобретения “новизна”.
При проведении дополнительного поиска известных решений не были выявлены признаки, совпадающие с отличительными от прототипа признаками заявляемого напорного двухступенчатого фильтра. Следовательно, заявляемое изобретение соответствует условию “изобретательный уровень”.
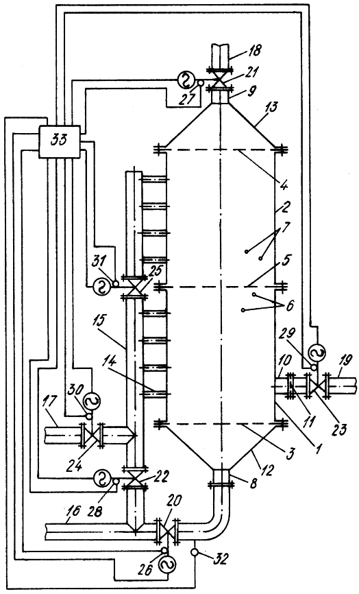
На чертеже схематически изображен напорный двухступенчатый фильтр.
Напорный двухступенчатый фильтр содержит корпус первой ступени 1 напорного фильтра, корпус второй ступени 2 напорного фильтра, удерживающие решетки 3 и 4, разделительную удерживающую решетку 5, плавающую фильтрующую загрузку 6, адсорбент 7, центральные патрубки 8 и 9, внешний патрубок 10, предохранительную сетку 11, конусообразное днище 12, конусообразную крышку 13. скрещивающиеся насадки 14, коллектор 15, трубопровод для подачи исходной воды 16, трубопровод для подачи промывной воды 17, трубопровод для отвода фильтрата 18, трубопровод для отвода загрязненной промывной воды 19. электрифицированные задвижки 20-25, датчики положения 26-31 электрифицированных задвижек, датчик давления 32 и блок управления 33.
Напорный двухступенчатый фильтр работает следующим образом.
Электрифицированные задвижки 20 и 21 открываются и при разрешающих сигналах от датчиков положения 26 и 27 электрифицированных задвижек исходная вода по трубопроводу 16 и центральному патрубку 8 поступает через конусообразное днище 12 и удерживающую решетку 3 внутрь корпуса первой ступени 1 напорного фильтра. В конусообразном днище 12 скорость движения исходной воды плавно уменьшается до расчетной. С этой расчетной скоростью исходная вода проходит через слой плавающей фильтрующей загрузки 6, разделительную удерживающую решетку 5 и поступает внутрь корпуса второй ступени 2 напорного фильтра. В первой ступени 1 напорного фильтра в слое плавающей фильтрующей загрузки 6 задерживаются взвешенные вещества. Во второй ступени 2 напорного фильтра в слое адсорбента 7 фильтруемая вода освобождается от растворенных, например, органических веществ, а затем приготовленный фильтрат через конусообразную крышку 13 по трубопроводу 18 поступает потребителю. В качестве адсорбента 7 может быть использован активированный уголь.
При работе фильтрующая загрузка напорного двухступенчатого фильтра засоряется, ее гидравлическое сопротивление увеличивается. Когда гидравлическое сопротивление увеличится до расчетной величины, от датчика давления 32 на блок управления 33 поступает сигнал на регенерацию плавающей фильтрующей загрузки 6 и адсорбента 7. По команде с блока управления 33 электрифицированные задвижки 22 и 23 открываются. При разрешающих сигналах от датчиков положение 26-29 электрифицированных задвижек исходная вода под напором по коллектору 15 через скрещивающиеся насадки 14 с большой скоростью поступает в корпус первой ступени 1 напорного фильтра. Такое расположение насадков относительно друг друга позволяет струям промывной воды интенсивно перемешивать весь объем фильтрующей загрузки 6, исключая образование так называемых “застойных зон”, в которых фильтрующая загрузка 6 практически не перемешивается. Благодаря этому происходит быстрое оттирание загрязнений от зерен фильтрующей загрузки. Загрязненная промывная вода по трубопроводу 19 отводится в канализацию /на чертеже не показана/. По истечении заданного на пульте блока управления 33 времени закрывается электрифицированная задвижка 22 и открываются электрифицированные задвижки 24 и 25. При разрешающих сигналах от датчиков положения 28, 30 и 31 чистая промывная вода от водонапорной башни или промывного насоса /на чертеже не показаны/ по трубопроводу 17 и коллектору 15 через скрещивающиеся насадки 14 поступает в обе ступени напорного фильтра и ополаскивает плавающую фильтрующую загрузку 6 и адсорбент 7, Загрязненная промывная вода по трубопроводу 19 отводится в канализацию. По истечении заданного на пульте блока управления 33 времени напорный двухступенчатый фильтр переводится в режим фильтрования воды. По команде с блока управления 33 электрифицированные задвижки 20 и 21 открываются, а электрифицированные задвижки 22-25 закрываются. При разрешающих сигналах от датчиков положения 26-31 электрифицированных задвижек работа по фильтрованию походной воды возобновляется.
Таким образом, предлагаемое техническое решение позволяет повысить эффективность работы напорного двухступенчатого фильтра, а следовательно, получить экономию капитальных затрат за счет компактности конструкции напорного двухступенчатого фильтра, уменьшения материалоемкости при его изготовлении, а в ряде случаев за счет отказа от строительства насосной станции второго подъема. Кроме того, экономический эффект получается благодаря рациональному размещению адсорбента, а именно: во второй ступени напорного фильтра, куда подается очищенная от взвесей вода, активации процесса промывка фильтрующей загрузки, сокращению расхода чистой промывной воды, увеличению фильтроцикла и высокому качеству фильтрата.
Формула изобретения
Напорный фильтр, содержащий корпус, загрузку, конусообразные днище и крышку с центральными патрубками, нижнюю и верхнюю удерживающие решетки, трубопровод для подачи промывной воды, коллектор, электрифицированные задвижки, датчики положения электрифицированных задвижек, датчик давления и блок управления, отличающийся тем, что он дополнительно снабжен разделительной удерживающей решеткой, скрещивающимися насадками и внешним патрубком с предохранительной сеткой, причем разделительная удерживающая решетка перегораживает корпус напорного фильтра на две последовательно расположенные ступени, внешний патрубок с предохранительной сеткой обращен внутрь корпуса первой ступени напорного фильтра, а коллектор соединен с трубопроводами для подачи исходной и промывной воды.
РИСУНКИ
MM4A Досрочное прекращение действия патента Российской Федерации на изобретение из-за неуплаты в установленный срок пошлины за поддержание патента в силе
Дата прекращения действия патента: 28.10.2005
Извещение опубликовано: 27.01.2007 БИ: 03/2007
|
|