|
|
(21), (22) Заявка: 2003125157/15, 11.08.2003
(24) Дата начала отсчета срока действия патента:
11.08.2003
(43) Дата публикации заявки: 10.03.2005
(45) Опубликовано: 20.07.2005
(56) Список документов, цитированных в отчете о поиске:
RU 2143297 C1, 27.12.1999. RU 2155088 C1, 27.08.2000. SU 1134201 А, 15.01.1985. SU 829119 A1, 15.05.1981. US 5393437 А, 28.02.1995. GB 1387705 А, 19.03.1975. DE 1621718 B1, 20.08.1970.
Адрес для переписки:
153002, г.Иваново, ул. 1-я Сибирская, 15, кв.76, Г.Г. Михееву
|
(72) Автор(ы):
Рогов М.Г. (RU), Шувалов С.И. (RU), Михеев Г.Г. (RU), Шадрин М.Ю. (RU)
(73) Патентообладатель(и):
Рогов Михаил Геннадьевич (RU), Шувалов Сергей Ильич (RU), Михеев Геннадий Григорьевич (RU), Шадрин Михаил Юрьевич (RU)
|
(54) ОГНЕТУШАЩИЙ ПОРОШОК И СПОСОБ ЕГО ПОЛУЧЕНИЯ
(57) Реферат:
Изобретение может быть использовано для тушения пожаров класса А, Б, С и Е. Огнетушащий порошок содержит аммофос, гидрофобизирующую жидкость и нерастворимый в воде минерал или смесь минералов с истинной плотностью не менее 2,6 г/см3 и содержанием частиц крупнее 200 мкм не более 5%, менее 40 мкм не более 35%. Способ получения огнетушащего порошка включает раздельную сушку, измельчение с последующим смешением и гидрофобизацией основного тушащего компонента и целевой добавки. Измельчение ведется в контуре, включающем мельницу и классификатор. При измельчении основного тушащего компонента классификатор должен иметь границу разделения 30…40 мкм, а при измельчении целевой добавки границу разделения 70…80 мкм. Предложенное изобретение позволяет получить порошок с повышенной дальностью выброса из огнетушителя и меньшей стоимостью. 2 н.п. ф-лы, 3 ил., 2 табл.

Изобретение относится к огнетушащим порошкам, применяемым для тушения пожаров класса А, Б, С и находящегося под напряжением электрооборудования.
Известен огнетушащий порошок с содержанием основного тушащего компонента – аммофоса и добавки для снижения влагопоглощения и слеживаемости – аэросила и гидрофобизирующей жидкости /1/, обладающих достаточно высокой дисперсностью и эффективностью тушения.
Недостатком порошка является плохая текучесть и малая дальность выброса порошка из огнетушителя, обусловленные большим содержанием мелких частиц.
Наиболее близким к предлагаемому является огнетушащий порошок, содержащий основной тушащий компонент – аммофос, добавки для снижения влагопоглощения и слеживаемости – аэросил и гидрофобизирующую жидкость и целевую добавку для текучести /2/.
Данный огнетушащий порошок обладает достаточной тушащей способностью и текучестью, но ограниченной дальностью выброса порошка из огнетушителя (3-4 м). Так как при тушении крупных очагов пожара не представляется возможным подойти с огнетушителем ближе чем на 5-6 м (особенно при тушении очагов в закрытых объемах), то дальность выброса существующих порошков недостаточна.
Кроме того, для снижения слеживаемости в данный порошок включены аэросил и гидрофобизирующая жидкость, дублирующие по своему назначению друг друга, что удорожает стоимость порошка.
Целью изобретения является создание огнетушащего порошка с повышенной дальностью выброса из огнетушителя и меньшей стоимостью.
Поставленная цель достигается тем, что огнетушащий порошок содержит основной тушащий компонент – аммофос, добавку для снижения влагопоглощения и слеживаемости – гидрофобизирующую жидкость и в качестве целевой добавки для повышения текучести – нерастворимый в воде минерал или смесь минералов с истинной плотностью не менее 2,6 г/см3 и содержанием частиц крупнее 200 мкм не более 5%, менее 40 мкм не более 35%.
Исключение из рецептуры аэросила снижает стоимость порошка на 2080 руб/т (при существующей цене аэросила, включая НДС, 260000 руб/т).
Результаты исследования /3, 4/ показывают, что дисперсный состав порошка существенным образом влияют на дальность пылегазовой затопленной струи. Частицы размером 40 мкм разгоняются в сопле до скорости 100 м/с, в то же время скорость частиц размером 200 мкм не превышает 40 м/с. При этом отсутствие в смеси частиц менее 40 мкм снижает скорость частиц размером 200 мкм до 32 м/с. Однако в затопленной струе мелкие частицы быстро тормозятся и выпадают из потока. Присутствие в смеси более крупных и тяжелых частиц способствует сохранению кинетической энергии струи и увеличению ее дальности. Для оценки влияния этих эффектов были проведены стендовые исследования, в которых использовались порошки, содержащие 67,5% аммофоса, 0,3% гидрофобизирующей жидкости и 32,2% инертной целевой добавки (нефелин с удельной плотностью 2,3 г/см3 и шлак кузнецкого угля с удельной плотностью 1,9 г/см3). Результаты испытаний приведены в табл. 1.
Таблица 1. Влияние дисперсного состава целевой добавки на дальность выброса порошка |
| Целевая добавка |
Нефелин |
шлак |
| Содержание частиц, % |
500-200 мкм |
1 |
3 |
7 |
3 |
| 200-40 мкм |
44 |
62 |
67 |
62 |
| < 40 мкм |
55 |
35 |
26 |
35 |
| Дальность выброса из огнетушителя, м |
7,0 |
9,5 |
8,3 |
7,5 |
Для оценки огнетушащей способности порошков были проведены огневые испытания, в которых в целевой добавке содержание частиц крупнее 200 мкм составляло 3%, содержание частиц менее 40 мкм – 35%. Результаты испытаний приведены в табл.2.
Таблица 2. Результаты огневых испытаний порошков |
| Целевая добавка |
Класс пожара |
| А |
В |
С |
| Очаг |
Расход, кг/м2 |
Очаг |
Расход, кг/м2 |
Очаг |
Расход, кг на очаг |
| Нефелин |
13А |
0,58 |
55В |
0,8 |
113С |
0,9 |
| Шлак |
13А |
0,83 |
55В |
1,1 |
113С |
1,3 |
Предлагаемый порошок обладает повышенной дальностью выброса из огнетушителя, так как целевая добавка для повышения текучести содержит меньше мелких частиц /3, 4/. Кроме того, для снижения слеживаемости предлагается использовать гидрофобизирующую жидкость, что снижает стоимость порошка, так как исключается использование дорогостоящего аэросила.
Известный способ получения огнетушащего порошка заключается в том, что сушку и измельчение основного тушащего компонента и целевой добавки производят раздельно, а гидрофобизации подвергают целевую добавку и проводят ее одновременно с измельчением /2/.
Недостатком данного способа является то, что активной гидрофобизации подвергается целевая добавка, изначально обладающая низким влагопоглощением. Кроме того, при ее измельчении образуется много мелких частиц, что снижает несущую способность струи порошка из огнетушителя /3, 4/.
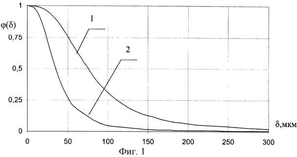
Для устранения переизмельчения материалов применяется схема, в которой материал выходит из мельницы более крупным, чем требуется, а установленный за мельницей классификатор выделяет целевой продукт, возвращая излишне крупные частицы на повторный домол в мельницу. Основной характеристикой разделения классификатора является кривая разделения ( ), определяющая вероятность попадания частиц размером в мелкий продукт /5/. Интегральной характеристикой кривой разделения является граничный размер разделения, соответствующий размеру частиц, вероятность попадания которых в мелкий продукт равна 50%. На фиг.1 приведены кривые разделения классификаторов с границами разделения 75 мкм и 35 мкм.
В первом классификаторе выделяется в мелкий продукт 50% частиц размером 75 мкм, а также 75% частиц размером 50 мкм и 12,5% частиц размером 150 мкм. Второй классификатор выделяет в мелкий продукт 50% частиц размером 35 мкм, 27% частиц размером 75 мкм и менее 2% частиц размером 150 мкм. Вследствие неидеальности разделения в мелком продукте присутствуют частицы как мельче, так и крупнее граничного размера.
Промышленные испытания показали, что на выходе из мельницы дисперсные составы аммофоса и нефелина близки между собой (кривые 1 и 2 фиг.2). При этом, для того, чтобы получить в готовом (мелком) продукте нефелин с содержанием частиц крупнее 200 мкм менее 5% и частиц мельче 40 мкм менее 35% (кривая 3), классификатор должен быть настроен на границу 70…80 мкм.
Наибольшая эффективность пожаротушения обеспечивается при максимальном содержании в основном тушащем компоненте частиц размером 20…60 мкм /3/. На фиг.3 показано влияние границы разделения на содержание этой фракции в мелком продукте разделения аммофоса.
Из фиг.3 видно, что максимальное содержание частиц 20-60 мкм достигается при границе разделения 30…40 мкм.
Для получения огнетушащих порошков, обладающих пониженным влагопоглощением и слеживаемостью и повышенной дальностью выброса из огнетушителя, предлагается раздельная сушка и измельчение основного тушащего компонента и целевой добавки с последующим смешением и гидрофобизацией. При этом измельчение компонентов огнетушащего порошка ведется в контуре, включающем мельницу и классификатор, причем при измельчении основного тушащего компонента для обеспечения дисперсности, обуславливающей высокую тушащую способность порошка, классификатор должен иметь границу разделения 30…40 мкм, а при измельчении целевой добавки для снижения содержания мелких частиц и повышения дальности выброса порошка из огнетушителя – границу разделения 70…80 мкм.
Заявленное изобретение позволяет получить технический результат, а именно: основной тушащий компонент с максимальным содержанием частиц 20…60 мкм обеспечивает тушение возгорания, целевая добавка в виде нерастворимого в воде минерала или смеси минералов с истинной плотностью не менее 2,6 г/см3 с содержанием частиц крупнее 200 мкм не более 5%, мельче 40 мкм не более 35% обеспечивает увеличение дальности выброса порошка из огнетушителя, исключение из рецептуры аэросила снижает стоимость порошка. Получение такого порошка достигается раздельным измельчением основного тушащего компонента в контуре, включающем мельницу и классификатор с границей разделения 30…40 мкм, измельчением целевой добавки в контуре, включающем мельницу и классификатор с границей разделения 70…80 мкм, и их совместную гидрофобизацию гидрофобизирующей жидкостью.
Источники информации, принятые во внимание при составлении заявки:
1. SU 604560 A, 30.04.78.
2. RU 2143297 A, 27.12.99.
4. Шувалов С.И. Структурная и режимная оптимизация процессов фракционирования порошков/ Автореф. … докт. дисс., Иваново, 1995. – 32 с.
5. Мизонов В.Е., Ушаков С.Г. Аэродинамическая классификация порошков. М.: Химия, 1989. – 160 с.
Формула изобретения
1. Огнетушащий порошок, содержащий основной тушащий компонент – аммофос, добавку для снижения влагопоглощения и слеживаемости и целевую добавку для повышения текучести, отличающийся тем, что добавкой для снижения влагопоглощения и слеживаемости служит гидрофобизирующая жидкость, а в качестве целевой добавки для повышения текучести используется нерастворимый в воде минерал или смесь минералов с истинной плотностью не менее 2,6 г/см3 и содержанием частиц крупнее 200 мкм не более 5%, менее 40 мкм не более 35%.
2. Способ получения огнетушащего порошка, включающий раздельную сушку и измельчение основного тушащего компонента – аммофоса и целевой добавки и последующим их смешением, отличающийся тем, что измельчение основного тушащего компонента и целевой добавки ведется в контуре, включающем мельницу и классификатор, причем при измельчении основного тушащего компонента классификатор должен иметь границу разделения 30…40 мкм, а при измельчении целевой добавки – границу разделения 70…80 мкм, с последующим смешением и гидрофобизацией гидрофобизирующей жидкостью основного тушащего компонента и целевой добавки.
РИСУНКИ
MM4A – Досрочное прекращение действия патента СССР или патента Российской Федерации на изобретение из-за неуплаты в установленный срок пошлины за поддержание патента в силе
Дата прекращения действия патента: 12.08.2007
Извещение опубликовано: 10.03.2009 БИ: 07/2009
|
|