|
(21), (22) Заявка: 2004115204/12, 20.05.2004
(24) Дата начала отсчета срока действия патента:
20.05.2004
(45) Опубликовано: 20.07.2005
(56) Список документов, цитированных в отчете о поиске:
RU 34383 U1, 10.12.2003. RU 1821982 A1, 20.03.1995. RU 2078599 C1, 10.05.1997. DE 4419099 A, 14.12.1995.
Адрес для переписки:
142406, Московская обл., г. Ногинск, ул. Советской конституции, 23А, кв.8, А.Л. Качалову
|
(72) Автор(ы):
Дубрава О.Л. (RU), Козырев В.Н. (RU), Воробьев В.В. (RU)
(73) Патентообладатель(и):
Закрытое акционерное общество Научно-промышленная группа “Гранит-Саламандра” (RU)
|
(54) ОГНЕТУШАЩЕЕ УСТРОЙСТВО
(57) Реферат:
Изобретение относится к противопожарной технике, в частности к устройствам, генерирующим газоаэрозольную смесь ингибиторов горения, и может быть использовано для объемного тушения пожаров в замкнутых помещениях. Огнетушащее устройство содержит генерирующие газоаэрозольную смесь, два пиротехнических заряда с защитной оболочкой, расположенные во встречно скрепленных с зазором емкостях, одна из которых имеет тарельчатую форму, где заряды закреплены посредством прослойки из строительного гипса, заполняющей отбортовку, причем узел воспламенения установлен в зазоре между зарядами. Новым является то, что вторая емкость выполнена цилиндрической по диаметру отбортовки тарельчатой емкости, а массы помещенных в них зарядов соотносятся как 3:7. Предложенное техническое решение обеспечило автоматическое функционирование устройства в двух режимах: интенсивного генерирования тушащей газоаэрозольной смеси при одновременном торцевом горении пиротехнических зарядов шашки в обеих емкостях корпуса, что создает в защищаемом объеме огнетушащей концентрации ингибиторов горения, и последующего замедленного генерирования аэрозоля при горении только заряда в цилиндрической емкости, создающего повышенную до регламентированной концентрацию ингибиторов горения в замкнутом объеме защищаемого помещения. 1 ил.

Изобретение относится к противопожарной технике, а более конкретно к устройствам для тушения пожаров посредством генерируемых при сгорании пиротехнического состава шашки газоаэрозольных ингибиторов горения, организованно направляемых в защищаемый замкнутый объем.
Уровень техники данной области характеризует огнетушащее устройство, описанное в патенте RU 2164809, А 62 С 19/00, 2001 г., которое содержит корпус, составленный из двух встречно скрепленных емкостей тарельчатой формы с зазором между их отбортовками, образующими щелевое сопло, и генерирующие при сгорании газоаэрозольную смесь пиротехнические шашки, закрепленные в обеих емкостях корпуса через теплозащитную прослойку из строительного гипса так, что свободный торец шашек расположен ниже отбортовки для формирования ресивера между ними, а также узел инициирования воспламенения, соосный щелевому соплу, где размещена уплотняющая пенопластовая прослойка.
Выполнение корпуса из двух встречно скрепленных емкостей тарельчатой формы образует регулируемый зазор между отбортовками, который формирует щелевое выходное сопло для генерируемого аэрозоля, адаптируемое к разным пиротехническим составам шашки.
Пиротехнические заряды шашек горят с двух торцевых поверхностей в каждой части составного корпуса, что заметно повышает динамику подачи генерируемой тушащей смеси в защищаемый объем.
Недостатком указанного генератора аэрозоля является относительно большое время запуска из-за одностороннего воспламенения пиротехнических зарядов шашек, торцевая поверхность горения которых находится ниже оси воспламеняющего факела, инициирование осуществляется через поперечную щель сопла, извне корпуса.
Расположение зарядов ниже отбортовок емкостей корпуса образует ресивер, необходимый для организации динамического истечения тушащей смеси, что снижает массу шашки и уменьшает защищаемый объем, то есть эффективность пожаротушения.
Термическая незащищенность отбортовок металлического корпуса, его щелевого сопла, которое быстро прогорает, ограничивает время работы устройства и объем генерируемого аэрозоля, что нарушает нормальное функционирование генератора по тушению пожара, причем сам генератор по этой причине может служить источником вторичного возгорания.
Отмеченные недостатки устранены в генераторе огнетушащего аэрозоля, выбранном в качестве наиболее близкого аналога, по патенту RU 34383 на полезную модель, А 62 С 3/00, 2003 г., который содержит корпус, составленный из двух встречно скрепленных емкостей тарельчатой формы с зазором между заполненными гипсом их отбортовками, образующими выходное футерованное дисковое сопло.
В теплозащитных прослойках из строительного гипса в каждой емкости корпуса установлены два пиротехнических заряда шашки, на одном из которых посредством клеящего воспламенительного состава закреплен резистор, связанный с источником тока, совокупно образующие узел воспламенения.
Торцы зарядов шашки расположены с зазором, соизмеримым с дисковым соплом, сформированным гипсовой футеровкой отбортовок тарельчатых емкостей корпуса, что увеличило массу пиротехнического состава и объем rе-нерируемого аэрозоля. В футерованном дисковом сопле обеспечивается as-томатическое охлаждение выбрасываемой тушащей газообразной смеси посредством активного выпаривания из гипса воды, предохраняющее металлический корпус от нагрева и прогаров.
Пиротехническая шашка от атмосферной влаги изолирована защитной оболочкой, в частности, силиконовым герметиком.
Известное огнетушащее устройство имеет повышенную механическую прочность, что позволяет использовать его в качестве метательного в очаг пожара, а также интенсивное генерирование газоаэрозольной смеси, которая в дисковом сопле активно перемешивается и охлаждается выпариваемой из гипса водой, связанной и присоединенной.
Заливаемый в технологические зазоры при сборке генератора раствор строительного гипса обеспечивает технологичность изготовления устройства, а изменение его агрегатного состояния до твердого монолита создает конструкционную жесткость структурным элементам в заданной пространственной взаимосвязи.
Однако недостатком известного огнетушащего устройства является продолжение его достоинств: высокая интенсивность генерирования газоаэрозольной смеси оперативно подавляет пожар, но не создает в защищаемом объеме требуемой повышенной концентрации ингибиторов горения, которая необходима для предотвращения вторичного возгорания в течение заданного времени. Эту задачу невозможно решить простым увеличением массы зарядов шашки по причине конструктивных и гидродинамических ограничений механической прочности корпуса при повышении давления внутри генератора.
Задачей, на решение которой направлено настоящее изобретение, является повышение функциональной надежности огнетушащего устройства и расширение его технологических возможностей.
Требуемый технический результат достигается тем, что в известном огнетушащем устройстве, содержащем генерирующие газоаэрозольную смесь, два пиротехнических заряда с защитной оболочкой, расположенных во встречно скрепленных с зазором емкостях, одна из которых имеет тарельчатую форму, где заряды закреплены посредством прослойки из строительного гипса, заполняющей отбортовку тарельчатой емкости, формируя выходное дисковое сопло, причем узел воспламенения установлен в зазоре между зарядами, согласно изобретению, вторая емкость выполнена цилиндрической по диаметру отбортовки тарельчатой емкости, а массы помещенных в них зарядов соотносятся как 3:7.
Отличительные признаки обеспечили автоматическое функционирование устройства в двух режимах: интенсивного генерирования тушащей газоаэрозольной смеси при одновременном торцевом горении пиротехнических зарядов шашки в двух емкостях, что создает в защищаемом объеме огнетушащую концентрацию ингибиторов горения, и последующего горения только заряда большей массы в цилиндрической емкости, которое замедленно создает повышенную концентрацию ингибиторов горения, регламентированную ведомственными нормативами, в течение времени до 200 с, согласно требованиям НПБ 60-97.
Первый режим интенсивного генерирования тушащей смеси обеспечивает подавление пожара, а последующий, с пониженным газоприходом, предотвращает вторичное возгорание в защищаемом объеме помещения.
Оптимизированное соотношение масс зарядов, помещенных в тарельчатой и цилиндрической емкостях корпуса, определено экспериментально и направлено на повышение эффективности пожаротушения.
При совместном сгорании 60% общей массы шашки (полностью заряда в тарельчатой емкости и равной массы заряда в цилиндрической емкости) в защищаемом объеме создается концентрация ингибиторов горения 30 г/м куб., которая подавляет пожар.
Замедленная скорость подачи газоаэрозольной смеси при автономном горении оставшихся 40% массы шашки (заряда в цилиндрической емкости) создает регламентированную нормативами концентрацию ингибиторов горения в защищаемом объеме 50 г/м куб., которая стабилизирует химический процесс обрыва механизма воспроизводства активных радикалов в очаге пожара, в результате чего предотвращается вторичное возгорание.
Следовательно, каждый существенный признак необходим, а их совокупность в устойчивой взаимосвязи являются достаточными для достижения новизны качества, неприсущей признакам в их разобщенности, то есть решается поставленная техническая задача не суммой эффектов, а эффектом суммы признаков.
Проведенный сопоставительный анализ предложенного технического решения с выявленными аналогами уровня техники, из которого изобретение явным образом не следует для специалиста пожарного, показал, что оно не известно, а с учетом возможности промышленного серийного изготовления огнетушащего устройства, можно сделать вывод о соответствии критериям патентоспособности.
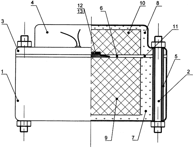
Сущность изобретения поясняется чертежом, где схематично изображено предложенное огнетушащее устройство, которое служит лишь для иллюстрации и не ограничивает объема прав совокупности существенных признаков формулы.
Металлический корпус 1 цилиндрической формы посредством болтовых стяжек 2 жестко скреплен с отбортовкой 3 металлической крышки 4. Диаметры отбортовки 3 и корпуса 1 соразмерны.
Между дном корпуса 1 и отбортовкой 3 крышки 4 установлены мерные втулки 5, формирующие необходимый поперечный зазор 6 посредством размещенных внутри болтовых стяжек 2.
Втулки 5 установлены на периферии прослоек 7 и 8 из строительного гипса цилиндрического корпуса 1 и крышки 4 соответственно, при этом гипс заполняет отбортовку 3 крышки 4.
Заливку водного раствора строительного гипса в зазоры емкости корпуса 1 и крышки 4, при осесимметричном размещении в них зарядов 9, 10 пиротехнической шашки соответственно, производят раздельно с использованием технологических заместителей мерных втулок 5, установленных в кондукторе, для формирования крепежных отверстий в прослойках 8, 7, соосных базирующим отверстиям под стяжки 2 в отбортовке 3 крышки 4 и дне корпуса 1.
В прослойках 7, 8 затвердевшего гипса адгезионно зафиксированы соответственно пиротехнические заряды 9 и 10 шашки, при горении которых образуются газообразные продукты, составляющие основу огнетушащей смеси. Массы зарядов 10 и 9 выбраны в соотношении, равном 3:7.
Застывший гипс прослоек 7, 8, в составе которого содержится связанная вода, имеет развитую пористую объемную структуру, являющуюся физическим накопителем присоединяемой воды, выпариваемой при работе генератора.
Между открытыми торцами прослоек 7, 8 конструктивно (посредством мерных втулок 5) образовано дисковое сопло 11, соразмерное зазору 6 между зарядами 9, 10.
В зазоре 6, сообщающемся с дисковым соплом 11, посредством клеящего воспламенительного состава 12, полимеризующегося после заливки, резистор 13 прикреплен к одному из зарядов 9, 10. Связанный с источником тока резистор 13 и воспламенительный состав 12 его клеящего покрытия совокупно выполняют функции узла воспламенения.
Клеящий воспламенительный состав 12 представляет собой смесь эпоксидной смолы с отвердителем и калиевой селитры в массовом соотношении 2:3, что технологично при изготовлении и функционально безопасно.
Крепление резистора 13 узла воспламенения к открытому торцу заряда 9 или 10 клеящим составом, который при запуске создает усиливающий воспламенительный импульс, технологично и конструктивно просто, позволяет минимизировать зазор 6 до размера щели дискового сопла 11.
Поверхность зарядов 9, 10 покрыта защитной оболочкой лакокрасочного состава, предохраняющего пиротехническую шашку от атмосферной влаги.
Размещение мерных монтажных втулок 5 под крепежные болтовые стяжки 2 отбортовки 3 тарельчатой крышки 4 с корпусом 1 внутри коаксиальных зарядов 9, 10 теплозащитных прослоек 7, 8 из строительного гипса обеспечило повышение конструкционной жесткости монолитного устройства в целом, что позволяет развивать более высокое давление генерируемых газообразных продуктов горения пиротехнической шашки для интенсивной их подачи через поперечное дисковое сопло 11 в защищаемый объем.
Функционирует огнетушащее устройство следующим образом.
При срабатывании системы противопожарной автоматики от превышения заданного порога допустимой температуры воздуха в защищаемом закрытом объеме запускающий импульс силой тока 1-2 А и длительностью 0,5-1,0 сек подается на резистор 13 с сопротивлением 5-15 Ом, который перегорает, выделяя при этом тепло, воспламеняющее состав 12 его покрытия.
Усиленный при сгорании состава 12 тепловой импульс от перегоревшего резистора 13 воспламеняет пиротехнические заряды 9, 10, которые стабильно горят с двух свободных торцов шашки, что повышает динамику генерирорования тушащего аэрозоля, всесторонне истекающего через дисковое футерованное гипсом дисковое сопло 11 с более высокой скоростью.
Связанная и присоединенная лиофильным гипсом прослоек 7, 8 вода выпаривается горячими потоками генерируемого аэрозоля, турбулентно перемешиваясь с газообразными продуктами горения пиротехнических зарядов 9, 10, разбавляет и охлаждает их.
Высокоскоростной поток тушащей газоаэрозольной смеси на выходе из дискового сопла 11 подвергается турбулизации эжектируемым воздухом защищаемого помещения. При этом газоаэрозольный поток перемешивается с воздухом и, радиально расширяясь в движении по дисковому соплу 11, тормозится, что в совокупности обеспечивает активное охлаждение генерированных ингибиторов горения до температуры ниже 300°С на выходе из генератора.
Попадая в очаг возгорания и заполняя объем помещения, газоаэрозольная смесь подавляет пожар в течение 30 сек, когда полностью сгорает заряд 10 крышки 4 и адекватная масса заряда 9 корпуса 1.
Далее горит только оставшаяся часть заряда 9 корпуса 1, что автоматически устанавливает замедленный режим генерирования тушащей смеси в течение 50 сек, обеспечивая регламентированную концентрацию ингибиторов горения в защищаемом объеме, предотвращающую повторное возгорание.
За все время работы генератора температура металлических корпуса 1 и отбортовки 3 крышки 4 не поднимается выше 40°С.
Таким образом, предложенные конструктивные усовершенствования огнетушащего устройства обеспечили интенсификацию объемного пожаротушения и увеличили его эффективность за счет автоматического переключения режима на замедленную подачу газоаэрозольной смеси для создания в защищаемом объеме заданной повышенной концентрации ингибиторов горения.
Формула изобретения
Огнетушащее устройство, содержащее генерирующие газоаэрозольную смесь два пиротехнических заряда с защитной оболочкой, расположенные во встречно скрепленных с зазором емкостях, одна из которых имеет тарельчатую форму, где заряды закреплены посредством прослойки из строительного гипса, заполняющей отбортовку тарельчатой емкости, формируя выходное дисковое сопло, причем узел воспламенения установлен в зазоре между зарядами, отличающееся тем, что вторая емкость выполнена цилиндрической по диаметру отбортовки тарельчатой емкости, а массы помещенных в них зарядов соотносятся как 3:7.
РИСУНКИ
TK4A Исправление очевидных и технических ошибок в публикациях сведений об изобретениях в
бюллетене “Изобретения. Полезные модели”
Номер и год публикации бюллетеня: 20-2005
Код раздела бюллетеня: FG4A
Опубликовано: (73) Закрытое акционерное общество Научно-промышленная группа «Гранит-Саламандра» (RU)
Следует читать: (73) Закрытое акционерное общество «НПГ Гранит-Саламандра» (RU)
Дата публикации: 20.01.2011
|