|
|
(21), (22) Заявка: 2003134022/14, 18.11.2003
(24) Дата начала отсчета срока действия патента:
18.11.2003
(45) Опубликовано: 20.07.2005
(56) Список документов, цитированных в отчете о поиске:
SU 770483 А, 18.10.1980. SU 394039 А, 29.12.1973. WO 89/00409 А1, 26.01,1989.
Адрес для переписки:
420015, г.Казань, ул. М. Горького, 3, НИЦТ “ВТО”, патентный отдел
|
(72) Автор(ы):
Гафаров Х.З. (RU), Гиммельфарб А.Л. (RU)
(73) Патентообладатель(и):
Научно-исследовательский центр Татарстана “Восстановительная травматология и ортопедия” Академии наук Татарстана (НИЦТ “ВТО” АНТ) (RU)
|
(54) УСТРОЙСТВО ДЛЯ ПЕРЕКУСЫВАНИЯ РЕЗЬБОВЫХ СТЕРЖНЕЙ И КОНТРАКТОР
(57) Реферат:
Группа изобретений относится к травматологии – ортопедии. Устройство для перекусывания резьбовых стержней в виде гайки с шестигранным основанием выполнено парным и содержит вкладыши и винты. В основании выполнено ложе под вкладыши. Ложе открыто в сторону одного из ребер гайки. В дне ложа имеется паз, который открыт в ту же сторону. В стенках гайки, перпендикулярно оси паза выполнены соосные сквозные резьбовые отверстия под безголовчатые винты. Винты имеют заостренные концы и оснащены шлицами. Вкладыши выполнены в виде брусов четырехугольного сечения. Наружное основание каждого бруса скошено. Внутреннее основание закруглено по форме ложа. У закругленных оснований и концентрично с ними выполнены полуцилиндрические выемки. Выемки оснащены резьбой и при смыкании вкладышей длинными внутренними гранями образуют резьбовое отверстие под перекусываемый резьбовой стержень. На наружных гранях вкладышей выполнены конические углубления под заостренные концы безголовчатых винтов. Контрактор – в виде пары шарнирно соединенных перекрещивающихся браншей с рабочими частями и стяжкой. Рабочие части установлены на разных уровнях и представляют собой гайкодержатели. Гайкодержатели выполнены в виде полых полуцилиндров, края образующих которых продолжаются за диаметры полуцилиндров в виде прямых пластин. Пластины контактируют друг с другом скользящими торцами. Внутренний диаметр полуцилиндров соответствует расстоянию между противолежащими ребрами гаек. Донья полуцилиндров расположены на противоположных друг от друга сторонах и в них выполнены встречно открытые пазы. Оси наружных полукруглых концов пазов эксцентрично выступают наружу от осей полуцилиндров. На нерабочих концах браншей установлена стяжка. На одном из них на шарнире установлена головка винта стяжки. Конец ее винта выступает через прорезь на конце второй бранши и оснащен барашком. При смыкании браншей торцы прямых пластин, которые расположены за диаметрами полуцилиндров, контактируют и перекрывают друг друга. В результате достигается атравматичность скусывания избыточно выступающих концов резьбовых стержней костных фиксаторов, в том числе и перекусывания их участков между опорами компрессионно-дистракционных аппаратов. 2 н.п. ф-лы, 7 ил.

Изобретение относится к медицинской технике, конкретно к травматологии-ортопедии. Оно применимо также в технике. В медицине используется как для скусывания избыточно выступающих концов резьбовыx стержней костных фиксаторов, так и для перекусывания фрагментов резьбовых стержней компрессионно-дистракционных аппаратов (КДА), расположенных между опорами аппарата.
Известно значительное количество устройств, предназначенных для скусывания избыточно выступающих концов стержней костных металлофиксаторов, в том числе и резьбовых. Некоторые из них можно использовать также и для перекусывания участков резьбовых стержней, расположенных между опорами КДА. Особое усилие развивают кусачки с двойной шарнирной передачей [1] или устройства с удлиненными ручками [2]. Однако все известные устройства сминают резьбу стержней, делая, таким образом, ее непригодной для навинчивания и отвинчивания гаек.
Наиболее близким по своему техническому решению к заявляемому следует считать “Устройство для скусывания металлических стержней при остеосинтезе” [3], принятое за прототип. Устройство содержит круглую гайку с приливом, в котором на резьбе установлена ручка-толкатель, шестигранную гайку и накидной ключ под нее. Круглую и шестигранную гайки навинчивают на скусываемый стержень, плоскость их контакта соответствует уровню намеченного скусывания стержня. Гайки сближают гаечными ключами с максимально возможным усилием, создавая тем самым напряжение растяжения на уровне скусываемого стержня, а толкателем создают срезывающую силу, позволяющую скусить стержень по витку, сохраняя резьбу для возможности отвинчивания со стержня и навинчивания на него гаек. Однако недостатком устройства является невозможность осуществить перекусывание резьбовых стержней КДА на участке между опорами аппарата.
Сущность изобретения заключается в совокупности существенных признаков, обеспечивающих достижение искомого технического результата, а именно: атравматичность скусывания избыточно выступающих концов резьбовых стержней костных фиксаторов, в том числе и перекусывания их участков, расположенных между опорами КДА.
Изобретение содержит два технических решения, объединенных oбщим изобретательским замыслом: разъемную гайку и контрактор. Известно устройство, представляющее собой разъемную гайку, состоящую из двух частей [4], которое также следует отнести к прототипу наряду с “Устройством для скусывания металлических стержней при остеосинтезе” [3], т.к. признаки обоих упомянутых устройств использованы при создании изобретения.
Условием объединения изобретений в группу является предназначенность одного объекта (контрактора) для использования другого (разъемной гайки).
Сущность изобретения состоит в том, что:
1. Устройство для перекусывания резьбовых стержней в виде гайки с шестигранным основанием, отличающееся тем, что выполнено парным и содержит вкладыши и винты, при этом в основании выполнено ложе под вкладыши, открытое в сторону одного из ребер гайки, в дне ложа имеется паз, открытый в ту же сторону, в стенках гайки, перпендикулярно оси паза выполнены сквозные, соосно расположенные резьбовые отверстия под безголовчатые винты, имеющие заостренные концы и оснащенные шлицами, вкладыши выполнены в виде брусов четырехугольного сечения, причем наружное основание каждого бруса скошено, а внутреннее основание закруглено по форме ложа, у закругленных оснований и концентрично с ними выполнены оснащенные резьбой полуцилиндрические выемки, которые, при смыкании вкладышей длинными внутренними гранями, образуют резьбовое отверстие под перекусываемый резьбовой стержень, а на наружных гранях вкладышей выполнены конические углубления под заостренные концы безголовчатых винтов.
2. Контрактор в виде пары шарнирно соединенных перекрещивающихся браншей с рабочими частями и стяжкой, отличающийся тем, что рабочие части установлены на разных уровнях и представляют собой гайкодержатели, выполненные в виде полых полуцилиндров, края образующих которых продолжаются за диаметры полуцилиндров на расстояние m в виде прямых пластин, контактирующих скользящими друг по другу торцами, при этом внутренний диаметр полуцилиндров соответствует расстоянию между противолежащими ребрами гаек, донья полуцилиндров расположены на противоположных друг от друга сторонах и в них выполнены встречно открытые пазы, оси наружных полукруглых концов которых эксцентрично на расстояние n выступают наружу от осей полуцилиндров, на нерабочих концах браншей установлена стяжка, причем на одном из них на шарнире установлена головка винта стяжки, а конец ее винта, выступающий через прорезь на конце второй бранши, оснащен барашком, а при смыкании браншей расположенные за диаметрами полуцилиндров гайкодержателей торцы прямых пластин контактируют, перекрывая друг друга.
Размещение рабочих частей (гайкодержателей) контрактора на разных уровнях обеспечивает наложение их селективно одновременно на обе гайки при сближенном их положении на перекусываемом стержне.
Равенство внутренних диаметров полуцилиндров гайкодержателей с расстояниями между противоположными ребрами гаек обеспечивает стабильное размещение гаек в гайкодержателях как при разомкнутом, так и при сомкнутом положении браншей контрактора и при любом повороте гаек относительно друг друга на резьбовом стержне при его перекусывании.
Эксцентричное расположение осей полукруглых наружных концов пазов по отношению к осям полуцилиндров гайкодержателей обеспечивает смещение перекусываемого стержня на полный его диаметр.
Контактирование и перемещение с перекрытием друг друга торцов выступающих за диаметры полуцилиндров прямых пластин обеспечивает стабильное положение гаек в гайкодержателях.
Стяжка обеспечивает (дополнительное к ручному) усилие сдвига, срезывающего резьбовой стержень.
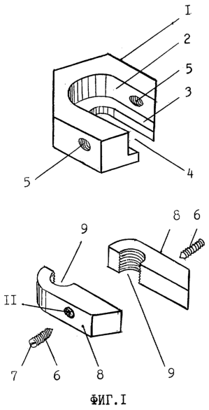
Устройство для перекусывания резьбовых стержней показано на прилагаемых чертежах. На фиг.1 представлена гайка в разобранном виде, на фиг.2 – гайка в собранном виде, на фиг.3 – поперечное сечение гайки через винты при собранном положении, на фиг.4 представлен общий вид контрактора, на фиг.5 – вид А контрактора при разомкнутых браншах, на фиг.6 – тот же вид при сомкнутых браншах с гайками и перекусываемым резьбовым стержнем и на фиг.7 – вид Б гайкодержателя с перекусываемым резьбовым стержнем.
Устройство для перекусыаания резьбовых стержней содержит гайку с шестигранным основанием 1, в котором выполнено ложе 2, открывающееся в сторону одного из ребер. В дне 3 ложа 2 выполнен паз 4, открытый в ту же сторону. В стенках гайки перпендикулярно оси паза 4 выполнены соосно расположенные резьбовые отверстия 5 под винты 6, оснащенные шлицами 7 и имеющие заостренные концы. Вкладыши 8 представляют собой брусья четырехугольного сечения. Наружное основание каждого бруса скошено, а внутреннее – закруглено по форме дожа 2. Концентрично закругленным основаниям выполнены полуцилиндрические выемки 9, оснащенные резьбой, которые, при смыкании вкладышей, образуют резьбовое отверстие 10 под перекусываемый стержень. На наружных гранях вкладышей 8 выполнены конические углубления 11 под заостренные концы винтов 6.
Устройство для перекусывания резьбовых стержней содержит контрактор, который выполнен в виде пары браншей 12, 13, перекрещивающихся на шарнире 14. На рабочих концах браншей 12, 13, на разных уровнях размещены гайкодержатели 15, 16, выполненные в виде полуцилиндров. Края образующих полуцилиндров 15, 16 продолжаются за их диаметры на расстояние m в виде прямых стенок. Внутренний диаметр полуцилиндров соответствует расстоянию между противоположными ребрами гаек. Донья полуцилиндров 17, 18 расположены на противоположных друг от друга сторонах гайкодержателей 15, 16, и в них выполнены открытые, навстречу друг другу пазы 19, 20. Оси наружных полукруглых концов пазов 19, 20 эксцентрично выступают кнаружи от осей полуцилиндров 15, 16 на расстояние n. На нерабочих концах браншей размещена стяжка. На бранше 13 на шарнире 21 установлена головка винта стяжки 22, свободный конец которого выступает через прорезь в нерабочем конце второй бранши 12, где оснащен барашком 23 стяжки.
При смыкании браншей 12, 13, расположенные за диаметрами полуцилиндров 15, 16 гайкодержателей торцы прямых стенок контактируют, перекрывая друг друга. На фиг.6, 7 показан перекусываемый резьбовой стержень 24.
Устройство работает следующим образом.
Накладывают гайки на скусываемый резьбовой стержень таким образом, чтобы одна из них располагалась выше, а другая – ниже намеченного уровня перекусывания. Для этого каждую пару вкладышей 8 смыкают на резьбовом стержне 24 таким образом, чтобы последний оказался в резьбовом отверстии 10. На вкладыши 8 надевают основание 1 гаек таким образом, чтобы они располагались в ложах 2, после чего вкладыши 8 фиксируют винтами 6 через резьбовые отверстия 11. При этом обращают внимание на то, чтобы гайки были обращены друг к другу вкладышами 8. Резьбовой стержень 24, кроме отверстий 10, располагается в пазах 4 доньев 3 гаек. Гаечными ключами производят максимально возможное от руки затягивание гаек, создавая, тем самым, концентрацию напряженного состояния растяжения на стыке гаек. Далее, при разведенных браншах 12, 13 контрактора, к гайкам подводят гайкодержатели 15, 16. Создают вначале максимально возможное от руки сближение браншей 12, 13, после чего продолжают их сближение, посредством стяжки, завинчивая барашек 23. К напряженному состоянию растяжения прибавляется срезывающая сила, происходит плавное атравматичное срезывание стержня 24.
Гайки удаляют со стержня 24 путем вывинчивания винтов 6 с последующим удалением основания 1 и вкладышей 8.
Источники информации
1. AESCULAP. Каталог фирмы S/74, LX 160C.
2. AESCULAP. Каталог фирмы S/74, LX 165C.
3. Авт. свид. СССР №770483, БИ, 1980, № 38.
4. Гайка. Политехнический словарь, Сов. Энциклопедия , М., 1980, с.105.
Формула изобретения
1. Устройство для перекусывания резьбовых стержней в виде гайки с шестигранным основанием, отличающееся тем, что выполнено парным и содержит вкладыши и винты, при этом в основании выполнено ложе под вкладыши, открытое в сторону одного из ребер гайки, в дне ложа имеется паз, открытый в ту же сторону, в стенках гайки перпендикулярно оси паза выполнены сквозные, соосно расположенные резьбовые отверстия под безголовчатые винты, имеющие заостренные концы и оснащенные шлицами, вкладыши выполнены в виде брусов четырехугольного сечения, причем наружное основание каждого бруса скошено, а внутреннее основание закруглено по форме ложа, у закругленных оснований и концентрично с ними выполнены оснащенные резьбой полуцилиндрические выемки, которые при смыкании вкладышей длинными внутренними гранями образуют резьбовое отверстие под перекусываемый резьбовой стержень, а на наружных гранях вкладышей выполнены конические углубления под заостренные концы безголовчатых винтов.
2. Контрактор в виде пары шарнирно соединенных перекрещивающихся браншей с рабочими частями и стяжкой, отличающийся тем, что рабочие части установлены на разных уровнях и представляют собой гайкодержатели, выполненные в виде полых полуцилиндров, края образующих которых продолжаются за диаметры полуцилиндров в виде прямых пластин, контактирующих скользящими друг по другу торцами, при этом внутренний диаметр полуцилиндров соответствует расстоянию между противолежащими ребрами гаек, донья полуцилиндров расположены на противоположных друг от друга сторонах и в них выполнены встречно открытые пазы, оси наружных полукруглых концов которых эксцентрично выступают наружу от осей полуцилиндров, на нерабочих концах браншей установлена стяжка, причем на одном из них на шарнире установлена головка винта стяжки, а конец ее винта, выступающий через прорезь на конце второй бранши, оснащен барашком, а при смыкании браншей расположенные за диаметрами полуцилиндров гайкодержателей торцы прямых пластин контактируют, перекрывая друг друга.
РИСУНКИ
MM4A Досрочное прекращение действия патента Российской Федерации на изобретение из-за неуплаты в установленный срок пошлины за поддержание патента в силе
Дата прекращения действия патента: 19.11.2005
Извещение опубликовано: 27.01.2007 БИ: 03/2007
|
|