|
|
(21), (22) Заявка: 2003127940/12, 16.09.2003
(24) Дата начала отсчета срока действия патента:
16.09.2003
(30) Конвенционный приоритет:
02.06.2003 (пп.1-10) KR 2003-35218
(43) Дата публикации заявки: 10.03.2005
(45) Опубликовано: 20.07.2005
(56) Список документов, цитированных в отчете о поиске:
WO 02/11595 A1, 14.02.2002. WO 02/11596 A1, 14.02.2002. US 3608126 A, 28.09.1971. US 2815525 A, 10.12.1957. DE 4413071 A1, 19.10.1995. EP 0792613 A2, 03.09.1997. SU 1708292 A1, 30.01.1992.
Адрес для переписки:
129010, Москва, ул. Б.Спасская, 25, стр.3, ООО “Юридическая фирма Городисский и Партнеры”, пат.пов. С.А.Дорофееву
|
(72) Автор(ы):
ЛИМ Дзонг-коок (KR), ЧОЙ Кеон-соо (KR)
(73) Патентообладатель(и):
САМСУНГ ГВАНГДЖУ ЭЛЕКТРОНИКС КО., ЛТД. (KR)
|
(54) ВХОДНОЕ УСТРОЙСТВО ПЫЛЕСОСА
(57) Реферат:
Входное устройство может присоединяться с возможностью отсоединения к впускной трубе пылесоса и позволяет изменять площади всасывания пылесоса и повысить удобство чистки угловой зоны помещения. Входное устройство содержит впускной корпус, имеющий канал для впуска пыли, присоединяемый с возможностью отсоединения к впускной трубе пылесоса, и вспомогательный впускной корпус, присоединяемый с возможностью выдвигания и вдвигания к впускному корпусу для изменения размеров при чистке угловой зоны, имеющей заданный угол, и имеющий вспомогательный впускной канал, сообщающийся с каналом для впуска пыли в направлении выдвигания и вдвигания. Вспомогательный впускной корпус содержит пару поворотных щеток, присоединенных с возможностью поворота к предназначенному для впуска пыли каналу впускного корпуса, и выдвижную щетку, которая выполнена с возможностью выдвигания и вдвигания в направлении длины поворотной щетки. Вспомогательный впускной канал образован вдоль обеих нижних поверхностей поворотной щетки и выдвижной щетки в направлении их длины. Площадь всасывания входного устройства может быть надлежащим образом увеличена или уменьшена с тем, чтобы просто и быстро выполнить чистку угловой зоны помещения, при этом всосанное постороннее вещество не удерживается и не фиксируется во впускной части. 9 з.п. ф-лы, 14 ил.

ПРЕДПОСЫЛКИ СОЗДАНИЯ ИЗОБРЕТЕНИЯ
1. Область техники, к которой относится изобретение
Настоящее изобретение относится к пылесосу и, более точно, к входному устройству, предназначенному для пылесоса, которое присоединяется с возможностью отсоединения к впускной трубе пылесоса.
2. Описание предшествующего уровня техники
В пылесосе, например, трудно удалить пыль или постороннее вещество, остающиеся в углу комнаты, из-за конструкции его входного участка. В недавнем прошлом для решения данной проблемы была предложена складная и убирающаяся щетка пылесоса.
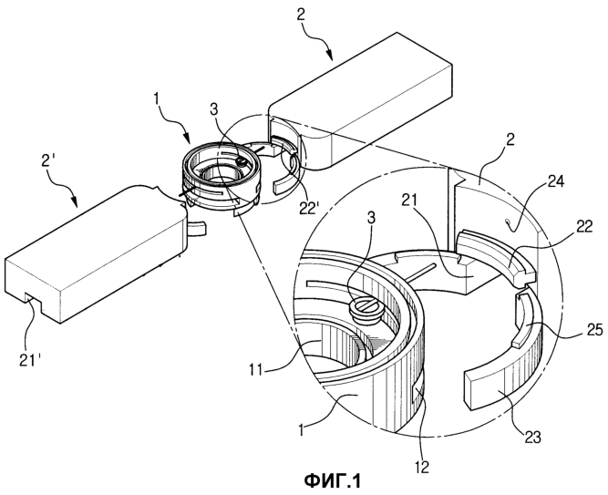
На фиг.1 – фиг.4 показана обычная складная и убирающаяся щетка пылесоса. Как показано на фиг.1-4, обычная складная и убирающаяся щетка пылесоса состоит из центрального корпуса 1, соединенного с впускной трубой 105 (фиг.5) пылесоса, и из левого и правого корпусов 2, 2′, установленных с возможностью поворота соответственно с обеих сторон центрального корпуса 1. Между центральным корпусом 1 и левым и правым корпусами 2, 2′ предусмотрена пружина 3, предназначенная для возврата левого и правого корпусов 2, 2′ в их исходное положение.
Как показано на фиг.2, центральный корпус 1 имеет впускное отверстие 11, которое открыто в направлении вниз. Поступающие снаружи пыль и грязь (далее называемые “посторонним веществом”) всасываются через впускное отверстие 11. На обеих боковых сторонах наружной окружной периферийной поверхности центрального корпуса 1 образованы направляющие канавки 12, предназначенные для направления каждого из правого и левого корпусов 2 и 2′. Направляющее отверстие 13 для пружины образовано у верхней стороны направляющей канавки 12, и пружина 3, соединенная с правым и левым корпусами 2 и 2′, расположена в направляющем отверстии 13 для пружины.
На нижней поверхности центрального корпуса 1 образованы первый, второй и третий выступы 14, 14′, 14″. Второй и третий выступы 14′ и 14″ соответственно имеют сторону, параллельную входной канавке 21, 21′. У нижней центральной стороны между вторым выступом 14′ и третьим выступом 14″ выполнен первый выступ 14. Кроме того, на нижней поверхности центрального корпуса 1 образована пара канавок 17 и 17′ для направляющих преграждающих элементов, при этом данные канавки образованы снаружи от выступов 14, 14′ и 14″ в окружном направлении.
Между тем, левый и правый корпуса 2, 2′ снабжены выступающими направляющими 22, 22′, соединенными с направляющими канавками 12. С верхней стороны выступающих направляющих 22, 22′ выполнены соединительные отверстия 24, 24′ для пружины, в которые вставлена пружина 3. С нижней стороны выступающих направляющих 22, 22′ образованы входные канавки 21, 21′, предназначенные для направления поступающего снаружи постороннего вещества к впускному отверстию 11 центрального корпуса 1. И у нижней стороны выступающих направляющих 22, 22′ расположены преграждающие элементы 23, 23′, предназначенные для предотвращения потерь всасывающей силы между центральным корпусом 1 и левым и правым корпусами 2, 2′.
Направляющие 25, 25′ преграждающих элементов образованы на верхней поверхности преграждающих элементов 23, 23′. Направляющие 25, 25′ преграждающих элементов соединены с канавками 17, 17′ для направляющих преграждающих элементов, образованными на нижней поверхности центрального корпуса 1. В данном случае канавки 17 и 17′ для направляющих преграждающих элементов соответственно имеют разный диаметр по отношению к центральной оси центрального корпуса 1. Таким образом, преграждающие элементы 23 и 23′ левого и правого корпусов 2 и 2′ могут быть плавно повернуты без какого-либо контакта друг с другом.
Кроме того, пружина 3 представляет собой пружину, работающую на кручение. Один конец пружины 3 неподвижно прикреплен к центральному корпусу 1, а другой конец вставлен в соединительные отверстия 24, 24′ для пружины, предусмотренные в левом и правом корпусах 2, 2′. Например, в том случае, если левый и правый корпуса 2, 2′ будут повернуты при контакте с мебелью или стенкой в помещении, пружина 3 служит для создания возвращающей силы.
Обычная щетка пылесоса может быть присоединена к впускной трубе пылесоса путем использования соединителя (непоказанного), который по форме соответствует форме центрального корпуса 1. Например, при чистке угла помещения, который имеет угол 90о, при использовании складной и убирающейся щетки, присоединенной к пылесосу, щетка может быть смещена вперед, как показано на фиг.4. В этом случае левый и правый корпуса 2, 2′ поворачиваются под действием внешней силы, при этом центральный корпус будет находиться в центре. Таким образом, впускное отверстие 11 центрального корпуса 1 приближается к углу между основанием 51 и стенкой 55. В этот момент постороннее вещество будет всасываться в направлении стрелки. Когда щетку смещают назад после завершения операции чистки в заданной части помещения, внешнее усилие, приложенное к левому и правому корпусам 2, 2′, снимается. Следовательно, левый и правый корпуса 2, 2′ возвращаются в исходное положение под действием возвращающей силы пружины 3.
Как описано выше, обычная складная и убирающаяся щетка, предназначенная для пылесоса, имеет преимущество, заключающееся в том, что она способна обеспечить очистку угла помещения. Однако, поскольку длина левого и правого корпуса ограничена, операция чистки может быть выполнена только в сравнительно узкой зоне. Следовательно, существует неудобство, состоящее в том, что пользователю приходится неоднократно передвигать щетку при выполнении операции чистки. Кроме того, при использовании обычной складной и убирающейся щетки, предназначенной для пылесоса, из-за ее конструкции, при которой пружина расположена так, что она открыта для воздействия со стороны впускного отверстия, через которое всасывается постороннее вещество, постороннее вещество может удерживаться между пружиной 3 и направляющим отверстием 13 для пружины, что тем самым может явиться причиной неисправности в процессе работы. Кроме того, трудно удалить постороннее вещество из пружины.
СУЩНОСТЬ ИЗОБРЕТЕНИЯ
Следовательно, целью настоящего изобретения является создание входного устройства пылесоса, при котором площадь всасывания может быть легко увеличена и уменьшена в соответствии с входным углом или площадью поверхности угловой зоны помещения, в результате чего операция чистки будет выполняться легко.
Другая цель настоящего изобретения заключается в создании входного устройства пылесоса, в котором поворот левого и правого корпусов может быть плавно осуществлен так, что при этом центральный корпус будет находиться в центре, что, в частности, может позволить предотвратить множество проблем, которые могут возникнуть из-за всосанного постороннего вещества, удерживаемого в данном устройстве или прикрепившегося к нему.
Для достижения цели настоящего изобретения разработано входное устройство пылесоса, содержащее впускной корпус, имеющий канал для впуска пыли и присоединяемый с возможностью отсоединения к впускной трубе пылесоса, и вспомогательный впускной корпус, присоединяемый с возможностью выдвигания из и вдвигания в впускной корпус для изменения размеров при чистке угловой зоны, имеющей заданный угол, и имеющий вспомогательный впускной канал, сообщающийся с каналом для впуска пыли в направлении выдвигания и вдвигания.
Предпочтительно вспомогательный впускной корпус содержит пару поворотных щеток, присоединенных с возможностью поворота к предназначенному для впуска пыли каналу впускного корпуса, и выдвижную щетку, которая выполнена с возможностью выдвигания и вдвигания в направлении длины поворотной щетки, и вспомогательный впускной канал образован вдоль обеих нижних поверхностей поворотной щетки и выдвижной щетки в направлении их длины.
Кроме того, впускной корпус содержит центральный корпус, выполненный с каналом для впуска пыли, который открыт в направлении вниз, и с каналом для выпуска пыли, направленным к впускной трубе и имеющим шарнирный кольцевой выступ, проходящий вниз от канала для впуска пыли так, чтобы обеспечить возможность поворота поворотной щетки влево и вправо, и основной кожух, в котором расположены центральный корпус и впускная труба и который предназначен для обеспечения опоры для поворотной щетки с возможностью поворота.
Предпочтительно основной кожух содержит центральную часть, имеющую канал для прохода воздуха между частью для установки корпуса, в которой смонтирован центральный корпус, и той частью для присоединения трубы, которая сообщается с впускной трубой, и пару крыловидных частей, соответственно проходящих от центральной части к обеим боковым сторонам и соответственно имеющих часть для направления поворота, предназначенную для направления поворота поворотной щетки.
Предпочтительно входное устройство дополнительно содержит упругий элемент, предназначенный для возврата поворотной щетки в исходное положение.
Кроме того, поворотная щетка содержит шарнирную часть, присоединенную с возможностью поворота к шарнирному кольцевому выступу центрального корпуса, и поворотный корпус, в котором размещается выдвижная щетка с возможностью ее выдвигания и вдвигания, и вспомогательный впускной канал образован на нижней поверхности поворотного корпуса, при этом поворотный корпус поворачивается так, что при этом шарнирная часть находится в центре.
Следовательно, площадь всасывания входного устройства может быть легко увеличена и уменьшена в соответствии с входным углом или площадью поверхности угловой зоны помещения, в результате чего операция чистки будет выполняться легко. Кроме того, поскольку поворот левого и правого корпусов может быть плавно осуществлен так, что при этом центральный корпус будет находиться в центре, и, в частности, всосанное постороннее вещество не удерживается во входной части и не прикрепляется к ней, недостатки при эксплуатации заметно уменьшаются.
КРАТКОЕ ОПИСАНИЕ ЧЕРТЕЖЕЙ
Вышеуказанные цели и другие преимущества настоящего изобретения станут более очевидными из подробного описания предпочтительных вариантов его осуществления со ссылкой на сопроводительные чертежи, где:
фиг.1 представляет собой вид в изометрии обычного входного устройства;
фиг.2 – вид снизу устройства по фиг.1;
фиг.3 – увеличенный вид в изометрии центрального корпуса по фиг.1;
фиг.4 – изображение, иллюстрирующее работу обычного входного устройства;
фиг.5 – вид в изометрии пылесоса с входным устройством согласно настоящему изобретению;
фиг.6 – увеличенное изображение основной части фиг.5, показывающее входное устройство согласно настоящему изобретению;
фиг.7 – выполненный с пространственным разделением элементов вид в изометрии устройства по фиг.6;
фиг.8 – вид в изометрии снизу устройства по фиг.7;
фиг.9 – частично увеличенный вид в изометрии устройства по фиг.8, показывающий центральный корпус, вспомогательный впускной корпус и закрывающий элемент шарнира;
фиг.10 – вид в изометрии устройства по фиг.9 в собранном виде;
фиг.11 – увеличенный вид в изометрии, показывающий вспомогательный впускной корпус по фиг.7 в присоединенном состоянии;
фиг.12 – поперечное сечение, выполненное по линии I-I на фиг.11;
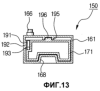
фиг.13 – поперечное сечение, выполненное по линии II-II на фиг.11; и
фиг.14 – вид в изометрии, иллюстрирующий функционирование входного устройства, при этом оно показано в положении с удаленной верхней крышкой.
ПОДРОБНОЕ ОПИСАНИЕ ПРЕДПОЧТИТЕЛЬНЫХ ВАРИАНТОВ ОСУЩЕСТВЛЕНИЯ
Далее со ссылкой на приложенные чертежи будет подробно описано устройство для регулировки выдвигания и вдвигания вспомогательного впускного корпуса, предназначенное для всасывающей щетки вертикального пылесоса согласно предпочтительному варианту осуществления настоящего изобретения.
Фиг.5 представляет собой вид в изометрии пылесоса с входным устройством согласно настоящему изобретению. Как показано на фиг.5, пылесос 100 содержит корпус 101 пылесоса, в котором смонтировано устройство (непоказанное) для создания вакуума, узел 102 из впускных труб, присоединенный к корпусу 101 пылесоса, и входное устройство 110, присоединенное к узлу 102 из впускных труб так, чтобы обеспечить всасывание постороннего вещества снаружи. Узел 102 из впускных труб содержит гибкую трубу 104, присоединенную к впускному каналу 106 корпуса 101 пылесоса, впускную трубу 105, присоединенную к задней части входного устройства 110, и трубу 103 с ручкой, расположенную между гибкой трубой 104 и впускной трубой 105.
Фиг.6 представляет собой увеличенное изображение основной части фиг.5, показывающее входное устройство согласно изобретению, и фиг.7 представляет собой выполненный с пространственным разделением элементов вид в изометрии устройства по фиг.6, и фиг.8 представляет собой вид в изометрии снизу устройства по фиг.7. Входное устройство 110 содержит впускной основной корпус 120, присоединенный к впускной трубе 105 пылесоса 100, и вспомогательный впускной корпус 150, который выполнен с возможностью выдвигания/вдвигания и одновременного поворота относительно впускного основного корпуса 120. Впускной основной корпус 120 посредством первой соединительной трубы 116 и второй соединительной трубы 117 присоединен к впускной трубе 105. Первая и вторая соединительные трубы 116 и 117 соединены друг с другом с возможностью поворота относительно друг друга.
Впускной основной корпус 120 выполнен с основным кожухом 121 и центральным корпусом 141, расположенным в основном кожухе 121. Как показано на фиг.9 и 10, центральный корпус 141 выполнен с шарнирным кольцевым выступом 143, образующим поворотную ось вспомогательного впускного корпуса 150, и с каналом 142 для выпуска пыли, открытым в направлении назад. Шарнирный кольцевой выступ 143 выполнен с каналом 146 для впуска пыли, открытым в направлении вниз. Участок 145 для прохода воздуха образован на наружной поверхности шарнирного кольцевого выступа 143.
Основной кожух 121 содержит нижний кожух 123 и верхнюю крышку 122. Нижний кожух 123 выполнен с центральной частью 131, в которой расположен центральный корпус 141, и с парой крыловидных частей 124 и 124′, которые проходят от обеих боковых сторон центральной части 131. В центральной части 131 образован канал 134 для прохода воздуха в направлении спереди назад. У переднего конца канала 134 для прохода воздуха образована часть 132 для установки корпуса, в которой расположен центральный корпус 141, а у заднего конца канала 134 для прохода воздуха образована часть 133 для присоединения трубы, в которой присоединена вторая соединительная труба 117. Следовательно, постороннее вещество, выпускаемое в предназначенную для выпуска пыли часть 142 центрального корпуса 141, проходит вдоль канала 134 для прохода воздуха и затем поступает по второй соединительной трубе 117 во впускную трубу 105.
На крыловидных частях 124, 124′ нижнего кожуха 123 образованы наклонные поверхности 126, 126′, которые наклонены под заданным углом в направлении назад. В центральной зоне нижней поверхности крыловидных частей 124, 124′ образованы направляющие канавки 125, 125′, образующие дуги, относительно которых шарнирный кольцевой выступ 143 центрального корпуса 141 находится в центре. Направляющие выступы 166, 166′, выступающие вверх на поворотных щетках 161, 161′ вспомогательного впускного корпуса 150, входят в направляющие канавки 125, 125′. Направляющие выступы 166, 166′ обеспечивают направление поворота поворотных щеток 161, 161′ при перемещении их вдоль направляющих канавок 125, 125′. В данном случае наклонные поверхности 126, 126′ служат для ограничения чрезмерного поворота поворотных щеток 161, 161′, когда поворотные щетки 161, 161′ входят в контакт, например, со стеной помещения или мебелью и т.д.
Выступы 127, 127′ для пружин образованы на нижней поверхности крыловидных частей 124, 124′ нижнего кожуха 123 так, что данные выступы выступают вверх. Предпочтительно выступы 127, 127′ для пружин образованы между направляющими канавками 125, 125′ и шарнирным кольцевым выступом 143. Пружины 135, 135′, работающие на кручение, надеты на выступы 127, 127′ для пружин. Каждая из пружин 135, 135′, работающих на кручение, прикреплена к крыловидной части 124, 124′ одним концом, в то время как другой ее конец прикреплен к каждому из направляющих выступов 166, 166′, образованных на поворотных щетках 161, 161′. Следовательно, поворотные щетки 161, 161′, опирающиеся на крыловидные части 124, 124′ с возможностью поворота, могут быть возвращены в их исходное положение за счет действия упругой силы пружин 135, 135′, работающих на кручение, как описано ниже.
Фиг.11 представляет собой увеличенный вид в изометрии, показывающий вспомогательный впускной корпус по фиг.7 в присоединенном состоянии, а фиг.12 представляет собой поперечное сечение, выполненное по линии I-I на фиг.11, и фиг.13 представляет собой поперечное сечение, выполненное по линии II-II на фиг.11. Вспомогательный впускной корпус 150 выполнен с парой поворотных щеток 161, 161′ и парой выдвижных щеток 171, 171′, которые размещены в поворотных щетках 161, 161′ с возможностью выдвигания и вдвигания. На чертежах показаны только поворотная щетка 161 и выдвижная щетка 171, и приведенное ниже описание сфокусировано на них.
Поворотная щетка 161 содержит шарнирную часть 163, присоединенную к шарнирному кольцевому выступу 143 центрального корпуса 141, и поворотный корпус 162, проходящий от шарнирной части 163 в радиальном направлении. Поворотный корпус 162 выполнен в виде прямоугольной коробки и имеет отверстие 167 на конце, противоположном шарнирной части 163. На нижней поверхности поворотного корпуса 162 образован вспомогательный впускной канал 168, который выступает вверх. Вспомогательный впускной канал 168 проходит вдоль длины поворотного корпуса 162, и один конец вспомогательного впускного канала 168 сообщается с предназначенным для впуска пыли каналом 146 центрального корпуса 141. Направляющий выступ 166 (см. фиг.7) выступает вверх на верхней поверхности поворотного корпуса 162 так, что он входит в направляющую канавку 125, образованную в крыловидной части 124 основного кожуха 121.
Между тем, шарнирная часть 163 выполнена в виде кольца и присоединена с возможностью поворота к наружной поверхности шарнирного кольцевого выступа 143. Шарнирная часть 163 образована в верхней части конца поворотного корпуса 162 так, что она имеет толщину, соответствующую половине высоты поворотного корпуса 162. И шарнирная часть 163′ другой поворотной щетки 161′ образована в нижней части конца соответствующего поворотного корпуса 162′. Следовательно, как показано на фиг.10, шарнирные части 163 и 163′ совмещаются друг с другом на наружной поверхности шарнирного кольцевого выступа 143.
Кроме того, на наружной поверхности той шарнирной части 163′ поворотной щетки 161′, которая расположена с нижней стороны другой шарнирной части 163, образован участок 165 для прохода пыли. Участок 165 для прохода пыли служит для обеспечения сообщения между вспомогательным впускным каналом 168 поворотной щетки 161 и предназначенным для впуска пыли каналом 146 центрального корпуса 141.
Как показано на фиг.10, шарнирные части 163, 163′, которые совмещены друг с другом на наружной поверхности шарнирного кольцевого выступа 143 центрального корпуса 141, опираются на закрывающий элемент 181 шарнира, присоединенный к шарнирному кольцевому выступу 143 с нижней его стороны. Крюкообразный элемент 182 образован на верхнем конце закрывающего элемента 181 шарнира, и на шарнирном кольцевом выступе 143 образован паз 144 для крюкообразного элемента, в который входит крюкообразный элемент 182. И поскольку участок 185 для прохода воздуха также образован на наружной поверхности закрывающего элемента 181 шарнира, вспомогательные впускные каналы 168, 168′ и канал 146 для впуска пыли сообщаются друг с другом.
Между тем, выдвижная щетка 171 также выполнена в виде прямоугольной коробки и входит в отверстие 167 поворотной щетки 161. На нижней поверхности выдвижной щетки 171 также имеется вспомогательный впускной канал 178. Вспомогательный впускной канал 168 поворотной щетки 161 соединен с вспомогательным впускным каналом 178 выдвижной щетки 171. Следовательно, выдвижную щетку 171 можно плавно смещать в направлении длины поворотной щетки 161 с целью ее выдвигания или вдвигания. Вспомогательный впускной канал 178 выдвижной щетки 171 сообщается непосредственно с предназначенным для впуска пыли каналом 146 центрального корпуса 141 при вдвинутом положении выдвижной щетки и сообщается с каналом 146 для впуска пыли через вспомогательный впускной канал 168 поворотной щетки 161 при выдвинутом положении.
Фиксирующий выступ 177, который выступает в направлении наружу, образован на наружном конце выдвижной щетки 171. Фиксирующий выступ 177 входит в контакт с открытой поверхностью поворотной щетки 161, когда выдвижная щетка 171 вдвинута в поворотную щетку 161. Следовательно, предотвращается ситуация, при которой имеет место чрезмерное вдвижение выдвижной щетки 171.
Как показано на фиг.11, выдвижная щетка 171 может быть зафиксирована в заданном положении относительно поворотной щетки 161 с помощью пластинчатой пружины 191 и множества фиксирующих запорных элементов 192. Пластинчатая пружина 191 зафиксирована относительно канавки 193 для данной пружины, образованной на наружной поверхности выдвижной щетки 171. Множество фиксирующих элементов 192 образованы так, что они выступают внутрь вдоль длины поворотной щетки 161. Пластинчатая пружина 191 взаимодействует с фиксирующими элементами 192 поворотной щетки 161 при выдвигании или вдвигании выдвижной щетки 171. В данном случае пластинчатая пружина 191 может быть выполнена на поворотной щетке 161, а фиксирующие элементы 192 могут быть выполнены на выдвижной щетке 171.
На верхней поверхности выдвижной щетки 171 образован перемещающийся выступ 196, а на верхней поверхности поворотной щетки 161 образована перемещающаяся направляющая 195, проходящая в направлении длины поворотной щетки 161. Перемещающийся выступ 196 входит в перемещающуюся направляющую 195 и перемещается в направлении длины поворотной щетки 161. Таким образом, выдвижная щетка 171 может быть плавно смещена для ее выдвигания или вдвигания относительно поворотной щетки 161. В данном случае перемещающийся выступ 196 может быть выполнен на поворотной щетке 161, а перемещающаяся направляющая 195 может быть образована на выдвижной щетке 171.
Чтобы собрать входное устройство 110, подобное описанному выше, сначала центральный корпус 141 размещают в нижнем кожухе 123 основного кожуха 121. После этого шарнирные части 163 и 163′, образованные на поворотных щетках 161 и 161′, присоединяют к шарнирному кольцевому выступу 143 центрального корпуса 141 в таком положении, при котором шарнирные части 163 и 163′ совмещаются друг с другом. В этот момент при приложении внешнего усилия в направлении вверх с нижней стороны шарнирной части 163, 163′ направляющий выступ 166, 166′, образованный на поворотной щетке 161, 161′, может войти в направляющую канавку 125, 125′, образованную на крыловидной части 124, 124′ нижнего кожуха 123.
В этом положении закрывающий элемент 181 шарнира присоединен к шарнирному кольцевому выступу 143 центрального корпуса 141. После этого поворотные щетки 161, 161′ будут опираться на закрывающий элемент 181 шарнира и крыловидные части 124, 124′ нижнего кожуха 123 с возможностью поворота в направлении влево или вправо, при этом шарнирный кольцевой выступ 143 будет находиться в центре. Пружины 135, 135′, работающие на кручение, присоединены к предназначенным для пружин выступам 127, 127′ нижнего кожуха 123, и после этого оба конца пружин 135, 135′, работающих на кручение, соответственно прикрепляют к нижней поверхности нижнего кожуха 123 и направляющим выступам 166, 166′ поворотных щеток 161, 161′. В этот момент обе поворотные щетки 161 и 161′ будут располагаться так, что они будут находиться напротив друг друга, при этом шарнирный кольцевой выступ 143 будет находиться в центре, и такое положение щеток обеспечивается за счет упругой возвращающей силы пружин 135, 135′, работающих на кручение.
После этого выдвижные щетки 171, 171′ присоединяют к поворотным щеткам 161, 161′. И одновременно или в другое время вторую соединительную трубу 117, соединенную с первой соединительной трубой 116, присоединяют к предназначенной для присоединения трубы части 133 нижнего кожуха 123. Если присоединить верхнюю крышку 122 к верхней части нижнего кожуха 123, процесс сборки входного устройства 110 будет завершен.
В этом положении первую соединительную трубу 116 можно присоединить к впускной трубе 105 пылесоса 100. После этого пылесос включают, и, как показано на фиг.14, угловая зона помещения может быть подвергнута чистке. То есть, если поджать входное устройство 110 в направлении вперед так, чтобы оно располагалось рядом с обеими боковыми стенами 55, поворотные щетки 161, 161′ будут поворачиваться за счет воздействия стен 55 на них. Выдвижные щетки 171, 171′, размещенные в поворотных щетках 161, 161′, могут быть надлежащим образом выдвинуты с тем, чтобы увеличить зону чистки.
Между тем, поворотные щетки 161, 161′, которые повернуты так, что шарнирный кольцевой выступ 143 центрального корпуса 141 находится в центре, больше не поворачиваются, когда они находятся в контакте с угловой зоной обеих стен 55. Таким образом, если внешнее усилие, приложенное к поворотным щеткам 161, 161′, будет снято, поворотные щетки 161, 161′ возвращаются в исходное положение под действием упругой силы пружины, работающей на кручение.
Несмотря на то, что настоящее изобретение было описано подробно, следует понимать, что различные изменения, замены и переделки могут быть выполнены, не выходя за пределы существа и объема изобретения, определенные приложенной формулой изобретения.
Формула изобретения
1. Входное устройство пылесоса, содержащее впускной корпус, имеющий канал для впуска пыли, присоединяемый с возможностью отсоединения к впускной трубе пылесоса; и вспомогательный впускной корпус, присоединяемый с возможностью выдвигания и вдвигания к впускному корпусу для изменения размеров при чистке угловой зоны, имеющей заданный угол, и имеющий вспомогательный впускной канал, сообщающийся с каналом для впуска пыли в направлении выдвигания и вдвигания, при этом вспомогательный впускной корпус содержит пару поворотных щеток, присоединенных с возможностью поворота к предназначенному для впуска пыли каналу впускного корпуса, и выдвижную щетку, которая выполнена с возможностью выдвигания и вдвигания в направлении длины поворотной щетки, причем вспомогательный впускной канал образован вдоль обеих нижних поверхностей поворотной щетки и выдвижной щетки в направлении их длины.
2. Устройство по п.1, в котором впускной корпус содержит центральный корпус, выполненный с каналом для впуска пыли, который открыт в направлении вниз, и с каналом для выпуска пыли, направленным к впускной трубе и имеющим шарнирный кольцевой выступ, проходящий вниз от канала для впуска пыли для обеспечения поворота поворотной щетки влево и вправо, и основной кожух, в котором расположены центральный корпус и впускная труба, предназначенный для поддержания поворотной щетки с возможностью поворота.
3. Устройство по п.2, дополнительно содержащее первую соединительную трубу, присоединенную к впускной трубе, и вторую соединительную трубу, присоединенную к основному кожуху и также соединенную с первой соединительной трубой с возможностью поворота относительно нее.
4. Устройство по п.2, в котором основной кожух содержит центральную часть, имеющую канал для прохода воздуха между частью для установки корпуса, в которой смонтирован центральный корпус, и той частью для присоединения трубы, которая сообщается с впускной трубой; и пару крыловидных частей, соответственно проходящих от центральной части к обеим боковым сторонам и соответственно имеющих часть для направления поворота поворотной щетки.
5. Устройство по п.4, в котором часть для направления поворота имеет направляющую канавку, образующую дугу в каждой крыловидной части, при этом шарнирный кольцевой выступ центрального корпуса находится в центре, а направляющий выступ выступает от поворотной щетки с возможностью вхождения в направляющую канавку.
6. Устройство по п.4, дополнительно содержащее упругий элемент для возврата поворотной щетки в исходное положение.
7. Устройство по п.2, в котором поворотная щетка содержит шарнирную часть, присоединенную с возможностью поворота к шарнирному кольцевому выступу центрального корпуса, и поворотный корпус, в котором размещена выдвижная щетка с возможностью ее выдвигания и вдвигания, и вспомогательный впускной канал образован на нижней поверхности поворотного корпуса, при этом поворотный корпус поворачивается с расположением шарнирной части в центре.
8. Устройство по п.7, дополнительно содержащее закрывающий элемент шарнира, присоединенный к шарнирному кольцевому выступу центрального корпуса, к которому присоединена пара поворотных щеток, при этом участок для прохода воздуха образован на наружной поверхности каждого из шарнирного кольцевого выступа, закрывающего элемента для шарнира, шарнирной части и поворотного корпуса.
9. Устройство по п.1, дополнительно содержащее пластинчатую пружину, расположенную у одной из контактирующих поверхностей выдвижной щетки и поворотной щетки, и множество фиксирующих запорных элементов, выполненных на другой контактирующей поверхности в направлении длины и предназначенных для фиксации пластинчатой пружины.
10. Устройство по п.1, дополнительно содержащее перемещающуюся направляющую, образованную на одной из контактирующих поверхностей выдвижной щетки и поворотной щетки, и перемещающийся выступ, образованный на другой контактирующей поверхности с возможностью смещения вдоль перемещающейся направляющей.
РИСУНКИ
MM4A – Досрочное прекращение действия патента СССР или патента Российской Федерации на изобретение из-за неуплаты в установленный срок пошлины за поддержание патента в силе
Дата прекращения действия патента: 17.09.2006
Извещение опубликовано: 20.12.2007 БИ: 35/2007
|
|