|
|
(21), (22) Заявка: 2003127710/12, 12.09.2003
(24) Дата начала отсчета срока действия патента:
12.09.2003
(43) Дата публикации заявки: 27.03.2005
(45) Опубликовано: 20.07.2005
(56) Список документов, цитированных в отчете о поиске:
ЕР 0353546 А1, 07.02.1990. SU 824975 А, 05.05.1981. DE 3500106 А1, 10.07.1986. ЕР 0793938 A2, 10.09.1997. FR 2255871 А1, 25.07.1975. ЕР 1214902 А2, 19.06.2002.
Адрес для переписки:
432027, г.Ульяновск, ул. Северный Венец, 32, УлГТУ, проректору по НИР
|
(72) Автор(ы):
Розенберг Ю.В. (RU)
(73) Патентообладатель(и):
Ульяновский государственный технический университет (RU)
|
(54) ВСАСЫВАЮЩИЙ НАСАДОК
(57) Реферат:
Всасывающий насадок может быть использован в промышленных и бытовых системах вакуумной пылеуборки и позволяет обеспечить эффективную высококачественную очистку ровной и сложнорельефной поверхности при снижении трудоемкости очистки больших по площади участков запыленных поверхностей и расширении эксплуатационных возможностей насадка. Всасывающий насадок содержит корпус, установленный в нем всасывающий патрубок и платформу с опорными элементами. Платформа имеет встроенный патрубок, закрепленную в его нижней части втулку, ручку для перемещения платформы и установленный во втулке с возможностью осевого перемещения трубчатый элемент, имеющий размещенную на его нижнем конце защитную насадку с выполненной в ней выпуклой решеткой. Корпус размещен во встроенном патрубке и имеет сквозные каналы, а опорные элементы выполнены в виде самоустанавливающихся поворотных роликов. Трубчатый элемент удерживается пружиной, верхнее торцевое кольцо которой прижато к поверхности платформы, а нижнее кольцо зажато между фланцем трубчатого элемента и насадкой. 2 ил.

Изобретение относится к конструктивным элементам пылесосных установок и может быть использовано в промышленных и бытовых системах вакуумной пылеуборки.
Известны насадки к пылесосам, выполненные в виде корпуса, в полости которого соосно с ним установлен всасывающий патрубок, нижний торец которого размещен над нижним торцом корпуса, при этом в корпусе имеются сквозные отверстия, что позволяет автоматически поддерживать режим работы побудителя тяги (FR 2154378 А, 11.05.1973, SU 1440486 A1, 30.11.1988, SU 1517927 A1, 30.10.1989).
Однако с помощью известных насадков трудно проводить эффективную вакуумную очистку больших по площади и имеющих сложный рельеф запыленных поверхностей, например, полов и настилов производственных помещений. Это связано с трудностью контактного перемещения торцов известных насадков по очищаемой сложнорельефной поверхности. Кроме того, при контактном перемещении известных насадков трудно обеспечить постоянное перпендикулярное положение указанных насадков относительно очищаемой поверхности, что также препятствует достижению высокого качества очистки.
Известен всасывающий насадок, содержащий корпус с выполненными в нем сквозными каналами и установленный в нем всасывающий патрубок, нижний торец которого расположен над нижним торцом корпуса (SU 824975 A1, 07.02.1990).
Данный насадок благодаря выполненным в стенках корпуса сквозным каналам, через которые полость корпуса связана с атмосферой для нагнетания воздуха на обрабатываемую поверхность, позволяет обеспечить высокое качество уборки просыпей и пыли, а также автоматическое поддержание режима работы побудителя тяги.
Недостатком известного насадка, как и перечисленных выше насадков, является трудность осуществления с помощью известного насадка эффективной высококачественной очистки больших по площади и имеющих сложный рельеф участков поверхности. Это связано, как уже отмечалось выше, с трудностью контактного перемещения торца известного насадка по указанной поверхности. Из-за конструктивных особенностей известного насадка, в частности, наличия у рабочего торцового отверстия насадка узких и острых кромок и связанной с этим возможности повреждения последних при контакте торца насадка с боковыми поверхностями и краями выступов, впадин и других неровностей и препятствий, имеющихся на сложнорельефной поверхности, для обеспечения возможности перемещения насадка, а также для осуществления вакуумной очистки верхней части выступов, насадок приходится либо регулярно поднимать и снова опускать на очищаемые участки поверхности, либо держать насадок постоянно над очищаемой поверхностью, что приводит как к существенному повышению трудоемкости вакуумной очистки, так и заметному снижению качества очистки. Кроме того, для обеспечения высокого качества очистки сложнопрофильной поверхности необходимо при контактном перемещении насадка по указанной поверхности обеспечить поддержание постоянного перпендикулярного или близкого к перпендикулярному относительно поверхности очищаемого участка рабочего положения насадка с сохранением при этом определенного минимально необходимого зазора между кромкой всасывающего отверстия насадка и очищаемой поверхностью, что необходимо также и для обеспечения высококачественной очистки больших по площади участков с относительно ровной и гладкой поверхностью, и что трудно осуществимо при контактном перемещении по очищаемой поверхности торца известного насадка.
Следует также отметить, что для вакуумной очистки от загрязнений полов и настилов в производственных помещениях, например литейных и механических цехах, промышленных складах, мастерских и т.д., содержащих сложные по рельефу препятствия со значительным перепадом высот, насадок должен быть оснащен опорными элементами, обеспечивающими возможность эффективного преодоления указанных препятствий. Известный насадок такими возможностями не обладает.
Указанные недостатки препятствуют широкому использованию известного насадка для очистки названных выше поверхностей, что существенно сужает область применения данного насадка.
Известен всасывающий насадок, содержащий корпус, установленный в нем всасывающий патрубок и платформу с опорными элементами (ЕР 0353546 А1, 07.02.1990).
Однако в данном насадке не устранены отмеченные выше недостатки.
Задачей изобретения является создание всасывающего насадка, обеспечивающего получение технического результата, состоящего в обеспечении эффективной высококачественной очистки ровной и сложнорельефной поверхности и снижении трудоемкости очистки больших по площади участков запыленных поверхностей, расширении эксплуатационных возможностей насадка.
Этот технический результат во всасывающем насадке, содержащем корпус, установленный в нем всасывающий патрубок и платформу с опорными элементами, достигается тем, что платформа имеет встроенный патрубок, закрепленную в его нижней части втулку, ручку для перемещения платформы и установленный во втулке с возможностью осевого перемещения трубчатый элемент, имеющий размещенную на его нижнем конце защитную насадку с выполненной в ней выпуклой решеткой, при этом корпус размещен во встроенном патрубке и имеет сквозные каналы, а опорные элементы выполнены в виде самоустанавливающихся поворотных роликов, причем трубчатый элемент удерживается пружиной, верхнее торцевое кольцо которой прижато к поверхности платформы, а нижнее кольцо зажато между фланцем трубчатого элемента и насадкой.
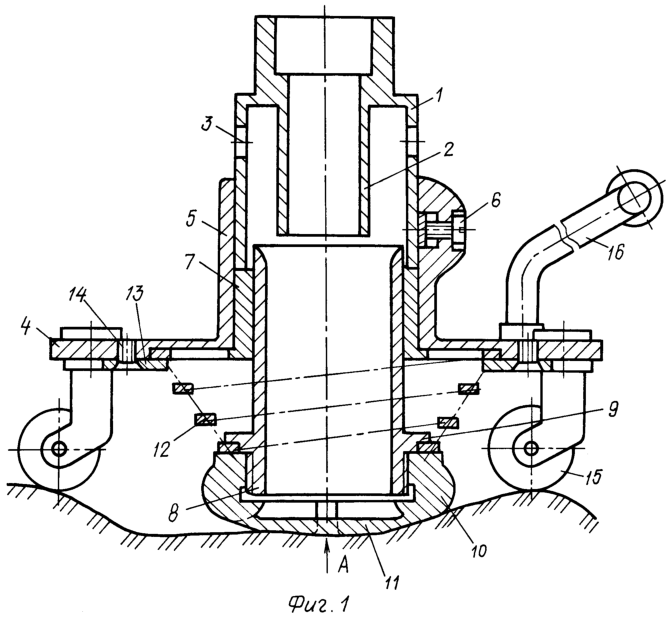
Сущность изобретения поясняется чертежами, где на фиг.1 изображен общий вид предлагаемого насадка в разрезе; на фиг.2 – вид по стрелке А на фиг.1.
Всасывающий насадок содержит цилиндрический корпус 1 с внутренней цилиндрической поверхностью. В полости корпуса 1 соосно с ним установлен всасывающий патрубок 2, нижний торец которого размещен над нижним торцевым отверстием корпуса. В корпусе 1 над нижним торцом патрубка 2 имеются сквозные каналы 3.
Корпус 1 насадка с выполненными в нем сквозными каналами 3 и патрубком 2 установлен на платформе 4, имеющей встроенный установочный патрубок 5 со сквозным цилиндрическим отверстием, в котором размещен корпус 1, закрепленный в патрубке 5 с помощью винта 6. В нижней части патрубка 5 имеется запрессованная в тело платформы направляющая втулка 7, в которой установлен с возможностью осевого перемещения трубчатый элемент 8, выполняющий функцию подводящего пылевоздухопровода. Отверстие трубчатого элемента 8 через нижнее торцевое отверстие корпуса 1 и через полость корпуса сообщено с отверстием всасывающего патрубка 2. На наружной поверхности трубчатого элемента 8 имеется ограничительный фланец 9.
На нижний торец трубчатого элемента 8 навинчена тороидальная защитная насадка 10 со встроенной решеткой 11, имеющей овальновыпуклую нижнюю поверхность, причем решетка размещена в насадке таким образом, что по крайней мере одна из точек указанной поверхности расположена ниже уровня условной плоскости, проходящей через наиболее удаленные от платформы точки поверхности насадка.
С нижней стороны платформы 4 имеется удерживающая трубчатый элемент 8 спиральная коническая пружина 12, верхнее торцевое кольцо которой прижато к поверхности платформы с помощью планок 13 и закреплено винтами 14, а нижнее кольцо пружины 12 зажато между фланцем 9 элемента 8 и верхним торцом насадки 10. Для обеспечения возможности перемещения платформы 4 с установленными на ней корпусом 1 насадка и подвижным трубчатым элементом 8 по ровной или сложнорельефной поверхности платформа снабжена опорными элементами в виде самоустанавливающихся поворотных роликов 15. Перемещение платформы осуществляют с помощью ручки 16.
Подготовка к работе и вакуумная пылеуборка с помощью описываемого всасывающего насадка производится следующим образом.
Платформу 4 с закрепленным на ней корпусом 1 насадка и опорными поворотными роликами 15, а также размещенным в платформе подвижным трубчатым элементом 8 с навинченной со стороны его нижнего торца защитной насадкой 10 и встроенной в нее овальновыпуклой решеткой 11 устанавливают на относительно ровный участок очищаемой поверхности. При этом опорные ролики 15 и нижний торец трубчатого элемента 8 имеющейся на нем выпуклой наружной поверхностью решетки 11 войдут в соприкосновение с очищаемой поверхностью. Затем к корпусу 1 через имеющийся у него соединительный узел подсоединяют наконечник шланга пылесоса (на чертеже не показаны) и включают побудитель тяги.
После включения побудителя тяги воздух начинает отсасываться через установленный в корпусе 1 всасывающий патрубок 2, в который поступает через зазор, образованный очищаемой поверхностью и периферийной частью выпуклой поверхности размещенной на трубчатом элементе 8 решетки 11 и далее через отверстия решетки 11, трубчатый элемент 8 и отверстие корпуса 1, а также через каналы 3. Затем платформу 4 с установленными на ней корпусом 1 насадка, трубчатым элементом 8 с насадкой 10 и другими деталями и элементами с помощью ручки 16 начинают перемещать по убираемой сложнорельефной поверхности.
Наличие у платформы 4 закрепленных с нижней (опорной) стороны платформы самоустанавливающихся поворотных роликов 15 позволяет сообщать платформе любое заданное направление перемещения по очищаемой поверхности. При этом возможность использования для перемещения насадка размещенной на платформе 4 специальной ручки 16 позволяет существенно снизить механическую нагрузку на соединительный узел насадка по сравнению с аналогичными насадками, в которых для перемещения насадка используется подсоединенный к названному узлу металлический или пластмассовый удлинитель шланга пылесоса, и, тем самым, значительно увеличить срок службы и надежность соединительного узла. При этом, что также весьма существенно, появляется возможность подключения к насадку непосредственно гибкого шланга пылесоса, что дает возможность уменьшить габариты очищающего устройства, повысить его управляемость и маневренность, что необходимо, в частности, при проведении вакуумной уборки сильно загроможденных помещений с близко расположенными предметами и узкими проходами.
Одновременно благодаря возможности использования в данном насадке опорных роликов относительно большого диаметра, а также защитной насадки 10 с большим радиусом округления наружной тороидальной поверхности обеспечивается возможность преодоления роликами 15 и, соответственно, платформой 4 и насадкой 10 с решеткой 11 значительных по высоте препятствий, имеющихся на убираемой сложнорельефной поверхности. При этом под воздействием, оказываемым на нижнюю (опорную) поверхность насадки 10 и решетки 11 и, соответственно, на торец трубчатого элемента 8 выступающими элементами разновысоких препятствий будет происходить осевое перемещение трубчатого элемента 8 в патрубке 5 платформы 4.
Установленная с нижней стороны платформы и закрепленная в платформе коническая пружина 12 удерживает трубчатый элемент 8 от чрезмерного выдвижения или выпадения из втулки 7. При этом конструкция и параметры пружины 12 должны отвечать ряду условий: пружина не должна препятствовать осевому перемещению трубчатого элемента, связанному с воздействием на торец трубчатого элемента выступающих элементов очищаемой сложнорельефной поверхности, и обеспечивать возможность контактной очистки дна углублений, уровень донной поверхности которых находится ниже уровня условной плоскости, на которой располагаются наиболее удаленные от нижней поверхности платформы опорные точки поворотных роликов.
В этой связи, при выборе пружины ее рассчитывают таким образом, чтобы сила упругого сопротивления сжатию пружины в осевом направлении была существенно меньше осевого сжимающего усилия, возникающего в результате воздействия на пружину веса платформы с установленными на ней деталями и элементами. Одновременно сила упругого сопротивления осевому растяжению пружины должна быть существенно больше усилия растяжения, создаваемого весом трубчатого элемента с установленной на ней насадкой 10. При этом высоту пружины – расстояние между ее торцами в свободном состоянии – подбирают такой, чтобы после установки и закрепления пружины на трубчатом элементе и платформе длина выступающей из платформы части трубчатого элемента с установленными на нем насадкой 10 и решеткой 11 от нижней поверхности платформы до нижней поверхности решетки – в горизонтальном и приподнятом над убираемой поверхностью положении платформы – превышала (например, на длину радиуса опорного ролика) высоту стоек поворотных роликов от нижней поверхности платформы до указанной выше условной плоскости, проходящей через нижние опорные точки роликов.
В процессе вакуумной очистки запыленной ровной или сложнорельефной поверхности струями засасываемого через отверстия решетки 11 воздуха частицы пыли будут выбиваться из имеющегося на очищаемой поверхности пылевого слоя и увлекаться всасываемым через отверстия решетки потоком воздуха в отверстие пылевоздухопроводящего трубчатого элемента 8 и далее через нижнее торцевое отверстие корпуса 1 во всасывающий патрубок 2. При этом, при жестко перпендикулярном положении патрубка 5 и, соответственно, соосно установленного в нем трубчатого элемента 8 относительно опорной поверхности платформы и условной плоскости, проходящей через опорные точки поворотных роликов, при перемещении описываемого насадка по ровной поверхности обеспечивается постоянное перпендикулярное положение трубчатого элемента относительно очищаемой поверхности. Одновременно, благодаря выступающей из насадки 10 выпуклой нижней поверхности решетки 11, будет поддерживаться необходимый зазор, обеспечивающий поступление засасываемого воздуха с частицами пыли в отверстие трубчатого элемента 8. При этом наличие размещенной в защитной насадке 10 овальновыпуклой решетки 11 позволяет также предотвратить засасывание в отверстие трубчатого элемента 8 мелких незакрепленных предметов, а также присасывание легкодеформируемых тонколистовых материалов.
При перемещении данного насадка по сложнорельефной поверхности положение платформы с установленным на ней патрубком 5 и трубчатым элементом 8 относительно воображаемой горизонтальной плоскости будет постоянно меняться. Однако и в этом случае угол между осью трубчатого элемента и относительно ровным или криволинейным участком поверхности, находящимся непосредственно в зоне торцевого отверстия трубчатого элемента 8 (в зоне отверстий решетки 11) будет близок к 90°, что позволит обеспечить высокое качество очистки указанного участка убираемой поверхности.
При наличии на убираемой поверхности углублений, поверхность дна которых имеет вогнутую форму, близкую к форме поверхности овальновыпуклой решетки 11, в случае контакта поверхности решетки в процессе вакуумной очистки с поверхностью дна указанных углублений произойдет практически полное перекрытие очищаемой поверхностью отверстий решетки 11, в результате резко уменьшится количество воздуха, поступающего в полость корпуса 1 насадка через трубчатый элемент 8, и одновременно возрастет количество воздуха, поступающего в корпус насадка через каналы 3, общее же количество отсасываемого патрубком 2 воздуха останется практически постоянным, что позволит автоматически поддерживать равномерный режим работы побудителя тяги.
При необходимости проведения вакуумной очистки просыпей и пыли и в ряде других случаев, где применение специальной снабженной опорными элементами платформы не является необходимым, винт 6 частично вывинчивают из винтового гнезда в патрубке 5 платформы 4, освобождая корпус 1 насадка. Затем корпус 1 с выполненными в нем сквозными каналами 3 и всасывающим патрубком 2 отсоединяют от платформы 4 и используют для обычной вакуумной уборки.
Таким образом, как видно из описания заявленного изобретения, предложенное техническое решение, состоящее в том, что корпус всасывающего насадка размещен на платформе, снабженной самоустанавливающимися поворотными роликами и имеющей ручку для ее перемещения, а также в размещении в платформе подвижного трубчатого элемента, снабженного защитной насадкой с выполненной в ней овальновыпуклой решеткой и размещенной между трубчатым элементом и платформой конической пружиной, позволяет получить технический результат, состоящий в обеспечении эффективной контактной очистки ровной и сложнорельефной поверхности и снижении трудоемкости очистки больших по площади участков запыленной поверхности. При этом возможность отсоединения от платформы корпуса насадка и использования его для обычной вакуумной уборки просыпей и пыли позволяют существенно расширить эксплуатационные возможности предложенного насадка.
Формула изобретения
Всасывающий насадок, содержащий корпус, установленный в нем всасывающий патрубок и платформу с опорными элементами, отличающийся тем, что платформа имеет встроенный патрубок, закрепленную в его нижней части втулку, ручку для перемещения платформы и установленный во втулке с возможностью осевого перемещения трубчатый элемент, имеющий размещенную на его нижнем конце защитную насадку с выполненной в ней выпуклой решеткой, при этом корпус размещен во встроенном патрубке и имеет сквозные каналы, а опорные элементы выполнены в виде самоустанавливающихся поворотных роликов, причем трубчатый элемент удерживается пружиной, верхнее торцевое кольцо которой прижато к поверхности платформы, а нижнее кольцо зажато между фланцем трубчатого элемента и насадкой.
РИСУНКИ
|
|