|
|
(21), (22) Заявка: 2003132078/12, 31.10.2003
(24) Дата начала отсчета срока действия патента:
31.10.2003
(45) Опубликовано: 20.07.2005
(56) Список документов, цитированных в отчете о поиске:
RU 2168311 C1, 10.06.2001. US 4223966 A, 23.09.1980. FR 2458254 A1, 02.01.1981. RU 2060719 C1, 27.05.1996. RU 2118112 C1, 27.08.1998. EP 0280646 A1, 31.08.1986.
Адрес для переписки:
634021, г.Томск, пр. Фрунзе, 115/3, Томский ЦНТИ, патентное бюро
|
(72) Автор(ы):
Гершанович В.Л. (RU)
(73) Патентообладатель(и):
Гершанович Виталий Львович (RU)
|
(54) ВИТРИНА ДЛЯ ДЕМОНСТРАЦИИ И ПРОДАЖИ ПРОДУКЦИИ НА ПРЕДПРИЯТИЯХ СФЕРЫ ТОРГОВЛИ И ОБСЛУЖИВАНИЯ
(57) Реферат:
Изобретение относится к торговому и выставочному оборудованию и может быть использовано в магазинах, аптеках, выставочных залах и павильонах для демонстрации различных видов товаров и экспонатов. Витрина состоит из прозрачных соединенных между собой элементов и имеет форму прямоугольника или параллелепипеда, или усеченной пирамиды с плоскими или выпуклыми сторонами. Задняя стенка установлена на шарнирах либо выполнена в виде раздвижных дверцев, перемещающихся по полозьям основания. Имея сравнительно небольшие размеры – длину от 50 до 150 см, высоту от 10 до 30 см и ширину до 20 см – витрина обладает простотой конструкции и мобильностью в эксплуатации. 3 з.п. ф-лы, 2 ил.

Изобретение относится к торговому и выставочному оборудованию и может быть использовано в магазинах, аптеках, выставочных залах и павильонах для демонстрации различных видов товаров и экспонатов.
К известному уровню техники может быть отнесен ряд известных устройств, совпадающих по выполняемой функции.
Известен стеклянный выставочный шкаф по патенту США 4223966, кл. А 47 F 3/06, 1980, представляющий собой каркас со стеклянными панелями, между которыми смонтированы горизонтальные перегородки, соединенные зажимами, прикрепленные винтами сквозь отверстия в панелях.
Известна содержащая несущий каркас (раму) разборная витрина, в которой имеется коробчатое основание (с полостью для размещения элементов витрины в нерабочем состоянии), оснащенное гнездами для установки вертикальных стоек с пазами, предназначенными для установки полок и вертикальных стоек. Вертикальные стойки поверх обвязаны поперечными элементами каркаса (рамы) (патент РФ 2060719, кл. А 47 F 3/00, 1996.
Известна наиболее близкая по технической сущности принятая в качестве прототипа бескаркасная (безрамная) витрина, содержащая свободные витринные стеклянные пластины, смонтированные вертикально и горизонтально посредством угловых креплений, имеющих пазы, предназначенные для фрикционного соединения со свободными витринными стеклянными пластинами так, что между торцами последних образованы щелевые промежутки (патент РФ 2168311, кл. А 47 F 3/00, 2001). Отличительной особенностью данной витрины является то, что она оснащена средствами для постоянного объемного сжатия ее в собранном состоянии, выполненными в виде стяжек-шпилек с гайками на концах, пропущенных от одной стороны витрины до другой через отверстия в угловых креплениях.
Недостатком таких витрин является технологическая сложность изготовления, наличие дополнительных элементов крепления.
Техническим результатом изобретения является создание витрины упрощенной конструкции с расширенными функциональными возможностями, легкой, мобильной, надежной в эксплуатации.
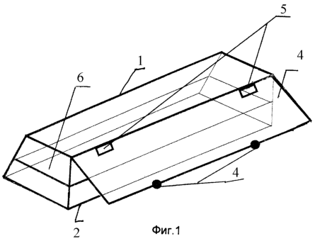
На фиг.1 и 2 представлены два варианта исполнения витрины.
Стеклянная витрина-горка для демонстрации продукции на предприятиях сферы торговли и обслуживания состоит из верхнего 1 и нижнего 2 основания и смонтированных вертикально и горизонтально соединенных между собой прозрачных пластин 3, выполненных из стекла или оргстекла, которые выполняют одновременно несущую и ограждающую функции. Пластины 3 соединяются между собой посредством склеивания, например, силиконовым герметиком, или любым другим способом соединения. Витрина имеет форму параллелепипеда с плоскими либо выпуклыми сторонами или усеченной пирамиды, при этом ее задняя стенка 4 крепится к верхнему основанию шарнирами 5 и установлена с возможностью открывания и закрывания. В другом варианте задняя стенка может быть выполнена в виде раздвижных дверцев, перемещающихся относительно друг друга в полозьях верхнего и нижнего основания. При необходимости дверцы могут закрываться на замки или крючки.
Витрина может иметь горизонтальные 6 или вертикальные 7 полки, количество и размеры которых может изменяться.
Имея сравнительно небольшие размеры в длину от 50 до 150 см, высоту от 10 до 30 см и ширину до 20 см, витрина обладает простотой конструкции и мобильностью в эксплуатации.
Формула изобретения
1. Витрина, содержащая верхнее и нижнее основание и смонтированные вертикально и горизонтально соединенные между собой прозрачные пластины, отличающаяся тем, что витрина имеет форму параллелепипеда с плоскими или выпуклыми сторонами или усеченной пирамиды, при этом ее задняя стенка установлена с возможностью открывания и закрывания.
2. Витрина по п.1, отличающаяся тем, что ее задняя стенка крепится к верхнему основанию шарнирами.
3. Витрина по п.1, отличающаяся тем, что ее задняя стенка выполнена в виде раздвижных дверцев, перемещающихся относительно друг друга в полозьях верхнего и нижнего основания.
4. Витрина по п.1, отличающаяся тем, что пластины соединены посредством склеивания.
РИСУНКИ
MM4A Досрочное прекращение действия патента Российской Федерации на изобретение из-за неуплаты в установленный срок пошлины за поддержание патента в силе
Дата прекращения действия патента: 01.11.2005
Извещение опубликовано: 27.01.2007 БИ: 03/2007
|
|