|
(21), (22) Заявка: 2002121481/12, 30.01.2001
(24) Дата начала отсчета срока действия патента:
30.01.2001
(30) Конвенционный приоритет:
02.02.2000 NO 20000546
(43) Дата публикации заявки: 27.02.2004
(45) Опубликовано: 20.07.2005
(56) Список документов, цитированных в отчете о поиске:
GB 1380018 A, 08.01.1975. US 5898940 A, 04.05.1999. US 298985 A, 20.05.1884. FR 1370116A, 15.07.1964. ЖИЛКИНА А.Д., ЖИЛКИН В.Ф. РУКОДЕЛИЕ. М.: УЧПЕДГИЗ, 1959,с.148.
(85) Дата перевода заявки PCT на национальную фазу:
02.09.2002
(86) Заявка PCT:
NO 01/00032 (30.01.2001)
(87) Публикация PCT:
WO 01/56412 (09.08.2001)
Адрес для переписки:
191186, Санкт-Петербург, а/я 230, “АРС-ПАТЕНТ”, пат.пов. В.М.Рыбакову, рег. № 90
|
(72) Автор(ы):
НОРНЕС Лойд Арве (NO)
(73) Патентообладатель(и):
НОРНЕС Лойд Арве (NO)
|
(54) НАГРУДНИК ДЛЯ МЛАДЕНЦА
(57) Реферат:
Нагрудник для младенца имеет предпочтительно мягкие поверхности из слоев тканевого или подобного тканевому материала и оснащенный средствами для закрепления нагрудника вокруг шеи младенца или выполненный с возможностью соединения с другим нагрудником или элементом другого нагрудника, имеющим указанные средства крепления. Нагрудник снабжен пластически деформируемым материалом в виде фольги, причем материал в части нагрудника, располагаемый вблизи рта младенца, выполнен с возможностью придания ему формы, обеспечивающей удержание соски во рту младенца, что обеспечивает его спокойный и длительный сон. 2 з.п. ф-лы, 5 ил.

Область техники, к которой относится изобретение
Настоящее изобретение относится к нагруднику для младенца и/или нагруднику для маленьких детей, которые пользуются сосками, но обычно не могут снова вставить соску в рот, если она выпала.
Нагрудник в соответствии с изобретением относится к типу обычных нагрудников, который в общем виде представляет собой кусок ткани или пластика для защиты одежды от капель и остатков пищи. Такие нагрудники снабжены средствами крепления, например, в виде двух тесемок или лент крепления, по одной на каждом верхнем конце прямоугольного нагрудника. Эти ленты могут завязываться или соединяться друг с другом с возможностью легкого освобождения.
Уровень техники
Обычно нагрудники надевают на младенцев во время еды, но поскольку некоторые младенцы и очень маленькие дети часто отрыгивают пищу в ночное время, использование нагрудника является нормальным также и после укладывания младенца спать.
Для того чтобы создать поддержку для соски во время ее нахождения во рту младенца, чтобы она не выпадала слишком легко, для начала можно попытаться замять нагрудник и придать ему такую форму, при которой образуется своего вида опора для соски. Однако опыт показывает, что каждый раз, когда ребенок поворачивает голову, нагрудник перестает выполнять свою опорную функцию и уже не препятствует выпадению соски.
Потерявший соску ребенок обычно просыпается и издает некоторые звуки, так что родители могут быть потревожены по несколько раз каждую ночь.
В патенте США №5666665 раскрыт дополнительный элемент плоского нагрудника для младенцев. Этот элемент имеет форму валика из поглощающей жидкость и молоко ткани и прикреплен к верхней части нагрудника в месте, куда предположительно могут стекать излишки молока при кормлении младенца из рожка.
В патентах США №№5312282 и 4473907 раскрыты нагрудники, к которым прикрепляются рожки таким образом, что они удерживаются нагрудниками, и младенец может сосать соску рожка. Эти комбинированные рожки с сосками лучше всего подходят для детей большего возраста, комбинации же рожков с сосками-пустышками не известны.
Известны сами по себе сменные передние детали для нагрудника, например, из патента США №5490289, в котором в качестве соединительных элементов используются полоски Велкро( ) (застежки-липучки). Здесь речь идет о прикрепляемых наружных передних деталях с высокими абсорбционными свойствами. Внутренняя передняя деталь, верхняя часть которой закрыта прикрепляемой (сменной) передней деталью, снабжена нижним открытым вверх свободным карманом, предназначенным для сбора крошек пищи и подобных остатков, которые не впитываются наружной поглощающей передней деталью.
Оснащенные другими средствами нагрудники для младенцев представлены в патенте США №4694510 и Европейской патентной заявке № 0524325 А1.
Ни один из описанных выше нагрудников для младенцев не обладает свойствами, облегчающими придание ему изогнутой формы для опоры и удержания соски на месте во рту младенца, который не способен снова вставить в рот выпавшую соску даже в том случае, когда она находится на небольшом расстоянии от головы или рук младенца.
Сущность изобретения
Таким образом, основная задача, на решение которой направлено настоящее изобретение, заключается в создании нагрудника для младенца в соответствии с ограничительной частью пункта 1 формулы, обладающего свойствами, которые обеспечивают возможность его изгиба и придания ему такой формы, при которой он обеспечивает эффективную и сохраняемую в течение длительного времени удерживающую опору для находящейся во рту младенца соски, предотвращающую ее случайное выпадение изо рта. Под выражением “длительное время сохраняемая опора” подразумевается, что нагрудник сохраняет изогнутую форму, обеспечивающую удержание соски в условиях обычного использования нагрудника.
В соответствии с изобретением решение поставленной задачи достигается за счет выполнения нагрудника для младенца в соответствии с отличительной частью пункта 1 формулы изобретения.
Согласно изобретению нагрудник выполнен пластически деформируемым и за счет этого сохраняет свою изогнутую форму, обеспечивающую удержание соски.
Изготовленный на основе легкодоступных материалов, таких как алюминиевая фольга, придающих нагруднику требуемую способность к пластической деформации, необходимую для объекта изобретения, многослойный вкладыш из пластически деформируемой фольги заключен в наружную плоскую оболочку из мягкого, гибкого тканевого материала в виде полотна или пластмассового материала. Эта оболочка может содержать, например, два слоя хлопчатобумажной ткани, которые сшиты вдоль совмещенных периферийных участков с заключением между собой многослойного вкладыша из металлической фольги.
Изготовленный таким образом нагрудник может быть снабжен средствами крепления, например двумя обычными лентами, закрепленными на двух углах нагрудника. В дополнение к периферийным швам при необходимости или при желании нагрудник может быть снабжен продольными и/или поперечными швами для лучшего удержания слоев вкладыша из фольги внутри хлопчатобумажной оболочки.
Известным образом такой основной нагрудник может быть снабжен полосками Велкро( ) (застежками-липучками), нашитыми на него для присоединения обычного нагрудника поверх передней части основного нагрудника.
Благодаря способности вкладыша к пластической деформации выполненный в соответствии с изобретением нагрудник может быть изогнут с приданием ему такой формы, при которой образуется поднятый удерживающий край, на который будет опираться внешняя часть соски, то есть ограничительный диск, прижимающийся снаружи к губам ребенка, а возможно, и прикрепленное к ограничительному диску кольцо. За счет этого предотвращается выпадение соски изо рта младенца даже в тех случаях, когда младенец засыпает и не сосет соску постоянно, тем самым создавая всасывающее усилие, необходимое для удержания соски во рту. Как было упомянуто выше, это относится к младенцам или очень маленьким детям, которые неспособны вернуть соску в рот после ее выпадения.
Перечень фигур чертежей
Не являющийся ограничивающим пример осуществления настоящего изобретения будет подробнее описан ниже со ссылками на прилагаемые схематические чертежи, на которых:
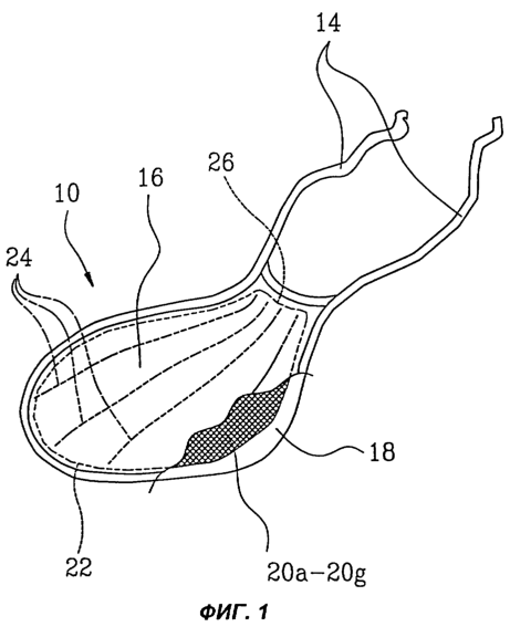
фиг.1 изображает в произвольном иллюстративном ракурсе нагрудник для младенца, например, в виде так называемого основного нагрудника (основы для присоединения передней детали), причем одна нижняя угловая часть показана со срезом наружной хлопчатобумажной оболочки, так что видна вставка из слоев алюминиевой фольги,
фиг.2 изображает на виде в перспективе нагрудник для младенца в процессе использования, при этом в срезанной угловой части наружной хлопчатобумажной оболочки видны несколько слоев алюминиевой фольги, лежащих один на другом и показанных также с небольшим срезом для того, чтобы были видны верхние слои фольги,
фиг.3-5 схематично изображают нагрудник во время использования, при этом часть нагрудника изогнута для достижения определенного эффекта и выполнения определенной функции,
фиг.3 и 4 изображают нагрудник, изогнутый в верхней части в соответствии с положением по фиг.2,
фиг.5 изображает изгиб нижней части нагрудника, обеспечивающий собирание крошек и других остатков пищи при кормлении.
Сведения, подтверждающие возможность осуществления изобретения
На чертежах позицией 10 обозначен в общем виде нагрудник для младенца, выполненный в соответствии с изобретением.
На фиг.2-4 показана вставленная в рот младенца соска 12, представленная здесь в виде ограничительного диска, который прижимается к губам младенца и не дает ему проглотить наконечник соски. Такая соска часто снабжается кольцом, прикрепленным в центре ограничительного диска.
Нагрудник 10 снабжен обычными тесемками или лентами 14 крепления, свободные концы которых завязывают на шее младенца или соединяют другим образом, например, с помощью полосок Велкро( ) (застежек-липучек).
Нагрудник 10 содержит наружную оболочку, которая состоит из верхнего слоя 16 и нижнего слоя 18. Между слоями 16, 18, которые могут быть изготовлены из хлопчатобумажной ткани или другого гибкого полотна или пластмассового материала, заложены семь слоев 20а, 20b, 20с, 20d, 20e, 20f, 20g алюминиевой фольги. На фиг.2 они показаны на срезе в нижней угловой части нагрудника, причем верхний слой оболочки нагрудника 10 удален.
После укладки слоев 20а-20g между верхним и нижним слоями 16, 18 оболочки нагрудника эти слои сшивают на периферийных участках или соединяют другим образом, например, посредством сварки, плавления и подобными способами, если оболочка изготовлена из свариваемого пластика.
На фиг.1 показаны швы 22 вдоль наружной кромки. Могут быть предусмотрены также промежуточные продольные и/или поперечные швы 24 и 26.
Для сохранения желаемой изогнутой формы нагрудника используется способность слоев 20а-20g фольги к пластической деформации, при этом мягкие хлопчатобумажные спои 16, 18 оболочки повторяют изгиб и форму слоев 20а-20g фольги за счет своей гибкости.
На фиг.2-4 показан нагрудник 10, изогнутый в верхней части с приданием формы, при которой образуется поднятая часть, удерживающая на месте соску 12 и предотвращающая ее случайное выпадение, как это в особенности показано на фиг.4. Когда соска 12 близка к выпадению изо рта ребенка, ограничительный диск упрется в эту удерживающую часть, тем самым будет предотвращено выпадение. Сверху удерживающую часть определяет край 10А.
Указанная часть нагрудника, удерживающая соску, находится прямо напротив наружной части соски 12 и расположена на ее пути, когда соска готова выпасть изо рта младенца, как показано на фиг.4. Если соска все-таки выпадает, удерживающая часть, сформованная непосредственно под поднятым краем 10А, в большинстве случаев может поймать соску до того момента, когда она откатится от головы младенца.
Передняя деталь (хлопчатобумажный спой 16) нагрудника 10 может быть снабжена не показанными здесь полосками Велкро( ) для присоединения к обычному нагруднику для младенца или для присоединения к ней одной из множества различных передних деталей нагрудника (не показаны). Слой 16 оболочки, который при использовании располагается сверху, может быть снабжен обычными для нагрудника украшениями.
Разумеется, возможно, чтобы такая прикрепляемая передняя деталь нагрудника имела закрепляющие ленты 14 или другие средства крепления, так что в основном нагруднике их может не быть. В этом случае важно, чтобы основной нагрудник был снабжен полосками Велкро(ТМ) или другими крепежными средствами для присоединения к передней детали нагрудника.
На фиг.5 показана дополнительная функция пластически деформируемого нагрудника 10 в соответствии с изобретением. В положении использования нижняя свободная часть нагрудника 10 изогнута вверх для образования формы по типу сборного лотка 10В для крошек и других остатков пищи младенца.
Формула изобретения
1. Нагрудник для младенца, имеющий предпочтительно мягкие поверхности из слоев тканевого или подобного тканевому материала и оснащенный средствами для закрепления нагрудника вокруг шеи младенца или выполненный с возможностью соединения с другим нагрудником или элементом другого нагрудника, имеющим указанные средства крепления, отличающийся тем, что нагрудник (10) снабжен пластически деформируемым материалом (20) в виде фольги, причем материал (20) в части нагрудника, располагаемой вблизи рта младенца, выполнен с возможностью придания ему формы, обеспечивающей удержание соски (12) во рту младенца.
2. Нагрудник по п.1, отличающийся тем, что он содержит наружную закрытую плоскую оболочку (16, 18), образованную из верхнего и нижнего слоев тканевого материала, соединенных вдоль совмещаемых периферийных участков, и многослойный вкладыш (20а-20g), изготовленный из пластически деформируемой фольги.
3. Нагрудник по п.2, отличающийся тем, что вкладыш состоит из нескольких, например семи, по существу идентичных слоев (20а-20g) алюминиевой фольги, уложенных один на другой, причем наружные кромки этих слоев удерживаются по существу в зафиксированном положении внутри оболочки (16, 18).
РИСУНКИ
MM4A – Досрочное прекращение действия патента СССР или патента Российской Федерации на изобретение из-за неуплаты в установленный срок пошлины за поддержание патента в силе
Дата прекращения действия патента: 31.01.2007
Извещение опубликовано: 20.11.2010 БИ: 32/2010
|