|
|
(21), (22) Заявка: 2003110869/12, 16.04.2003
(24) Дата начала отсчета срока действия патента:
16.04.2003
(43) Дата публикации заявки: 20.12.2004
(45) Опубликовано: 20.07.2005
(56) Список документов, цитированных в отчете о поиске:
RU 2060661 C1, 27.05.1996. SU 1063352 A1, 30.12.1983. RU 2050133 C1, 25.02.1980. SU 1809750 A3, 15.04.1993.
Адрес для переписки:
127247, Москва, Дмитровское ш., 107, комн.240, ВИСХОМ, О.И. Брик
|
(72) Автор(ы):
Краховецкий Н.Н. (RU), Лысов А.К. (RU), Захаренко В.А. (RU), Веретенников Ю.М. (RU), Никитин Н.В. (RU)
(73) Патентообладатель(и):
Краховецкий Николай Николаевич (RU), Лысов Анатолий Константинович (RU)
|
(54) СПОСОБ ОБРАБОТКИ РАСТЕНИЙ И ШТАНГОВЫЙ ОПРЫСКИВАТЕЛЬ ДЛЯ ЕГО ОСУЩЕСТВЛЕНИЯ
(57) Реферат:
Изобретение относится к сельскохозяйственной технике. Способ обработки растений включает полосную обработку поля, подачу рабочей жидкости на рабочие органы, контроль за поступлением жидкости на рабочие органы, распыл рабочей жидкости дисковыми рабочими органами, сепарацию капель до 60 мкм. Размер капель при использовании гербицидов выбирают в диапазоне 60-160 мкм, при использовании инсектицидов 160-250 мкм, а фунгицидов 250-350 мкм, а норму расхода рабочей жидкости соответственно выбирают для гербицидов – 3-5 л/га, инсектицидов 5-10 л/га, фунгицидов 10-20 л/га, при этом производят контроль стыковки обрабатываемых полос. Штанговый опрыскиватель включает навешенные на энергетическое средство резервуар для рабочей жидкости, и систему распределения и внесения рабочей жидкости. Система содержит трубопроводы, генератор и штангу с закрепленными на ней распыляющими рабочими органами с электродвигателями. Самостоятельная гидроперемешивающая рабочую жидкость система содержит соединенный с резервуаром гидронасос, взаимодействующий с регулятором давления и гидромешалкой, расположенной внутри резервуара. Гидронасос приводится в действие от привода энергетического средства, который также взаимодействует с генератором системы распределения и внесения рабочей жидкости распыляющими рабочими органами, которая снабжена насосом-дозатором, выполненным с возможностью подачи рабочей жидкости к каждому рабочему органу. Работа насоса-дозатора регулируется блоком управления нормой расхода жидкости, коррелирующейся со скоростью движения энергетического средства. Дисковые рабочие органы выполнены с возможностью регулирования сепарации капель и скорости их вращения. Это обеспечивает повышение надежности обработки полевых культур малыми дозами препарата. 2 н. и 1 з.п. ф-лы, 1 ил.

Изобретение относится к сельскохозяйственной технике, преимущественно к способам обработки растений штанговыми опрыскивателями для обработки полевых культур малыми дозами препаратов.
Известно техническое решение по авторскому свидетельству №1644864, 1988 г, кл. А 01 М 7/00, в котором на энергетическое средство установлен резервуар для рабочей жидкости, штанга с закрепленными на ней дисковыми распылителями с приводом от электродвигателей и дозирующими наконечниками, механизм поворота рабочих органов для отключения подачи рабочей жидкости, а также систему сбора рабочей жидкости в момент отключения. Однако предложенный опрыскиватель имеет сложную конструкцию, а система сбора жидкости приводит к засорению трубопровода.
Известна “Универсальная опрыскивающая система” по полезной модели №12327, 1999 г., кл. А 01 М 7/00, содержащая бак с главным трубопроводом, центробежным насосом, гидравлическим распределителем, распылительными головками, пульт управления, генератор. Предложенное техническое решение является сложным по конструкции и подача рабочей жидкости не коррелируется со скоростью движения агрегата.
Наиболее близким техническим решением является “Штанговый малообъемный опрыскиватель для обработки полевых культур” по патенту РФ №2060661, 1993 г., кл. А 01 М 7/00. Малообъемный опрыскиватель содержит навешенный на энергетическое средство резервуар для рабочей жидкости, дополнительный резервуар, сообщенный с корпусом электродвигателя, на оси которого закреплен диск-распылитель. В данном техническом решении реализован способ обработки растений, заключающийся в подаче рабочей жидкости на рабочие органы, регулирование подачи жидкости и ее распыление приводными дисковыми рабочими органами. В корпусе электродвигателя расположены средства контроля и регулирования истечения жидкости. Однако такое техническое решение имеет сложную конструкцию, а его отдельные элементы сложны в изготовлении. Работа такого опрыскивателя не обеспечивает равномерной обработки полевых культур, так как подача рабочей жидкости не согласуется со скоростью движения энергетического средства.
Технической задачей настоящего изобретения является упрощение конструкции, повышение качества и надежности обработки полевых культур малыми дозами препаратов, а также создание такого способа, который обеспечивал бы необходимый распыл жидкости по количеству, качеству и объему.
Поставленная задача достигается тем, что в предложенном способе обработки растений, включающем полосную обработку поля, подачу рабочей жидкости на рабочие органы, контроль за поступлением жидкости на рабочие органы, распыл рабочей жидкости дисковыми рабочими органами, производят сепарацию капель, при использовании гербицидов размер капель выбирают в диапазоне 60-160 мкм, при использовании инсектицидов 160-250 мкм, а фунгицидов – 250-350 мкм, а норму расхода рабочей жидкости соответственно выбирают для гербицидов 3-5 л/га, инсектицидов – 5-10 л/га, фунгицидов – 10-20 л/га, при этом производят контроль стыковки обработанных полос. Поставленная задача достигается тем, что штанговой опрыскиватель, включающий навешенные на энергетическое средство резервуар для рабочей жидкости, систему распределения и внесения рабочей жидкости, состоящей из трубопроводов, генератора и штанги с закрепленными на ней распыляющими рабочими органами, каждый из которых снабжен электродвигателем, снабжен самостоятельной гидроперемешивающей рабочую жидкость системой, содержащей соединенный с резервуаром гидронасос, взаимодействующий с регулятором давления и гидромешалкой, расположенной внутри резервуара, при этом гидронасос приводится в действие от привода энергетического средства, который также взаимодействует с генератором системы распределения и внесения рабочей жидкости распыляющими рабочими органами, которая снабжена насосом-дозатором, выполненным с возможностью подачи рабочей жидкости к каждому рабочему органу, электродвигатели которых приводятся в работу от генератора, причем насос-дозатор снабжен блоком управления нормой расхода жидкости, коррелирующейся со скоростью движения энергетического средства.
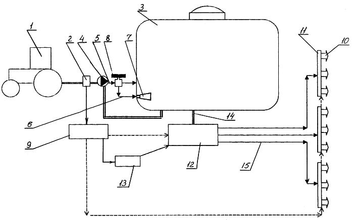
На чертеже представлен штанговый опрыскиватель. Штанговый опрыскиватель содержит энергетическое средство 1, с приводом 2 (ВОМ энергетического средства). От привода 2 приводится в работу система гидроперемешивания рабочей жидкости в резервуаре 3. Система гидроперемешивания включает гидронасос 4, который соединен трубопроводом 5 с резервуаром 3 и трубопроводом 6 с гидромешалкой 7. Система гидроперемешивания снабжена регулятором давления 8. Привод 2 энергетического средства 1 взаимодействует с генератором 9, который питает электроэнергией двигатели, установленные на каждом распыляющем рабочем органе 10, закрепленном на штанге 11. Распыляющие рабочие органы 10 выполнены в виде дисковых распылителей. Одновременно генератор 9 питает электроэнергией насос-дозатор 12 и блок управления 13 насоса-дозатора 12, который посредством трубопровода 14 соединен с резервуаром, а через трубопроводы 15 подает рабочую жидкость к каждому рабочему органу 10. Блок управления 13 выполнен с возможностью регулирования нормы расхода рабочей жидкости в зависимости от скорости движения энергетического средства, а также отключения и включения дисковых распыляющих рабочих органов в конце и начале гона поля.
Штанговый опрыскиватель работает следующим образом. Резервуар 3 заполняется рабочей жидкостью или готовится в резервуаре 3 за счет использования гидравлического насоса 4 и гидромешалки 7. Во время работы опрыскивателя включается генератор 9 от ВОМ энергетического средства 1, а соответственно, подается электроэнергия на насос-дозатор 12, блок управления 13 и электродвигатели распыляющих рабочих органов 10. В начале гона поля включается блок управления 13 для привязки исходных координат прохода опрыскивателя и контроля скорости перемещения. В зависимости от этого насос-дозатор 12 устанавливает требуемую норму расхода жидкости для гербицидов норма расхода выбирают 3-5 л/га, для инсектицидов – 5-10 л/га и фунгицидов – 10-20 л/га, которая подается насосом-дозатором 12 по трубопроводам 15 к распыляющим рабочим органам 10. Дисковые рабочие органы выполнены с возможностью сепарации капель до 60 мкм, например, встречным воздушным потоком, который также имеет возможность регулировки в зависимости от размера отсекаемых капель. Так например, размер капель при использовании гербицидов выбирают в диапазоне 60-160 мкм, для обеспечения качественной обработки – смачивания поверхности сорных растений. При использовании инсектицидов размер капель выбирают в диапазоне 160-250 мкм, а фунгицидов – 250-350 мкм. Кроме того, предусмотрена возможность регулирования в зависимости от скорости движения агрегата скорости вращения дисковых распиливающих рабочих органов, которая обеспечивает требуемый размер капель рабочей жидкости при попадании ее на вращающиеся диски. В процессе работы опрыскивателя блок управления 13 обеспечивает выключение и включение дисковых рабочих органов в конце и начале гона, а также коррелирует норму подачи жидкости в зависимости от скорости перемещения энергетического средства.
Предложенные способ обработки растений и штанговый опрыскиватель обеспечивают мелкодисперсное опрыскивание растений, опрыскиватель прост по конструктивному выполнению, надежен в работе и позволяет проводить защитные мероприятия с малыми нормами расхода жидкости при равномерной обработке растений независимо от скорости перемещения опрыскивателя. В результате предложенной конструкции опрыскивателя снижается уплотнение почвы за счет уменьшения объема резервуара вследствие снижения неэффективного расхода жидкости, позволяющего экономить расход рабочей жидкости.
Формула изобретения
1. Способ обработки растений, включающий полосную обработку поля, подачу рабочей жидкости на рабочие органы, контроль за поступлением жидкости на рабочие органы, распыл рабочей жидкости дисковыми рабочими органами, отличающийся тем, что производят сепарацию капель до 60 мкм, а размер капель при использовании гербицидов выбирают в диапазоне 60-160 мкм, при использовании инсектицидов 160-250 мкм, а фунгицидов 250-350 мкм, а норму расхода рабочей жидкости соответственно выбирают для гербицидов – 3-5 л/га, инсектицидов 5-10 л/га, фунгицидов 10-20 л/га, при этом производят контроль стыковки обрабатываемых полос.
2. Штанговый опрыскиватель, включающий навешенные на энергетическое средство резервуар для рабочей жидкости, и систему распределения и внесения рабочей жидкости, включающую трубопроводы, генератор и штангу с закрепленными на ней распыляющими рабочими органами, каждый из которых снабжен электродвигателем, отличающийся тем, что он снабжен самостоятельной гидроперемешивающей рабочую жидкость системой, содержащей соединенный с резервуаром гидронасос, взаимодействующий с регулятором давления и гидромешалкой, расположенной внутри резервуара, при этом гидронасос приводится в действие от привода энергетического средства, который также взаимодействует с генератором системы распределения и внесения рабочей жидкости распыляющими рабочими органами, которая снабжена насосом-дозатором, выполненным с возможностью подачи рабочей жидкости к каждому рабочему органу, электродвигатели которых приводятся в работу от генератора, причем работа насос-дозатора регулируется блоком управления нормой расхода жидкости, коррелирующейся со скоростью движения энергетического средства.
3. Устройство по п.2, отличающееся тем, что дисковые рабочие органы выполнены с возможностью регулирования сепарации капель и скорости их вращения.
РИСУНКИ
MM4A – Досрочное прекращение действия патента СССР или патента Российской Федерации на изобретение из-за неуплаты в установленный срок пошлины за поддержание патента в силе
Дата прекращения действия патента: 17.04.2006
Извещение опубликовано: 10.05.2007 БИ: 13/2007
|
|