|
| На основании пункта 3 статьи 13 Патентного закона Российской Федерации от 23 сентября 1992 г. № 3517-I патентообладатель обязуется передать исключительное право на изобретение (уступить патент) на условиях, соответствующих установившейся практике, лицу, первому изъявившему такое желание и уведомившему об этом патентообладателя и федеральный орган исполнительной власти по интеллектуальной собственности, – гражданину РФ или российскому юридическому лицу. |
|
(21), (22) Заявка: 2003130719/12, 17.10.2003
(24) Дата начала отсчета срока действия патента:
17.10.2003
(45) Опубликовано: 20.07.2005
(56) Список документов, цитированных в отчете о поиске:
БЕЛОВ Н.В. СОВРЕМЕННАЯ ЭНЦИКЛОПЕДИЯ РЫБОЛОВСТВА. МИНСК, СОВРЕМЕННЫЙ ЛИТЕРАТОР, 2003, С.635. RU 2187224 С2, 20.08.2002. RU 2177223 С2, 27.12.2001. СА 2224569 А, 26.08.1999.
Адрес для переписки:
195009, Санкт-Петербург, До востребования, Л.Н. Буркову
|
(72) Автор(ы):
Бурков Л.Н. (RU)
(73) Патентообладатель(и):
Бурков Лев Николаевич (RU)
|
(54) БЛЕСНА ОТЦА И СЫНА БУРКОВЫХ
(57) Реферат:
Блесна для ловли рыбы для повышения эффективности в пользовании выполнена из трех частей, сплошного среднего тела криволинейной формы с головкой тоже криволинейной и плавно сопрягающейся со средним телом задней части, выполненной из двух параллельных пластин тоже криволинейных, между которыми установлена основная труба. 7 ил.

Изобретение относится к искусственным приманкам при ловле рыбы и может быть использовано при создании новых типов блесен.
Известны блесны для ловли рыбы, описанные в книге Н.В.Белова, Современная энциклопедия рыболовства”, Минск, изд. Современный литератор, 2003 г., стр.635.
Там описано несколько конструкций блесен, но все они имеют общий существенный недостаток – крючки крепятся к телу блесны свободно, т.е. существует постоянная опасность зацепов и потери блесны, что и происходит в действительности.
Техническим результатом изобретения является устранение указанного недостатка путем создания принципиально новой конструкции блесны.
Достигается это тем, что в блесне для ловли рыбы, состоящей из тела и прикрепленных к нему крючков, блесна выполнена из трех частей, сплошного среднего тела криволинейной формы с головкой тоже криволинейной и плавно сопрягающейся со средним телом, задней части, выполненной из двух параллельных пластин тоже криволинейных, между которыми установлена основная трубка с подвижно установленным в ней патроном с пружиной и шарнирно соединенным с ним двойным крючком, причем на цилиндрической части крючка установлен упор, взаимодействующий с винтовой поверхностью, жестко прикрепленный к внутренней поверхности основной трубки так, чтобы обеспечить поворот крючка на 90 градусов, при этом в рабочем положении крючок скрыт внутри блесны и зафиксирован плоской фигурной пружиной, жестко связанной с каплеобразной пластинчатой пружиной, установленной сверху на блесне с ограничителями по краям, причем фигурная пружина установлена в плоскости перпендикулярно продольной оси блесны под дном патрона, а ее ход согласован с величиной деформации спусковой пружины, так же как и поворот крючка согласован с моментом его выхода из полости блесны.
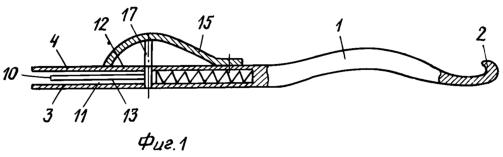
На фиг.1 дан фронтальный вид предлагаемой блесны, на фиг.2 – вид сверху, фиг.3 – разрез А-А на фиг.2, на фиг.4 – крупный масштаб вида крепления фигурной пружины 17, узел I с фиг.3, на фиг.5 – вид Б с фиг.4, на фиг.6 – сечение цилиндрической части тела двойного крючка 10, на фиг.7 – вариант соединения головки цилиндрической части тела двойного крючка 10 с дном патрона 5.
Рассмотрим устройство блесны. Она состоит из криволинейного тела 1 с головкой 2, двух параллельных пластин нижней 3 и верхней 4, которые образуют между собой полость, где размещается патрон 5 с дружиной 6 и упорами 7, ограничивающими ход пружины, криволинейные ограничители 8 и 9, установленные так, что они оставляют место для двойного крючка 10, который может заходить внутрь полости между пластинами 3 и 4, исключая зацепы, причем крючки могут помещаться в специальный цилиндрический корпус 11, на котором установлен жестко упор 12, взаимодействующий с винтовой поверхностью 13, жестко прикрепленной к внутренней поверхности основной трубки 14, жестко прикрепленной по оси симметрии блесны между пластинами 3 и 4. На внешней стороне пластины 4 жестко прикреплена пластинчатая пружина 15 с ограничителями 16, причем пружина выполнена обтекаемой формы каплеобразного вида, а к внутренней стороне к ней прикрепляется жестко фигурная пружина 17, которая своим вторым концом закреплена шарнирно в пластине 3 на оси 18 и служит фиксатором взвода и спуска крючка 10, а ось 18 закреплена жестко.
Рассмотрим работу предлагаемой блесны. На фиг.1 и 2 блесна показана в приготовленном к срабатыванию виде, т.е. крючок 10 утоплен внутрь блесны и находится между пластинами 3 и 4 и фиксируется фигурной пружиной 17 в исходном положении, при этом пружина 6 взведена и дном патрона 5 упирается в спусковую пружину 17. При движении в воде блесна благодаря изгибам формы тела колеблется, играет отблесками краски как чешуя живца, привлекая крупного хищника и в тот момент, когда пасть замкнется на блесне под давлением челюстей на пружину 15 она сдеформирует соответственно пружину 17, которая разожмется и отпустит патрон 5 со спусковой пружиной 6, которая и вытолкнет крючок наружу, одновременно поворачивая его на 90 градусов вокруг своей оси благодаря взаимодействию упора 12 с резьбовой навивкой 13 причем поворот крючка начинается после того, как он пройдет расстояние “а”, что следует учесть при расстановке указанных деталей на блесне, соответственно и ход пружины 15 согласован с деформацией пружины 17. После того как блесна сработала, для установки механизма в исходное положение нажимают на тыльную сторону крючка 10 и заводят его внутрь свободной полости между пластинами 3 и 4 до тех пор, пока не сработает фиксирующая пружина 17, щелчок будет слышен, после этого блесна снова готова к работе.
Технические результаты: появилось свойство незацепляемости и автоматическое срабатывание.
Промышленная применимость вытекает из того, что в блесне нет никаких дефицитных материалов и не используются невозможные детали.
Формула изобретения
Блесна для ловли рыбы, состоящая из тела и прикрепленных к нему крючков, отличающаяся тем, что блесна выполнена из трех частей, сплошного среднего тела криволинейной формы с головкой, тоже криволинейной и плавно сопрягающейся со средним телом, задней части, выполненной из двух параллельных пластин, тоже криволинейных, между которыми установлена основная трубка с подвижно установленным в ней патроном с пружиной и шарнирно соединенным с ним двойным крючком, причем на цилиндрической части крючка установлен упор, взаимодействующий с винтовой поверхностью, жестко прикрепленный к внутренней поверхности основной трубки так, чтобы обеспечить поворот крючка на 90°, при этом в рабочем положении крючок скрыт внутри блесны и зафиксирован плоской фигурной пружиной, жестко связанной с каплеобразной пластинчатой пружиной, установленной сверху на блесне с ограничителями по краям, причем фигурная пружина установлена в плоскости перпендикулярно продольной оси блесны под дном патрона, а ее ход согласован с величиной деформации спусковой пружины, так же как и поворот крючка согласован с моментом его выхода из полости блесны.
РИСУНКИ
|
|