|
|
(21), (22) Заявка: 2003119843/09, 30.06.2003
(24) Дата начала отсчета срока действия патента:
30.06.2003
(43) Дата публикации заявки: 27.12.2004
(45) Опубликовано: 10.07.2005
(56) Список документов, цитированных в отчете о поиске:
RU 2151201 C1, 20.06.2000. SU 347952 A1, 01.01.1972. SU 1350848 A1, 07.11.1987. JP 2001312165, 09.11.2001. DE 10026921, 13.12.2001.
Адрес для переписки:
660074, г.Красноярск, ул. Киренского, 26, КГТУ, ПИО
|
(72) Автор(ы):
Головенко Е.А. (RU), Кинев Е.С. (RU)
(73) Патентообладатель(и):
Красноярский государственный технический университет (КГТУ) (RU)
|
(54) ИНДУКЦИОННАЯ УСТАНОВКА СКВОЗНОГО НАГРЕВА МЕРНЫХ ЗАГОТОВОК
(57) Реферат:
Изобретение относится к области электротехники, а именно к электротермическим устройствам с активно-индуктивной нагрузкой и схемам их подключения к источнику переменного напряжения, в частности может быть использовано при обеспечении режима методического нагрева с постоянной температурой поверхности (ускоренный нагрев), режима с изменением мощности по специальной программе (оптимальные режимы нагрева), а также режима градиентного нагрева. Предлагаемая индукционная установка сквозного нагрева мерных заготовок позволяет осуществлять гибкое управление режимом нагрева. Это достигается тем, что индукционная установка для сквозного нагрева мерных заготовок состоит из двух или более расположенных встык и соединенных параллельно секции обмотки, линейная токовая нагрузка в которых регулируется изменением условий смешанного резонанса для каждой секции обмотки по отдельности путем подбора сопротивлений батарей конденсаторов. 3 ил.

Изобретение относится к области электротехники, а именно к электротермическим устройствам с активно-индуктивной нагрузкой и схемам их подключения к источнику переменного напряжения, в частности может быть использовано при обеспечении режима методического нагрева с постоянной температурой поверхности (ускоренный нагрев), режима с изменением мощности по специальной программе (оптимальные режимы нагрева), а также режима градиентного нагрева.
Известны индукционные установки для ускоренного методического нагрева перед обработкой давлением, в которых активная мощность, выделяемая в загрузке на начальном участке значительно больше, чем на последующих участках (Слухоцкий А.Е., Рыскин С.Е. Индукторы для индукционного нагрева”. Л., Энергия, 1974). Это достигается неравномерным распределением линейной токовой нагрузки по длине индуктора за счет изменения ширины индуктирующего провода и шага намотки. Неравномерность токовой нагрузки используется также для создания оптимального режима нагрева. Изменение мощности, выделяемой в заготовке в процессе нагрева, позволяет добиться наименьшего перепада температуры по сечению заготовки в конце нагрева. Кроме того, подобным образом может быть обеспечено заданное неравномерное распределение температуры по длине слитка в конце нагрева, то есть режим градиентного нагрева.
Недостатком описанных индукционных установок методического действия является отсутствие возможности регулирования режима нагрева. Поэтому они могут быть использованы только в серийном производстве для нагрева однотипных заготовок при условии жесткого соблюдения номинального режима работы. При перебоях в работе прессового оборудования приходится полностью освобождать индуктор от частично нагретых заготовок и начинать работу с запуска установки на новых, холодных заготовках. При этом все кроме последней заготовки являются балластными и не могут подвергаться обработке давлением.
Наиболее близким к заявленному устройству является индукционная установка для сквозного нагрева мерных заготовок, содержащая две или более расположенных встык секции обмотки, футеровку и по батарее конденсаторов на каждую секцию обмотки (Шамов А.Н., Бодажков В.А. Проектирование и эксплуатация высокочастотных установок. -Л.: Машиностроение, 1974). Неравномерное распределение линейной токовой нагрузки по длине установки осуществляется регулированием величины напряжения на каждой секции обмотки по отдельности.
Основными недостатками такого устройства являются:
1. Значительно усложняется управление режимом нагрева и его стабилизация при колебаниях напряжения сети. Для этого используют автотрансформаторы или тиристорные регуляторы для каждой секции обмотки индуктора по отдельности.
2. Соседние секции обмотки индукционной установки находятся в неодинаковых условиях по отношению друг к другу из-за различной степени нагрева загрузки по длине, поэтому токи в них различаются не только по величине, но и по фазе. В результате на стыке секций обмотки магнитное поле размагничивается и возникает провал удельной мощности в загрузке в зоне стыка. Кроме того, увеличивается взаимная индуктивность соседних секций, что приводит к эффекту переноса мощности между ними.
В основу изобретения положена задача создания индукционной установки для сквозного нагрева заготовок, которая может обеспечить возможность гибкого регулирования режима нагрева и при этом позволяет сократить вредное влияние эффекта провала мощности на стыке секций обмотки и эффекта переноса мощности между соседними секциями обмотки.
Поставленная задача решается тем, что в индукционной установке для сквозного нагрева мерных заготовок, содержащей две или более расположенных встык секций обмотки, футеровку и по батарее конденсаторов на каждую секцию обмотки, согласно изобретению каждая батарея конденсаторов состоит из трех частей, первая из которых включена последовательно с секцией обмотки, вторая часть батареи конденсаторов соединена параллельно с включенными последовательно первой частью батареи конденсаторов и секцией обмотки, третья часть батареи конденсаторов подключена последовательно к последовательно-параллельному контуру из первых двух частей батареи конденсаторов и секции обмотки, при этом все секции обмотки с соответствующими им батареями конденсаторов включены параллельно к источнику переменного напряжения, а сопротивления частей батарей конденсаторов подобраны так, чтобы фазы токов в секциях обмотки совпадали.
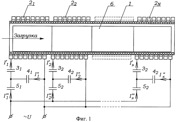
На фиг.1 представлен эскиз индукционной установки сквозного нагрева мерных заготовок со схемой подключения секций к источнику переменного напряжения; на фиг.2 – электрическая схема замещения индукционной установки сквозного нагрева мерных заготовок; на фиг.3 – векторная диаграмма токов и напряжений индукционной установки сквозного нагрева мерных заготовок.
Индукционная установка сквозного нагрева мерных заготовок содержащая футеровку 1, N секций обмотки 2 и N батарей конденсаторов, каждая из которых разбита на три части 3, 4, 5. Первая часть 3 каждой из батарей конденсаторов включена последовательно с соответствующей ей секцией обмотки 2, вторая часть 4 каждой из батарей конденсаторов соединена параллельно с включенными последовательно первой частью 3 батареи конденсаторов и секцией обмотки 2, третья часть 5 каждой из батарей конденсаторов подключена последовательно к последовательно-параллельному контуру из первых двух частей 3 и 4 батареи конденсаторов и секции обмотки 2. Внутри индукционной установки размещена загрузка 6 в виде расположенных друг за другом мерных заготовок.
При подаче переменного напряжения U к узлам а и b (фиг.2) в элементах установки возникают переменные электрические токи. На фиг.1 показано направление движения загрузки 6 внутри индуктора (слева направо). Перемещение загрузки осуществляется на расстояние, равное длине мерной заготовки, через промежутки времени, равные темпу выдачи заготовок. После выхода индукционной установки сквозного нагрева мерных заготовок на номинальный режим работы температура загрузки распределена неравномерно по длине и увеличивается слева направо. Поэтому сопротивления секций обмотки неодинаковы r2,12,2<…2,N,x2,12,2<…2,N. При этом сопротивления частей батарей конденсаторов x3,1, x3,2,…, x3,N, х4,1, x4,2,…, x4,N, x5,1, x5,2,…, X5,N (см. фиг.2) подобраны так, чтобы напряжения на секциях обмотки были такими, что, несмотря на различные условия работы параллельных секций обмотки, фазы токов в них совпадали, а величины токов соответствовали заданному режиму нагрева. Отсутствие сдвига фаз токов в соседних секциях обмотки обеспечит их минимальное влияние друг на друга и уменьшение вредного влияния эффекта провала мощности на их стыке.
На фиг.3 показан пример векторной диаграммы токов и напряжений для индукционной установки сквозного нагрева мерных заготовок с тремя расположенными в стык секциями обмотки (N=3). Пусть для обеспечения заданного режима работы индукционной установки сквозного нагрева мерных заготовок токи в секциях обмотки 21 и 22 должны быть равны между собой и превышать в два раза ток в секции обмотки 2N. Кроме того, как отмечалось выше, сопротивления секций обмотки неодинаковы r2,12,22,N,x2,12,22,N. Сопротивления частей батарей конденсаторов подобраны так, что фазы токов в секциях обмотки совпадали, а фазы токов совпадали между собой и с фазой напряжения что свидетельствует о полной компенсации реактивной мощности во всех колебательных контурах, состоящих из секций обмотки 2 и соответствующих им батарей конденсаторов. Режим нагрева может быть изменен путем регулирования величины токов в секциях обмотки за счет изменения сопротивлений частей 3, 4, 5 батарей конденсаторов.
Предлагаемая индукционная установка сквозного нагрева мерных заготовок имеет следующие преимущества перед известными:
1. Она позволяет осуществлять более гибкое управление режимом нагрева.
2. Уменьшается взаимная индуктивность секций обмотки и влияние эффекта переноса мощности между ними.
Формула изобретения
Индукционная установка для сквозного нагрева мерных заготовок, содержащая две или более расположенных в стык секций обмотки, футеровку и по батарее конденсаторов на каждую секцию обмотки, отличающаяся тем, что каждая батарея конденсаторов состоит из трех частей, первая из которых включена последовательно с секцией обмотки, вторая часть батареи конденсаторов соединена параллельно с включенными последовательно первой частью батареи конденсаторов и секцией обмотки, третья часть батареи конденсаторов подключена последовательно к последовательно-параллельному контуру из первых двух частей батареи конденсаторов и секции обмотки, при этом все секции обмотки с соответствующими им батареями конденсаторов включены параллельно к источнику переменного напряжения, а сопротивления частей батарей конденсаторов подобраны так, чтобы фазы токов в секциях обмотки совпадали.
РИСУНКИ
MM4A Досрочное прекращение действия патента Российской Федерации на изобретение из-за неуплаты в установленный срок пошлины за поддержание патента в силе
Дата прекращения действия патента: 01.07.2005
Извещение опубликовано: 27.01.2007 БИ: 03/2007
|
|